Объектив может быть использован в тепловизорах с фотоприемными устройствами в виде микроболометрической матрицы, не требующей охлаждения до криогенных температур, работающей в спектральной области 8-12 мкм. Объектив содержит закрепленные в корпусе из нержавеющей стали три мениска. Первый мениск - положительный, обращен вогнутой поверхностью к плоскости изображений и выполнен из бескислородного стекла ИКС-25 или из халькогенидного стекла IRG-26. Второй мениск - отрицательный, обращен вогнутой поверхностью к плоскости изображений и выполнен из селенида цинка. Третий мениск - положительный, обращен вогнутой поверхностью к плоскости изображений и выполнен из германия. Оптические силы менисков удовлетворяют соотношениям: ϕ=(1,1÷1,3)ϕ; ϕ=-(0,46÷0,84)ϕ; ϕ=(0,93÷1,27)ϕ; где: ϕ, ϕ, ϕ- оптические силы соответственно первого, второго и третьего менисков; ϕ - оптическая сила объектива. Технический результат - упрощение оптической схемы объектива и повышение коэффициента пропускания. 3 ил., 7 табл.
Трехлинзовый атермализованный объектив для ИК-области спектра, содержащий закрепленные в корпусе мениски, из которых первый по ходу луча мениск - положительный, обращен вогнутой поверхностью к плоскости изображений, второй мениск - отрицательный, обращен вогнутой поверхностью к плоскости изображений и выполнен из селенида цинка, а третий мениск выполнен из германия, отличающийся тем, что корпус объектива выполнен из нержавеющей стали, первый мениск выполнен из бескислородного стекла ИКС-25 или из халькогенидного стекла IRG-26, а третий мениск выполнен в виде положительного мениска, обращенного вогнутой поверхностью к плоскости изображений, при этом оптические силы менисков удовлетворяют следующим соотношениям: ϕ1=(1,1÷1,3)ϕ; ϕ2=-(0,46÷0,84)ϕ; ϕ3=(0,93÷1,27)ϕ; где: ϕ1, ϕ2, ϕ3 - оптические силы соответственно первого, второго и третьего менисков; ϕ - оптическая сила объектива.
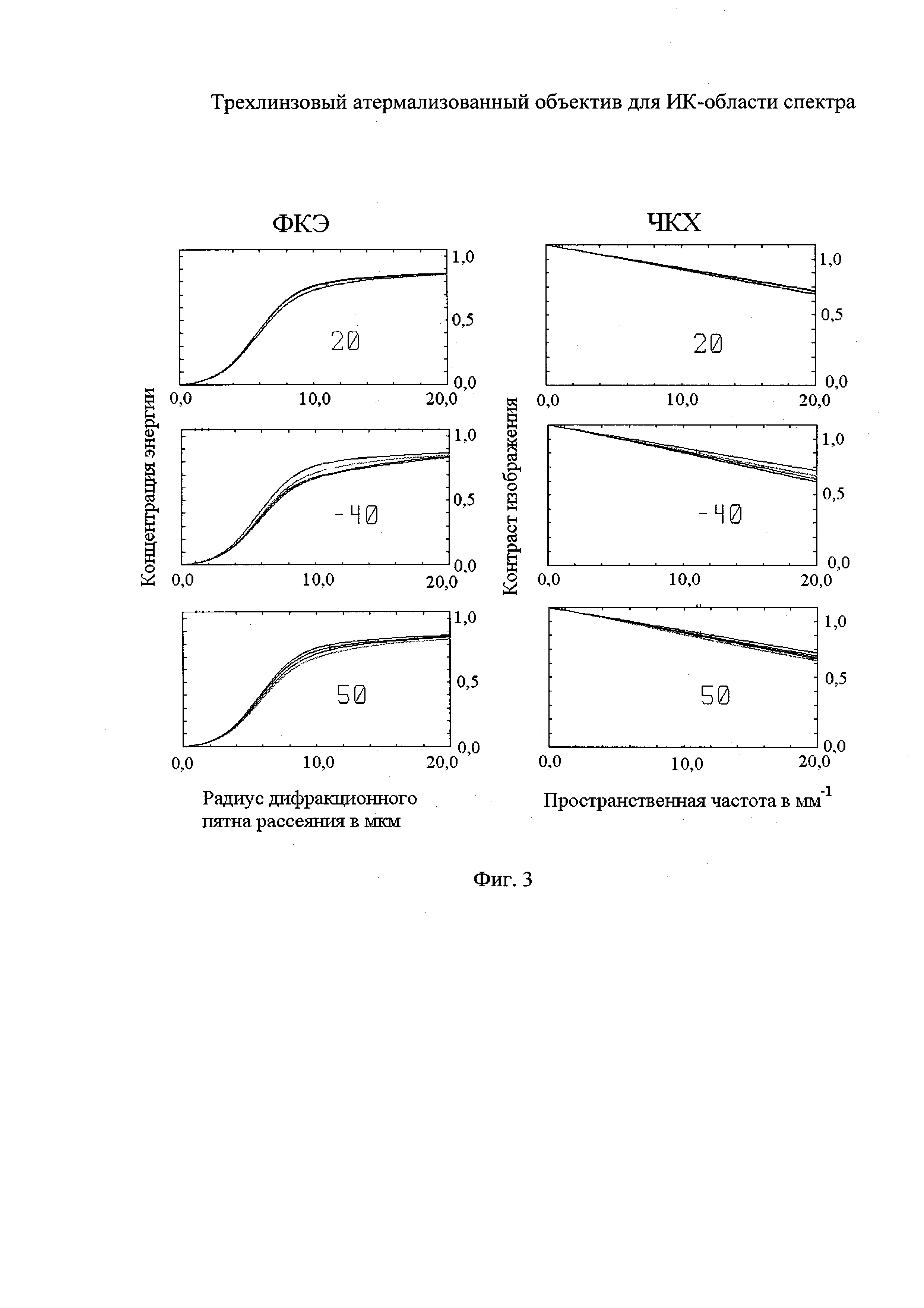
Изобретение относится к области инфракрасной (ИК) оптики и может быть использовано в тепловизорах с фотоприемными устройствами, выполненными в виде микроболометрической матрицы (МБМ) чувствительных элементов, которые не требуют охлаждения до криогенных температур. Спектральная область работы объектива 8-12 мкм. Объективы для ИК-области спектра изготавливают в основном из монокристаллического германия или кремния, а также из других материалов, прозрачных в требуемой области спектра. Эти материалы, особенно германий, имеют значительное изменение показателя преломления от температуры, что вызывает дефокусировку изображения объектива. Это приводит к существенному снижению качества изображения, особенно в температурном диапазоне от -40°С до +50°С. Размер пикселя современных МБМ составляет от 17 до 25 мкм, т.е. сравним с рабочей длиной волны (10 мкм), поэтому небольшие перепады температуры приводят к существенному падению качества изображения, особенно для объективов с высоким относительным отверстием, имеющим очень малую глубину резкости. При расчете таких объективов использование графиков геометрических аберраций или топологии кружков рассеяния не дает объективной картины качества изображения. Необходимо учитывать дифракцию излучения на входном зрачке оптической системы. На практике дифракционный кружок рассеяния реального объектива с учетом геометрических аберраций определяется расчетом функции концентрации энергии, т.е. оптическая система считается удовлетворяющей всем требованиям, когда на пиксель МБМ приходится 80% энергии, что соответствует критерию Релея. Другим критерием качества изображения может служить частотно-контрастная характеристика. Для МБМ с малым размером пикселя контраст изображения объектива должен находиться в пределах 0,55÷0,65 на пространственной частоте 20÷30 мм-1 (критерий Найквиста). Известен светосильный трехлинзовый объектив для ИК-области спектра по патенту США №3363962, содержащий три мениска, из которых первый и третий мениски - положительные, обращенные вогнутыми поверхностями к плоскости изображений, а второй - отрицательный, обращен вогнутой поверхностью к плоскости предмета. Первый и третий мениски выполнены из германия, а второй - из сульфида цинка. Все поверхности менисков имеют сферический профиль. Второй и третий мениски имеют значительную толщину по оси, поскольку она позволяет лучшим образом скорректировать геометрические аберрации. Относительная длина объектива 1,75. Контраст изображения по всему полю зрения составляет не более 0,32 при пространственной частоте 20 мм-1, а кружки рассеяния - 55 мкм. Данный объектив имеет низкое качество изображения в нормальных климатических условиях, а при работе в температурном диапазоне - еще хуже, что не позволяет его применить в современных тепловизорах с матричными фотоприемными устройствами. Известен объектив для ИК-области спектра по патенту РФ №2403598, состоящий из четырех линз, первая из которых представляет собой положительный мениск, обращенный вогнутостью к изображению, вторая - отрицательный мениск, обращенный вогнутостью к предмету, третья - положительный мениск, обращенный вогнутостью к предмету, а четвертая - положительный мениск, обращенный вогнутостью к изображению, вторая линза выполнена двояковогнутой, сумма оптических сил всех линз не превышает 0,15 оптической силы объектива, а сумма оптических сил первых двух линз отрицательная и составляет по абсолютной величине не менее 0,8 оптической силы объектива. Все линзы выполнены из кремния. Недостатком объектива является большая терморасфокусировка изображения, т.к. линзы выполнены из кремния, имеющего значительное изменение показателя преломления от температуры. Расчет этого объектива по приведенным в изобретении параметрам показал приемлемое качество изображения в диапазоне температур 20±5°С. В температурном диапазоне ±40°С происходит полная деградация изображения. При продольном перемещении объектива в диапазоне 0,4 мм можно получить приемлемое качество изображения со снижением контраста на 10%. Другим недостатком объектива является его узкая спектральная область: 8-9 мкм. Известен объектив для ИК-области спектра по патенту РФ №115514, содержащий четыре мениска, из которых второй является отрицательным, остальные - положительными, первый и четвертый мениски выполнены из германия и обращены к плоскости изображений своими вогнутыми поверхностями, второй и третий мениски выполнены из селенида цинка и обращены к плоскости изображений своими выпуклыми поверхностями. Установлены соотношения между оптическими силами менисков. Третий и четвертый мениски установлены с возможностью одновременного перемещения вдоль оптической оси. Первый мениск выполнен из германия, который обладает максимальной зависимостью показателя преломления от температуры. Этот мениск имеет наибольшую оптическую силу и максимальное влияние на температурную дефокусировку изображения. Последующие элементы объектива не способны компенсировать дефокусировку, вносимую первым мениском. При работе в широком температурном диапазоне необходимо перемещать мениски вдоль оптической оси. Это усложняет конструкцию объектива и увеличивает его массу. Наиболее близким к заявляемому изобретению - прототипом - является атермализованный объектив для ИК-области спектра по патенту РФ №2538423 от 08.10.2013 г. Объектив содержит размещенные в корпусе четыре мениска, первый из которых - положительный мениск, выполнен из бескислородного стекла ИКС-25 и обращен вогнутой поверхностью к плоскости изображений, второй мениск - отрицательный, выполнен из селенида цинка и обращен вогнутой поверхностью к плоскости изображений, третий мениск - отрицательный, выполнен из германия и обращен вогнутой поверхностью к плоскости изображений, а четвертый мениск - положительный, выполнен из германия и обращен вогнутой поверхностью к плоскости изображений. Между относительными оптическими силами менисков имеются следующие соотношения: ϕ1:ϕ2:ϕ3:ϕ4=(0,72-0,85):-(1,28-1,76):-(3,00-6,0):(0,79-0,92), где ϕ1, ϕ2, ϕ3, ϕ4 - относительные оптические силы соответственно первого, второго, третьего и четвертого менисков. Корпус объектива выполняют из алюминиевого сплава, стали или инвара. Недостатком объектива является сложность оптической схемы объектива (четыре мениска) и, соответственно, небольшой коэффициент пропускания. Техническая проблема заключается в создании атермализованного объектива, качество изображения которого не зависит от изменения температуры окружающей среды, с обеспечением следующего технического результата: упрощение оптической схемы объектива и повышение коэффициента пропускания. Указанный технический результат достигается следующим образом. Трехлинзовый атермализованный объектив для ИК-области спектра, как и прототип, содержит закрепленные в корпусе мениски, первый из которых - положительный, обращенный вогнутой поверхностью к плоскости изображений, второй мениск - отрицательный, обращенный вогнутой поверхностью к плоскости изображений, выполненный из селенида цинка, и третий мениск, выполненный из германия. В отличие от прототипа корпус объектива выполнен из нержавеющей стали, первый мениск выполнен из бескислородного стекла ИКС-25 или из халькогенидного стекла IRG-26, третий мениск выполнен положительным, обращенным вогнутой поверхностью к плоскости изображений, а оптические силы менисков удовлетворяют следующим соотношениям: ϕ1=(1,1÷1,3)ϕ; ϕ2=-(0,46÷0,84)ϕ; ϕ3=(0,93÷1,27)ϕ, где: ϕ1, ϕ2, ϕ3 - оптические силы соответственно первого, второго и третьего менисков; ϕ - оптическая сила объектива. Пример конкретной реализации объектива показан на чертежах. На фиг. 1 приведена оптическая схема объектива. На фиг. 2 приведены основные характеристики объектива при температуре 20°С: слева вверху - функция концентрации энергии (ФКЭ); справа вверху - кружки рассеяния и кружок Эйри диаметром 32,3 мкм; слева внизу - контраст изображения; справа внизу - астигматизм и дисторсия. На фиг. 3 приведена функция концентрации энергии (ФКЭ) и контраст изображения (ЧКХ) по трем конфигурациям: при температуре 20°С, -40°С, 50°С. Трехлинзовый атермализованный объектив для ИК-области спектра содержит размещенные в корпусе три мениска. Мениск 1 - положительный, выполнен из бескислородного стекла ИКС-25 и обращен вогнутой поверхностью к плоскости изображений. Мениск 2 - отрицательный, выполнен из селенида цинка (ZnSe) и обращен вогнутой поверхностью к плоскости изображений. Мениск 3 - положительный, выполнен из германия и обращен вогнутой поверхностью к плоскости изображений. Пучки лучей от удаленного источника последовательно проходят мениски 1, 2, 3 и формируют изображение в плоскости изображения 4, где расположена микроболометрическая матрица. Расчет объектива проведен по программе ZEMAX. Расчет проведен без учета защитного окна матрицы, т.к. оно не влияет на качество изображения объектива. При расчете учитывались следующие факторы: зависимость показателя преломления от температуры; расширение и сжатие материала менисков при изменении температуры, что, в свою очередь, приводит к изменению радиусов и толщин линз; изменение расстояния между элементами в результате расширения и сжатия материала оправ и корпуса объектива. В качестве материала корпуса использована нержавеющая сталь с коэффициентом расширения (ТСЕ), равным 11×10-6. Показатели преломления материалов, коэффициенты линейного расширения и зависимость показателя преломления от температуры (dn/dt) выбирались из отечественных стандартов. В связи с этим в программе ZEMAX создан дополнительный каталог стекол, т.к. стекло ИКС-25 в нем отсутствует. Характеристики материалов менисков представлены в таблице 1. Конструктивные элементы объектива приведены в таблице 2. Оптические характеристики объектива представлены в таблице 3. Оптические силы менисков имеют следующие значения: ϕ1=1,16ϕ; ϕ2=-0,52ϕ; ϕ3=0,97ϕ. В предлагаемом объективе мениски 1 и 2 исправляют сферохроматическую аберрацию, мениск 2 одновременно служит термостабилизатором положения изображения в температурном диапазоне. Т.к. мениск 2 выполнен из селенида цинка и имеет отрицательную оптическую силу при небольшой величине dn/dt, то для корпуса объектива необходимо применять нержавеющую сталь, имеющую меньший ТСЕ. Мениск 3 выполняет роль корректора астигматизма и дисторсии, а при телецентрическом ходе главного луча - еще и комы. На фиг. 2 представлены характеристики качества изображения объектива в нормальных климатических условиях (НКУ). Как видно из фиг. 2, качество изображения объектива высокое, близкое к дифракционному. Размер элемента матрицы Q составляет: Q=0,025×0,025 мм. Для ИК-объективов необходимо, чтобы в размере пикселя матрицы значение концентрации энергии составляло не менее 80% или чтобы значение контраста изображения синусоидальной миры на частоте Найквиста ν=1/2Q=20 мм-1 было не менее 0,6. На фиг. 2 кружки рассеяния для НКУ составляют 0,023; 0,026 и 0,027 мм соответственно для осевой точки поля зрения, зональной точки поля зрения и для края поля зрения (по диагонали). Контраст изображения приближается к значению 0,65. Для расчета объектива в температурном диапазоне от минус 40°С до 50°С использован метод мультиконфигураций, предусмотренный в программе ZEMAX с использованием опции "Thermal Pick Up". С учетом этой опции проведена одновременная оптимизация новых (по отношению к номинальной конфигурации в НКУ) значений параметров схемы объектива для значений температуры от минус 40°С до 50°С. При оптимизации учитывались факторы, изложенные выше, т.е. коэффициенты линейного расширения ИК-материалов (ТСЕ) и корпуса объектива, коэффициент изменения показателя преломления с температурой dn/dt. Величины dn/dt и ТСЕ оптических деталей извлекаются программой из каталога оптического стекла, а величины ТСЕ корпуса объектива введены непосредственно в таблицу конструктивных элементов основного окна программы ZEMAX. В таблице 4 приведены значения кривизны и толщины менисков в зависимости от температуры по трем конфигурациям температуры при давлении, равном одной атмосфере. Таким образом, при расчете объектива учтены изменения радиусов и толщин менисков 1-3 при изменении температуры, а также воздушных промежутков между ними. Кроме того, в расчетах учтено ТСЕ материала корпуса объектива. Поскольку при значениях температур -40°С и 50°С в редакторе мультиконфигураций задана опция Т (в таблице 4 в правой узкой колонке), т.е. "Thermal Pick Up", по программе ZEMAX вычислены измененные значения кривизны и толщины менисков в соответствии с заданными ТСЕ. В результате проведенной оптимизации получено, что задний отрезок объектива практически постоянен для всех конфигураций. Это означает, что в заданном температурном диапазоне от минус 40°С до 50°С обеспечивается постоянный (в пределах 2%) высокий контраст изображения при неподвижном объективе и его элементах, что подтверждается графиками на фиг. 3. Рассмотрим воздействие температуры на показатель преломления использованных в объективе материалов. В таблице 5 приведены коэффициенты преломления материалов объектива и ТСЕ при температуре 20°С, для справки приведен термический коэффициент расширения ТСЕ корпуса объектива и оптических материалов. В таблице 6 приведены коэффициенты преломления материалов объектива при температуре -40°С. В таблице 7 приведены коэффициенты преломления материалов объектива при температуре 50°С. Из таблиц 5-7 наглядно видно, как изменяются показатели преломления материалов в зависимости от температуры для всего спектрального диапазона 8-12 мкм. На фиг. 3 даны: слева - функция концентрации энергии ФКЭ (в редакции ZEMAX-FFT), справа - контраст изображения ЧКХ (в редакции ZEMAX-MTF) по трем конфигурациям температурного диапазона, расположенным сверху вниз: 20°С, -40°С, 50°С. Как видно из фиг. 3, контраст изображения во всем температурном диапазоне на частоте Найквиста превышает значение 0,6. Это означает, что во всем температурном диапазоне 80% энергии вписывается в пиксель размером 0,025×0,025 мм по всему полю зрения. В результате оптимизации, которая проводилась одновременно по всем конфигурациям с учетом данных таблиц 4-7, получены конструктивные параметры трехлинзового атермализованного объектива. Расчеты по вышеприведенной методике показали, что оптические силы менисков 1-3 могут изменяться без ухудшения качества изображения в температурном диапазоне от минус 40°С до 50°С в следующих пределах: ϕ1=(1,1÷1,3)ϕ; ϕ2=-(0,46÷0,84)ϕ; ϕ3=(0,93÷1,27)ϕ. При этом незначительно изменяются прогибы менисков 1-3 и воздушные промежутки между ними, что не влияет на результирующее качество изображения. Дополнительные расчеты показали обеспечение температурной компенсации объектива с мениском 1, выполненным из халькогенидного стекла IRG-26 фирмы SCHOTT. Таким образом, по сравнению с прототипом предлагаемое изобретение позволяет упростить оптическую схему объектива и повысить его пропускание без ухудшения качества изображения по всему полю зрения объектива в температурном диапазоне от минус 40°С до 50°С.






