Изобретение относится к области медицины и медицинской техники, а именно к радиотермометру, предназначенному для неинвазивного измерения температуры внутренних тканей биообъекта. Радиотермометр содержит последовательно соединенные антенну-аппликатор, контактирующую с биообъектом, переключатель, циркулятор, установленный после переключателя, приемное устройство, содержащее усилитель c полосно-пропускающими фильтрами, амплитудный детектор, узкополосный усилитель низкой частоты и синхронный детектор, интегратор, усилитель постоянного тока, генератор опорного напряжения, связанный с переключателем и синхронным детектором. Кроме того, радиотермометр содержит элемент Пельтье, связанный с выходом приемного устройства, первую и вторую СВЧ-нагрузки, установленные на элементе Пельтье и находящиеся в тепловом контакте с ним, по меньшей мере один датчик температуры, выполненный с возможностью измерения температуры СВЧ-нагрузок. Первая СВЧ-нагрузка выполнена с возможностью подключения к переключателю, переключатель выполнен с возможностью подключать к первому плечу циркулятора либо антенну-аппликатор, либо первую СВЧ-нагрузку. Второе плечо циркулятора соединено с приемным устройством, а третье плечо циркулятора соединено со второй СВЧ-нагрузкой. Технический результат - снижение погрешности измерения внутренней температуры биообъекта и повышение точности метода радиотермометрии при выявления злокачественных опухолей, а также снижение габаритов прибора, повышение удобства его использования и снижение себестоимости его изготовления. 4 з.п. ф-лы, 4 ил.
1. Радиотермометр, содержащий последовательно соединенные антенну-аппликатор, контактирующую с биообъектом, переключатель, циркулятор, установленный после переключателя, приемное устройство, содержащее усилитель c полосно-пропускающими фильтрами, амплитудный детектор, узкополосный усилитель низкой частоты и синхронный детектор, интегратор, усилитель постоянного тока, генератор опорного напряжения, связанный с переключателем и синхронным детектором, элемент Пельтье, связанный с выходом приемного устройства, первую и вторую СВЧ-нагрузки, установленные на элементе Пельтье и находящиеся в тепловом контакте с ним, по меньшей мере один датчик температуры, выполненный с возможностью измерения температуры СВЧ-нагрузок, причем первая СВЧ-нагрузка выполнена с возможностью подключения к переключателю, переключатель выполнен с возможностью подключать к первому плечу циркулятора либо антенну-аппликатор, либо первую СВЧ-нагрузку, втрое плечо циркулятора соединено с приемным устройством, а третье плечо циркулятора соединено со второй СВЧ-нагрузкой. 2. Радиотермометр по п. 1, дополнительно содержащий аттенюатор, установленный между выходом первой СВЧ-нагрузки и переключателем. 3. Радиотермометр по п. 1, в котором по меньшей мере один датчик температуры установлен на элементе Пельтье и/или на СВЧ-нагрузке. 4. Радиотермометр по п. 1, в котором по меньшей мере один датчик температуры является инфракрасным датчиком, выполненным с возможностью дистанционного измерения температуры. 5. Радиотермометр по любому из пп. 1-3, содержащий дополнительный интегратор, связанный с выходом по меньшей мере одного датчика температуры.
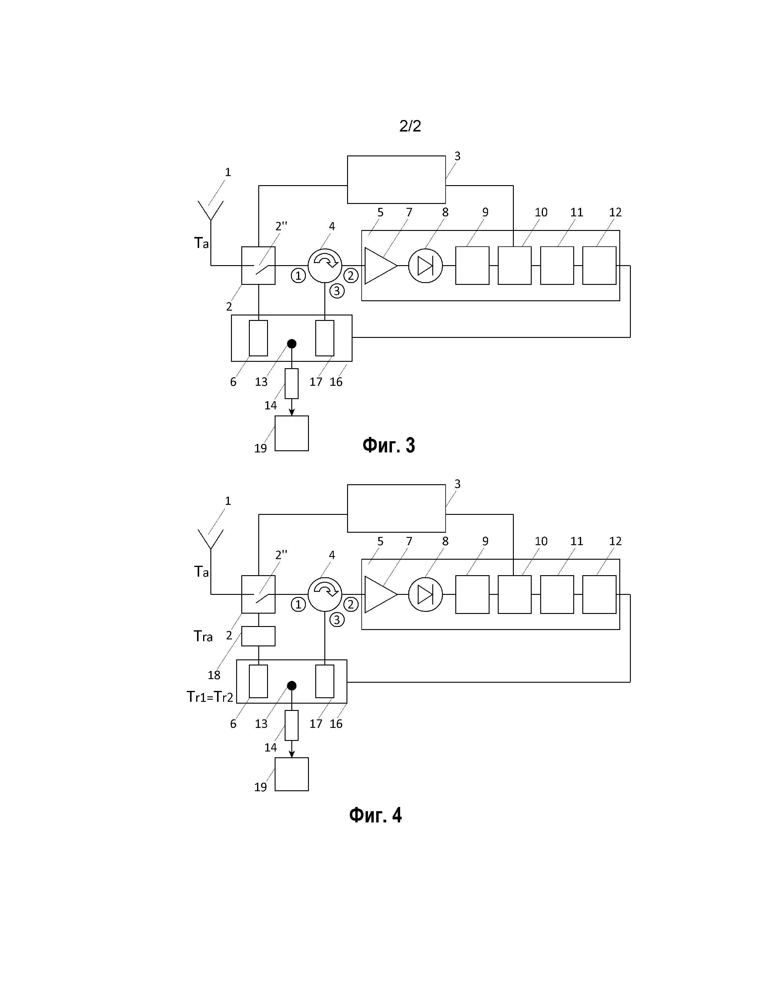
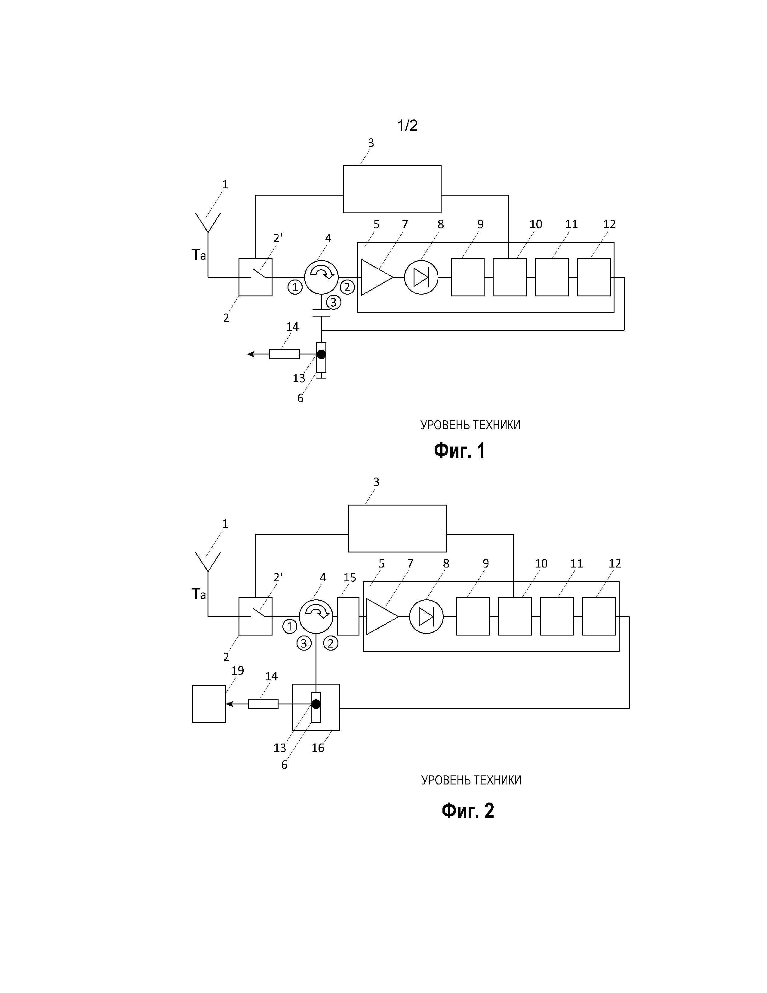
Область техники Изобретение относится к области медицины и медицинской техники, а именно к методу радиотермометрии, основанному на неинвазивном выявлении температурных аномалий внутренних тканей биологических объектов путем измерения интенсивности их собственного электромагнитного излучения, в частности изобретение относится к радиотермометру, предназначенному для неинвазивного измерения температуры внутренних тканей биообъекта. Изобретение может быть использовано в медицинской аппаратуре для неинвазивного измерения температуры внутренних тканей, мониторинга температуры, выявления температурных изменений и тепловых аномалий внутренних тканей биообъекта в диагностических комплексах для ранней диагностики онкологических заболеваний. Уровень техники В патенте РФ № 2082118 «Медицинский радиотермометр», автором и патентообладателем которого является А.В. Вайсблат, предложен нулевой модуляционный радиотермометр. Структурная схема, соответствующая этому радиотермометру, представлена на Фиг.1. В состав радиотермометра входит антенна (1), которая контактирует с биообъектом, и принимает шумовой сигнал, поступающий от него. С выхода антенны шумовой сигнал, мощность которого пропорциональна радиояркостной температуре биообъекта, поступает на модулятор (2). Для антенны, в которой нет тепловых потерь, температура шумов на выходе антенны совпадает с шумовой температурой биообъекта (то есть с радиояркостной температурой биообъекта), если потери в антенне есть, то к температуре шумов на выходе антенны добавляются шумы самой антенны. Модулятор в патенте РФ № 2082118 управляется генератором опорного напряжения (3) и выполняет функцию выключателя, то есть при включенном модуляторе шумовой сигнал с выхода антенны поступает на циркулятор (4) и далее на вход приемного устройства (5), а при выключенном модуляторе на вход приемного устройства поступает шумовой сигнал, мощность которого пропорциональна шумовой температуре Tr нагреваемого резистора (6). Приемное устройство (5), состоящее из малошумящего усилителя, содержащего полосно-пропускающие фильтры (7), амплитудного детектора (8), усилителя низкой частоты и селективного усилителя (9), синхронного детектора (10), интегратора (11) и усилителя постоянного тока (12), формирует напряжение, пропорциональное разности шумовой температуры Ta с выхода антенны и шумовой температуры нагреваемого резистора. Это напряжение поступает на нагреваемый резистор (6), что приводит к изменению термодинамической температуры и, следовательно, изменению шумовой температуры нагреваемого резистора, т.к. при отсутствии отражений шумовая температура нагреваемого резистора Tr совпадает с его термодинамической температурой. За счет отрицательной обратной связи напряжение на выходе синхронного детектора QUOTE То есть задача измерения СВЧ-мощности, поступающей с выхода антенны, заменяется задачей измерения температуры нагреваемого резистора и поддержания напряжения на выходе синхронного детектора близким к нулю. Температура нагреваемого резистора измеряется с помощью датчика температур (13), установленного на нагреваемом резисторе. Для снижения флуктуационной ошибки напряжение, поступающее с выхода датчика температур, усредняется в интеграторе (14) в течение времени T, усиливается и далее поступает на индикатор или для передачи в компьютер. Погрешность измерения радиояркостной температуры в радиотермометрах определяется несколькими факторами. В первую очередь, за счет диссипативных потерь во входном тракте радиотермометра на вход приемного устройства поступает не только шумовая мощность с выхода антенны, но и тепловые шумы входной части радиотермометра (циркулятора и переключателя), при этом QUOTE QUOTE QUOTE Ta – шумовая температура с выхода антенны, QUOTE поэтому температура входной части радиотермометра оказывает влияние на результаты измерения. В первом приближении для модуляционных радиотермометров, представленных на Фиг.1, справедливо выражение QUOTE QUOTE QUOTE Для снижения погрешности, связанной с изменением температуры входной части радиотермометра, диссипативные потери циркулятора и модулятора должны быть сбалансированы. На практике это обеспечить достаточно сложно, поскольку диссипативные потери СВЧ-элементов имеют определенный разброс и подстройка диссипативных потерь достаточно сложна. При этом из вышеприведенных формулы вытекает, что повышение затухания циркулятора на 0,3 дБ приводит к погрешности измерения температуры биообъекта в 1°С при изменении температуры входной части радиотермометра на 20°С. Кроме этого в медицинских радиотермометрах существует погрешность измерения радиояркостной температуры, связанная с тем, что входной импеданс биообъекта может меняться в достаточно широких пределах, а входное сопротивление антенны фиксировано. Это приводит к тому, что антенна не обладает идеальным согласованием, а имеет коэффициент отражения R, и часть шумового сигнала от биообъекта отражается от антенны и не поступает в приемное устройство. В частности, если антенна согласована для ткани с диэлектрической проницаемостью Е, равной 10, то при измерении температуры мышечной ткани с Е=40 коэффициент отражения будет равен 0,33 и 10% мощности сигнала отразится от антенны, что, соответственно, может привести к погрешности при измерении радиояркостной температуры в 30 K. Для компенсации этой погрешности, связанной с отражением, при построении радиотермометров Ludeke, см. патент US 4235107 A, опубл. 25.11.1980, предложил использовать схемы, которые компенсируют потери мощности, связанные с конечной величиной коэффициента отражения, путем использования дополнительного источника шума. Аналогичным образом в патенте РФ № 2082118, как показано на схеме, представленной на Фиг.1, компенсация отражений достигается за счет того, что шумы от нагреваемого резистора (6) проходят через циркулятор (4) и поступают в антенну. При наличии отражений от антенны часть шумовой мощности нагреваемого резистора отражается от антенны и возвращается в приемное устройство, тем самым компенсируя мощность, отраженную от антенны. Очевидно, что если шумовая температура биообъекта ровна шумовой температуре, поступающей в антенну от нагреваемого резистора, то произойдет полная компенсация отраженной мощности. Но поскольку шумовая температура биообъекта меняется в определенном диапазоне, то выполнить это условие достаточно сложно, и погрешность измерения за счет отражения сигнала, как правило, весьма значительна. Даже если удается добиться равенства шумовых температур с выхода антенны и от резистора, то есть Ta=Tr, то за счет тепловых потерь в циркуляторе и модуляторе мощность шумов, поступающих в антенну со стороны нагреваемого резистора, не равна мощности шумов, поступающих от биообъекта, и полной компенсации не происходит. В схеме, представленной на Фиг.1, соответствующей патенту-аналогу РФ № 2082118, циркулятор (4) предназначен не только для компенсации отражений от антенны, но и для развязки между приемным устройством и антенной. Шумы, поступающие со входа приемного устройства, поглощаются в балансном резисторе циркулятора и не поступают в антенну. Обычно развязка реальных циркуляторов недостаточно высокая для того, чтобы полностью подавить шумовой сигнал, поступающий со входа приемного устройства. В результате шумы приемного устройства, прошедшие через циркулятор, отражаются от разомкнутого выключателя и вновь поступает на вход приемного устройства. Наиболее близким аналогом (прототипом) заявленного изобретения является радиотермометр, описанный в статье Вайсблата А.В. «Медицинский радиотермометр РТМ-01-РЭС», Биомедицинские технологии и радиоэлектроника, №8, 2001, с. 11-23. В описанном в данной статье радиотермометре, схема которого приведена на Фиг.2 и который содержит антенну (1), контактирующую с биообъектом, модулятор (2), который выполняет функцию выключателя (2), циркулятор (4) и приемное устройство (5), содержащее малошумящий усилитель с полосно-пропускающими фильтрами (7), амплитудный детектор (8), усилитель низкой частоты и селективный усилитель (9), синхронный детектор (10), интегратор (11) и усилитель постоянного тока (12), а кроме того, генератор опорного напряжения (3). В радиотермометре-прототипе для повышения развязки между приемным устройством (5) и модулятором после циркулятора (4) установлен еще один невзаимный элемент – вентиль (15) (см. Фиг.2). Но невзаимные элементы имеют значительные габариты и высокую стоимость по сравнению с другими элементами радиотермометра, поэтому для снижения габаритов радиотермометра и его стоимости необходимо сократить число невзаимных элементов. Кроме того, в решении-прототипе для изменения температуры нагреваемого резистора используется элемент Пельтье (16). Однако схема, представленная на Фиг.2, также не обеспечивает достаточной точности измерения, так как за счет диссипативных потерь в циркуляторе и в модуляторе, мощность шумов, поступающих в антенну со стороны нагреваемого резистора, не равна мощности шумов, поступающих от биообъекта, и полной компенсации отражений на границе раздела сред не происходит, и, следовательно, точность измерения все еще является недостаточной. Сущность изобретения Задачей изобретения является создание нулевого модуляционного радиотермометра для неинвазивного выявления температурных аномалий внутренних тканей, обладающего малой погрешностью измерения радиояркостной температуры и минимальным числом невзаимных элементов. Решение указанной задачи обеспечивает снижение погрешности измерения внутренней температуры биообъекта и повышение точности метода радиотермометрии при выявления злокачественных опухолей, а также снижение габаритов прибора, повышение удобства его использования и снижение себестоимости его изготовления. Объектом заявленного изобретения является радиотермометр для неинвазивного выявления температурных аномалий внутренних тканей. Заявленный радиотермометр содержит последовательно соединенные: антенну-аппликатор, контактирующую с биообъектом, переключатель, циркулятор, установленный после переключателя, приемное устройство, содержащее усилитель c полосно-пропускающими фильтрами, амплитудный детектор, узкополосный усилитель низкой частоты и синхронный детектор, интегратор, усилитель постоянного тока, генератор опорного напряжения, связанный с переключателем и синхронным детектором, элемент Пельтье, связанный с выходом приемного устройства, первую и вторую СВЧ-нагрузки, установленные на элементе Пельтье и находящиеся в тепловом контакте с ним, по меньшей мере один датчик температуры, выполненный с возможностью измерения температуры СВЧ-нагрузки, причем первая СВЧ-нагрузка выполнена с возможностью подключения к переключателю, переключатель выполнен с возможностью подключать к первому плечу циркулятора либо антенну-аппликатор, либо первую СВЧ-нагрузку, втрое плечо циркулятора соединено с приемным устройством, а третье плечо циркулятора соединено со второй СВЧ-нагрузкой. В варианте выполнения радиотермометр может дополнительно содержать аттенюатор, установленный между выходом первой СВЧ-нагрузки и переключателем. Датчик температуры, выполненный с возможностью измерения температуры СВЧ-нагрузки, может быть установлен на элементе Пельтье и/или на СВЧ-нагрузке. В качестве по меньшей мере одного датчика температуры может быть использован инфракрасный датчик температуры, выполненный с возможностью дистанционного измерения температуры, и/или датчик температуры, установленный на СВЧ-нагрузках и/или элементе Пельтье и имеющий хороший тепловой контакт с ними. Радиотермометр может также содержать дополнительный интегратор, связанный с выходом по меньшей мере одного датчика температуры. Все элементы радиотермометра, включая циркулятор, элемент Пельтье и переключатель, установлены на теплопроводящее основании и имеют тепловой контакт с ним, и таким образом температура всех элементов входной части радиотермометра (переключателя, циркулятора, аттенюатора) близка к температуре основания, на котором они установлены. Таким образом, первая сторона элемента Пельтье установлена на основание и имеет хороший тепловой контакт с ним, а две СВЧ-нагрузки установлены на стороне элемента Пельтье, противоположной основанию, и имеют хороший тепловой контакт с ним. Все составные части радиотермометра имеют общее заземление по СВЧ-сигналу. Краткое описание чертежей На Фиг.1 представлена структурная схема известного из уровня техники нулевого модуляционного радиотермометра согласно патенту-аналогу РФ № 2082118. На Фиг.2 представлена структурная схема известного из уровня техники нулевого модуляционного радиотермометра согласно наиболее близкому аналогу (прототипу) заявленного изобретения, который имеет два невзаимных элемента и в котором резистор размещен на элементе Пельтье. На Фиг.3 представлена структурная схема варианта выполнения нулевого модуляционного радиотермометра согласно заявленному изобретению, имеющего переключатель и две СВЧ-нагрузки, установленные на элементе Пельтье и связанные с циркулятором и переключателем соответственно. На Фиг.4 представлена структурная схема другого варианта выполнения нулевого модуляционного радиотермометра с переключателем с двумя СВЧ-нагрузками, установленными на элементе Пельтье, при этом между первой СВЧ-нагрузкой и переключателем установлен аттенюатор. Подробное описание чертежей. На Фиг.1 представлена схема известного из уровня техники радиотермометра согласно патенту-аналогу РФ № 2082118, при этом схема представлена в адаптированном виде, аналогичном заявленному изобретению, и данный известный из уровня техники нулевой модуляционный радиотермометр, состоит из антенны (1), контактирующей с биообъектом и принимающей поступающий от биообъекта шумовой сигнал. С выхода антенны СВЧ шумовой сигнал поступает на вход электронного модулятора (2). В модуляторе (2) радиотермометра согласно патенту РФ № 2082118 используется выключатель (2’), который замыкает и размыкает соединение циркулятора с антенной. Модулятор управляется генератором опорного напряжения с тактовой частотой 1 кГц. При включенном выключателе (2’) модулятора шумовой сигнал с выхода антенны поступает на циркулятор (4) и далее на вход приемного устройства (5). При выключенном выключателе (2’) модулятора шумовой сигнал от нагреваемого резистора, расположенного в третьем плече циркулятора (4), отражается от разомкнутого выключателя модулятора и поступает на вход циркулятора и далее на вход приемного устройства (5). Приемное устройство содержит малошумящий усилитель c полосно-пропускающими фильтрами (7), амплитудный детектор (8), узкополосный усилитель низкой частоты (9), синхронный детектор (10), интегратор (11), усилитель постоянного тока (12). На выходе премного устройства формируется напряжение, пропорциональное разности шумовой температуры Tr нагреваемого резистора и температуры Ta, поступающих с выхода антенны QUOTE k – коэффициент усиления приемного тракта радиотермометра, Ta – шумовая температура с выхода антенны, Tr – шумовая температура резистора. Этот сигнал усиливается и поступает на нагреваемый резистор (6), что приводит к изменению его термодинамической температуры и, следовательно, шумовой температуры Tr резистора. Охлаждение нагреваемого резистора осуществлялось за счет естественного воздушного охлаждения. За счет отрицательной обратной связи напряжение на выходе синхронного детектора стремится к нулю, и шумовая температура нагреваемого резистора QUOTE Поскольку на выходе синхронного детектора напряжение близко к нулю, то шумовая температура, поступающая с выхода антенны, равна шумовой температуре нагреваемого резистора. При отсутствии отражений шумовая температура Tr нагреваемого резистора совпадает с термодинамической температурой, которая измеряется с помощью датчика температур, установленного на нагреваемом резисторе. Для снижения флуктуационной ошибки напряжение, поступающее с выхода датчика температур, усредняется в интеграторе (14) и усиливается. На Фиг.2 в виде, аналогичном заявленному изобретению, представлена структурная схема серийно-выпускаемого радиотермометра-прототипа, описанного в статье Вайсблата А.В. «Медицинский радиотермометр РТМ-01-РЭС», Биомедицинские технологии и радиоэлектроника, №8, 2001, с. 11-23. Данный радиотермометр состоит из антенны (1), модулятора (2), циркулятора (3), вентиля (15), приемного устройства (5), элемента (16) Пельтье, СВЧ-нагрузки (6), установленной на элементе (16) Пельтье, датчика температур (13), измеряющего температуру СВЧ-нагрузки (6), интегратора (14), генератора опорного напряжения (3), управляющего модулятором (2). При этом в радиотермометре-прототипе, так же как и в аналоге по патенту РФ № 2082118, модулятор (2) содержит выключатель (2’), который способен только замыкать и размыкать соединение циркулятора с антенной. Приемное устройство в прототипе состоит из малошумящего усилителя c полосно-пропускающими фильтрами (7), амплитудного детектора (8), узкополосного усилителя низкой частоты (9) и синхронного детектора (10), интегратора (11), усилителя постоянного тока (12). В радиотермометре-прототипе, представленном на Фиг.2, в отличие от схемы, представленной на Фиг.1, управление температурой нагрузки осуществляется с помощью элемента (16) Пельтье. Это позволило осуществлять как нагрев, так и охлаждение нагрузки. Для повышения развязки между приемным устройством и антенной в радиотермометре-прототипе установлен второй невзаимный элемент - вентиль (15). Это позволяет повысить развязку между выключателем (2’) и приемным устройством до 34 дБ в диапазоне частот 500 мГц и снизить уровень шумов, поступающих на модулятор (2) из приемного устройства (5), но повышает габариты устройства. Таким образом, в радиотермометре-прототипе не обеспечивается требуемая точность измерения, так как компенсация отражений от антенны все еще является недостаточной, кроме того, радиотермометр имеет большие габариты вследствие использования невзаимных элементов, например вентиля (15), что делает его неудобным при использовании. Конструкция заявленного радиотермометра подробно поясняется со ссылкой на Фиг. 3 и 4. На Фиг.3 представлен первый вариант предлагаемого радиотермометра согласно заявленному изобретению, в котором дополнительно имеется вторая СВЧ-нагрузка (второй резистор), установленная на элементе Пельтье, а в модуляторе использован не выключатель, а переключатель (2”), который подключает к первому плечу циркулятора либо антенну (1), либо первую нагрузку (6) (первый резистор). Переключатель (2”) управляется генератором опорного напряжения, например, с частотой 1 кГц. Шумовой сигнал с выхода переключателя (2”) проходит через циркулятор (4) и поступает на приемное устройство (5). Приемное устройство (5) содержит малошумящий усилитель c полосно-пропускающими фильтрами (7), амплитудный детектор (8), узкополосный усилитель низкой частоты (9), синхронный детектор (10), интегратор (11), усилитель постоянного тока (12). При работе заявленного радиотермометра на выходе премного устройства формируется напряжение QUOTE QUOTE k – коэффициент усиления приемного тракта радиотермометра, Ta – шумовая температура с выхода антенны, Tr1 - шумовая температура первой СВЧ-нагрузки (первогорезистора). Это напряжение усиливается и поступает на элемент (16) Пельтье. В отличие от схем устройств-аналогов, представленных на Фиг.1 и Фиг.2, в заявленном изобретении использованы 2 СВЧ-нагрузки (6) и (17), то есть два резистора, установленные на элементе Пельтье и имеющие с элементом Пельтье хороший тепловой контакт. Первая нагрузка (6) подключена ко входу переключателя (2’) модулятора (2). Вторая нагрузка (17) подключена к третьему плечу циркулятора (4). Температура нагрузок измеряется с помощью датчика температур (13), который может быть установлен на элементе Пельтье или на по меньшей мере одной из нагрузок и имеет хороший тепловой контакт с ними, затем сигнал измерения от датчика температур интегрируется в связанном с датчиком температур (13) дополнительном интеграторе (14), усиливается и поступает на индикатор или компьютер (19), выполняющий функции блока обработки данных и блока управления. В отличие от схем устройств согласно аналогу и прототипу, изображенных на Фиг.1 и Фиг.2, в заявленном техническом решении вместо содержащегося в модуляторе выключателя (2’), который либо соединяет выход антенны с циркулятором, либо размыкает соединение, используется переключатель (2”), который подключает к первому плечу циркулятора либо антенну-аппликатор, либо первую СВЧ-нагрузку. В этом случае на выходе приемного устройства (5) происходит сравнение сигналов, поступающих от антенны (1) и от первой нагрузки (6). В заявленном изобретении в качестве переключателя (2”) может быть использован переключатель типа SPDT (однополюсный двухпозиционный переключатель). В некоторых решениях уровня техники также сделаны попытки использования переключателей в схемах радиотермометров, например в схеме радиометра согласно патенту РФ 2485462, опубл. 20.06.2013, между модулятором и циркулятором установлен ответвитель, с которым связан переключатель двухполюсного типа, имеющий три входа и два выхода. В этой схеме используются три согласованные нагрузки, при этом первая согласованная нагрузка подключена к циркулятору, а вторая и третья согласованные нагрузки могут коммутироваться с переключателем, и двухполюсный переключатель в патенте РФ 2485462 выполнен с возможностью либо подключения на первый выход переключателя генератора шума, а на второй выход - второй согласованной нагрузки, либо подключения на первый выход переключателя третьей согласованной нагрузки, а на второй выход - генератора шума. При этом модулятор, ответвитель, циркулятор, переключатель, генератор шума и источник тока для него, а также первая, вторая и третья согласованные нагрузки установлены на термостатированной плате и имеют одинаковую температуру, однако элемент Пельтье в данной схеме отсутствует. Таким образом, схема радиотермометра согласно заявленному изобретению имеет более простую конструкцию, содержит только две согласованные СВЧ-нагрузки, которые имеют иные связи с остальными элементами схемы. Кроме того, в заявленном радиотермометре обе нагрузки установлены на элементе Пельтье, который может как нагревать нагрузки, так и охлаждать их, и, следовательно, нагрузки имеют одинаковую регулируемую температуру, отличную от температуры остальных элементов схемы. За счет этого обеспечивается более высокая точность измерения радиояркостной температуры при минимальном числе невзаимных элементов, что сокращает габариты устройства и повышает удобство его использования при проведении измерения внутренней температуры во множестве точек биообъекта. При работе радиотермотера за счет отрицательной обратной связи напряжение на выходе синхронного детектора стремится к нулю и шумовая температура Tr1 первой нагрузки (6) приближается к температуре шумов QUOTE В силу неидеальной развязки циркулятора некоторая часть шумов приемного устройства проходит через циркулятор (4) и поступает на переключатель (2”). В радиотермометре-прототипе, схема которого представлена на Фиг.2, шумы отражались от открытого плеча выключателя (2’) и поступали на вход приемного устройства. Но в отличие от устройства-прототипа, представленного на Фиг.2, в заявленном изобретении эти шумы поглощаются в первой нагрузке (6) и не попадают на вход приемного устройства (5). За счет этого в предлагаемом варианте радиотермометра снижаются требования к развязке циркулятора и не требуется дополнительно устанавливать вентиль, как это было сделано в прототипе (см. Фиг.2). Это позволяет почти в два раза сократить размеры входной СВЧ-части радиотермометра, то есть уменьшить габариты радиотермометра в целом, что существенно упрощает манипулирование радиотермометром при проведении обследования, повышает удобство его использования и сокращает время, необходимое на проведение обследования во множестве точек, как это делается, например, при обследовании молочной железы. Повышение точности измерений путем компенсации отражений от входа антенны (1) в предложенном варианте радиотермометра осуществляется также за счет поступления на выход антенны шумового сигнала от второй нагрузки (17). Так как она находится в хорошем тепловом контакте с первой нагрузкой (6) за счет размещения на одном элементе Пельтье, их температуры равны между собой Tr1=Tr2. Но поскольку шумовая температура первой нагрузки Tr1близка к температуре Ta шумов, поступающих с выхода антенны, то и температура Tr2второй нагрузки близка к температуре шумов Та на выходе антенны. За счет этого достигается более полная компенсация отраженной шумовой мощности от антенны и повышается точность измерения температуры биологического объекта. При этом следует отметить, что за счет потерь в циркуляторе (4) и переключателе (2”) мощность шумов, поступающих со стороны второй нагрузки (17) на выход антенны, будет отличаться от мощности шумов, поступающих с выхода антенны, поэтому еще более полную компенсацию отраженной мощности обеспечивает вариант радиотермометра, представленный на Фиг.4. В представленном на Фиг.4 варианте предлагаемого радиотермометра шумовая мощность с выхода первой СВЧ-нагрузки (6) поступает на аттенюатор (18), подключенный между выходом первой СВЧ-нагрузки (6) и переключателем (2”) и имеющий температуру входной части радиотермометра. Шумовая температура Tra на выходе аттенюатора равна QUOTE kra – коэффициент передачи аттенюатора, T amb – шумовая температура входной части радиотермометра, Tr1- шумовая температура первогонагреваемого резистора (первой СВЧ-нагрузки). Радиотермометр работает таким образом, что переключатель (2”) подключает к первому плечу циркулятора либо шумовой сигнал с выхода антенны (1), мощность которого пропорциональна температуре внутренних тканей биологического объекта, либо шумовой сигнал с выхода аттенюатора (18). Переключатель (2”) управляется генератором опорного напряжения (3) с частотой 1 кГц. Шумовой сигнал с выхода переключателя (2”) проходит через циркулятор (4) и поступает на приемное устройство (5). Приемное устройство в варианте выполнения радиотермометра, показанном на Фиг.4, также состоит из малошумящего усилителя c полосно-пропускающими фильтрами (7), амплитудного детектора (8), узкополосного усилителя низкой частоты (9) и синхронного детектора (10), интегратора (11), усилителя постоянного тока (12). На выходе приемного устройства формируется напряжение, пропорциональное разности шумовой температуры Ta с выхода антенны и шумовой температуры Tra с выхода аттенюатора: QUOTE k – коэффициент усиления приемного тракта радиотермометра, Ta – шумовая температура с выхода антенны, Tra - шумовая температура с выхода аттенюатора. Это напряжение усиливается и поступает на элемент (16) Пельтье. Как и в первом варианте выполнения изобретения, показанном на Фиг.3, на элементе Пельтье установлены 2 нагрузки, имеющие с элементом Пельтье хороший тепловой контакт. Но первая нагрузка (6) подключена ко входу аттенюатора (18), который связан с переключателем, а вторая нагрузка подключена к третьему плечу циркулятора (4). Температура нагрузок измеряется с помощью датчика температур (7), который может быть установлен на элементе Пельтье и/или на по меньшей мере одной из нагрузок и имеет хороший тепловой контакт с ними. За счет отрицательной обратной связи напряжение на выходе синхронного детектора стремится к нулю и температура Tr1 первой нагрузки приближается к шумовой температуре Ta с выхода антенны. За счет диссипативных потерь в аттенюаторе (18) температура первой и второй нагрузки отличается от температуры Ta шумов, поступающих с выхода антенны. QUOTE kra– коэффициент передачи аттенюатора, Tr1 – шумовая температура первой нагрузки, Tr2 – шумовая температура второй нагрузки, Ta – шумовая температура с выхода антенны, T amb – шумовая температура входной части радиотермометра. Мощность шумов, поступающих на выход антенны со стороны второй нагрузки (17), равна: QUOTE ks – коэффициент передачи переключателя, kcir - коэффициент передачи циркулятора, Tra – шумовая температура аттенюатора, Tr2 – шумовая температура второй нагрузки, Tamb – шумовая температура входной части радиотермометра. Если коэффициент k передачи аттенюатора будет совпадать с коэффициентом передачи каскадного соединения циркулятора и переключателя kskcir, то Tra = Ta, то есть происходит компенсация мощности шумов, отраженных от входа антенны. Таким образом, в конструкции радиотермометра согласно заявленному изобретению в модуляторе вместо выключателя используется переключатель и две СВЧ-нагрузки. При этом первая СВЧ-нагрузка может быть подключена к переключателю, вторая СВЧ-нагрузка соединена с третьим плечом циркулятора и переключатель выполнен с возможностью подключать к первому плечу циркулятора либо антенну-аппликатор, либо первую СВЧ-нагрузку. Кроме того, между выходом первой СВЧ-нагрузки и переключателем предпочтительно установлен аттенюатор (18), и в данном случае переключатель подключает к первому плечу циркулятора либо антенну (1), либо аттенюатор. Такая модификация конструкции радиотермометра согласно заявленному изобретению обеспечивает повышение точности неинвазивного измерения температуры внутренних тканей биологических объектов с использованием заявленного радиотермометра для ранней диагностики онкологических заболеваний, а также обеспечивает снижение габаритов прибора, повышение удобства его использования и снижение себестоимости его изготовления.
стремится к нулю, а шумовая температура QUOTE 
нагреваемого резистора стремится к шумовой температуре Ta с выхода антенны.
, где 
- погрешность измерения радиояркостной температуры за счет диссипативных потерь во входном тракте радиотермометра, 
- шумовая температура входной части радиотермометра (циркулятора и переключателя), 
- эквивалентные диссипативные потери входной части радиотермометра, 
, где
- диссипативные потери циркулятора, 


, где 
стремится к шумовой температуре Ta, поступающей с выхода антенны. 
, пропорциональное разности шумовой температуры, поступающей антенны, и температуры Tr1 первого нагреваемого резистора: 
, где 
, поступающих с выхода антенны. 


, где
, где
, где