Изобретение относится к лазерной технике. Однопроходный гамма-лазер содержит материал активной среды в виде твердого вещества цилиндрической формы, с одной стороны которого установлена заглушка, и соленоид для создания сильного однородного продольного магнитного поля. Источник электропитания соленоида подключен к соленоиду, внутри соленоида и соосно с соленоидом расположен полый диэлектрический цилиндр, внутри полого диэлектрического цилиндра помещается материал активной среды. Открытые полосковые полеобразующие системы для создания поперечного магнитного поля проходят внутри соленоида поверх и вдоль полого диэлектрического цилиндра попарно симметрично относительно оси соленоида и подключены по своим входам через симметрирующее устройство к источнику радиочастотных сигналов, а по своим выходам - к согласующим нагрузкам открытых полосковых полеобразующих систем. Количество открытых полосковых полеобразующих систем равно или больше двух, причем в качестве материала активной среды используется радионуклид, в котором осуществляется бета-распад ядер вида X(A, Z)→Y (A, Z-1). Технический результат заключается в увеличении плотности мощности выходного когерентного гамма-излучения. 2 ил.
Однопроходный гамма-лазер, содержащий материал активной среды в виде твердого вещества цилиндрической формы, с одной стороны которого установлена заглушка, отличающийся тем, что дополнительно содержит соленоид для создания сильного однородного продольного магнитного поля, источник электропитания соленоида подключен к соленоиду, внутри соленоида и соосно с соленоидом расположен полый диэлектрический цилиндр, внутри полого диэлектрического цилиндра помещается материал активной среды, открытые полосковые полеобразующие системы для создания поперечного магнитного поля проходят внутри соленоида поверх и вдоль полого диэлектрического цилиндра попарно симметрично относительно оси соленоида и подключены по своим входам через симметрирующее устройство к источнику радиочастотных сигналов, а по своим выходам - к согласующим нагрузкам открытых полосковых полеобразующих систем, количество открытых полосковых полеобразующих систем равно или больше двух, причем в качестве материала активной среды используется радионуклид, в котором осуществляется бета-распад ядер вида X(A,Z) → Y(A,Z-1).
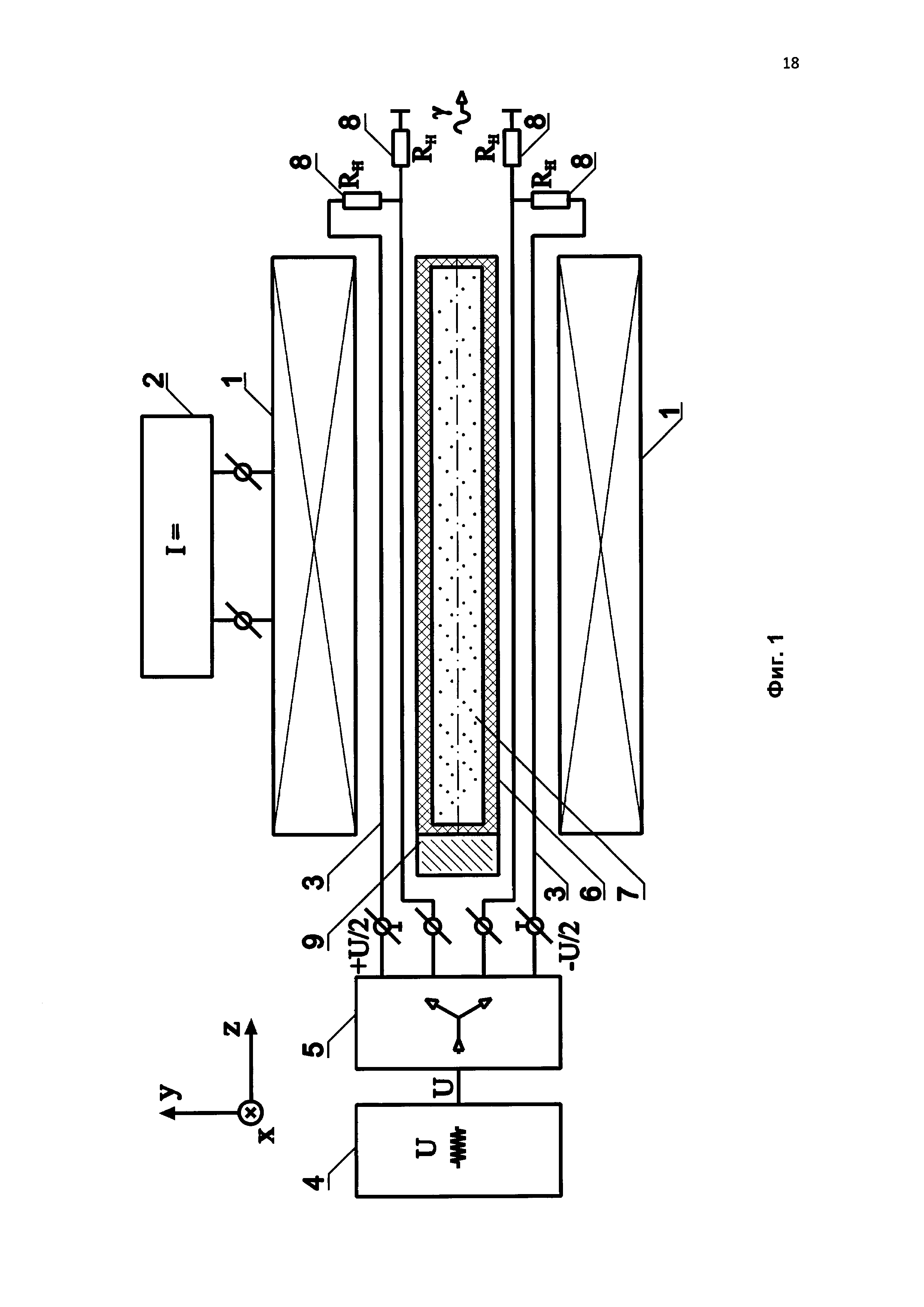
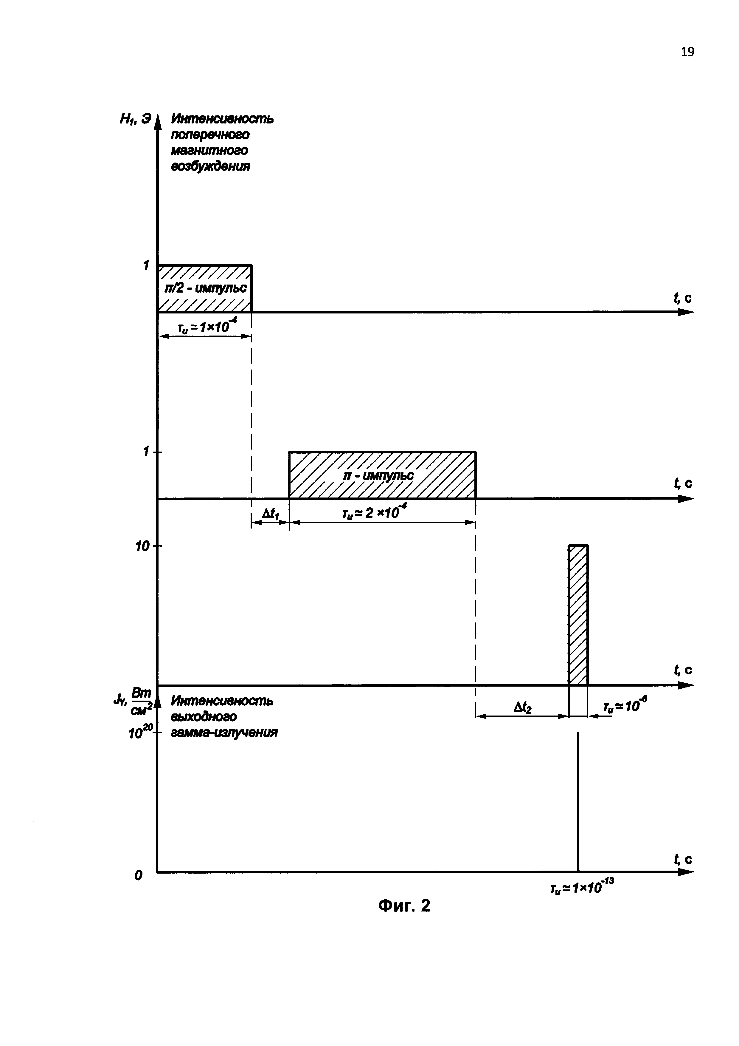
Изобретение относится к лазерной технике, а именно к устройствам для генерации направленного когерентного излучения высокой энергии в гамма-излучательном спектральном диапазоне с высокой мощностью потока гамма-квантов. Современные квантовые генераторы - лазеры, в том числе и гамма-лазеры, содержат, как правило, три структурных компонента: материал активной среды (химический элемент), в которой создают инверсию заселенностей квантовых уровней, устройство для создания инверсии в материале активной среды (например, система накачки) и устройство для создания положительной обратной связи (например, резонатор). Из-за трудностей получения требуемой инверсии в материале активной среды и формирования механизма обратной связи в диапазоне энергий гамма квантов для создания гамма-лазера в некоторых случаях используют также схему с квантово-энергетическим усилением исходного мягкого лазерного излучения, например, с помощью обратного его рассеяние на когерентных электронных пучках. Известны устройства [1, 2], позволяющие сформировать гамма-лазер высокого качества в отношении монохроматичности, направленности и яркости посредством проецирования лазерного луча оптического диапазона в направлении, противоположенном направлению когерентного электронного пучка, индуцируя когерентное обратное комптоновское рассеяния и усиление энергии фотонов рассеянного исходного лазерного излучения. Недостатком этих устройств является наличие в их структуре сложного и громоздкого устройства формирования мощного когерентного электронного пучка, содержащего накопительные кольца или ускоритель со встречными пучками для обладающих высокой энергией электронов и позитронов, а также средство реализации функции формирования импульсов электронного пучка, имеющих определенную длительность для создания когерентности электронов в пучке. Известно также устройство [3] рентгеновского и гамма-лазера, которое включает ядерный источник накачки активной среды, лазерные металлические стержни с диаметром, равным длине поглощения рентгеновского излучения, расположенные вокруг источника, причем твердое вещество стержней обладает высокой атомной плотностью. Это устройство использует классическую схему построения лазера, свободную от необходимости иметь в своем составе устройство формирования мощного когерентного электронного пучка. Недостатком известного устройства является низкая плотность мощности выходного гамма-излучения, не превышающая 1012 Вт/см2. Наиболее близким по своей физической сущности к предлагаемому (прототипом) является устройство для генерации гамма-излучения [4], содержащее источник накачки активной среды и активную среду в виде лазерного стрежня из твердого вещества, лазерный стержень выполнен из монокристалла в виде удлиненного цилиндра, в объеме которого однородно размещены ядра изотопов гидрида урановой группы и атомы водорода, кристаллическая решетка монокристалла содержит кристаллические плоскости, параллельные между собой и оси лазерного стержня, который является одновременно замедлителем для быстрых нейтронов, формирователем нейтронной волны, источником накачки и активной средой, при этом лазерный стержень последовательно заключен в тонкую оболочку из фольги из материала, отражающего тепловые нейтроны, например из гидрида лития, титановую цилиндрическую оболочку, металлическую оболочку из материала, отражающего тепловые нейтроны, несущий стальной корпус с соединительными фланцами по его торцам, на одном из торцов корпуса герметично и жестко установлена конической формы металлическая заглушка, а на противоположном торце жестко установлен закрытый с одного торца стальной стакан с осевой камерой и затвором, состоящим из смежных симметричных радиальных камер, в одну из которых жестко установлен первый тротиловый заряд с детонатором, в осевой камере стакана герметично и последовательно установлены выполненная с возможностью радиального перемещения во вторую радиальную камеру затвора монолитная металлическая пробка из материала, поглощающего нейтроны, выполненные с возможностью осевого перемещения по стакану внешний источник быстрых нейтронов в виде монолитного цилиндра и поршень, жестко закрепленный у закрытой стенки стакана. Оценка плотности мощности выходного когерентного гамма-излучения в прототипе дает значение ≈1014 Вт/см2. Недостатком прототипа является малая плотность мощности выходного когерентного гамма-излучения. Техническим результатом изобретения является увеличение плотности мощности выходного когерентного гамма-излучения. Технический результат достигается тем, что однопроходный гамма-лазер, содержащий материал активной среды в виде твердого вещества цилиндрической формы, с одной стороны которого установлена заглушка, дополнительно содержит соленоид для создания сильного однородного продольного магнитного поля, источник электропитания соленоида подключен к соленоиду, внутри соленоида и соосно с соленоидом расположен полый диэлектрический цилиндр, внутри полого диэлектрического цилиндра помещается материал активной среды, открытые полосковые полеобразующие системы для создания поперечного магнитного поля проходят внутри соленоида поверх и вдоль полого диэлектрического цилиндра попарно симметрично относительно оси соленоида и подключены по своим входам через симметрирующее устройство к источнику радиочастотных сигналов, а по своим выходам - к согласующим нагрузкам открытых полосковых полеобразующих систем, количество открытых полосковых полеобразующих систем равно или больше двух, причем в качестве материала активной среды используется радионуклид, в котором осуществляется бета-распад ядер вида X(A, Z)→Y(A, Z-1). На фиг. 1 дано схематическое изображение устройства однопроходного гамма-лазера, использующего в качестве материала активной среды радионуклид, в котором осуществляется бета-распад ядер вида X(A, Z)→Y (A, Z-1). На фиг. 1 приняты следующие обозначения: 1 - соленоид для создания сильного однородного продольного магнитного поля H0; 2 - источник электропитания соленоида; 3 - открытые полосковые полеобразующие системы для создания поперечного магнитного поля H1; 4 - источник радиочастотных сигналов; 5 - симметрирующее устройство; 6 - полый диэлектрический цилиндр; 7 - материал активной среды; 8 - согласующие нагрузки открытых полосковых полеобразующих систем; 9 - заглушка. На фиг. 2 изображена временная диаграмма последовательности импульсов поперечного возбуждения в материале активной среды и появления на выходе импульса однопроходного гамма-излучения при использовании принятой в предлагаемом устройстве технологии инициирования. Все амплитуды импульсов на фиг. 2 приведены в относительных единицах, а все интервалы времени соотнесены друг с другом и характерными временами физических процессов, протекающих в материале активной среды в каждой фазе формирования импульса однопроходного гамма-излучения. Предлагаемый однопроходный гамма-лазер (фиг. 1) содержит соленоид 1 для создания сильного однородного продольного магнитного поля H0, подключенный к источнику 2 электропитания, открытые полосковые полеобразующие системы 3 для создания поперечного магнитного поля H1, проходящие внутри соленоида 1 поверх и вдоль полого диэлектрического цилиндра 6 попарно симметрично относительно оси соленоида 1 и подключенные по своим входам через симметрирующее устройство 5, создающее противофазные радиочастотные сигналы, к источнику 4 радиочастотных сигналов, а по выходам - к согласующим нагрузкам 8, количество открытых полосковых полеобразующих систем равно или больше двух, полый диэлектрический цилиндр 6, расположенный внутри и соосно с соленоидом 1, заполненный материалом активной среды 7 в виде твердого вещества радионуклида бета "плюс"-распадного типа и образующий с одного из своих торцевых концов выходное окно для генерируемого гамма-излучения, а с другого конца закрытый заглушкой 9. При этом размещение источника радиочастотного сигнала 4 и симметрирующего устройства 5 относительно сборки "соленоид 1 - открытые полосковые полеобразующие системы 3 - полый диэлектрический цилиндр 6, заполненный материалом активной среды 7" может быть произвольным, например таким, как показано на фиг. 1. Общее количество открытых полеобразующих систем определяется необходимостью достижения заданной величины поперечного магнитного поля H1 в выбранном поперечном направлении при соблюдении условия строгой пространственно временной синхронизации радиочастотных сигналов, распространяющихся по каждой из открытых полосковых полеобразующих систем. Прежде чем дать последовательное изложение работы предлагаемого устройства, необходимо пояснить некоторые принципиальные положения, касающиеся его существа. Концептуально, однопроходный гамма-лазер представляет собой устройство, использующее для создания инверсии бета-распад радионуклида вида X(A, Z)→Y(A, Z-1) в сильном однородном магнитном поле и работающее на самоограничивающем гамма-переходе дочерних ядер этого радионуклида. Для обеспечения режима когерентного излучения, т.е. режима синфазного типично классического группового излучения, в таком ядерно-спиновом квантовом генераторе необходимо выполнить следующие условия. Известно [5], что интенсивность излучения J квантовой системы, состоящей из N спинов с I=1/2, когда система находится в квантовом состоянии /r, m>, равна где r - спиновое квантовое число для полного спина системы; m - магнитное квантовое число системы; J0 - интенсивность спонтанного излучения отдельного спина. Из (1) видно, что при r=m=rmax=(1/2)N имеем интенсивность J=NJ0, т.е., несмотря на наличие полной инверсии системы, спины в этом случае излучают некогерентно (или спонтанно). Если же система подготовлена таким образом, что к моменту излучения она переходит в состояние /r=rmax=(1/2)N, m>, где |m|<<r, то интенсивность излучения становится равной J≈(1/4)N2J0, указывая на когерентный характер излучения. Замечая, что интенсивность излучения есть не что иное, как поток энергии через единичную площадку где Езап=NEγ - энергия, запасенная в спиновой системе и излучаемая через переход Eγ; Δt - длительность излучаемого импульса; Sn - проекция площадки, через которую выводится излучение, на направление излучения, то для одиночного γ-кванта естественно положить J0=Eγ/(τγ⋅Sn) и для когерентного режима излучения соотношение (2) переписать в виде Последняя запись означает, что в силу сохранения энергетического баланса запасенная в системе энергия NEγ не может быть превышена в процессе формирования излучения на самоограниченном переходе, и, следовательно, при реализации в этой системе режима когерентного излучения волновой синхронизм приводит к сжатию волнового пакета и уменьшению как 1/N длительности импульса излучения. Инициирование предлагаемого устройства (фиг. 2) строится на принципах генерации спинового или фотонного эха в магнитно напряженной среде, описанных в общих чертах в [6, 7]. Предлагаемый однопроходный гамма-лазер работает следующим образом. Пустотелый диэлектрический цилиндр 6 заполняют материалом активной среды 7, представляющим собой бета-распадный радионуклид. Снаряженную таким образом кассету, состоящую из полого диэлектрического цилиндра 6 и активного материала 7, устанавливают внутрь соленоида 1 вдоль его оси. Включают источник 2 электропитания и создают внутри соленоида 1 сильное однородное магнитное поле H0. Оставляют материал активной среды 7 в магнитном поле H0 в покое в течение времени, необходимого для создания в результате бета-распада материнских ядер достаточной инверсии заселенности рабочего метастабильного уровня дочерних ядер. Затем включают источник 4 радиочастотных сигналов. Подавая с источника 4 в полосковые полеобразующие системы 3 через симметрирующее устройство 5 противофазные радиоимпульсы, инжектируют импульсы поперечного магнитного возбуждения в материал активной среды 7 в следующей последовательности: - подают π/2-импульс поперечного магнитного поля H1x малой амплитуды, удовлетворяющий условиям где tи - длительность импульса; где - после окончания действия π/2-импульса поперечного возбуждения следует четверть-период фазовой релаксации Δt1=π/4Δω, во время которого система секторно локализованных (условно в плоскости xy) магнитных моментов, соответствующих верхним и нижним исходным подуровням энергии и вращающихся теперь в плоскостях, компланарных плоскости xy, из-за разницы в частотах прецессий (ω0-Δω)←ω0→(ω0+Δω) начнет разбегаться, стремясь равномерно заполнить всю плоскость вращения xy, причем веерообразное разбегание моментов из первой условной полуплоскости, ограниченной осью x, во вторую и наоборот будет происходить как по часовой, так и против часовой стрелки; - по истечении интервала времени Δt1 с момента начала фазовой релаксации подают π-импульс поперечного магнитного поля H1x малой амплитуды, зеркально обращающий магнитные моменты, находящиеся в противоположных полуплоскостях, ограниченных осью x, плоскости xy относительно плоскости xz; - после окончания действия π-импульса поперечного возбуждения следует интервал времени Δt2=π/2Δω, равный полупериоду фазовой релаксации, во время которого магнитные моменты ядер, продолжая свое круговое движение вокруг оси z, теперь, однако, после обращения вокруг оси x поменяют направление своего вращения на противоположенное и, разделившись за время Δt1 на две условные секторные половины, будут двигаться в своих условных полуплоскостях, ограниченных осью x навстречу друг другу, постепенно собираясь вокруг тех магнитных моментов, которые направлены в одной из этих полуплоскостей по оси y, а в другой по оси –y, и обладающих круговой частотой вращения - по истечении интервала времени Δt2 в момент достижения максимума результирующими магнитными моментами подсистем My и -My подают короткий импульс поперечного магнитного поля H1x большой амплитуды, который, быстро поворачивая результирующие векторы магнитных моментов ядер My и -My вокруг оси x, создает в области малых значений возникающего при этом повороте магнитного момента Mz значительную величину производной dMz/dt, стимулируя (благодаря своей величине) гамма-излучение рабочего перехода в условиях минимальной отдачи ядер, т.е. в режиме излучения из резонансной плоскости xy гамма-квантов в очень узкой спектральной полосе; - на выходе устройства в процессе действия мощного короткого стимулирующего импульса x-возбуждения за один проход формируется ультракороткий гамма-импульс с узкой диаграммой излучения, обусловленной аксиальной геометрией системы и соосностью образца материала активной среды 7 и соленоида 1. Согласующие нагрузки 8 поглощают оставшуюся после прохождения вдоль зоны расположения материала активной среды 7 энергию радиоимпульсов поперечного магнитного возбуждения. Заглушка 9 перехватывает не отвечающее заданной диаграмме гамма-излучение, направленное в противоположенную выходу устройства сторону. Количественные характеристики предлагаемого гамма-лазера можно оценить следующим образом. При резонансном наборе мощности излучения в однопроходном канале усиления, чтобы гарантировать в выходном сечении устройства импульс гамма-излучения с энергией, близкой к энергии всех потенциально резонансных переходов где J и JL - выходная и удельная на единицу длины канала усиления интенсивности излучения, соответственно; NL - удельное число микрочастиц на единицу длины канала усиления, потенциально принимающих участие в усилении интенсивности исходного излучения; L - общая длина канала усиления в относительных единицах. Из теории усиления спонтанного излучения известно [8], что аналитическое выражение отношения интенсивностей J/JL, справедливое для любой формы линий излучения с узким профилем, включая доплеровский, имеет вид где G - пиковый удельный коэффициент усиления, соответствующий центру спектральной линии; L - общая длина канала усиления, равная той части длины цилиндрического образца 6, которая заполнена материалом активной среды 7. Из [9] следует, что пиковый удельный коэффициент усиления примерно равен где σstim - сечение вынужденного перехода. Сечение вынужденного перехода или иначе сечение вынужденного излучения определяется через вероятность спонтанного излучения Y(γ) по формуле [9] где λγ - длина волны, на которой излучает переход; Δλγ - спектральное уширение ("размытие") несущей длины волны, вызванное взаимодействием микрочастиц. Производя конкретную количественную оценку усиления гамма-лазера и вычисляя для этого значения физических величин, например, соответствующих γ-переходу γ6 дочерних ядер таллия где c, h - скорость света в свободном пространстве и постоянная Планка, соответственно; относительное уширение несущей γ6 где где μT1=1,58⋅μB=7,9⋅10-24 эрг/Гс - магнитный момент ядер μB - ядерный магнетон Бора, и, подставляя значения из (8), (9), (10) в (7), получаем После чего с учетом соотношения (6) пиковый удельный коэффициент усиления в канале с поперечным сечением 1 см2 в первом приближении составит где fD - коэффициент Дебая-Уоллера, учитывающий количество ядер, передающих свою энергию с уровня E1(γ6) резонансно; kсе - коэффициент внутренней электронной конверсии уровня E1; Полагая теперь, например, L=10 см, из (5) находим из чего следует, что для использованных исходных данных, несмотря на приближенный характер оценки Здесь, вместе с тем, необходимо понимать следующее. Хотя в резонансной среде классический механизм ослабления потока резонансных γ-квантов не работает, и ослабление потока интересующих нас γ-квантов с энергией Повысить коэффициент усиления можно, увеличив сечение вынужденного излучения посредством уменьшения доплеровского уширения D, которое, в конечном счете, может быть снижено благодаря уменьшению энергии отдачи ядра Средняя энергия отдачи ядра которое, в свою очередь, приводит к зависимости от частоты коэффициента усиления G в виде где ωхар=(SαNc/πg(0))1/2 - характерная частота поперечного магнитного возбуждения системы ядерных спинов, выражаемая через указанные физические величины и параметры [16]. Если воспользоваться значениями S, αN и g(0), фигурировавшими при оценке скорости Поскольку верхняя граничная частота ωв в спектре радиоимпульса возбуждения всегда лежит вблизи частоты продольной прецессии ωв≈ω0=ϒH0 и несоизмеримо превышает Тогда, стремясь получить необходимое высокое усиление с ослаблением его зависимости от частоты, потребуем заведомого выполнения условия (4), назначив, например, и, учитывая, что eGL>>1, запишем для второго приближения G2 безразмерное равенство, следующее из (30) при безразмерных G2 и L Откуда при L=10 требуемое значение Если, кроме этого, принять во внимание, что в предлагаемом однопроходном гамма-лазере продольная скорость vpz поперечного возбуждения материала активной среды является по существу скоростью распространения радиоимпульса поперечного возбуждения в полосковой системе 3 и тем самым принудительно стремится к скорости света в свободном пространстве, то средняя энергия отдачи ядра в этом случае минимальна и примерно равна Это позволяет уменьшить значение рабочей напряженности радиоимпульса поперечного возбуждения H1x до технически приемлемых значений. Оценим максимальную интенсивность Jmax выходного гамма-излучения канала усиления в рамках принятых значений физических параметров канала и материала активной среды на основе радионуклида подставляя численные значения, получаем с суммарной энергией за импульс длительностью Таким образом, плотность мощности выходного когерентного гамма-излучения предлагаемого однопроходного гамма-лазера по сравнению с прототипом увеличилась с 1014 Вт/см2 до 1021 Вт/см2. Литература 1. Хидетсагу Икегами. Способ и устройство для генерации лазерного гамма-излучения. Патент РФ №2127935, 20.03.1999, Бюл. №8. 2. Хидетсагу Икегами. Способ и устройство для создания лазера сверхжесткого излучения. Патент РФ №2142666, 10.12.1999. Бюл. №34. 3. Теллер Э. Рентгеновский и гамма-лазер с ядерной накачкой от внешнего источника. Ракетная и космическая техника, №16 (1121), 17.04.1981, с. 20. 4. Моторин В.Н., Фролов A.M. Способ получения направленного и когерентного гамма-излучения и устройство для его реализации. Патент РФ №2243621, 27.12.2004. Бюл. №36. 5. Шен И.Р. Принципы нелинейной оптики. М. "Наука", 1989, стр. 387. 6. Леше А. Ядерная индукция. М. ИЛ, 1963, стр. 117-118. 7. Шен И.Р. Принципы нелинейной оптики. М. "Наука", 1989, стр. 369-370. 8. Элтон Р. Рентгеновские лазеры. М. "Мир", 1994, стр. 35. 9. Элтон Р. Рентгеновские лазеры. М. "Мир", 1994, стр. 36-37. 10. Схемы распада радионуклидов. Энергия и интенсивность излучения. Часть 2, кн. 2. М. "Энергоатомиздат", 1987, стр. 107-110. 11. Мухин К.Н. Экспериментальная физика. Том 1. М. "Энергоатомиздат", 1983, стр. 248. 12. Блатт Дж., Вайскоиф В. Теоретическая ядерная физика. М. ИЛ, 1954, стр. 465. 13. Физические величины. Справочник. М. "Энергоатомиздат", 1991, стр. 1051. 14. Киттель Ч. Введение в физику твердого тела. М. "Наука", 1978, стр. 55. 15. Кимель Л.Р., Машкович В.П. Защита от ионизирующих излучений. М. "Атомиздат", 1966, стр. 77. 16. Шен И.Р. Принципы нелинейной оптики. М. "Наука", 1989, стр. 386.




- величина неоднородного уширения спектра прецессирующих дочерних ядер; ϒ - ядерное гиромагнитное отношение;
- средняя круговая частота процессии дочерних ядер в сильном не идеально однородном магнитном поле H0, с частотой заполнения ω0, равной средней частоте прецессии
дочерних ядер; при этом магнитные моменты дочерних ядер верхних и нижних подуровней рабочего уровня энергии к концу действия этого импульса окажутся в плоскостях, компланарных поперечной плоскости xy, прецессируя вокруг продольной оси z; причем в то время, когда магнитные моменты ядер находятся в плоскости xy, ядра имеют минимальную энергетическую связь с продольным силовым магнитным полем H0, направленным по оси z, и их магнитное квантовое число m равно нулю;
; при этом два результирующих момента My и -My будут расти, стремясь к своим максимальным значениям; в максимуме результирующих моментов индивидуально сфазированные две подсистемы спинов получают возможность излучать в противоположенные стороны - каждая как самостоятельное целое, т.к. в этот момент для каждой из подсистем обеспечивается выполнение условия когерентного излучения (r=IN>>m);
, необходимо стимулировать переходы вообще всех микрочастиц в системе. Этого можно достичь, обеспечив режим условного избыточного усиления, приводящего к насыщению потока излучения на каждом элементе канала усиления общей длиной L, удовлетворив с учетом (3) неравенству


- удельная "резонансная" инверсная заселенность соответствующего уровня энергии;
, являющихся следствием β+-распада материнского радионуклида свинца
[10], имеем длину волны энергетической несущей γ6
- энергия перехода γ6 ядер таллия
,
- доплеровское уширение при нормальной температуре в соответствии с [11], принимаемое в качестве максимально возможного уширения, вызванного взаимодействием ядер
, вероятность перехода γ6 на основании формул Вайскопфа [12] для магнитного характера излучателя
- приведенная постоянная Планка;
[13],
,
- удельная резонансная инверсная заселенность рабочего инверсного уровня E1 дочерних ядер таллия
с учетом его опережающего заселения;
- количество дочерних ядер таллия
, находящихся на инверсном уровне E1 к моменту времени t=τβ(E1) [10], равному постоянной времени β-распада материнских ядер на уровень E1 дочерних ядер с учетом метастабильности уровня E1, приобретаемой в сильном однородном продольном магнитном поле H0;
[14] - концентрация атомов материнского свинца
.
,
, полученный результат позволяет рассчитывать на точное соблюдение неравенства (5) на следующей целевой итерации.
с известным в пассивной среде свинца линейным коэффициентом, равным 2,5 см-1 [15], в материале активной среды не происходит, все же существует некоторая вероятность выбывания резонансных γ-квантов из потока не резонансным способом. Поэтому поднять условный потолок коэффициента усиления до более высокого уровня было бы желательно.
и (или) температуры окружающей среды T. Понижение температуры окружающей среды является известной общетехнической возможностью обеспечить приемлемую работоспособность устройств мессбауэрского типа, поэтому в рассматриваемом случае необходимо приоритетно использовать первую возможность, относящуюся к специфике предлагаемого устройства.
через выражение для продольной скорости распространения поперечного радиоимпульса возбуждения vpz в материале активной среды [16] связана дисперсионным соотношением с частотой ω в спектре этого радиоимпульса длительностью τи

в [16], то для ωхар имеем
, зависимость G от частоты в этой части спектра отсутствует. Вместе с тем, эта зависимость на частотах нижней части спектра вблизи ωн≈ϒH1<<ωхар практически линейна.

равно 0,8. При этом амплитуда радиоимпульса поперечного магнитного поля возбуждения материала активной среды H1max, заведомо обеспечивающая этот коэффициент усиления и заметно ослабляющая его частотную зависимость, равна

. Для этого будем считать, что первый (инициирующий) единичный элемент канала усиления длиной 1 см осуществляет эмиссию γ-излучения спонтанно и квазиизотропно. Тогда в контексте изложенного выше получим [5]


