патент
№ RU 2700726
МПК G01K17/06

Датчик теплового потока

Авторы:
Проказин Федор Евгеньевич
Номер заявки
2019103916
Дата подачи заявки
12.02.2019
Опубликовано
19.09.2019
Страна
RU
Как управлять
интеллектуальной собственностью
Чертежи 
1
Реферат

Изобретение относится к технике измерения тепловых потоков и может быть использовано для длительного измерения локальных тепловых потоков с высокой мощностью и широким динамическим диапазоном, которые воздействуют на конструктивные элементы при проведении газодинамических испытаний. Заявлен датчик теплового потока, содержащий тепловоспринимающий элемент с двумя термопарами, к которому приварена переходная втулка, которая приварена к стальному корпусу, внутри которого на резьбовом соединении установлена стальная трубка, одним концом направленная к внутренней стороне тепловоспринимающего элемента, а другой стороной приваренная к первому концу металлической трубки подводящего канала охлаждения, которая вторым концом запрессована в корпус и имеет отверстие, соединенное с продолжением подводящего канала охлаждения в корпусе и установленным на резьбе в подводящий канал охлаждения корпуса первым штуцером подведения охлаждающей жидкости, для отвода которой предназначен второй штуцер, установленный на резьбе в отводящий канал охлаждения в корпусе. Термопары подсоединены через гермовыводы, установленные в переходной втулке, к электрическим проводникам, проходящим далее в корпусе и подсоединяемым к выходному электрическому разъему. Тепловоспринимающий элемент выполнен в виде тонкостенного жаропрочного колпачка с установленным внутри него керамическим вкладышем из материала с ортогонально анизотропной теплопроводностью, причем коэффициент теплопроводности вдоль продольной оси датчика существенно меньше коэффициента теплопроводности в поперечном направлении к ней, а термопары выполнены в жаростойком исполнении. Технический результат – обеспечение повышенных характеристик динамического диапазона (до 20 МВт/м) и уменьшение погрешности датчика до 3% при измерении локальных тепловых потоков высокой мощности в течение длительного времени при газодинамических испытаниях различных конструкций. 1 ил.

Формула изобретения

Датчик теплового потока, содержащий тепловоспринимающий элемент с двумя термопарами, к которому приварена переходная втулка, которая приварена к стальному корпусу, внутри которого на резьбовом соединении установлена стальная трубка, одним концом направленная к внутренней стороне тепловоспринимающего элемента, а другой стороной приваренная к первому концу металлической трубки подводящего канала охлаждения, которая вторым концом запрессована в корпус и имеет отверстие, соединенное с продолжением подводящего канала охлаждения в корпусе и установленным на резьбе в подводящий канал охлаждения корпуса первым штуцером подведения охлаждающей жидкости, для отвода которой предназначен второй штуцер, установленный на резьбе в отводящий канал охлаждения в корпусе, причем термопары подсоединены через гермовыводы, установленные в переходной втулке, к электрическим проводникам, проходящим далее в корпусе и подсоединяемым к выходному электрическому разъему, отличающийся тем, что тепловоспринимающий элемент выполнен в виде тонкостенного жаропрочного колпачка с установленным внутри него вкладышем из материала с ортогонально анизотропной теплопроводностью, причем коэффициент теплопроводности вдоль продольной оси датчика существенно меньше коэффициента теплопроводности в поперечном направлении к ней, а термопары выполнены в жаростойком исполнении.

Описание

[1]

Изобретение относится к технике измерения тепловых потоков и может быть использовано для длительного измерения локальных тепловых потоков с высокой мощностью и широким динамическим диапазоном, которые воздействуют на конструктивные элементы при проведении газодинамических испытаний.

[2]

Известен датчик теплового потока, содержащий термостабилизированный константановый элемент, выполненный в виде металлической пластины с изолированной боковой поверхностью, размещенный между поверхностным слоем и цилиндром, и дополнительный электрод, размещенный аксиально в цилиндре и электрически изолированный от него, контактирующий с термостабилизированным элементом и образующий в паре с первым электродом дифференциальную термопару со спаями в фиксированных точках на противоположных поверхностях термостабилизированного элемента, причем термоэлектрический коэффициент материала, из которого выполнены цилиндр, поверхностный слой и электроды, отличен от термоэлектрического коэффициента материала термостабилизированного элемента [Авторское свидетельство СССР №892232. Кл. G01 17/08, опубл. 23.12.81 г. Бюл. №47].

[3]

Однако известное устройство имеет ограниченную температуру эксплуатации, время применения и невысокое быстродействие, т.к. не имеет принудительного охлаждении тепловоспринимающего элемента со стороны, противоположной воздействию теплового потока.

[4]

Известен также датчик теплового потока, содержащий холодильник, выполненный из материала с высокой теплопроводностью, тепловоспринимающую пластину из материала с очень низким коэффициентом теплопроводности и расположенный между ними электроизоляционный слой. На противоположных гранях тепловоспринимающей пластины установлен ряд дифференциальных микротермопар [Авторское свидетельство СССР №705281, кл. G01K 17/08,1979].

[5]

Недостатками такого датчика являются большая инерционность при измерении нестационарных тепловых потоков из-за большой инерционности тепловоспринимающего слоя, значительная погрешность в измерении локального стационарного теплового потока, который в действительности квазистационарный как во времени, так и в пространстве. При неоднородности плотности теплового потока и большой площади датчика из-за большого термического сопротивления тепловоспринимающего слоя перепад температур на нем будет соответствовать некому фиктивному тепловому потоку, причем погрешность в измерении перепада температур увеличивается за счет перетока тепла по проводам термопары от спая, расположенного на наружной поверхности пластины, к спаю на внутренней ее стороне. Также датчик является непригодным для измерения в средах с повышенной температурой из-за низкой жаростойкости тепловоспринимающей пластины и для измерения больших тепловых потоков, например 105-106 Вт/м2 из-за ограниченных возможностей охлаждения.

[6]

Технический результат - расширение динамического диапазона измерений локальных тепловых потоков с высокой мощностью, а также увеличение ресурса работы датчика.

[7]

Указанный технический результат достигается тем, что в датчике теплового потока, содержащем тепловоспринимающий элемент с двумя термопарами, к которому приварена переходная втулка, которая приварена к стальному корпусу, внутри которого на резьбовом соединении установлена стальная трубка, одним концом направленная к внутренней стороне тепловоспринимающего элемента, а другой стороной приваренная к первому концу металлической трубки подводящего канала охлаждения, которая вторым концом запрессована в корпус и имеет отверстие, соединенное с продолжением подводящего канала охлаждения в корпусе и установленным на резьбе в подводящий канал охлаждения корпуса первым штуцером подведения охлаждающей жидкости, для отвода которой предназначен второй штуцер, установленный на резьбе в отводящий канал охлаждения в корпусе, причем термопары подсоединены через гермовыводы, установленные в переходной втулке, к электрическим проводникам, проходящим далее в корпусе и подсоединяемым к выходному электрическому разъему, введены тепловоспринимающий элемент в виде тонкостенного жаропрочного колпачка с установленным внутри него керамическим вкладышем из материала с ортогонально анизотропной теплопроводностью, причем коэффициент теплопроводности вдоль продольной оси датчика существенно меньше коэффициента теплопроводности в поперечном направлении к ней, а термопары выполнены в жаростойком исполнении.

[8]

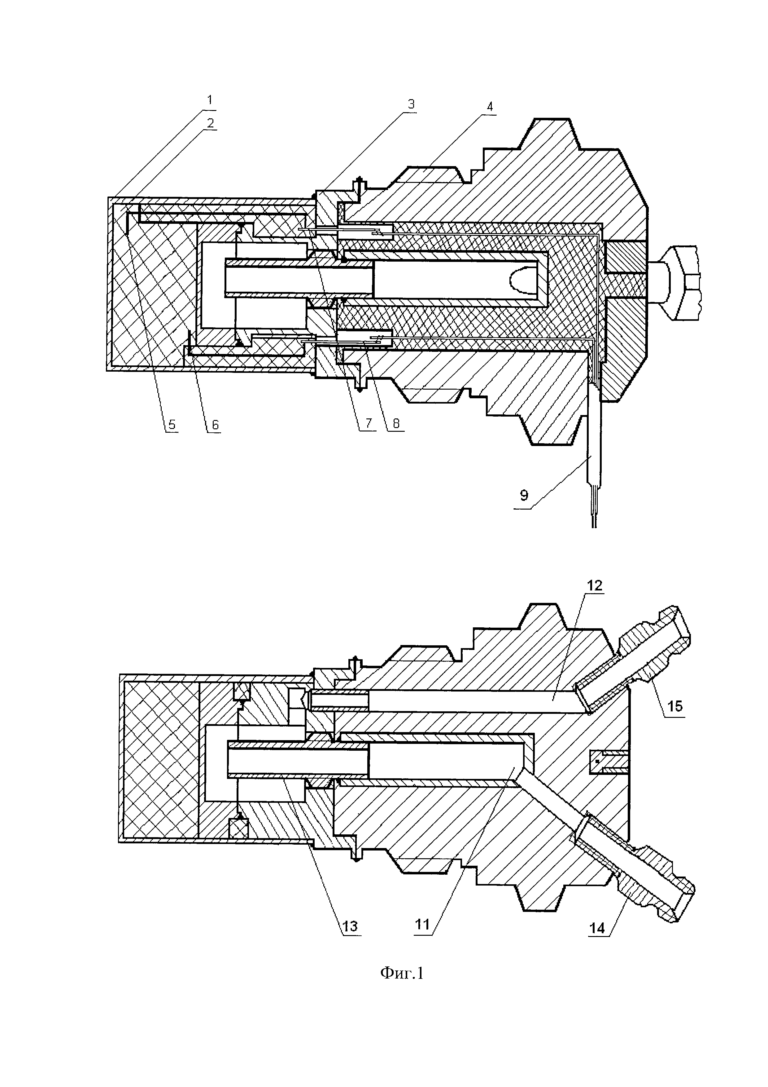
На фиг. 1 показано устройство датчика теплового потока.

[9]

Колпачок тепловоспринимающего элемента 1 изготовлен из тугоплавкого материала, например молибдена. Тепловоспринимающий элемент 2 изготовлен из материала с ортогонально ортотропной теплопроводностью, причем коэффициент теплопроводности вдоль продольной оси датчика существенно меньше коэффициента теплопроводности в поперечном направлении. В качестве такого материала могут быть взяты как природные материалы, так и специально изготовленные материалы (монокристалл висмута высокой чистоты, слоистые композитные конструкции: никель+сталь 12Х18Н10Т, титан-молибден и др.).

[10]

На расстоянии 1 и 3 мм от торца тепловоспринимающего элемента 2 закреплены электрически изолированные по своей длине от тепловоспринимающего элемента платинородиевые термоэлектроды 5 и 6, которые уложены в пазы тепловоспринимающего элемента, залитые затем алюмосиликатным цементом. На конце термоэлектроды электрически соединены с проводящим материалом тепловоспринимающего элемента. В результате образуется дифференциальная термопара, измеряющая перепад температуры по тепловоспринимающему элементу.

[11]

Колпачок тепловоспринимающего элемента 1 со стороны, противоположной тепловоспринимающей поверхности, приварен к переходной втулке 3, изготовленной из сплава 47 НД-ВИ. Переходная втулка 3 по периферии приварена к стальному корпусу 4.

[12]

В переходной втулке 3 размещены два гермовывода 7 и 8 из термостойкого стекла, через которые термоэлектроды 5 и 6 соединяются с проводами кабеля 9. Кабель 9 изготовлен в жаростойком исполнении.

[13]

Для охлаждения тепловоспринимающего элемента в процессе измерения теплового потока в корпусе выполнены два канала: для подвода 11 и отвода 12 воды. Расход воды должен составлять от 15 до 25 л/мин.

[14]

С центральным каналом 11 состыкована металлическая трубка 13 подводящего канала, укрепленная в переходной втулке 3 и служащая для подвода воды непосредственно к поверхности тепловоспринимающего элемента, которая является обратной по отношению к воздействию теплового потока. Со стороны кабельной части датчика в каналах охлаждения укреплены ввертные штуцеры: первый 14 - для подведения и второй 15 - для отведения охлаждающей жидкости.

[15]

Кабель 9 состоит из двух платинородиевых проводов с надетыми на них фторопластовыми трубками, которые помещены в медную экранирующую оплетку. На оплетку надета трубка из кремнийорганической резины. Кабель оканчивается разъемом.

[16]

Конструкция датчика обеспечивает герметичность.

[17]

Установка датчика на объект измерения производится в штуцер с помощью резьбы, нанесенной на корпусе 4 датчика.

[18]

Измеряемый тепловой поток через торцевую часть колпачка 1 поступает в тепловоспринимающий элемент 2. При этом по толщине тепловоспринимающего элемента возникает перепад температуры, который измеряется дифференциальной термопарой, образованной термоэлектродами 5 и 6.

[19]

Выходной сигнал дифференциальной термопары пропорционален плотности измеряемого суммарного теплового потока.

[20]

Такое конструктивное исполнение датчика теплового потока обеспечивает проведение длительного измерения локальных тепловых потоков с высокой мощностью и широким динамическим диапазоном при газодинамических испытаниях различных конструкций, т.к. позволяет:

[21]

- уменьшить диаметр тепловоспринимающего элемента при сохранении высокой чувствительности (когда датчик вдоль продольной оси - в направлении расположения термоэлектродов дифференциальной термопары имеет низкий коэффициент теплопроводности и, соответственно, высокую чувствительность);

[22]

- увеличить ресурс работы датчика путем снижения в нем тепловых нагрузок за счет охлаждения теплочувствительного элемента стоком тепла на элементы внешней конструкции (когда тепловоспринимающий элемент в поперечном направлении имеет высокий коэффициент теплопроводности), а также подведением охлаждающей жидкости к обратной стороне тепловоспринимающего элемента).

[23]

Проведенные испытания показали повышенные характеристики динамического диапазона (до 20 МВт/м2) и уменьшение погрешности датчика до 3% при измерении локальных тепловых потоков высокой мощности в течение длительного времени при газодинамических испытаниях различных конструкций.

Как компенсировать расходы
на инновационную разработку
Похожие патенты