патент
№ RU 2618476
МПК G01N21/00

СПОСОБ ИЗМЕРЕНИЯ ОПТИЧЕСКОЙ ПЛОТНОСТИ СРЕДЫ

Авторы:
Саутин Игорь Георгиевич
Номер заявки
2016105588
Дата подачи заявки
18.02.2016
Опубликовано
03.05.2017
Страна
RU
Как управлять
интеллектуальной собственностью
Чертежи 
2
Реферат

Изобретение относится к устройствам измерения оптической плотности газовой среды. Способ включает наличие нескольких, связанных с опорным каналом, измерительных каналов, расположенных в пространстве на равном расстоянии от общего центра, выделение амплитуд разностных между измерительными каналами сигналов, сравнение максимальной из таких амплитуд со значением сигнала в опорном канале и при превышении порога по результатам сравнения формирование результатов измерения оптической плотности среды для установления факта наличия дыма. Технический результат заключается в существенном повышении скорости обнаружения пожара на ранних стадиях его возникновения. 2 з.п. ф-лы, 2 ил.

Формула изобретения

1. Способ измерения оптической плотности среды, включающий наличие нескольких измерительных каналов, связанных с опорным каналом, при этом измерительные каналы расположены в пространстве на равном расстоянии от общего центра, выделение амплитуд разностных между измерительными каналами сигналов, сравнение максимальной из таких амплитуд со значением сигнала в опорном канале и при превышении порога по результатам сравнения формирование результатов измерения оптической плотности среды для установления факта наличия дыма.

2. Способ по п. 1, в котором каналы состоят из светоизлучающего элемента и фотоприемника, помещенных в закрытые диафрагмы.

3. Способ по п. 1, в котором измерительные каналы расположены по окружности, например, под углом 120° друг к другу.

Описание

[1]

Изобретение относится к приборостроению, а именно к устройствам измерения оптической плотности газовой среды. Более конкретно, изобретение относится к системам пожарной сигнализации и может быть использовано в дымовых и комбинированных аналоговых пожарных извещателях или в других устройствах, где требуется измерение плотности оптической среды.

[2]

Из уровня техники известны различные конструкции оптико-электронных точечных датчиков измерения оптической плотности среды, использующих эффект рассеивания (отражения) света на частичках дыма в затемненной оптической камере (см., в частности, патенты РФ №2509369, США №3,914,616, заявку США №2008/0191888) или эффект поглощения света этими частицами (см., например, патент РФ №156011). К недостаткам таких датчиков следует отнести отсутствие возможности раннего обнаружения развития пожарной ситуации или фактов курения в помещениях из-за сравнительно низкой чувствительности к дыму и высокого уровня ложных срабатываний.

[3]

Задача, решаемая при разработке заявленного изобретения, состоит в использовании анализа изменении пространственного распределения оптической плотности среды во времени, с целью установления факта наличии задымленности, основанного на физических свойствах дыма при распространении его в воздухе. Технический результат, достигнутый при решении такой задачи, состоит в обнаружении дыма при более низких концентрациях, чем это возможно в известных пожарных датчиках, и, как следствие, в существенном повышении скорости обнаружения пожара, в том числе на ранних стадиях его возникновения, и снижении количества случаев ложных срабатываний.

[4]

Для достижения поставленного результата предлагается способ измерения оптической плотности среды, включающий наличие нескольких измерительных каналов, связанных с опорным каналом, при этом измерительные каналы расположены в пространстве на равном расстоянии от общего центра, выделение амплитуд разностных между измерительными каналами сигналов, сравнение максимальной из таких амплитуд со значением сигнала в опорном канале и при превышении порога по результатам сравнения формирование результатов измерения оптической плотности среды для установления факта наличия дыма.

[5]

Все каналы могут состоять из светоизлучающего элемента и фотоприемника, помещенных в закрытые диафрагмы, а измерительные каналы могут быть расположены по окружности, например, под углом 120° друг к другу.

[6]

По существу, заявленный способ основан на выявлении различий во временном изменении пространственного распределения оптической плотности сред с дымом и без него и использовании этого фактора при верификации результатов измерения.

[7]

Идеология заявленного способа основана на учете физических свойств дыма, распространяющегося в восходящих потоках воздуха, и происходящих при этом завихрениях струек дыма (клублении). Установление факта наличия дыма таким способом позволяет обнаруживать пожар на его ранних стадиях развития (при концентрациях задымленности порядка 0,001 дБ/м).

[8]

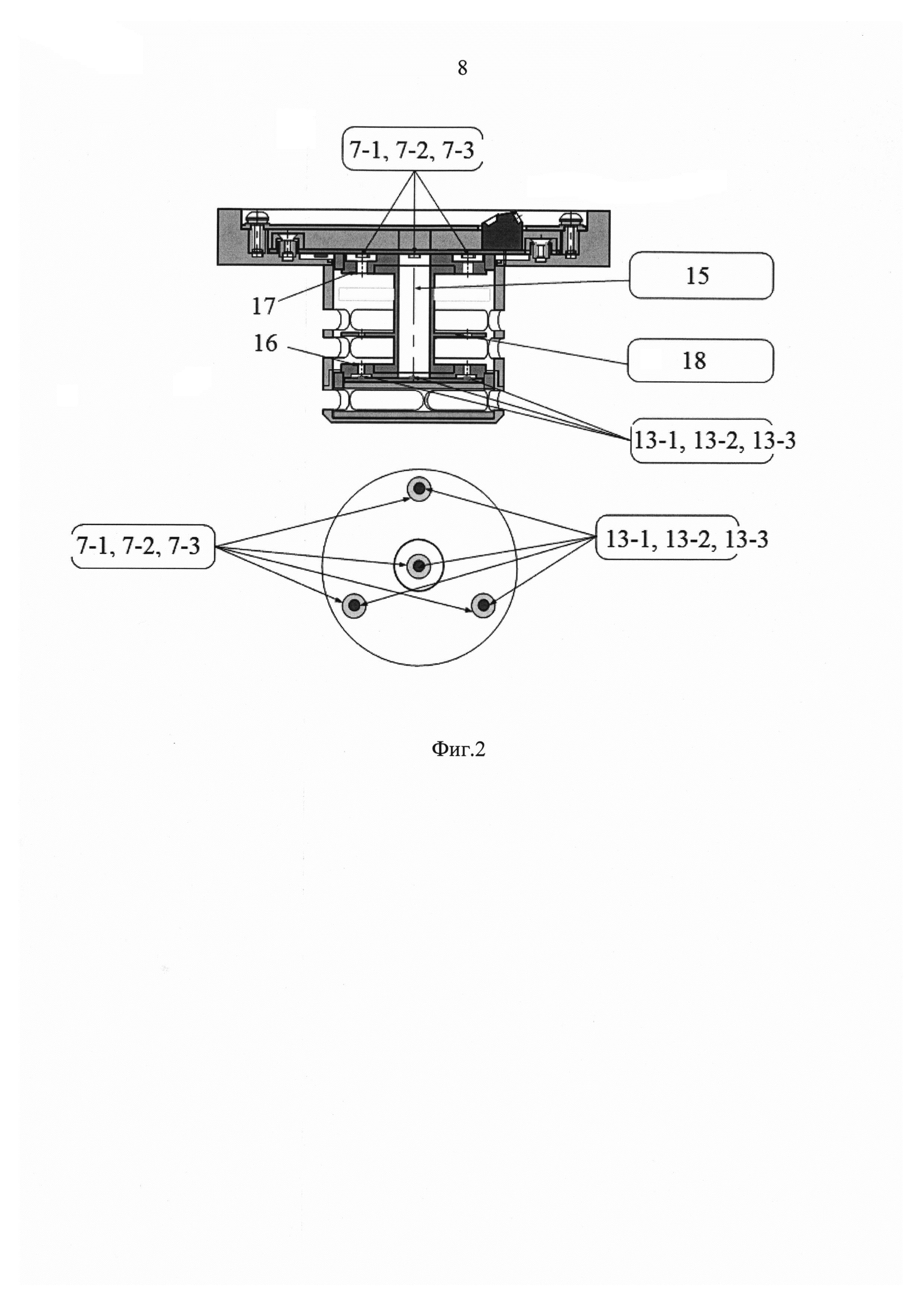
Принцип реализации заявленного способа поясняется на основании условной схемы точечного оптико-электронного дымового датчика (фиг. 1) и общего вида такого датчика в разрезе (фиг. 2).

[9]

Нижеследующее подробное описание содержит обоснование возможности достижения поставленного результата, при этом такой пример ни в коей мере не ограничивает объем притязаний, определенный формулой изобретения, а лишь иллюстрирует возможность применения заявленного способа в системах пожарной сигнализации.

[10]

Датчик состоит из микроконтроллера 1, первый выход которого подключен к первому управляющему входу генератора тока 2, а второй - к интерфейсному устройству 3, с помощью которого через шину подключения 4 осуществляется передача данных измерения на внешнее устройство 5 и производится получение внешнего электропитания. К входу микроконтроллера 1 подключены выходы аналого-цифровых преобразователей 6-1, 6-2, 6-3, входы которых, в свою очередь, соединены с фотоприемниками измерительных каналов 7-1, 7-2, 7-3 через преобразователи ток-напряжение 8-1, 8-2, 8-3. Фотоприемник опорного канала 9 через преобразователь ток-напряжение 10 подключен к инвертирующему входу усилителя сигнала ошибки 11, к неинвертирующему входу которого подключен источник опорного напряжения 12. Выход усилителя сигнала ошибки 11 подключен ко второму управляющему входу генератора тока 2, выход которого соединен с последовательно-соединенными светоизлучающими элементами 13-1, 13-2, 13-3 измерительных каналов и 14 - опорного. Последний светоизлучающий элемент размещен в светоизолированной камере 15 совместно с фотоприемником опорного канала 9. Светоизлучающие элементы измерительных каналов 13-1, 13-2, 13-3 помещены в закрытую диафрагму 16, фотоприемники измерительных каналов 7-1, 7-2, 7-3 помещены в закрытую диафрагму 17, а между ними размещена открытая диафрагма 18.

[11]

Работа датчика осуществляется следующим способом.

[12]

Микроконтроллер приемного устройства 1 с заданной периодичностью дает разрешение на включение генератора тока 2, при этом одновременно включаются светоизлучающие элементы 13-1, 13-2, 13-3 измерительных каналов и светоизлучающий элемент 14 опорного канала. Световой поток от светоизлучающего элемента опорного канала 14 попадает на фотоприемник опорного канала 9, а генерируемый им при этом ток преобразуется в напряжение вторым преобразователем ток-напряжение 10. С его выхода напряжение, пропорциональное мощности светового потока, подается на усилитель сигнала ошибки 11, где этот сигнал сравнивается с порогом, поступающим от источника опорного напряжения 12. В зависимости от того, сигнал от фотоприемника больше или меньше опорного напряжения, усилитель сигнала ошибки 11 формирует напряжение управления на изменение генератором тока генерируемого тока на уменьшение или увеличение соответственно. Таким образом, за счет работы замкнутой петли регулирования по сигналу фотоприемника 9 происходит стабилизация уровня мощности светового потока от светоизлучающего элемента опорного канала 14, соответствующая уровню порогового напряжения на входе усилителя сигнала ошибки 10.

[13]

Так как ток, протекающий через светоизлучающие элементы измерительных каналов 13-1, 13-2, 13-3, равен току, протекающему через светоизлучающий элемент опорного канала 14, за счет их последовательного соединения, то приведенная к выходу фотоприемника мощность излучения в измерительных каналах также стабилизируется.

[14]

Полученные стабильные по мощности излучения в измерительном канале световые потоки, проходя через систему диафрагм 16, 17, 18, где происходит их фильтрация от отраженных лучей, попадают на фотоприемники измерительных каналов 7-1, 7-2, 7-3, с выходов которых сгенерированные фототоки преобразуются в напряжение в преобразователях ток-напряжение 8-1, 8-2, 8-3. Далее сигналы подвергаются оцифровке в аналого-цифровых преобразователях 6-1, 6-2, 6-3 и поступают в микроконтроллер 1 для математической обработки. Плотность оптической среды оценивается математически по величине относительного уменьшения уровня мощности светового потока.

[15]

Оптическая плотность среды ρ, дБ/м, при этом определяется как среднее значение результатов измерения в трех измерительных каналах и рассчитывается по формуле:

[16]

ρ=10/l⋅(log(U01/U1)+log(U02/U2)+log(U03/U3))/3, где:

[17]

l - оптическая длина измерительных каналов, м;

[18]

U01, U02, U03 - напряжения, пропорциональные потокам излучения при отсутствии дыма в первом, втором и третьем измерительном каналах соответственно, B;

[19]

U1, U2, U4 - напряжения, пропорциональные потокам излучения в задымленной среде в первом, втором и третьем измерительном каналах соответственно, B.

[20]

Для формирования сигнала о наличии задымленности формируется сигнал, характеризующий свойства дыма в его пространственной неоднородности (например, проявляющихся при клублении дыма в процессе его переноса в пространстве в восходящих протоках нагретого воздуха), как максимальное значение разностных сигналов между каналами

[21]

UP=MAX(|U1-U2|, |U1-U3|, |U2-U3|).

[22]

В отсутствие возгорания величина UP близка к нулю, но при возникновении горения, когда оптическая плотность среды намного меньше порога обнаружения пожара, величина UP быстро растет, и при превышении некоторого порога формируется сигнал предупреждения о начале пожара и дается разрешение на выдачу результатов измерения.

[23]

Результаты измерения и сигнал предупреждения через интерфейсное устройство 3 через шину подключения 4 передаются на внешнее устройство 5.

[24]

Подытоживая, заявленный способ выявления задымленности позволяет повысить чувствительность датчика и снизить уровень ложных срабатываний системы обнаружения пожара.

Как компенсировать расходы
на инновационную разработку
Похожие патенты