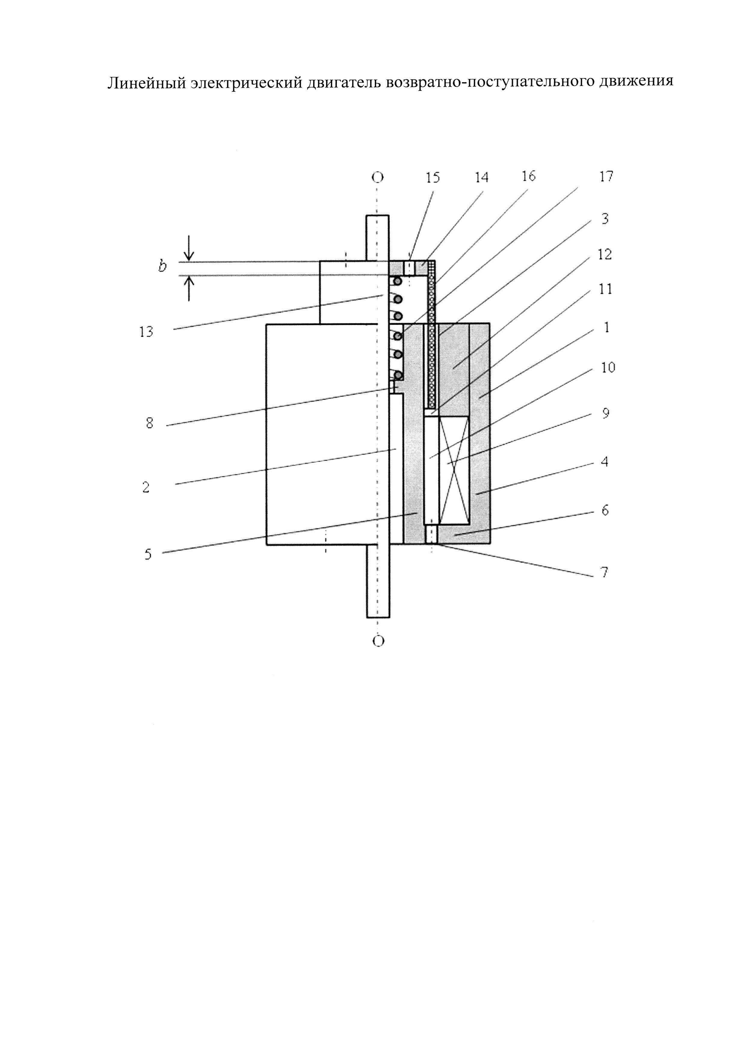
Изобретение относится к электротехнике. Технический результат состоит в снижении габаритов, повышении технологичности и надежности. Линейный электрический двигатель содержит сердечник 1 в виде цилиндра со сквозным центральным осевым отверстием 2 по продольной оси О и аксиальным кольцевым пазом 3. Внешняя часть цилиндра, ограниченная кольцевым пазом 3, является внешней стенкой 4 сердечника 1. В торцевой стенке 6 сердечника 1 на уровне внешней поверхности внутренней стенки 5 выполнены шесть сквозных вентиляционных отверстий 7, равномерно распределенных по окружности с диаметром от 10% до 12% величины радиального размера кольцевого паза 3. На внутренней поверхности внутренней стенки 5 выполнен опорный фланец 8 в виде выступа в пространство центрального осевого отверстия 2. В кольцевом пазу 3 вплотную к внешней 4 и торцевой 6 стенкам расположена обмотка возбуждения 9. Со стороны внутренней стенки 5 вдоль всей внутренней поверхности обмотки возбуждения 9 выполнен вентиляционный зазор 10. В кольцевой паз 3 вплотную к внешней стенке 4 и обмотке возбуждения 9 и с рабочим зазором 11 относительно внутренней стенки 5 установлена крышка сердечника 12, выполненная в виде кольца, так, что обмотка возбуждения 9 зафиксирована ею. На продольной оси О внутри центрального осевого отверстия 2 установлен вал 13, на внешнем конце которого со стороны крышки сердечника 12 установлена крепежная арматура 14 в виде диска со сквозными технологическими отверстиями 15, расположенными по среднему радиусу диска. В рабочем зазоре 11 расположена обмотка подвижной части 16, зафиксированная на валу 13 крепежной арматурой 14 со стороны наружного торца. По продольной оси О со стороны крышки между опорным фланцем 8 и крепежной арматурой 14 установлена возвратная пружина 17, закрепленная на них. 1 ил.
Линейный электрический двигатель возвратно-поступательного движения, содержащий сердечник с расположенной в нем обмоткой возбуждения, выполненной в виде катушки из электрического провода, и зафиксированной крышкой сердечника, которая выполнена в виде кольца с образованием у его внутренней поверхности рабочего зазора относительно сердечника, вал, установленный на продольной оси O сердечника, на внешнем конце которого со стороны крышки сердечника установлена крепежная арматура со сквозными технологическими отверстиями, обмотку подвижной части, зафиксированную на валу крепежной арматурой со стороны наружного торца, возвратную пружину, установленную по продольной оси O сердечника со стороны крышки сердечника, отличающийся тем, что сердечник выполнен в виде цилиндра со сквозным центральным осевым отверстием, расположенным на его продольной оси O, и аксиальным кольцевым пазом, при этом внешняя часть цилиндра, ограниченная кольцевым пазом, является внешней стенкой сердечника, внутренняя часть цилиндра между кольцевым пазом и центральным осевым отверстием является внутренней стенкой сердечника, а торцевая часть цилиндра, расположенная под кольцевым пазом, является торцевой стенкой сердечника, при этом в торцевой стенке сердечника на уровне внешней поверхности внутренней стенки сердечника выполнены шесть сквозных вентиляционных отверстий, равномерно распределенных по окружности, причем их диаметр составляет от 10% до 12% величины радиального размера кольцевого паза, на внутренней поверхности внутренней стенки сердечника выполнен опорный фланец в виде выступа в пространство центрального осевого отверстия, обмотка возбуждения расположена в кольцевом пазу сердечника вплотную к его внешней и торцевой стенкам, при этом со стороны внутренней стенки сердечника вдоль всей внутренней поверхности обмотки возбуждения выполнен вентиляционный зазор шириной от 10% до 15% величины радиального размера кольцевого паза, крышка сердечника установлена в кольцевой паз сердечника вплотную к его внешней стенке и обмотке возбуждения так, что внутренняя поверхность крышки сердечника расположена с рабочим зазором относительно внутренней стенки сердечника, при этом ширина рабочего зазора составляет от 50% до 100% ширины вентиляционного зазора, вал установлен внутри центрального осевого отверстия сердечника, крепежная арматура выполнена в виде диска, толщина b
Изобретение относится к электротехнике, в частности к линейным двигателям, и может использоваться в качестве привода в устройствах возвратно-поступательного движения, преимущественно в насосах, моечных и просеивающих машинах. Известен электродинамический возбудитель линейных колебаний (а.с. SU №250273, МПК Н02К 33/18, опубл. 14.01.1970), содержащий внешний и внутренний магнитопроводы, катушку подмагничивания, упругие элементы подвески подвижной системы, секции подвижной обмотки, в котором возвратно-поступательное движение подвижной системы обеспечивается питанием секций подвижной обмотки от источника переменного тока. Недостатком настоящего технического решения являются высокие габариты, обусловленные реализуемым конструкцией экстенсивным отводом тепла от катушки подмагничивания. Известен также линейный электромагнитный актуатор (патент GB №1322677, МПК Н02К 33/00, опубл. 11.07.1973), содержащий неподвижный внешний магнитопровод с обмоткой возбуждения и подвижный внутренний магнитопровод с катушками подвижной части, в котором возвратно-поступательное движение подвижной части обеспечивается поочередным питанием катушек подвижной части импульсами постоянного тока. Недостатком настоящего технического решения являются высокие габариты, обусловленные реализуемым конструкцией экстенсивным отводом тепла от обмотки возбуждения. Наиболее близким по технической сущности к предлагаемому техническому решению является электрический двигатель возвратно-поступательного движения (а.с. SU №1200364, МПК Н02К 33/02, опубл. 23.12.1985), содержащий сердечник, состоящий из внешнего магнитопровода, выполненного в виде цилиндрического стакана с внешней и торцевой стенками. Торец внешнего магнитопровода со стороны торцевой стенки является закрытым, а противоположный торец является открытым. В центре торцевой стенки по продольной оси внешнего магнитопровода выполнено сквозное центральное осевое отверстие. Двигатель содержит также внутренний магнитопровод, выполненный в виде цилиндра со сквозным центральным осевым отверстием. Центральное осевое отверстие внутреннего магнитопровода расположено по его продольной оси, и снабжено опорным расширением, выполненным на торце. Внутренний магнитопровод установлен на оси внешнего магнитопровода так, что его торец с опорным расширением установлен с рабочим зазором в центральное осевое отверстие внешнего магнитопровода. Двигатель содержит также обмотку возбуждения, выполненную в виде катушки из электрического провода и установленную внутри внешнего магнитопровода вплотную к внешней и торцевой стенкам внешнего магнитопровода, и с технологическим зазором относительно внутреннего магнитопровода. Двигатель содержит крепежную втулку, выполненную в виде дискообразного фланца с цилиндрическим выступом в центральной части и установленную внутри внешнего магнитопровода вплотную к обмотке возбуждения так, что фланец расположен на ее торцевой поверхности со стороны открытого торца внешнего магнитопровода, а цилиндрический выступ расположен в технологическом зазоре между обмоткой возбуждения и внутренним магнитопроводом, частично закрывая внутреннюю поверхность обмотки возбуждения. При этом цилиндрический выступ охватывает внутренний магнитопровод в его средней части и фиксирует его относительно внешнего магнитопровода. Двигатель содержит также крышку сердечника, фиксирующую обмотку возбуждения и крепежную втулку внутри внешнего магнитопровода, выполненную в форме кольца и установленную на открытый торец внешнего магнитопровода. При этом крышка сердечника установлена с рабочим зазором относительно внутреннего магнитопровода. Двигатель содержит также вал, представляющий собою стержень, установленный на оси внешнего магнитопровода и проходящий через центральное осевое отверстие внутреннего магнитопровода и крепежную арматуру, выполненную в виде двух дисков, снабженных сквозными технологическими отверстиями, расположенными по среднему радиусу каждого диска крепежной арматуры и обеспечивающими приемлемую величину аэродинамического сопротивления. При этом толщина каждого из диска крепежной арматуры выбрана исходя из половины максимальной величины электромагнитной силы электродвигателя, а сами диски крепежной арматуры установлены на внешние концы вала со стороны закрытого и открытого торцов внешнего магнитопровода. Двигатель содержит обмотку подвижной части, выполненную в виде двух катушек, размещенных в рабочих зазорах, выполненных со стороны закрытого и открытого торца внешнего магнитопровода, зафиксированных относительно вала крепежной арматурой со стороны наружных торцов и соединенных последовательно-встречно. Кроме того двигатель содержит возвратную пружину, установленную по оси внешнего магнитопровода на опорное расширение центрального осевого отверстия внутреннего магнитопровода между ним и диском крепежной арматуры, расположенным со стороны закрытого торца внешнего магнитопровода, и закрепленную относительно этих элементов конструкции. При этом сердечник и крышка сердечника выполнены из ферромагнитной стали, катушки обмотки подвижной части выполнены из электрического провода в виде цилиндрических, бескаркасных конструкций, залитых изоляцией на основе эпоксидных смол, вал выполнен из немагнитного металла, крепежная арматура и крепежная втулка выполнены из электроизоляционного немагнитного материала. Недостатками данного технического решения являются высокие габариты, обусловленные реализуемым конструкцией экстенсивным отводом тепла от обмотки возбуждения, а также низкая технологичность и низкая надежность, обусловленные разъемным сердечником с креплением внутреннего магнитопровода к внешнему магнитопроводу крепежной втулкой. Технической задачей предлагаемого технического решения является реализация в конструкции устройства единого неразъемного сердечника с обеспечением интенсивного отвода тепла от обмотки возбуждения. Технический результат заключается в снижении габаритов устройства, а также в повышении его технологичности и надежности. Это достигается тем, что известный линейный электрический двигатель возвратно-поступательного движения, содержащий сердечник с расположенной в нем обмоткой возбуждения, выполненной в виде катушки из электрического провода и зафиксированной крышкой сердечника, которая выполнена в виде кольца с образованием у его внутренней поверхности рабочего зазора относительно сердечника, вал, установленный на продольной оси О сердечника, на внешнем конце которого со стороны крышки сердечника установлена крепежная арматура со сквозными технологическими отверстиями, обмотку подвижной части, зафиксированную на валу крепежной арматурой со стороны наружного торца, возвратную пружину, установленную по продольной оси О сердечника со стороны крышки сердечника, при этом сердечник выполнен в виде цилиндра со сквозным центральным осевым отверстием, расположенным на его продольной оси О, и аксиальным кольцевым пазом, при этом внешняя часть цилиндра, ограниченная кольцевым пазом является внешней стенкой сердечника, внутренняя часть цилиндра между кольцевым пазом и центральным осевым отверстием является внутренней стенкой сердечника, а торцевая часть цилиндра, расположенная под кольцевым пазом, является торцевой стенкой сердечника, при этом в торцевой стенке сердечника на уровне внешней поверхности внутренней стенки сердечника выполнены шесть сквозных вентиляционных отверстий, равномерно распределенных по окружности, причем их диаметр составляет от 10% до 12% величины радиального размера кольцевого паза, на внутренней поверхности внутренней стенки сердечника выполнен опорный фланец в виде выступа в пространство центрального осевого отверстия, обмотка возбуждения расположена в кольцевом пазу сердечника вплотную к его внешней и торцевой стенкам, при этом со стороны внутренней стенки сердечника вдоль всей внутренней поверхности обмотки возбуждения выполнен вентиляционный зазор шириной от 10% до 15% величины радиального размера кольцевого паза, крышка сердечника установлена в кольцевой паз сердечника вплотную к его внешней стенке и обмотке возбуждения, так, что внутренняя поверхность крышки сердечника расположена с рабочим зазором относительно внутренней стенки сердечника, при этом ширина рабочего зазора составляет от 50% до 100% ширины вентиляционного зазора, вал установлен внутри центрального осевого отверстия сердечника, крепежная арматура выполнена в виде диска, толщина b которого выбрана исходя из максимальной величины электромагнитной силы электродвигателя, при этом сквозные технологические отверстия расположены по среднему радиусу диска, обмотка подвижной части расположена в рабочем зазоре и выполнена в виде катушки с четным числом слоев электрического провода, а оба ее вывода закреплены на диске крепежной арматуры, возвратная пружина расположена между опорным фланцем сердечника и крепежной арматурой и закреплена на них. Сущность изобретения поясняется чертежом, на котором представлен линейный электрический двигатель возвратно-поступательного движения. Линейный электрический двигатель возвратно-поступательного движения содержит сердечник 1, выполненный в виде цилиндра со сквозным центральным осевым отверстием 2, расположенным на его продольной оси О, и аксиальным кольцевым пазом 3. При этом внешняя часть цилиндра, ограниченная кольцевым пазом 3 является внешней стенкой 4 сердечника 1, внутренняя часть цилиндра между кольцевым пазом 3 и центральным осевым отверстием 2 является внутренней стенкой 5 сердечника 1, а торцевая часть цилиндра, расположенная под кольцевым пазом 3 является торцевой стенкой 6 сердечника 1. При этом в торцевой стенке 6 сердечника 1 на уровне внешней поверхности внутренней стенки 5 сердечника 1 выполнены шесть сквозных вентиляционных отверстий 7, равномерно распределенных по окружности, причем их диаметр составляет от 10% до 12% величины радиального размера кольцевого паза 3. На внутренней поверхности внутренней стенки 5 сердечника 1 выполнен опорный фланец 8 в виде выступа в пространство центрального осевого отверстия 2. В кольцевом пазу 3 вплотную к внешней 4 и торцевой 6 стенкам сердечника 1 расположена обмотка возбуждения 9, выполненная в виде катушки из электрического провода, при этом со стороны внутренней стенки 5 сердечника 1 вдоль всей внутренней поверхности обмотки возбуждения 9 выполнен вентиляционный зазор 10 шириной от 10% до 15% величины радиального размера кольцевого паза 3. В кольцевой паз 3 вплотную к внешней стенке 4 сердечника 1 и обмотке возбуждения 9, и с рабочим зазором 11 относительно внутренней стенки 5 сердечника 1 установлена крышка сердечника 12, выполненная в виде кольца, так, что обмотка возбуждения 9 зафиксирована ею. При этом ширина рабочего зазора 11 составляет от 50% до 100% ширины вентиляционного зазора 10. На продольной оси О сердечника 1 внутри центрального осевого отверстия 2 сердечника 1 установлен вал 13, на внешнем конце которого со стороны крышки сердечника 12 установлена крепежная арматура 14, выполненная в виде диска со сквозными технологическими отверстиями 15, расположенными по среднему радиусу диска. При этом толщина b диска крепежной арматуры 14 выбрана исходя из максимальной величины электромагнитной силы электродвигателя. В рабочем зазоре 11 расположена обмотка подвижной части 16, выполненная в виде катушки из электрического провода, и зафиксированная на валу 13 крепежной арматурой 14 со стороны наружного торца. При этом катушка выполнена с четным числом слоев электрического провода, а оба ее вывода закреплены на диске крепежной арматуры 14. По продольной оси О сердечника 1 со стороны крышки сердечника 12 между опорным фланцем 8 сердечника 1 и крепежной арматурой 14 установлена возвратная пружина 17, закрепленная на них. При этом сердечник 1 и крышка сердечника 12 выполнены из ферромагнитной стали, обмотка подвижной части 16 выполнена из электрического провода в виде цилиндрической, бескаркасной конструкции залитой изоляцией на основе эпоксидных смол, вал 13 выполнен из немагнитного металла, крепежная арматура 14 выполнена из электроизоляционного немагнитного материала. Таким образом, в заявляемом устройстве сердечник 1 выполнен как единый и неразъемный элемент конструкции. Также вентиляционными отверстиями 7 и вентиляционным зазором 10 реализована система принудительного охлаждения устройства. Кроме того, существенно снижено количество элементов конструкции и повышены ее надежность и технологичность. Линейный электрический двигатель возвратно-поступательного движения работает следующим образом. Обмотка возбуждения 9 питается от источника постоянного тока и создает во внешней 4, торцевой 6 и внутренней 5 стенках сердечника 1, в крышке сердечника 12 и в рабочем зазоре 11 постоянное магнитное поле. При подключении обмотки подвижной части 16 к источнику постоянного тока, на ее проводники со стороны постоянного магнитного поля будет действовать электромагнитная сила, которая имеет совокупную величину где n - число проводников обмотки подвижной части 16, находящихся в рабочем зазоре 11, В - индукция постоянного магнитного поля в рабочем зазоре 11, I - сила тока в проводниках обмотки подвижной части 16, d - средний диаметр витка обмотки подвижной части 16. Электромагнитная сила посредством крепежной арматуры 14 передается на вал 13 и приводимое электродвигателем устройство. В результате подвижная часть электродвигателя, включающая в себя обмотку подвижной части 16, крепежную арматуру 14 и вал 13, совершает прямой ход. В прямом ходе обмотка подвижной части 16 втягивается в рабочий зазор 11, а возвратная пружина 17 сжимается, оказывая, совместно с приводимым устройством, возрастающее тормозное действие на подвижную часть. Когда сумма сил со стороны возвратной пружины 17 и приводимого устройства уравновесит электромагнитную силу, прямой ход подвижной части завершается. При отключении обмотки подвижной части 16 от источника постоянного тока, ток в ее проводниках исчезает, а электромагнитная сила становится равной нулю. После этого совершается обратный ход подвижной части, в котором подвижная часть возвращается в исходное положение под действием возвратной пружины 17. При этом закрепление возвратной пружины 17 на опорном фланце 8 и крепежной арматуре 14 ограничивает возможные перемещения подвижной части в направлении продольной оси О сердечника 1. Далее цикл прямого и обратного хода подвижной части может быть повторен неограниченное число раз. Исполнение сердечника 1 электрического двигателя в виде единого неразъемного элемента его конструкции дает возможность с высокой точностью выполнить размеры и формы его поверхностей. В частности это относится к исполнениям центрального осевого отверстия 2, кольцевого паза 3, внешней стенки 4, торцевой стенки 6, внутренней стенки 5 и опорного фланца 8 сердечника 1. Это в свою очередь позволяет: 1) плотно установить в кольцевой паз 3 сердечника 1 обмотку возбуждения 9 и крышку сердечника 12, гарантировать их надежную фиксацию и снизить магнитодвижущую силу обмотки возбуждения 9 и ее габариты; 2) точно установить вал 13 по продольной оси О сердечника 1 и гарантировать отсутствие касаний между опорным фланцем 8 сердечника 1 и валом 13 при его движении; 3) точно выдержать параллельность граней рабочего зазора 11 и продольной оси О сердечника 1, с высокой точностью гарантировать постоянство ширины рабочего зазора 11 в вышеприведенном диапазоне; 4) точно выдержать параллельность граней вентиляционного зазора 10 и продольной оси О сердечника 1, гарантировать постоянство ширины вентиляционного зазора 10 в вышеприведенном диапазоне, гарантировать открытое состояние вентиляционных отверстий 7 со стороны вентиляционного зазора 10. При этом данные гарантии распространяются не только на процессы изготовления и сборки электрического двигателя, но и на процесс его эксплуатации. Таким образом, обеспечиваются технологичность и надежность конструкции устройства. Вышеперечисленные свойства конструкции устройства по отношению к конструкции прототипа с разъемным сердечником обеспечивают, кроме того, минимальный уровень потока рассеяния обмотки возбуждения 9. Результатом этого является повышенное значение индукции В постоянного магнитного поля в рабочем зазоре 11 и соответствующее снижение, согласно формуле (1), среднего диаметра d витка обмотки подвижной части 16, то есть снижение габаритных размеров устройства. При реализации циклов прямого и обратного хода подвижной части обмотка подвижной части 16 движется внутри рабочего зазора 11. При этом соосное расположение вала 13, сердечника 1 и граней рабочего зазора 11 позволяет обеспечить минимально допустимые промежутки между обмоткой подвижной части 16 и гранями рабочего зазора 11. Это, в свою очередь, доводит гарантированную ширину рабочего зазора 11 до минимально достаточного уровня для обеспечения перемещения обмотки подвижной части 16 без касаний о края крышки сердечника 12 и внутренней стенки 5 сердечника 1. Этому же способствует достаточная жесткость диска крепежной арматуры 14, гарантированная его толщиной b и обеспечивающая движение обмотки подвижной части 16 внутри рабочего зазора 11 без перекосов. Достигнутое в устройстве снижение гарантированной ширины рабочего зазора 11 до минимально достаточного уровня реализует дополнительное повышение значения индукции В постоянного магнитного поля в рабочем зазоре 11 и соответствующее снижение, согласно формуле (1), среднего диаметра d витка обмотки подвижной части 16. Так обеспечивается дополнительное снижение габаритных размеров устройства. Повышению надежности и удобству эксплуатации устройства способствует надежная фиксация выводов обмотки подвижной части 16 на диске крепежной арматуры 14. Такое решение осуществлено благодаря выполнению катушки обмотки подвижной части 16 с четным числом слоев электрического провода, при котором намотка катушки производится с прямым и обратным ходом, а выводы катушки всегда оказываются на ее внешнем торце, со стороны крепежной арматуры 14. Реализация циклов прямого и обратного хода подвижной части сопровождается принудительным отводом тепла от обмотки возбуждения 9. При обратном ходе подвижной части в вентиляционном зазоре 10 и, частично, в рабочем зазоре 11, который покидает обмотка подвижной части 16, создается область пониженного давления. Высокому перепаду давлений способствуют минимально допустимые промежутки между обмоткой подвижной части 16 и гранями рабочего зазора 11. Данные промежутки практически перекрыты на время хода для проникновения воздуха из внешней среды и из пространства, расположенного внутри обмотки подвижной части 16 под крепежной арматурой 14, причем их временное перекрытие связано с вязкостью воздуха. Из окружающего пространства в область пониженного давления через вентиляционные отверстия 7 засасывается охлаждающий воздух, который омывает внутреннюю поверхность обмотки возбуждения 9 и забирает у нее тепло. Благодаря имеющемуся в устройстве вентиляционному зазору 10, воздух охлаждает внутреннюю поверхность обмотки возбуждения 9 на всем ее протяжении. Ширина вентиляционного зазора 10, составляющая от 10% до 15% радиального размера кольцевого паза 3, обеспечивает достаточный объем охлаждающего воздуха, поступающего в вентиляционный зазор 10 за один ход. При этом равномерное распределение шести вентиляционных отверстий 7 обеспечивают равномерное шестизонное охлаждение внутренней поверхности обмотки возбуждения 9. При прямом ходе подвижной части временное перекрытие промежутков в рабочем зазоре 11 повторяется, и нагретый воздух выталкивается из вентиляционного зазора 10 обмоткой подвижной части 16 в окружающее пространство через вентиляционные отверстия 7. Таким образом, устройством реализуется интенсивный принудительный отвод тепла от обмотки возбуждения 9, причем интенсивность охлаждения тем выше, чем выше частота циклов прямого и обратного хода подвижной части. Кроме того, в устройстве активизирован также естественный теплоотвод через металл крышки сердечника 12, внешней 4 и торцевой 6 стенок сердечника 1. Активизация естественного теплоотвода связана с плотной - без воздушных промежутков, установкой обмотки возбуждения 9 и крышки сердечника 12 в кольцевой паз 3 сердечника 1. Интенсивный отвод тепла, реализованный данным техническим решением, позволяет повысить плотность тока в обмотке возбуждения 9, что снижает габариты обмотки возбуждения 9 и всего устройства в целом. Использование настоящего изобретения позволяет повысить технологичность и надежность линейного электрического двигателя, а также снизить его габариты.