Использование: в области электротехники. Технический результат – расширение функциональных возможностей и повышение чувствительности защиты. Согласно способу предполагается двухстороннее наблюдение электропередачи с обменом информации между двумя полукомплектами релейной защиты, установленными на разных сторонах. Используют передающие модели участков линии от мест наблюдения до ответвлений и участка линии между ответвлениями, преобразуют выходные сигналы передающих моделей в комплексные замеры, отображают замеры на комплексных плоскостях распознающих модулей. Обучают распознающие модули от имитационных моделей линии электропередачи. Для передающих моделей вводят эквивалентные ответвления числом не более двух, замеры формируют в виде комплексных параметров отдельно для основной защиты и для защиты дальнего резервирования. Для основной защиты формируют по два комплексных параметра ответвлений в каждой фазе, каждый замер подают на предназначенные для него блокирующий и разрешающий распознающие модули, обучают блокирующие модули обеих защит от первой имитационной модели, воспроизводящей режимы неповрежденной линии. Дополнительно обучают блокирующие модули основной защиты, а также обучают разрешающие модули защиты дальнего резервирования, от второй имитационной модели, воспроизводящей нуждающиеся в резервировании режимы короткого замыкания в ответвлениях. Обучают разрешающие модули основной защиты от третьей имитационной модели, воспроизводящей короткие замыкания в магистральной линии, задают области срабатывания распознающих модулей как отображения множества обучающих режимов соответствующих имитационных моделей. Блокируют основную защиту, если все замеры ее блокирующих модулей отображаются в их областях срабатывания, в противном случае разрешают срабатывание основной защиты, если хотя бы один замер отобразится в области срабатывания соответствующего разрешающего модуля. Блокируют защиту дальнего резервирования, если все замеры ее блокирующих модулей отображаются в их областях срабатывания, в противном случае разрешают срабатывание защиты дальнего резервирования, если хотя бы один замер отобразится в области срабатывания соответствующего разрешающего модуля. 3 з.п. ф-лы, 22 ил.
1. Способ релейной защиты линии электропередачи с ответвлениями, совмещающий функции основной защиты и защиты дальнего резервирования, путем двухстороннего наблюдения токов и напряжений, использования передающих моделей участков линии от мест наблюдения до ответвлений и участка линии между ответвлениями, преобразования выходных сигналов передающих моделей в комплексные замеры, отображения замеров на комплексных плоскостях распознающих модулей, обучения распознающих модулей от имитационных моделей линии электропередачи, отличающийся тем, что для передающих моделей вводят эквивалентные ответвления числом не более двух, замеры формируют в виде комплексных параметров отдельно для основной защиты и для защиты дальнего резервирования, причем для основной защиты формируют по два комплексных параметра ответвлений в каждой фазе, каждый замер подают на предназначенные для него блокирующий и разрешающий распознающие модули, обучают блокирующие модули обеих защит от первой имитационной модели, воспроизводящей режимы неповрежденной линии, дополнительно обучают блокирующие модули основной защиты, а также обучают разрешающие модули защиты дальнего резервирования от второй имитационной модели, воспроизводящей нуждающиеся в резервировании режимы короткого замыкания в ответвлениях, обучают разрешающие модули основной защиты от третьей имитационной модели, воспроизводящей короткие замыкания в магистральной линии, задают области срабатывания распознающих модулей как отображения множества обучающих режимов соответствующих имитационных моделей, блокируют основную защиту, если все замеры ее блокирующих модулей отображаются в их областях срабатывания, в противном случае разрешают срабатывание основной защиты, если хотя бы один замер отобразится в области срабатывания соответствующего разрешающего модуля, блокируют защиту дальнего резервирования, если все замеры ее блокирующих модулей отображаются в их областях срабатывания, в противном случае разрешают срабатывание защиты дальнего резервирования, если хотя бы один замер отобразится в области срабатывания соответствующего разрешающего модуля. 2. Способ по п. 1, отличающийся тем, что при одном эквивалентном ответвлении формируют для основной защиты линии первый комплексный параметр в виде отношения одноименных напряжений двух передающих моделей, второй - как сопротивление нагрузки эквивалентного ответвления, а для защиты дальнего резервирования формируют только один замер в виде комплексного сопротивления нагрузки ответвления. 3. Способ по п. 1, отличающийся тем, что при двух эквивалентных ответвлениях формируют для основной защиты линии первый и второй замеры как сопротивления первого и второго эквивалентных ответвлений, а для защиты дальнего резервирования формируют первый и второй замер как комплексные сопротивления нагрузок ответвлений. 4. Способ по п. 1, отличающийся тем, что для основной защиты линии формируют дополнительно замеры в виде отношения комплексов напряжений на выходе передающей модели в текущем и предшествующем режимах.
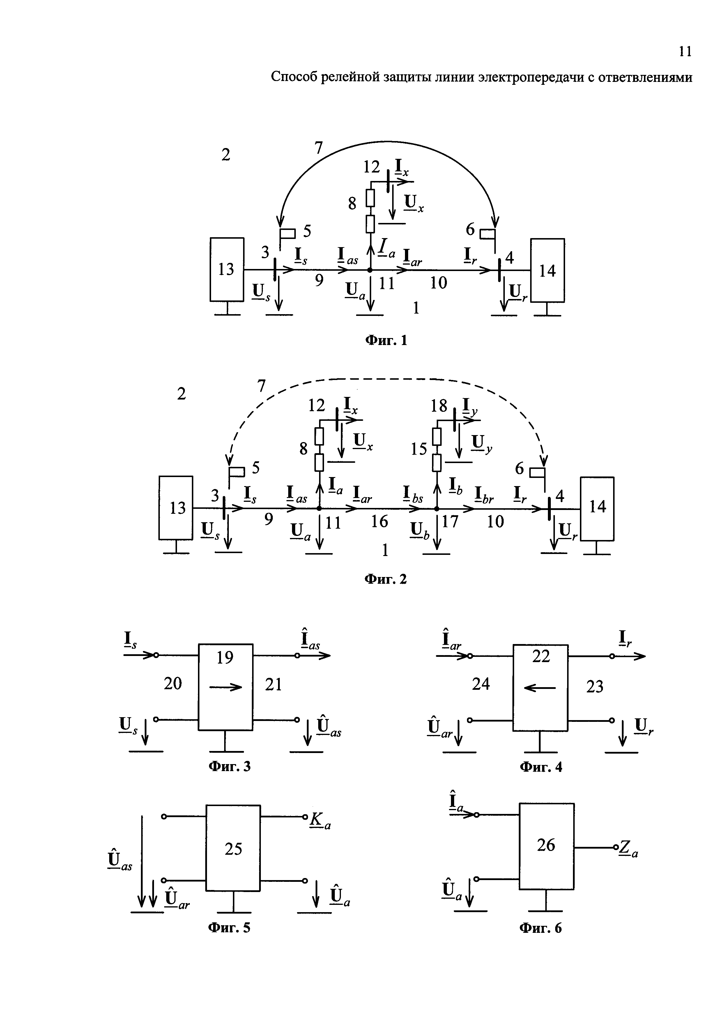
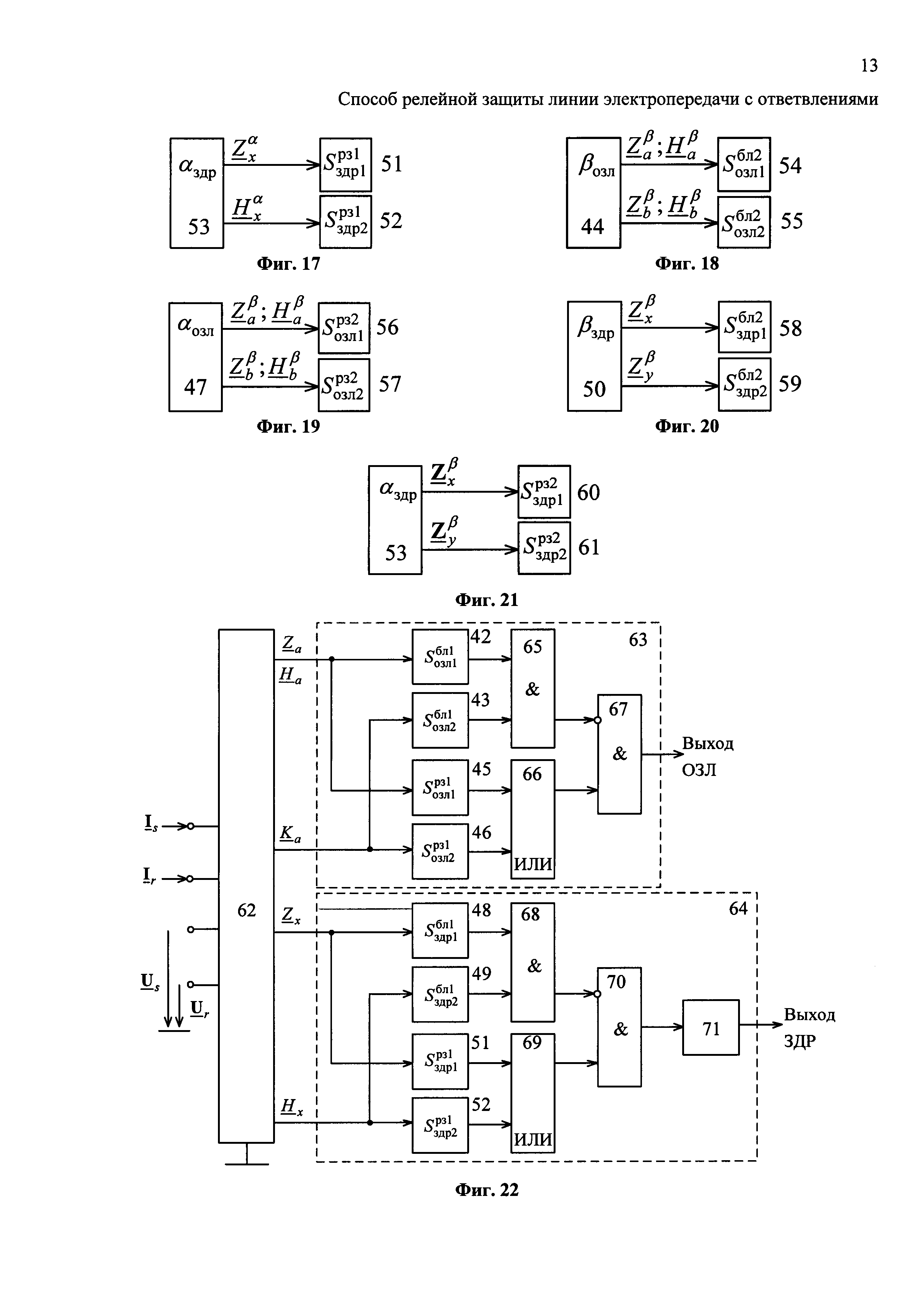
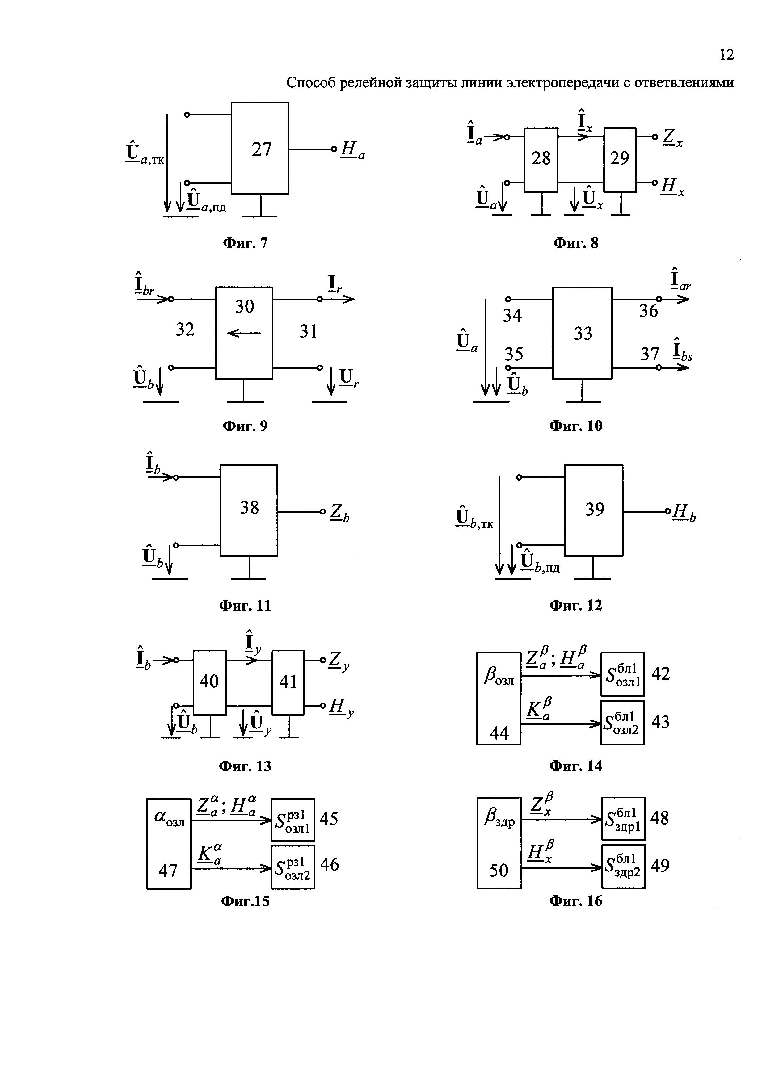
Изобретение относится к электроэнергетике и может быть применено для осуществления комплексной защиты линии электропередачи, наблюдаемой с обеих сторон. Имеется в виду не только магистральная линия без ответвлений, но также и линия с ответвлениями независимо от их числа. В последнем случае учитывается приобретающая все большую актуальность распределенная генерация электроэнергии. Несмотря на современную электронную базу, оптоволоконную связь между подстанциями на разных концах линии, синхронизацию отсчетов наблюдаемых величин, наблюдение и токов, и напряжений основная защита линии выполняется по дифференциальному принципу [1, 2]. Распределенная емкость линии, ответвления (ответвительные подстанции) не благоприятствуют применению дифференциальной защиты. Учесть их влияние без привлечения напряжений, наблюдаемых на концах линии, невозможно. Но в таком случае приходится констатировать отход от дифференциального принципа при выполнении основной защиты линии. Помимо основной защиты для данного объекта востребована еще и защита дальнего резервирования [3], призванная отключать линию в тех случаях, когда в течение заданной выдержки времени диагностируется замыкание в ответвлении. Имеется техническое исполнение защиты дальнего резервирования, первое исполнение - для одностороннего наблюдения [4]. Чувствительность такой защиты недостаточно высока. Последующие разработки выполнялись на базе представлений о многомерной и обучаемой релейной защите [5, 6], которые трансформировались в способы релейной защиты, нацеленные на использование всего объема имеющейся информации [7, 8]. По этим способам разработаны микропроцессорные терминалы релейной защиты [9], в том числе предназначенные для двухстороннего наблюдения электропередачи [10]. Принципиально важной особенностью защиты данного типа следует считать использование не только текущей, но и априорной информации о наблюдаемом объекте, которая концентрируется в его моделях. Для обучения защиты применяют имитационные модели, воспроизводящие различные типы режимов электропередачи. В ином качестве предстают передающие (алгоритмические) модели отдельных участков линии. Это структурные элементы релейной защиты, выполняющие преобразования наблюдаемых токов и напряжений в модельные величины, имеющие отношения к ответвлениям. Из модельных величин формируют комплексные замеры - сигналы, предназначенные воздействовать на распознающие модули. Каждый модуль располагает своей комплексной плоскостью, на которой отображаются поступающие на него замеры. Формируют фазные замеры из фазных напряжений и токов, а также линейные замеры из соответствующих линейных величин. Обучение адресовано непосредственно распознающим модулям, так как они обладают способностью отображать на своих комплексных плоскостях замеры, создаваемые сигналами имитационных моделей. В прототипе возможности обучаемых структур релейной зашиты использованы не в полной мере. Очевидно, что основная защита линии и защита дальнего резервирования опираются на одну и ту же информационную базу. Однако соединение их в единую защиту линии электропередачи не было реализовано, поскольку не был найден общий подход к формированию замеров и к разграничению отслеживаемых режимов, на которые та или иная защиты призвана реагировать (α-режимы), и альтернативные им режимы, на которые реагировать категорически запрещено (β-режимы). К тому же разработанная защита дальнего резервирования исходит из упрощенного моделирования ответвлений неизменными комплексными сопротивлениями, что приводит к повышенным погрешностям. Из обсуждаемого способа дальнего резервирования не вытекает техническое решение для защиты сети с распределенной генерацией, хотя это несомненно родственные задачи. Цель изобретения - расширение функциональных возможностей способа релейной защиты линии электропередачи с ответвлениями. Сопутствующая цель - повышение чувствительности к повреждению электропередачи как в магистральной части, так и в ответвлениях. Поставленная цель достигается более полным использованием передающих моделей и формированием специально подобранной совокупности замеров, отдельно для основной защиты линии (ОЗЛ) и для защиты дальнего резервирования (ЗДР). Первое новшество - эквивалентирование ответвлений, что особенно существенно для сетей с распределенной генерацией и для электропередач с числом ответвлений три и более. В предлагаемом способе реальные ответвления эквивалентируются одним или двумя, которые представляют все остальные. Необходимо сразу же заметить, что расхождение между реальным объектом и его передающей моделью не приводит к ложной работе защиты, потому что защиту обучают от имитационной модели реального объекта, к которой эквивалентирование не применяется. Второе нововведение - формирование замеров с ориентацией на многомерное блокирование защиты. Каждым замером воздействуют на два предназначенных только для него распознающих модуля - блокирующий и разрешающий. Модули каждого типа обучают от такой имитационной модели, которая воспроизводит соответствующее множество режимов защищаемой электропередачи. Всего применяют три разновидности имитационных моделей. Первая воспроизводит режимы в целом неповрежденной линии (не повреждена как магистральная часть, так и ответвления). Вторая - короткие замыкания в ответвлениях. Наконец, третья - короткие замыкания в магистральной части. Блокирующие модули основной защиты обучают от первой и от второй имитационных моделей. Блокирующие модули защиты дальнего резервирования обучают только от первой модели. Разрешающие модули основной защиты обучают от третьей имитационной модели, а разрешающие модули защиты дальнего резервирования - от второй. Многомерность способа обеспечивается соединением одноканальных блокирующих модулей защиты каждого типа по схеме И, а разрешающих модулей - по схеме ИЛИ. В дополнительных пунктах формулы изобретения конкретизируются замеры, выполняемые при одном и при двух ответвлениях. Это могут быть реальные ответвления линии, если их число не превышает двух. Если же их больше, то речь идет об эквивалентных ответвлениях, каждое из которых представляет несколько реальных ветвей. Информация о режиме, предшествующем повреждению, имеется при условии, что короткое замыкание произошло на фоне нормальной работы электропередачи, а не сразу после коммутации. Предлагаемый способ в целом не предполагает обязательного привлечения информации о предшествующем режиме, но при ее наличии формируют специальный замер в виде отношения напряжений двух режимов. На фиг. 1 изображена линия электропередачи с одним ответвлением, на фиг. 2 - с двумя ответвлениями, на фиг. 3 - передающая модель первой части линии от начала линии до ответвления, на фиг. 4 - от конца линии до того же единственного ответвления, на фиг. 5-8 - формирователи замеров для линии с одним ответвлением, на фиг. 5, 6 - формирователи замеров для основной защиты линии, на фиг. 7 - для той же защиты при наличии предшествующего режима, на фиг. 8 - формирователь замеров для защиты дальнего резервирования, одного или двух замеров при наличии дополнительной информации. Фиг. 9-13 иллюстрируют операции, совершаемые сверх перечисленных для линии с двумя ответвлениями. На фиг. 9 показана передающая модель, связывающая конец линии со вторым ответвлением. На фиг. 10 - отдельная передающая модель между двумя ответвлениями, на фиг. 11, 12 - формирователи тех замеров для второго ответвления, которые востребованы основной защитой. На фиг. 13 - формирователь замера для защиты дальнего резервирования, получаемого во втором ответвлении. Фиг. 14-21 относятся к обучению распознающих модулей от имитационных моделей электрической сети, в состав которой входит защищаемая электропередача. Фиг. 14 и 15 иллюстрируют процедуры обучения соответственно блокирующих и разрешающих модулей основной защиты линии с одним ответвлением. Фиг. 16 и 17 - то же, но для защиты дальнего резервирования. Иллюстрации по фиг. 18-21 относятся к обучению защиты электропередачи с двумя ответвлениями, фиг. 18 и 19 - обучение блокирующих и разрешающих модулей основной защиты, фиг. 20 и 21 - то же для защиты дальнего резервирования. На фиг. 22 приведена принципиальная схема комплексной защиты линии электропередачи с одним ответвлением, реальным или эквивалентным. Защищаемая линия электропередачи 1 находится в составе электрической сети (системы) 2 и наблюдается на шинах 3 и 4. Там же установлены полукомплекты релейной защиты 5 и 6, обменивающиеся синхронизированной информацией по линии связи 7. На фиг. 1 электропередача имеет одно ответвление 8. Оно может быть реально единственным, но может представлять собой эквивалентное ответвление. Эквивалентирование - отдельная задача электроэнергетики [11]. В частности, эквивалентное ответвление может сосредотачивать в одном, самом мощном ответвления, суммарную комплексную мощность всех ответвлений. Ответвление 8 разделяет линию 1 на левую и правую части 9, 10, соединяющиеся в узле 11. Ответвление 8 завершается шинами нагрузки 12. Защита дальнего резервирования призвана распознавать те замыкания в ответвлении 8, к которым нечувствительна основная защита линии. В предлагаемом способе релейной защиты достигается четкое разграничение задач двух видов защиты благодаря разделению множеств их альтернативных режимов. Для основной защиты к альтернативным режимам отнесены замыкания во внешних подсистемах 13, 14 и в верхней части ответвления 8, а для защиты дальнего резервирования - только нормальные нагрузочные режимы электрической сети, в первую очередь самого ответвления 8. Именно по этой причине ответвление показано состоящим из двух последовательно соединенных элементов; сопротивление верхнего элемента значительно больше, чем нижнего. Для основной защиты замыкания в нижнем элементе отнесены к контролируемым режимам, а в верхнем - к альтернативным. Для защиты дальнего резервирования, наоборот, замыкания в верхнем элементе являются контролируемыми, а замыкания в нижнем элементе, как и в магистральной линии, не относятся ни к тем, ни к другим, так как эти режимы распознаются основной защитой. Второе ответвление 15 также составлено из двух элементов, разделяющих зоны ответственности основной защиты линии и защиты дальнего резервирования. Принципиально новым в модели линии с двумя ответвлениями становится появление центрального участка линии 16, ограниченного справа новым узлом 17. Ответвление 15 питает нагрузку, подсоединенную к шинам 18; новые нагрузочные режимы пополняют множество альтернативных режимов защиты дальнего резервирования. Согласно данному способу наблюдаемые величины преобразуют в многополюсных блоках - передающих моделях отдельных частей неповрежденной электропередачи. Передающая модель 19 участка 9 преобразует комплексные векторы Формирователь 28 выдает замер сопротивления где Замеры (1)-(4) предназначены для реализации основной защиты линии. Для защиты дальнего резервирования востребованы иные замеры, определяемые оценками напряжений и токов на шинах 12, т.е. на выходе ответвления 8. Необходимые величины доставляет передающая модель 28 ответвления 8, преобразующая входные величины а на нижний выход - замер в виде отношения напряжений разумеется, при условии, что информация о предшествующем режиме доступна. Замеры (1)-(6) и связанные с ними преобразования (фиг. 3-8) имеют отношение к электропередаче с одним ответвлением. В приложении к электропередаче с двумя ответвлениями способ дополняется операциями, относящимися как непосредственно ко второму ответвлению 15, так и к центральному участку 16 линии 1. На фиг. 1 и 2 начальный участок 9 сохранил свой номер, соответственно, сохранилась и его передающая модель 19, так как первое ответвление 8 сохраняет в схеме по фиг. 2 все обозначения, введенные ранее в схеме фиг. 1. Что же касается правого участка 10 линии 1, то теперь он подходит к новому узлу 17, в связи с чем изменены номера, относящиеся к передающей модели участка 10. Вместо прежней модели 22 со входом 23 и выходом 24 теперь используют модель 30 со входом 31 и выходом 32. Передающая модель 33 центрального участка 16 имеет отличия от передающих моделей крайних участков. На ее входы 34, 35 подают напряжение от этих двух моделей, а с выходов 36, 37 снимают оценки токов на концах участка 16. Для линии с двумя ответвлениями замер (1) не формируют, используют напряжение где В данном случае для основной защиты линии предназначаются замеры (3), (4), (7), (8). Для защиты дальнего резервирования второе ответвление 15 добавляет свою передающую модель 40 и формирователь 41, выдающий замеры, аналогичные (5), (6) Передающие модели и формирователи замеров входят в структуру релейной защиты. Они обслуживают те элементы структуры, которые обеспечивают ее интеллектуальность. Это распознающие модули, блокирующие и разрешающие. На каждый замер приходится в обязательном порядке блокирующий модуль и, как правило, еще и разрешающий. Обозначения модулей видны на примере элементов 42, 43: В данном способе релейная защита проходит предварительное обучение от имитационных моделей электрической системы. Модели различаются типом воспроизводимых режимов. Модель 44 воспроизводит режимы, при которых запрещается срабатывание основной защиты линии. Обозначение этого типа режимов βозл. На имитационные модели возложено преобразование токов и напряжений вплоть до замеров, отображаемых на комплексных плоскостях распознающих модулей. Для каждого типа режимов на фиг. 14-21 предусмотрено по два типа замера. В обозначении замера тип режима указывается в виде верхнего индекса. Если на выходе имитационной модели приведены два замера, как Разрешающие модули 45, 46 охарактеризованы областями отображения У защиты дальнего резервирования свои блокирующие модули 48, 49, области действия которых В случае двух ответвлений, реальных или эквивалентных, так же как и предыдущем случае с одним ответвлением, предусмотрено по два замера для каждого из двух видов защиты (фиг. 18-21). Вместо прежнего замера (1) вводят замер (7), иначе говоря, предусматривают по одному замеру от каждого эквивалентного ответвления. Распознающим модулям присвоены новые номера, коль скоро произошли изменения в замерах, но номера имитационных моделей 44, 47, 50, 53 сохранены прежними, так как реальный объект, возможно, не изменяется, а рассматриваются различные его модели. В обозначениях распознающих модулей производится одно изменение - вместо верхнего индекса «1» появляется индекс «2», указывающих на структуру с двумя отпайками. Блокирующие модули основной защиты 54, 55 проходят обучение режимами, в которых защита не должна работать, от имитационной модели 44. Разрешающие модули 56, 57 той же защиты обучаются от имитационной модели 47 режимами, в которых защите надлежит срабатывать. Также блокирующие модули защиты дальнего резервирования 58, 59 обучаются от модели альтернативных режимов 50, а разрешающие модули 60, 61 - от модели контролируемых режимов 53. В связи с тем что способ характеризуется унифицированными признаками, пример выполнения релейной защиты дан с обозначениями, принятыми для линии с одним ответвлением (фиг. 22). Необходимо пояснить различия в обозначениях входных величин защиты Рассматриваемый способ включает в себя два основных этапа - обучения защиты от имитационных моделей электрической сети и работу защиты на реальной линии электропередачи 1. Имитационные модели 44, 47, 50 53 воспроизводят каждая множество режимов одного из четырех возможных типов и формируют комплексные замеры, создающие благоприятные возможности для локализации отображения альтернативных режимов (β-режимы) на комплексных плоскостях. Способ не вводит ограничения числа замеров, но в описании приведены по два замера на каждую из двух осуществляемых функций защиты линии электропередачи. Каждый из восьми обучаемых распознающих модулей 42, 43; 45, 46; 48, 49; 51, 52 на стадии обучения автономен, но после обучения вводится в структуру релейной защиты (фиг. 22) в логической связи с другим родственным ему модулем. Так, для блокировки основной защиты недостаточно срабатывания только одного из двух блокирующих модулей 42 и 43; необходимо срабатывание того и другого, что проверяется элементом И 65. Но в случае отсутствия блокирующего сигнала для срабатывания защиты достаточно действия любого из двух разрешающих модулей 45, 46. Условие срабатывание основной защиты описывается следующим соотношением Аналогично, условие срабатывание защиты дальнего резервирования, обеспечиваемое распознающими модулями 48, 49; 51, 52 и логическими элементами 68-70 Равенство данных выражений логической единице означает срабатывание той или иной защиты. Широкие функциональные возможности предложенного способа обеспечиваются его многомерностью, т.е. сочетанием разнообразных замеров, и раздельным обучением блокирующих и разрешающих модулей, каждый из которых получает в ходе обучения и хранит в памяти область отображения множества соответствующих режимов. Повышение чувствительности защиты обеспечивается сверх того применением передающих моделей отдельных участков электропередачи. Источники информации 1. Патент КНР, publ. numb. CN 103296647 В, appl. numb. CN 201310185011, 2013. 2. Патент КНР, publ. numb. CN 104037742 A, appl. numb. CN 201410325741, 2014. 3. Натай В.И. Релейная защита ответвительных подстанций электрических сетей. - Энергоатомиздат, 2002. 4. Павлов А.О. Информационные аспекты распознавания коротких замыканий в линиях электропередачи в приложении к защите дальнего резервирования. - Автореферат канд. дисс., Чувашский гос. ун-т, Чебоксары, 2002. 5. Лямец Ю.Я., Нудельман Г.С., Зиновьев Д.В. и др. Многомерная релейная защита. Ч. 1, 2, 3. - Электричество, 2009, №10, С. 17-25; №11, С. 9-15; 2010, №1, С. 9-15. 6. Лямец Ю.Я., Мартынов М.В., Нудельман Г.С. и др. Обучаемая релейная защита. Ч. 1, 2. - Электричество, 2012, №2, С. 15-19; №3, С. 12-18. 7. Патент РФ №2316872, Н02Н 3/40, 2006. 8. Патент РФ №2404499, Н02Н 3/40, 2009. 9. Еремеев Д.Г. Разработка и исследование микропроцессорной защиты дальнего резервирования. - Автореферат канд. дисс., Чувашский гос. ун-т, Чебоксары, 2010. 10. Васильев Д.С. Совершенствование микропроцессорной защиты дальнего резервирования и обобщение опыта ее эксплуатации. - Автореферат канд. дисс., Чувашский гос. ун-т, Чебоксары, 2011 (прототип, с. 12, 13, рис. 5, 6). 11. Лямец Ю.Я., Воронов П.И., Мартынов М.В. Эквивалентирование имитационных моделей электрических сетей. - Электричество, 2015, №5, С. 22-29.
,
, наблюдаемые в начале линии 3, в комплексы
,
в конце участка. Обозначения
,
означают их оценочное отношение к реальным наблюдаемым величинам
,
на самом объекте. Вход 20 передающей модели 19 соответствует началу линии 3, а выход 21 - подходу к узлу 11 с левой стороны. Передающая модель 22 играет точно такую же роль по отношению к участку линии 10. Разница только в направлении передачи сигналов: вход 23 соответствует наблюдаемому концу линии 4, а выход 24 - подходу к узлу 11 с правой стороны. Выходные сигналы передающих моделей служат исходной информацией для формирователей замеров. Формирователь 25 преобразует напряжение
и
, доставляемые передающими моделями 19, 22, в комплексный скалярный замер
и комплексное скалярное напряжение
, например


. Замеры (1)-(3) не предполагают наличия информации о предшествующем режиме. Если же таковая имеется, то передающие модели 19, 22 обрабатывают сначала токи и напряжения предшествующего режима
,
;
,
, а затем - текущего режима
,
;
,
. Формирователь 25 выдает напряжения обоих режимов
и
, и предусмотренный на этот случай отдельный формирователь 27 выдает дополнительный скалярный замер
,
, полученные ранее, в выходные
,
, из которых затем формирователь замеров 29 определяет и передает на свой верхний выход замер сопротивления нагрузки неповрежденного ответвления 8
в текущем и предшествующем режимах
и
, замер (3) остается в силе. Второе ответвление добавляет аналогичный замер от формирователя 38
, а при наличии предшествующего режима - еще один от формирователя 39


- блокирующий модуль линии с одним ответвлением (бл1) для первого замера основной защиты линии (озл1),
- то же для второго замера, обозначение S относится к области отображения режимов определенного типа.
;
на фиг. 14, то это означает, что фактически будет востребован только один из них.
,
режимов, имитируемых моделью 47 и обозначаемых как αозл. Это режимы короткого замыкания в зоне действия основной защиты.
,
определяются в ходе обучения от модели 50, режимы которой обозначаются символом βздр, а кроме того, - разрешающие модели 51, 52, области срабатывания которых определяются обучающей имитационной моделью 53, тип режимов которой, обозначенный αздр, представляет собой короткие замыкания в верхней части единственного реального ответвления или же всех реальных ответвлений, представляемых в виде одного эквивалентного.
,
,
,
- комплексных векторов, то же и в преобразовательных моделях 19, 22, 30, 33, от комплексных скалярных замеров (1)-(10). Дело в том, что замеры определяют для отдельных двухпроводных контуров линии электропередачи. Разделение входных векторов на отдельные элементы совершается в объединенном входном блоке 62. Кроме него в структуре защиты присутствует два объединенных выходных блока 63 и 64, выполняющих соответственно функции основной защиты линии (ОЗЛ) и защиты дальнего резервирования (ЗДР). От входного блока 62 на выходные 63 и 64 поступают комплексные сигналы в виде замеров
(или
) и
для блока 63,
и
для блока 64. Структуры выходных блоков стереотипны. Они включают в себя блокирующие модули 42, 43 и 48, 49, разрешающие модули 45, 46 и 48, 49, разрешающие модули 45, 46 и 51, 52. В блоке 63 блокирующие модули 42, 43 объединены по схеме И 65, а разрешающие модели 45, 46 - по схеме ИЛИ 66. На оконечный элемент И 67 схема И 65 выдает сигнал запрета, а схема ИЛИ 66 - сигнал срабатывания. Аналогично в блоке 64 блокирующие модули 48, 49 объединены по схеме И 68, а разрешающие модули 51, 52 - по схеме ИЛИ 69. Сигнал запрета от элемента 68 и сигнал срабатывания от элемента 69 поступают на элемент И 70, который в свою очередь запускает элемент времени 71, разделяющий действие блоков основной защиты линии 63 и блока защиты дальнего резервирования 64 во времени.
.
.