Изобретение относится к области измерительной техники, в частности к синусно-косинусным преобразователям угла в код. Техническим результатом является повышение разрядности преобразователя при меньшем объеме ПЗУ без потери быстродействия преобразования. Следящий синусно-косинусный преобразователь угла в код, содержащий первый умножитель для перемножения входного напряжения синусного сигнала на цифровое значение косинуса выходного кода, второй умножитель для перемножения входного напряжения косинусного сигнала на цифровое значение синуса выходного кода, вычитатель, входы которого соединены с выходами умножителей, а выход - с генератором, управляемым напряжением, ГУН, который вырабатывает сигналы инкрементирования и декрементирования реверсивного счетчика в зависимости от знака и величины рассогласования, выходы прямого и обратного счета ГУН соединены с реверсивным счетчиком выходного кода угла, выход счетчика соединен с постоянным запоминающим устройством, ПЗУ, значений синуса и косинуса, отличается тем, что реверсивный счетчик разделен на две части - старшую и младшую, старшая часть соединена с ПЗУ значений синуса и косинуса, а младшая соединена со входами блоков линейной интерполяции табличных значений синуса и косинуса по младшим разрядам реверсивного счетчика, которые также соединены с выходами ПЗУ, выходы блоков линейной интерполяции соединены с умножителями. 2 ил., 1 табл.
Следящий синусно-косинусный преобразователь угла в код, содержащий первый умножитель для перемножения входного напряжения синусного сигнала на цифровое значение косинуса выходного кода, второй умножитель для перемножения входного напряжения косинусного сигнала на цифровое значение синуса выходного кода, вычитатель, входы которого соединены с выходами умножителей, а выход - с генератором, управляемым напряжением, ГУН, который вырабатывает сигналы инкрементирования и декрементирования реверсивного счетчика в зависимости от знака и величины рассогласования, выходы прямого и обратного счета ГУН соединены с реверсивным счетчиком выходного кода угла, выход счетчика соединен с постоянным запоминающим устройством, ПЗУ, значений синуса и косинуса, отличающийся тем, что реверсивный счетчик разделен на две части - старшую и младшую, старшая часть соединена с ПЗУ значений синуса и косинуса, а младшая соединена со входами блоков линейной интерполяции табличных значений синуса и косинуса по младшим разрядам реверсивного счетчика, которые также соединены с выходами ПЗУ, выходы блоков линейной интерполяции соединены с умножителями.
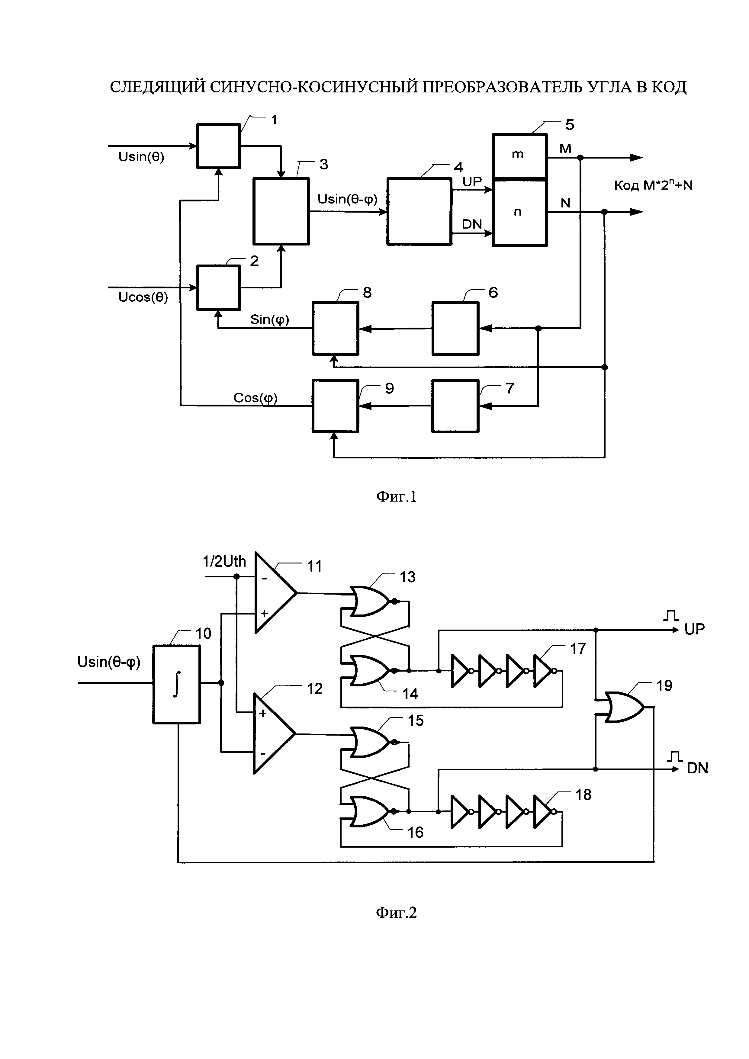
Изобретение относится к измерительной технике, в частности к следящим синусно-косинусным преобразователям угла в код, и может быть использовано в автомобильной технике, станкостроении, авиационной и ракетной технике и других областях, где требуется измерять положение с помощью датчика, формирующего синусно-косинусный сигнал, фаза которого пропорциональна измеряемому углу. Известен твердотельный преобразователь угла [1], который содержит входной мультиплексор сигналов датчика угла, аналого-цифровой преобразователь (АЦП), цифровой блок вычисления угла и цифроаналоговый преобразователь (ЦАП), который преобразует вычисленный код угла в выходное напряжение преобразователя. Особенностью преобразователя является использование в цифровом блоке вычисления угла алгоритма CORDIC. Недостатком аналога является низкое быстродействие преобразователя, в котором время преобразования слагается из времени преобразования входных сигналов датчиков угла в цифровой код и числа итераций вычисления угла по алгоритму CORDIC. Известен цифровой преобразователь сигналов резольвера [2]. Преобразователь обеспечивает преобразование синусно-косинусных сигналов резольвера, представляющего собой вращающийся трансформатор с двумя ортогональными обмотками и неподвижной обмоткой возбуждения, в цифровой код. Преобразователь содержит два АЦП синусно-косинусного сигнала резольвера, полосовые фильтры, два умножителя кодов сигналов синус и косинус на коды значений синуса и косинуса выходного кода, сумматор разности выходов умножителей и цепь обратной связи, содержащей реверсивный счетчик выходного кода, соединенный с постоянным запоминающим устройством (ПЗУ) значений синуса и косинуса для каждого значения выходного кода. Особенностью преобразователя является использование следящего алгоритма преобразования синус-косинусного выходного сигнала в код угла. Недостатком преобразователя является сложная электрическая схема, которая содержит два АЦП и процессор, наличие ПЗУ большой емкости, а также ограниченное быстродействие, которое определяется временем преобразования аналоговых сигналов резольвера в цифровой код. Известен преобразователь синусно-косинусного сигнала в код положения [3]. Преобразователь построен по типовой следящей схеме и содержит два умножителя входных сигналов, вычитатель, компаратор и ГУН, который вырабатывает сигналы инкрементирования и декрементирования реверсивного счетчика по разностному сигналу вычитателя. Код реверсивного счетчика является выходным кодом преобразователя. Особенностью преобразователя является то, что значения синуса и косинуса не выбираются из таблиц синуса и косинуса по коду счетчика, а вычисляются блоком CORDIC-вычислителя, который формирует коды значений синуса и косинуса, подаваемые на вход умножителей сигналов косинус и синус, соответственно, что позволяет сократить объем ПЗУ, но при этом снижает быстродействие преобразователя. Известно устройство цифрового преобразователя сигналов резольвера [4], выбранное в качестве прототипа. Преобразователь содержит два аналоговых умножителя входных сигналов синуса и косинуса, вычитатель, генератор, управляемый напряжением (ГУН), который вырабатывает сигналы инкрементирования и декрементирования реверсивного счетчика в зависимости от знака и величины рассогласования. Код реверсивного счетчика является выходным кодом преобразователя, по коду счетчика адресуются ПЗУ, содержащие значения синуса и косинуса для каждого кода счетчика, на которые, соответственно, умножаются входные сигналы косинуса и синуса резольвера, за счет обратной связи счетчик, ПЗУ, умножители, вычитатель и ГУН счетчик принимает значение, при котором рассогласование между измеряемым углом и выходным кодом счетчика становится минимальным. Недостатком прототипа является большой объем требуемого ПЗУ, в котором должны храниться значения синуса и косинуса для каждого значения выходного кода, что требует большой площади на кристалле микросхемы и, соответственно, высокой себестоимости изготовления. Задачей изобретения является повышение разрядности преобразователя при меньшем объеме ПЗУ без потери быстродействия преобразования. Поставленная задача решается благодаря тому, что в следящем синусно-косинусном преобразователе угла в код, содержащем первый умножитель для перемножения входного напряжения синусного сигнала на цифровое значение косинуса выходного кода, второй умножитель для перемножения входного напряжения косинусного сигнала на цифровое значение синуса выходного кода, вычитатель, входы которого соединены с выходами умножителей, а выход - с генератором, управляемым напряжением (ГУН), который вырабатывает сигналы инкрементирования и декрементирования реверсивного счетчика в зависимости от знака и величины рассогласования, выходы прямого и обратного счета ГУН соединены с реверсивным счетчиком выходного кода угла, выход счетчика соединен с ПЗУ значений синуса и косинуса, предусмотрены следующие отличия, а именно реверсивный счетчик разделен на две части - старшую и младшую, старшая часть соединена с ПЗУ значений синуса и косинуса, кроме этого дополнительно введены два блока линейной интерполяции табличных значений синуса и косинуса по младшим разрядам реверсивного счетчика, которые соединены с выходами ПЗУ и младшими разрядами реверсивного счетчика, выходы блоков линейной интерполяции соединены с умножителями. Между совокупностью существенных признаков заявленного технического решения и достигаемым техническим результатом существует причинно-следственная связь, а именно линейная интерполяция значений синуса и косинуса позволяет существенно сократить требуемые объемы ПЗУ, поскольку в таблицах хранятся значения синуса и косинуса только для точек угла, задаваемых старшими разрядами реверсивного счетчика, а промежуточные значения синуса и косинуса вычисляются путем линейной интерполяции по младшим разрядам реверсивного счетчика. Так, например, для обеспечения точности 12-разрядного преобразования угла в код в прототипе требуется две таблицы объемом 4096 слов каждая, а в предлагаемом техническом решении достаточно использовать таблицы значений синуса и косинуса объемом в 32 слова в узловых точках интерполяции, адресуемых 5 старшими разрядами счетчика, а промежуточные значения синуса и косинуса интерполируются по младшим разрядам счетчика. Техническая сущность предложенного технического решения поясняется чертежами, где фиг. 1 содержит структурную схему преобразователя синусно-косинусного сигнала в код угла, фиг. 2 содержит структурную схему генератора управляемого напряжением. Структурная схема преобразователя приведена на фиг. 1. Синусно-косинусный преобразователь угла в код содержит: 1, 2 - умножители; 3 - вычитатель; 4 – генератор, управляемый напряжением; 5 - реверсивный счетчик; 6, 7 - ПЗУ значений синуса и косинуса; 8, 9 - блоки линейной интерполяции значений синуса и косинуса. Умножители 1, 2 соединены с вычитателем 3, разностное напряжение с которого подается на ГУН 4, который вырабатывает сигналы инкрементирования и декрементирования реверсивного счетчика в зависимости от знака и величины рассогласования. ГУН 4 соединен линиями сигналов прямого UP и обратного DN счета с реверсивным счетчиком 5, значение которого является выходным кодом преобразователя. Старшие разряды m реверсивного счетчика 5 соединены с адресными входами ПЗУ кодов синуса и косинуса 6, 7, выходы - с блоками линейной интерполяции 8, 9, которые формируют значения синуса и косинуса выходного кода преобразователя на основании табличных значений синуса и косинуса из ПЗУ и их интерполяции по младшим разрядам счетчика. Выходы блоков линейной интерполяции 8, 9 соединены с умножителями 2 и 1 соответственно. Для преобразования сигнала рассогласования в код счетчика используется генератор управляемый напряжением 4, который вырабатывает сигналы инкрементирования и декрементирования реверсивного счетчика в зависимости от знака и величины рассогласования. Схема ГУН приведена на фиг. 2. ГУН содержит интегратор 10, компараторы 11 и 12, на которые подается разностное напряжение ΔU с вычитателя 3 и пороговое напряжение Uth. Выходы компараторов 11, 12 соединены с мультивибраторами 13, 14 и 15, 16 соответственно, которые содержат в обратной связи элементов 14, 16 транспортную задержку сигнала из элементов 17, 18. При превышении разностного напряжения ΔU порогового напряжения Uth срабатывает соответствующий компаратор, сигнал с которого запускает мультивибратор, на выходе которого формируется счетный импульс длительностью, определяемой элементами задержки. Счетный импульс поступает на реверсивный счетчик 5. Разностный сигнал произведений вычитателя 3 определяется формулой: где Usin(θ), Ucos(θ) - входные напряжения, cos(ϕ), sin(ϕ) - интерполированные значения синуса и косинуса, вычисленные по коду реверсивного счетчика 5. Формулу 1 можно преобразовать Таким образом, разностный сигнал не зависит от значения угла, а только от точности приближения угла ϕ к углу θ. Линейная интерполяция выполняется по точкам интерполяции значений синуса и косинуса, хранящихся в ПЗУ, выбираемых по старшим разрядам реверсивного счетчика. Их количество зависит от разрядности старшей части m счетчика. Промежуточные значения синуса и косинуса интерполируются по младшим разрядам счетчика по формуле где М, N - значения старшей и младшей части реверсивного счетчика; SIN[…], COS[…] - значения синуса и косинуса в точках интерполяции М и М+1; n - разрядность младшей части реверсивного счетчика. Использование линейной интерполяции при преобразовании угла в код позволяет получить погрешность преобразования при использовании только 5 и 6 разрядов старшей части реверсивного счетчика и соответственно интерполяционных таблиц объемом всего 32 и 64 слова, не превышающую погрешности 15 и 19 разрядов реверсивного счетчика. Варьируя разрядностью старшей части реверсивного счетчика m и младшей части – n, можно получить разрядность выходного кода от 12 до 18 разрядов. При этом затраты памяти на порядки меньше, чем требуется в прототипе, что наглядно показано в таблице, приведенной ниже. Технико-экономический эффект от предложенного технического решения заключается в снижении себестоимости изготовления микросхем преобразователей синусно-косинусного сигнала в код угла за счет уменьшения площади ПЗУ, а также снижения потребления и времени доступа ПЗУ за счет уменьшения числа ячеек памяти. Источники информации 1. Патент США 3976869. 2. Патент WO 2011068196. 3. Патент РФ 167428. 4. Патент США 4933674 – прототип.


