патент
№ RU 2445663
МПК G02F1/11

ФАЗОЧУВСТВИТЕЛЬНЫЙ СПОСОБ ЧАСТОТНОЙ СТАБИЛИЗАЦИИ ЛАЗЕРНОГО ИЗЛУЧЕНИЯ И АКУСТООПТИЧЕСКИЙ МОДУЛЯТОР ДЛЯ ОСУЩЕСТВЛЕНИЯ ФАЗОВОЙ МОДУЛЯЦИИ ЛАЗЕРНОГО ИЗЛУЧЕНИЯ

Авторы:
Барышев Вячеслав Николаевич
Номер заявки
2009138320/28
Дата подачи заявки
19.10.2009
Опубликовано
20.03.2012
Страна
RU
Как управлять
интеллектуальной собственностью
Чертежи 
2
Реферат

Изобретение относится к квантовой электронике, лазерной спектроскопии, акустооптике и может быть использовано для широкополосной частотной стабилизации лазеров и сужения спектра их излучения. Способ заключается в фазовой модуляции излучения и пропускании его через резонансно-поглощающую дисперсную среду, детектировании на фотоприемнике высокочастотных биений прошедшего через среду частотно-модулированного излучения, гетеродинном детектировании высокочастотных биений на смесителе, выделении выходного постоянного сигнала смесителя и подаче его в качестве сигнала ошибки в цепь отрицательной обратной связи на контролирующий лазерную частоту элемент. При этом фазовая модуляция лазерного излучения проводится с помощью акустооптического модулятора, функционирующего исключительно в режиме дифракции Рамана-Ната. Технический результат заключается в обеспечении возможности получения сигналов ошибки с нулевым фоновым уровнем, с варьируемым наклоном его линейного центрального участка в широком диапазоне частот модуляции. 2 н.п. ф-лы, 3 ил.

Формула изобретения

1. Фазочувствительный способ частотной стабилизации лазерного излучения, заключающийся в фазовой модуляции излучения и пропускании его через резонансно-поглощающую дисперсную среду, детектировании на фотоприемнике высокочастотных биений прошедшего через среду частотно-модулированного излучения, гетеродинном детектировании высокочастотных биений на смесителе, выделении выходного постоянного сигнала смесителя и подаче его в качестве сигнала ошибки в цепь отрицательной обратной связи на контролирующий лазерную частоту элемент, отличающийся тем, что фазовая модуляция лазерного излучения проводится с помощью акустооптического модулятора, функционирующего исключительно в режиме дифракции Рамана-Ната.

2. Акустооптический модулятор, содержащий акустооптическую ячейку, состоящую из светозвукопровода, выполненного из монокристалла, с расположенными на нем электроакустическим преобразователем и звукопоглотителем, отличающийся тем, что содержит фотоприемник, высокочастотный смеситель, опорный высокочастотный генератор, цепь отрицательной обратной связи, и элемент, контролирующий частоту лазерного излучения, при этом акустооптический модулятор модулирует излучение лазера по фазе, а направление распространения входного лазерного луча перпендикулярно направлению распространения продольной ультразвуковой волны, длина области акустооптического взаимодействия L, определяющая геометрические размеры монокристалла и габариты самого акустооптического модулятора, а также значения длин волн оптического λ, и акустического Λ излучений, удовлетворяют предельному условию Q=2πLλ/Λ2<0,3 функционирования акустооптического модулятора исключительно в режиме дифракции Рамана-Ната.

Описание

[1]

Изобретения относятся к квантовой электронике, лазерной спектроскопии, акустооптике и могут быть использованы для широкополосной частотной стабилизации лазеров и сужения спектра их излучения.

[2]

В настоящей заявке представлен фазочувствительный способ частотной стабилизации излучения лазера с применением метода частотно-модуляционной оптической гетеродинной спектроскопии с использованием нового устройства - акустооптического модулятора (АОМ), функционирующего исключительно в режиме дифракции Рамана-Ната, в качестве внешнего фазового модулятора. Представляемый способ может быть использован для получения сигналов ошибки с нулевым фоновым уровнем в сверхбыстрых, широкополосных электронных цепях отрицательной обратной связи при частотной автоподстройке лазеров к оптическим резонансам, включая резонансы высокодобротных резонаторов Фабри-Перо с величинами резкости до нескольких десятков тысяч и шириной резонанса в несколько десятков герц.

[3]

Для получения сигналов ошибки в экстремально высокоскоростных петлях обратной связи в настоящее время известен гетеродинный метод частотно-модулированных (ЧМ) боковых составляющих (1. Drever R., Hall J., Kovalski F., Hough J., Ford G., Munley A., and Ward H., Appl. Phys. B, 31, 97, 1983; 2. Bjorklund G., Levenson M., Lenth W., and Ortiz C., Appl. Phys. B, 32, 145, 1983), с электрооптическим модулятором (ЕОМ) в качестве внешнего фазового модулятора (фиг.1), заключающийся в фазовой модуляции лазерного излучения и пропускании его через резонансно-поглощающую дисперсную среду, детектировании на фотоприемнике высокочастотных биений прошедшего через среду частотно-модулированного излучения, гетеродинном детектировании высокочастотных биений на смесителе, выделении выходного постоянного сигнала смесителя и подаче его в качестве сигнала ошибки в цепь отрицательной обратной связи на контролирующий лазерную частоту элемент.

[4]

К недостаткам можно отнести то, что существующие электрооптические модуляторы не генерируют ЧМ спектр в чистом виде, что является причиной такого нежелательного эффекта, как присутствие остаточного амплитудного шума в спектре сигнала ошибки, для устранения которого требуется аккуратное выравнивание поляризаций входного и выходного излучений, выполняемое набором из полуволновых пластинок и поляризаторов. А также получение сигналов ошибки возможно лишь в узком (до нескольких мегагерц) диапазоне частот модуляции.

[5]

Существующие АОМ проектируются, прежде всего, для функционирования в режиме Брэгговского отклонения. Известен аналог АОМ модели 1205-С2 фирмы "ISOMET", с центральной рабочей частотой 80 МГц и полосой модуляции 30 МГц, спроектированный для применения в качестве Брэгговского дефлектора, содержащий акустооптическую ячейку, состоящую из светозвукопровода, выполненного из монокристалла, с расположенными на нем электроакустическим преобразователем и звукопоглотителем, и согласующее электронное устройство.

[6]

Недостатком аналога является то, что при рабочих частотах модуляции в диапазоне от 10 до 40 МГц, в котором необходимо получать сигналы ошибки для системы частотной автоподстройки (ЧАП) лазерного излучения к оптическим резонансам с шириной до нескольких мегагерц, дифракционным свойствам этого АОМ присущи черты как Брэгговского отклонения, так и дифракции Рамана-Ната, что приводит к появлению ненулевого фонового уровня сигнала ошибки и дополнительному амплитудному шуму в его спектре по той возможной причине, что спектр выходного излучения аналога не является частотно-модулированным в чистом виде.

[7]

Результатом, получаемым от внедрения изобретения, является осуществление широкополосной частотной автоподстройки лазерного излучения к оптическим резонансам с помощью метода частотно-модуляционной (ЧМ) оптической гетеродинной спектроскопии с использованием акустооптического модулятора (АОМ), функционирующего исключительно в режиме дифракции Рамана-Ната, в качестве внешнего фазового модулятора для получения сигнала ошибки с нулевым фоновым уровнем и варьируемым наклоном его линейного центрального участка в широком, до нескольких десятков мегагерц, диапазоне частот модуляции. Причем, практически важно, что сигналы ошибки, соответствующие поглощению или дисперсии среды могут быть получены непосредственно при правильном выборе соотношения фаз входных сигналов смесителя, если частота модуляции АОМ достаточно велика или ширина резонанса достаточно мала, чтобы исследуемый оптический резонанс опрашивался только единственной изолированной боковой составляющей (1. Drever R., Hall J., Kovalski F., Hough J., Ford G., Munley A., and Ward H., Appl. Phys. B, 31, 97, 1983; 2. Bjorklund G., Levenson M, Lenth W., and Ortiz C., Appl. Phys. B, 32, 145, 1983).

[8]

Данный технический результат в части способа достигается за счет того, что в известном способе, заключающемся в фазовой модуляции излучения и пропускании его через резонансно-поглощающую дисперсную среду, детектировании на фотоприемнике высокочастотных биений прошедшего через среду частотно-модулированного излучения (спектр которого состоит из излучений нулевого и ±1-х дифракционных порядков), гетеродинном детектировании высокочастотных биений на смесителе, выделении выходного постоянного сигнала смесителя и подаче его в качестве сигнала ошибки в цепь отрицательной обратной связи на контролирующий лазерную частоту элемент, с целью получения частотно-модулированного излучения в чистом виде и уширения частотного диапазона модуляции, фазовая модуляция лазерного излучения проводится с помощью акустооптического модулятора, функционирующего исключительно в режиме дифракции Рамана-Ната.

[9]

Результатом изобретения является создание устройства - акустооптического модулятора, функционирующего исключительно в режиме дифракции Рамана-Ната. В этом режиме, вследствие фазовой модуляции, спектр излучения на его выходе есть частотно-модулированный спектр в чистом виде (3. Дьелесан Э., Руайе Д., Упругие волны в твердых телах (М: Наука, 1982)). В режиме слабого возбуждения выходное излучение такого АОМ состоит из трех лучей, соответствующих нулевому и находящимся в противофазе ±1-м дифракционным порядкам, что является необходимым и достаточным условием для проведения частотно-модуляционной гетеродинной спектроскопии (2. Bjorklund G., Levenson M., Lenth W., and Ortiz C., Appl. Phys. B, 32, 145, 1983).

[10]

В предлагаемом АОМ взаимное расположение волновых векторов света и звука (геометрия АО-взаимодействия) выбрано таким образом, чтобы эффективность дифракции не зависела от состояния поляризации падающего на АОМ светового пучка, что является дополнительным практически важным положительным эффектом. Устройство компактно и просто в конструкции, отсутствие электронных согласующих цепей и малое энергопотребление (благодаря режиму слабого возбуждения АОМ) отличает его от существующих АОМ, разрабатываемых, прежде всего, для функционирования в режиме Брэгговского отклонения. Компактность устройства объемом, не превышающим 0,125 кубических сантиметра (5 мм×5 мм×5 мм), достигается, главным образом, за счет значительного укорачивания длины акустооптического взаимодействия L (фиг.3), что благоприятствует достижению чистого режима дифракции Рамана-Ната. Укорачивание L не приводит к существенному падению сигнала ошибки, выделяемого на смесителе в методе частотно-модуляционной гетеродинной спектроскопии, поскольку фототок сигнала биений на фотоприемнике пропорционален L1/2 (соотношение, установленное авторами в процессе реализации предложенного выше способа). То есть уменьшение длины акустооптического взаимодействия на порядок приводит всего лишь к падению величины сигнала биений втрое, которое, в принципе, может быть компенсировано увеличением оптической мощности, поскольку величина сигнала биений также пропорциональна среднему геометрическому интенсивностей несущей и какой-либо из боковых составляющих. Практически предельная минимальная длина акустооптического взаимодействия определяется поперечными размерами входного лазерного луча и может составлять несколько миллиметров.

[11]

Данный технический результат в части устройства достигается за счет того, что в акустооптическом модуляторе, содержащем акустооптическую ячейку, состоящую из светозвукопровода, выполненного из монокристалла TeO2, с расположенными на нем электроакустическим преобразователем и звукопоглотителем, направление распространения входного лазерного луча с произвольным направлением поляризации совпадает с осью [110] кристалла и перпендикулярно направлению распространения продольной ультразвуковой волны, совпадающему с осью [001] кристалла, длина области акустооптического взаимодействия L, определяющая геометрические размеры монокристалла и габариты самого акустооптического модулятора, а также значения длин волн оптического λ, и акустического Λ излучений, удовлетворяют предельному условию Кляйна-Кука Q=2πLλ/Λ2<0,3 функционирования акустооптического модулятора исключительно в режиме дифракции Рамана-Ната (4. N.Uchida, N. Niizeki, Proc. IEEE, 61, №8, 1073-1092, 1973).

[12]

Предлагаемый акустооптический модулятор, функционирующий исключительно в режиме дифракции Рамана-Ната и имеющий как внешний фазовый модулятор в частотно-модуляционной спектроскопии такие преимущества перед электрооптическим модулятором, как компактность, низкое энергопотребление, широкий диапазон частот модуляции, отсутствие контроля поляризации входного и выходного излучения, в таком качестве и в таком конструктивном исполнении никогда и никем до этого не применялся и не производился.

[13]

Технический результат заключается также в расширении арсенала средств, могущих быть используемыми в качестве компактных внешних фазовых модуляторов в лазерной спектроскопии.

[14]

Изобретение поясняется чертежами.

[15]

На фиг.1 приводится экспериментальная схема гетеродинного метода ЧМ боковых составляющих. Метод реализуется следующим образом: излучение лазера 1 модулируется по фазе в электрооптическом модуляторе 3, на вход которого подается синусоидальный сигнал с опорного ВЧ-генератора 2, усиленный первым усилителем 8, выходное излучение ЕОМ затем пропускается через резонансно-поглощающую дисперсную среду 4 и детектируется на фотоприемнике 5. Электрический сигнал биений с фотоприемника фильтруется в фильтре низкой частоты 6, изменяется по фазе фазовращателем 11 и поступает на ВЧ вход смесителя 7, на другой вход которого подается сигнал опорного ВЧ-генератора. Выходной постоянный сигнал смесителя после усиления во втором усилителе 9 подается в качестве сигнала ошибки 10 в цепь отрицательной обратной связи на контролирующий лазерную частоту элемент. Набор из полуволновых пластинок 12, 14 и поляризаторов 13, 15 выполняет функцию выравнивания поляризаций входного и выходного излучений для исключения из оптического тракта излучения, связанного с остаточной паразитной амплитудной модуляцией излучения в ЕОМ.

[16]

На фиг.2 приводится экспериментальная схема для реализации фазочувствительного способа частотной стабилизации лазерного излучения. Данный способ реализуется так же, как и общепринятый гетеродинный метод ЧМ боковых составляющих, приведенный на фиг.1, за исключением того, что вместо ЕОМ 3 применяется АОМ 3, функционирующий исключительно в режиме дифракции Рамана-Ната. Излучение лазера 1 с произвольным направлением поляризации модулируется по фазе в АОМ 3, выходное излучение АОМ 3, состоящее в режиме слабого возбуждения АОМ 3 из трех лучей, соответствующих нулевому и находящимся в противофазе ±1-м дифракционным порядкам, проходит через резонансно-поглощающую дисперсную среду 4, фокусируется собирающей линзой 11 на фотодиоде фотоприемника 5. Электрический сигнал биений с фотоприемника фильтруется в фильтре низкой частоты 6 и поступает на ВЧ вход смесителя 7, на другой вход которого подается сигнал опорного ВЧ-генератора. Выходной постоянный сигнал смесителя после усиления во втором усилителе 9 подается в качестве сигнала ошибки 10 в цепь отрицательной обратной связи на контролирующий лазерную частоту элемент.

[17]

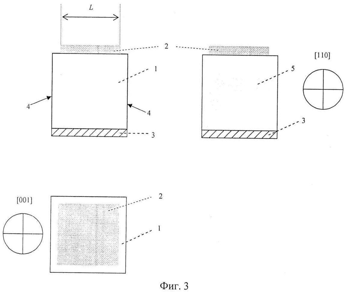
На фиг.3 приводятся эскизы в трех проекциях устройства - акустооптического модулятора для осуществления фазовой модуляции лазерного излучения, содержащего акустооптическую ячейку, состоящую из светозвукопровода 1, выполненного из монокристаллического ТеО2, с расположенными на нем электроакустическим преобразователем 2 и звукопоглотителем 3, причем направление распространения продольной акустической волны совпадает с осью [001] кристалла, на входную и выходную оптические грани 4 светозвукопровода нанесено антиотражающее (просветляющее) покрытие 5, причем световой пучок распространяется вдоль оси [110] кристалла.

[18]

Фазочувствительный способ частотной стабилизации излучения лазера реализуется следующим образом: выходное излучение лазера модулируется по фазе в акустооптическом модуляторе, пропускают частотно-модулированное излучение, состоящее в случае слабого возбуждения акустооптического модулятора из трех лучей, соответствующих нулевому и находящимся в противофазе ±1-м дифракционным порядкам, через резонансно-поглощающую, дисперсную среду, причем частота модуляции может быть гораздо большей ширины пробуемого резонанса, фокусируют прошедшее через среду излучение на фотоприемнике, детектируют на нем высокочастотные биения, гетеродинно детектируют эти высокочастотные биения на смесителе, выделяют выходной постоянный сигнал смесителя и подают его в качестве сигнала ошибки и управления в цепь отрицательной обратной связи на контролирующий лазерную частоту элемент. Фазовая модуляция лазерного излучения проводится с помощью акустооптического модулятора, функционирующего исключительно в режиме дифракции Рамана-Ната, с целью получения частотно-модулированного излучения в чистом виде и уширения частотного диапазона модуляции.

[19]

Для осуществления способа предложено устройство - акустооптический модулятор, устройство которого показано на эскизах фиг.3. Устройство представляет собой акустооптическую ячейку, состоящую из светозвукопровода 1, выполненного из монокристалла, с расположенными на нем электроакустическим преобразователем 2 и звукопоглотителем 3, на входную и выходную оптические грани 4 светозвукопровода нанесено антиотражающее (просветляющее) покрытие 5.

[20]

Устройство работает следующим образом: на входную просветленную 5 грань светозвукопровода 1 (фиг.3), перпендикулярно ей, подается лазерный луч с произвольным напрвлением поляризации, на электроакустический преобразователь 2, подается синусоидальный сигнал модуляции от опорного ВЧ-генератора 2 (фиг.2), прошедшее через выходную просветленную 5 грань светозвукопровода излучение будет состоять из трех лучей, соответствующих нулевому и ±1-м дифракционным порядкам, представляющим частотно-модулированный спектр в чистом виде. Длина области акустооптического взаимодействия L, определяющая геометрические размеры монокристалла и габариты самого акустооптического модулятора, а также значения длин волн оптического λ и акустического Λ излучений, удовлетворяют предельному условию Кляйна-Кука Q=2πLλ/Λ2<0,3 функционирования акустооптического модулятора исключительно в режиме дифракции Рамана-Ната.

[21]

Таким образом, практическая реализация способа и устройства позволяет получить на выходе акустооптического модулятора частотно-модулированный спектр в чистом виде. Причем отсутствие электронных согласующих цепей упрощает конструкцию устройства, функционирующего исключительно в режиме дифракции Рамана-Ната. Кроме того, выбранная геометрия взаимного расположения волновых векторов света и звука относительно кристаллографических осей кристалла TeO2 обеспечивает нечувствительность эффективности дифракции к состоянию поляризации падающего на АОМ лазерного излучения.

Как компенсировать расходы
на инновационную разработку
Похожие патенты