патент
№ RU 2310788
МПК F16K15/03

ОБРАТНЫЙ КЛАПАН ДЛЯ ГОРИЗОНТАЛЬНОГО ТРУБОПРОВОДА

Авторы:
Ильвушин Виктор Сергеевич Лукьянов Юрий Леонидович Павлов Сергей Анатольевич
Все (5)
Номер заявки
2006130674/06
Дата подачи заявки
25.08.2006
Опубликовано
20.11.2007
Страна
RU
Как управлять
интеллектуальной собственностью
Чертежи 
3
Реферат

[17]

Изобретение относится к арматуростроению и предназначено для использования на горизонтальных трубопроводах, применяемых в авиационной технике или в других областях техники, в качестве обратных клапанов, автоматически пропускающих поток газа или жидкости в одном направлении и предотвращающих перетекание в обратном направлении. Обратный клапан содержит корпус, седло, взаимодействующую с седлом заслонку и ограничитель открытого положения заслонки в виде, по меньшей мере, одного упора. Заслонка установлена в верхней части корпуса с возможностью поворота на осях. Оси размещены вне плоскости заслонки. Центр тяжести заслонки расположен в верхней части корпуса и смещен от осей поворота к плоскости заслонки. Седло выполнено в виде конусной поверхности. Взаимодействующая с седлом поверхность заслонки имеет сферическую форму. Упор ограничителя открытого положения заслонки расположен в верхней задней части корпуса. Задняя часть заслонки имеет, по меньшей мере, один упорный буртик для контакта с упором при открытом положении заслонки. Оси заслонки смонтированы на подшипниках и развернуты под острым углом к вертикальной оси клапана. Изобретение направлено на повышение надежности работы клапана путем исключения заклинивания уплотняющих поверхностей и устранения дополнительного сопротивления потоку. 4 ил.

Формула изобретения

Обратный клапан для горизонтального трубопровода, содержащий корпус, седло, взаимодействующую с седлом заслонку, установленную в верхней части корпуса с возможностью поворота на осях, размещенных вне плоскости заслонки, центр тяжести которой расположен в верхней части корпуса и смещен от осей поворота к плоскости заслонки, и ограничитель открытого положения заслонки в виде, по меньшей мере, одного упора, отличающийся тем, что седло выполнено в виде конусной поверхности, а взаимодействующая с ним поверхность заслонки имеет сферическую форму, упор ограничителя открытого положения заслонки расположен в верхней задней части корпуса, а задняя часть заслонки имеет, по меньшей мере, один упорный буртик для контакта с упором при открытом положении заслонки, при этом оси заслонки смонтированы на подшипниках и развернуты под острым углом к вертикальной оси клапана.

Описание

[1]

Изобретение относится к авиационной технике, но может быть использовано в других областях техники, где требуется применение обратных клапанов, автоматически пропускающих поток газа или жидкости в одном направлении и предотвращающих перетекание в обратном направлении.

[2]

Известен обратный клапан для горизонтального трубопровода, содержащий корпус, седло, взаимодействующую с седлом заслонку, установленную в верхней части корпуса с возможностью поворота на осях, размещенных вне плоскости заслонки, центр тяжести которой расположен в верхней части корпуса и смещен от осей поворота к плоскости заслонки, и ограничитель открытого положения заслонки в виде, по меньшей мере, одного упора (см. патент РФ №2172884, МПК F16K 15/03, 1997 г.).

[3]

Известный обратный клапан обладает недостаточной надежностью в работе, поскольку его уплотняющие поверхности не обеспечивают надежную герметизацию проходного сечения клапана, при этом не исключена возможность заклинивания уплотняющих поверхностей. Кроме того, в известном обратном клапане для горизонтального трубопровода ограничитель открытого положения заслонки выполнен в виде перемычки, размещенной в проходном сечении клапана, что создает дополнительное сопротивление потоку и способствует образованию вихрей, а это также понижает надежность обратного клапана в работе.

[4]

Техническим результатом настоящего изобретения является повышение надежности работы обратного клапана путем исключения заклинивания уплотняющих поверхностей и устранения дополнительного сопротивления потоку.

[5]

Данный технический результат достигается тем, что в обратном клапане для горизонтального трубопровода, содержащем корпус, седло, взаимодействующую с седлом заслонку, установленную в верхней части корпуса с возможностью поворота на осях, размещенных вне плоскости заслонки, центр тяжести которой расположен в верхней части корпуса и смещен от осей поворота к плоскости заслонки, и ограничитель открытого положения заслонки в виде, по меньшей мере, одного упора, седло выполнено в виде конусной поверхности, а взаимодействующая с ним поверхность заслонки имеет сферическую форму, упор ограничителя открытого положения заслонки расположен в верхней задней части корпуса, а задняя часть заслонки имеет, по меньшей мере, один упорный буртик для контакта с упором при открытом положении заслонки, при этом оси заслонки смонтированы на подшипниках и развернуты под острым углом к вертикальной оси клапана.

[6]

Изобретение поясняется чертежами.

[7]

На фиг.1 показан вид спереди на обратный клапан для горизонтального трубопровода.

[8]

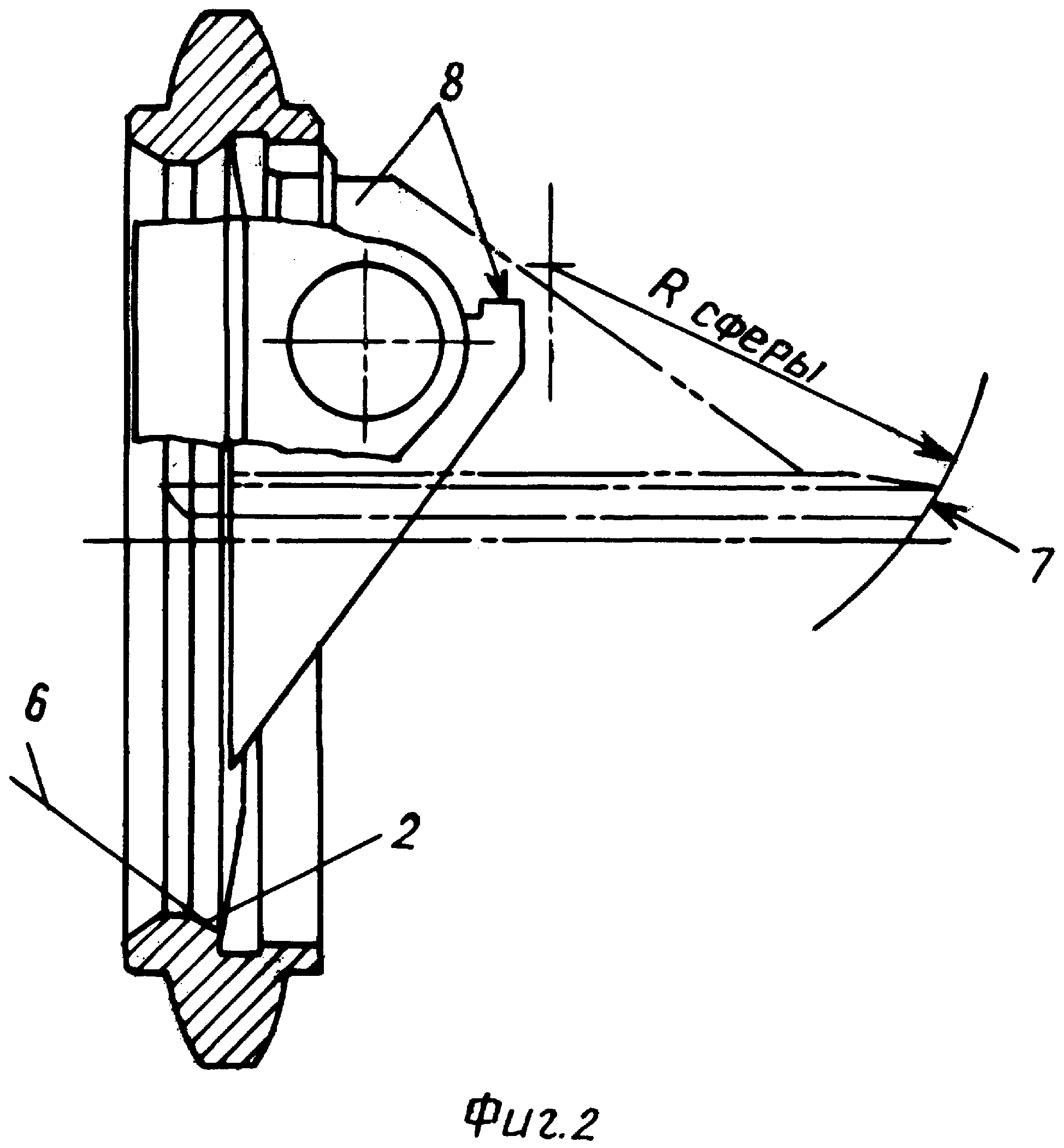
На фиг.2 показан вид сбоку на обратный клапан для горизонтального трубопровода в закрытом положении.

[9]

На фиг.3 изображен вид сбоку на обратный клапан для горизонтального трубопровода при отсутствии давления в трубопроводе.

[10]

На фиг.4 показан вид спереди на обратный клапан для горизонтального трубопровода в рабочем положении, развернутый на острый угол α относительно вертикальной оси клапана.

[11]

Обратный клапан для горизонтального трубопровода состоит из корпуса 1, в котором выполнено седло 2 клапана, установленную в верхней части корпуса на осях 3 посредством подшипников 4 заслонку 5 и ограничитель открытого положения заслонки. Седло 2 клапана выполнено в виде конусной поверхности 6, а контактирующая с седлом поверхность 7 заслонки 5 имеет сферическую форму. Сферическая форма поверхности заслонки, контактирующей с конусной поверхностью седла клапана, обеспечивает хорошую герметичность и не требует притирки и высокой чистоты обработки, при этом исключается закусывание седла клапана в корпусе клапана.

[12]

Ограничитель открытого положения заслонки 5 выполнен в виде упорных буртиков 8, расположенных на задней части корпуса заслонки 5, которые в открытом положении заслонки контактируют с упорами 9, выполненными в верхней части корпуса 1. Оси 3 расположены вне плоскости заслонки 5 под острым углом α к вертикальной оси клапана.

[13]

Обратный клапан для горизонтального трубопровода работает следующим образом.

[14]

При отсутствии движения потока воздуха или жидкости в горизонтальном трубопроводе заслонка 5 обратного клапана под собственным весом опущена и перекрывает сечение трубопровода. Если движение потока направлено в сторону открытия клапана, заслонка 5 за счет разницы площадей над и под осями поворота под давлением потока откроется и встанет в горизонтальное положение на упоры 9. При обратном направлении потока заслонка прижмется к корпусу 1 и герметично перекроет сечение трубы. При этом чем больше давление, тем герметичнее перекрывается сечение. Шаровая поверхность 7 заслонки 5 плотно входит в конусную поверхность 6 седла клапана, самоустанавливаясь в ней.

[15]

Так как центр тяжести заслонки 5 смещен от оси поворота к плоскости заслонки, то при отсутствии потока в трубопроводе заслонка 5 приоткрыта (см. фиг.2). Для закрытия обратного клапана надо создать начальный определенной интенсивности поток, причем для уменьшения интенсивности этого потока надо установить обратный клапан в трубопроводе так, чтобы оси 3 были под острым углом α к вертикали (см. фиг.3). При этом чем больше угол α, тем закрытие обратного клапана будет происходить с меньшей интенсивностью потока. При угле α=90° сила тяжести перестанет закрывать обратный клапан.

[16]

Изобретение позволяет повысить надежность работы обратного клапана за счет исключения заклинивания уплотняющих поверхностей и устранения дополнительного сопротивления потоку.

Как компенсировать расходы
на инновационную разработку
Похожие патенты