патент
№ RU 2403975
МПК B02C4/28

ВАЛКОВЫЙ ИЗМЕЛЬЧИТЕЛЬ-ГОМОГЕНИЗАТОР

Авторы:
Ибрагимов Мансур Фаридович Залевский Виктор Михайлович Рассолов Александр Федорович
Все (7)
Номер заявки
2009131176/21
Дата подачи заявки
18.08.2009
Опубликовано
20.11.2010
Страна
RU
Как управлять
интеллектуальной собственностью
Чертежи 
2
Реферат

Изобретение относится к области измельчения и гомогенизации. Валковый измельчитель-гомогенизатор содержит ведущий и ведомые валки конусообразной формы, большие основания которых направлены в противоположные стороны, и привод. При этом валки расположены в корпусе со съемной чашей вертикально на одном уровне так, что ведомые валки, в количестве не менее трех, расположены планетарно по отношению к ведущему валку и консольно установлены в подшипниковых узлах вращения крышки корпуса. Ведущий валок в осевом направлении соединен с валом привода пружинной муфтой. Между приводом и пружинной муфтой установлено устройство для регулирования усилия сжатия пружинной муфты. В крышке корпуса имеется отверстие для загрузки исходных перерабатываемых материалов. На нижней торцевой части ведущего валка закреплено перемешивающее устройство якорного типа. Технический результат заключается в повышении эффективности процесса измельчения. 2 з.п. ф-лы, 1 ил.

Формула изобретения

1. Валковый измельчитель-гомогенизатор, содержащий ведущий и ведомые валки конусообразной формы, большие основания которых направлены в противоположные стороны, и привод, отличающийся тем, что валки расположены в корпусе со съемной чашей вертикально на одном уровне так, что ведомые валки в количестве не менее трех расположены планетарно по отношению к ведущему валку и консольно установлены в подшипниковых узлах вращения крышки корпуса, а ведущий валок в осевом направлении соединен с валом привода пружинной муфтой, между приводом и пружинной муфтой установлено устройство для регулирования усилия сжатия пружинной муфты, в крышке корпуса над верхним торцом ведущего валка имеется отверстие для загрузки исходных перерабатываемых материалов, а на нижней торцевой части ведущего валка закреплено перемешивающее устройство якорного типа.

2. Валковый измельчитель-гомогенизатор по п.1, отличающийся тем, что корпус снабжен системой обогрева и термостатирования для возможности гомогенизации расплавов термопластичных полимеров с порошкообразными дисперсными наполнителями.

3. Валковый измельчитель-гомогенизатор по п.1, отличающийся тем, что верхний торец ведущего валка выполнен с коническим уклоном в направлении ведомых валков.

Описание

[1]

Изобретение относится к технике измельчения с одновременной гомогенизацией порошкообразных материалов с жидкими компонентами и может быть использовано в отраслях, связанных с созданием композиционных материалов на основе дисперсных порошкообразных компонентов, таких как тальк, каолин, гипс, связанных термопластичными или другими жидкими полимерными связующими, а также в химической и других отраслях промышленности.

[2]

Характерными особенностями валковых измельчителей, способных при этом осуществлять гомогенизацию композиционных материалов, являются сравнительно малые габариты, низкий уровень шума, оптимальное распределение механической энергии для переработки материала при оптимальных энергетических затратах по сравнению с шаровыми, бисерными и молотковыми мельницами. Валковые измельчители достаточно легко переналаживаются на требуемую тонкость помола и степень гомогенизации.

[3]

В технике измельчения мелкодисперсных материалов наибольший эффект достигается истиранием и раздавливанием.

[4]

Известны конические валковые мельницы для пылеугольного топлива разработки ОАО «Тяжмаш», в которых измельчение происходит в результате разрушения твердых исходных частиц коническими валками или роликами, взаимодействующими с плоскими или наклонными деталями. Материал, попадая в зазоры, измельчается в результате раздавливания.

[5]

Данные устройства обеспечивают эффективный помол, но по конструкции не могут обеспечить гомогенизацию измельчаемого материала с жидким компонентом, например расплавами термопластичных полимеров, таких как полиэтилен, полипропилен и др. Это объясняется тем, что, в силу конструктивных особенностей этих устройств, при переработке материала кроме дробления отсутствуют такие воздействия, как межвалковая циркуляция гомогенизируемого материала, а также различия скоростей вращения между вращающимися валками, роликами и плоскими или наклонными ответными деталями устройств.

[6]

Известен валковый измельчитель (патент РФ №2132233, МПК В02С 4/24, опубликованный 27.06.1999), который содержит установленные на раме ведущий и ведомые валки конической формы, большие основания которых направлены в противоположные стороны, и привод. На концах вала ведомого валка установлены в подшипниках два шкива с эксцентриками, снабженные приводом, соединенным с двумя шкивами посредством ременной передачи, а ведомый валок выполнен подпружиненным.

[7]

При этом масса эксцентриков и суммарная масса шкивов с эксцентриками ведомого вала с подшипниками определены зависимостями, связывающими между собой массу эксцентриков, скорость вращения шкива, эксцентриситет, жесткость пружин, предварительную деформацию пружин и суммарную массу шкивов с эксцентриками ведомого валка с подшипниками.

[8]

Согласно этому патенту данное устройство способно работать только в дорезонансном режиме, ограниченном указанными зависимостями, при этом эффект измельчения достигается благодаря ударно-вибрационному воздействию на материал, находящийся в зазоре между ведущим и ведомым валками, что ограничивает возможность регулирования производительности из-за условия работы валков в дорезонансном режиме.

[9]

Одним из недостатков является то, что измельчение в данном устройстве происходит при вращении валков с наибольшим эффектом в момент, соответствующий положению эксцентриков, когда вектор их колебательного воздействия совпадает с направлением межосевой горизонтали валков и направлен в сторону ведущего валка, т.е. один раз за полный оборот валков, что снижает производительность по измельчению.

[10]

При максимальном раскрытии междувалкового зазора, в момент, когда вектор вибрационного воздействия эксцентриков направлен горизонтально в сторону, противоположную ведущему валку, наступает минимальное силовое воздействие на измельчаемый материал.

[11]

Эти факторы приводят к тому, что измельчаемый материал будет иметь переменную дисперсность, проходя через междувалковый зазор, на протяжении каждого оборота валков, причем наиболее эффективное воздействие на материал составит не более четверти времени одного оборота ведомого валка валков измельчителя. Кроме того, два шкива с гибкой передачей не могут обеспечить стабильную скорость вращения ведомого вала по причине неизбежного проскальзывания такого типа передач в колебательном режиме вращения шкивов, имеющих эксцентрики.

[12]

Наиболее близкой к предлагаемому изобретению является валковая мельница (а.с. СССР №354886, МПК В02С 4/30, опубликованное 16.10.1972, зависимое от а.с. №287511, МПК В02С 4/04, опубликованное 15.11.1970 г.).

[13]

Согласно а.с. №354886 два валка данной мельницы имеют конусообразную форму, причем оба вращающихся валка имеют профильную поверхность в виде продольных канавок, при этом на одном из валков канавки имеют треугольный выступающий профиль и на другом - в виде глубоких канавок овальной формы. Согласно тексту данного изобретения валковая мельница предназначена для измельчения и гомогенизации различных органических красителей и полупродуктов, содержащих кристаллические материалы. Недостатком данного устройства является то, что работа устройства возможна только в случае предварительной подготовки смеси, состоящей из исходных жидкого и порошкообразного компонентов, в пастообразное состояние. Это означает, что для работы этого устройства необходим дополнительный аппарат, например, смеситель. Другим недостатком данного изобретения является то, что продольные канавки, в особенности глубокие, имеющие овальную форму, представляют собой застойные зоны, в которых перерабатываемая паста, и главным образом ее порошкообразная составляющая, практически не подвергается измельчению, что не позволяет производить качественное измельчение порошкообразной составляющей пасты. Тем самым ограничивается возможность эффективной работы устройства. Основным предназначением данного устройства является диспергирование, а точнее сказать, гомогенизация заранее подготовленной пасты, и несмотря на заявленную конусообразность валков с противоположным расположением их одноименных торцов, эффект измельчения порошкообразной составляющей перерабатываемого материала, присущий коническим валковым мельницам, практически отсутствует.

[14]

Необходимо также отметить, что разнопрофильность канавок на валках представляет собой весьма сложную техническую задачу при их изготовлении.

[15]

Для реализации вращения валков, по-видимому, каждый из них должен иметь самостоятельный регулируемый привод и, не упомянутое в тексте изобретения, устройство для регулировки или настройки величины междувалкового зазора.

[16]

Техническая задача, положенная в основу заявленного изобретения, состоит в повышении эффективности процесса измельчения при одновременной гомогенизации гетерогенных композиций, состоящих из дисперсных порошкообразных материалов и жидких составляющих, в том числе термопластичных полимеров или термореактивных смол, путем подачи исходных компонентов к валкам без предварительного приготовления пасты, увеличения числа междувалковых зазоров.

[17]

Поставленная задача достигается тем, что в валковом измельчителе-гомогенизаторе, содержащем ведущий и ведомые валки конусообразной формы, большие основания которых направлены в противоположные стороны, и привод, валки расположены в корпусе со съемной чашей вертикально на одном уровне так, что ведомые валки, в количестве не менее трех, расположены планетарно по отношению к ведущему валку и установлены консольно в подшипниковых узлах вращения крышки корпуса, а ведущий валок в осевом направлении соединен с валом привода пружинной муфтой, причем в крышке корпуса, над верхним торцом ведущего валка имеется отверстие для загрузки исходных перерабатываемых материалов, а на нижней торцевой части ведущего валка закреплено перемешивающее устройство якорного типа. Между приводом и пружинной муфтой установлено устройство для регулирования усилия сжатия муфты и, соответственно, контактного усилия взаимодействия между ведущим и ведомыми валками.

[18]

В свою очередь, верхний торец ведущего валка может быть выполнен с коническим уклоном в направлении ведомых валков.

[19]

При варианте измельчения с одновременной гомогенизацией для получения композиционных материалов, содержащих дисперсные порошки и термопластичные или термореактивные полимеры, в конструкции измельчителя-гомогенизатора предусмотрена система обогрева и термостатирования.

[20]

Благодаря планетарному расположению ведомых валков, в которых происходит измельчение и гомогенизация исходного материала, причем в случае гладких валков, без поверхностных канавок, воздействие на материал происходит постоянно и с наибольшим эффектом. Вертикальное расположение валков позволяет обеспечить многократное воздействие на материал, в то время как при горизонтальном их расположении материал подвергается практически однократному воздействию, что снижает качество измельчения и гомогенизации. Планетарное расположение вертикальных ведомых валков создает условия для дополнительного перемешивания перерабатываемого материала в рабочей зоне, что повышает однородность перерабатываемого материала по дисперсности и равномерности распределения порошка в жидком материале.

[21]

Перечисленные признаки изобретения позволяют по сравнению с прототипом достичь требуемой эффективности процесса измельчения и одновременно осуществить гомогенизацию порошкообразных материалов с жидкостями, в том числе и с термопластичными или термореактивными полимерами для получения композиционных материалов со специфическими свойствами.

[22]

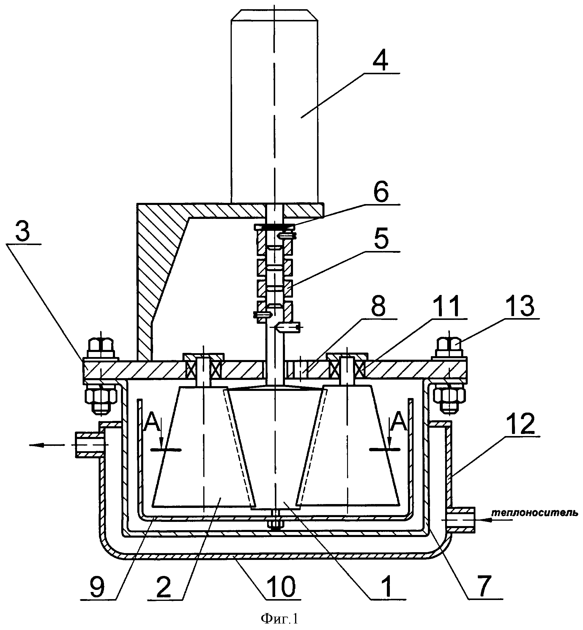
На чертеже схематично представлен валковый измельчитель-гомогенизатор. Он состоит из конического ведущего валка 1 и, как минимум, трех ведомых валков 2. Ведомые валки 2 консольно установлены планетарно по отношению к ведущему валку 1 и вращаются в подшипниковых узлах 11 крышки корпуса 3, на которой жестко закреплен кронштейн привода 4. Вал ведущего валка 1 подпружинен в осевом направлении пружинной муфтой 5 относительно вала привода 4. Осевое усилие сжатия пружинной муфты 5 обеспечивается устройством 6 для регулирования усилия сжатия. Осевое усилие ведущего валка 1 обеспечивает требуемое фрикционное взаимодействие между ним и ведомыми валками 2. В зависимости от величины этого усилия изменяются скорости вращения ведомых валков 2 и, соответственно, режимы измельчения, а также гомогенизации порошкообразного материала, взаимодействующего, как минимум, в трех междувалковых зазорах. Для исключения образования застойных зон вокруг валков ведущий валок 1 снабжен якорной мешалкой 9. Вся рабочая зона устройства вокруг валков находится внутри чаши корпуса 7, скрепленной с крышкой корпуса 3 фланцевыми разъемными соединениями 13.

[23]

В крышке корпуса 3, над верхним торцом ведущего валка 1 расположено отверстие 8 для подачи исходного материала, при этом верхний торец ведущего валка 1 имеет конический уклон в направлении ведомых валков 2.

[24]

Рабочий объем корпуса устройства ограничен съемной чашей 7, которая в случае необходимости гомогенизации термопластичных композиционных материалов дополнительно оснащается системой обогрева и термостатирования 10, выполненной в виде «рубашки» 12 для жидкого теплоносителя.

[25]

Измельчитель-гомогенизатор работает следующим образом.

[26]

Двигатель привода 4 через пружинную муфту 5 приводит во вращение ведущий валок 1, который, взаимодействуя с расположенными планетарно по отношению к нему ведомыми валками 2, путем фрикционной передачи с участием порошкообразного измельчаемого материала, находящегося в зазорах между ведущим и ведомыми валками, приводит во вращение ведомые валки 2.

[27]

По известному принципу действия конических валков, вследствие их конусности качение наблюдается только в сечении с равными диаметрами соприкасающихся валков, а в зонах соприкосновения валков с разными диаметрами скорости вращения контактирующих валков имеют различные значения. Именно в этих зонах происходит измельчение и гомогенизация как в осевом, так и в радиальных направлениях.

[28]

Осевое усилие, создаваемое пружинной муфтой 5, величина которого обеспечивается регулирующим устройством 6, создает требуемое механическое воздействие на материал в междувалковых зазорах.

[29]

Симметричное расположение валков обеспечивает самоцентровку и стабильность величины рабочих клиновых междувалковых зазоров. Необходимое количество ведомых валков должно быть не менее трех.

[30]

Такая схема расположения валков обеспечивает одновременное измельчение и гомогенизацию материала в трех или более клиновых зазорах. В зависимости от размеров валков и всего устройства в целом количество ведомых валков и, соответственно, рабочих зазоров может быть увеличено, что приведет к большей эффективности работы устройства.

[31]

Стабильную работу устройства обеспечивает якорная мешалка 9. Она равномерно подает измельчаемые и гомогенизируемые материалы из периферийных зон чаши 7 в рабочие зазоры валков.

[32]

Для гомогенизации материалов с термопластичными полимерами чаша корпуса 7 снабжена обогревающей «рубашкой» 12.

[33]

Предложенное изобретение позволяет наряду с измельчением порошкообразных материалов осуществлять их гомогенизацию с жидкостями, например смолами, красками, термопластичными и термореактивными полимерами, такими как полиэтилен, полипропилен, для получения высоконаполненных, например, тальком, каолином и т.д. композиционных материалов.

Как компенсировать расходы
на инновационную разработку
Похожие патенты