патент
№ RU 2614240
МПК H05H3/06
Номер заявки
2015147026
Дата подачи заявки
02.11.2015
Опубликовано
24.03.2017
Страна
RU
Как управлять
интеллектуальной собственностью
Чертежи 
1
Реферат

Изобретение относится к области физического приборостроения, в частности к источникам нейтронного излучения, и предназначено для использования при разработке нейтронных и рентгеновских генераторов. Технический результат - расширение функциональных и эксплуатационных возможностей нейтронного генератора. В импульсном нейтронном генераторе, содержащем размещенные коаксиально в герметичном корпусе, залитом жидким диэлектриком, нейтронную трубку, накопительный конденсатор и высоковольтный трансформатор с многорядной вторичной обмоткой и межрядной изоляцией, выступающей за пределы рядов, выполненной на каркасе, и параллельно с вторичной обмоткой трансформатора дополнительную обмотку, намотанную проводом с высоким удельным сопротивлением и высокой магнитной проницаемостью, нейтронная трубка снабжена дополнительным управляемым трехэлектродным источником ионов, мишенный электрод размещен посередине корпуса нейтронной трубки и имеет две симметричные мишени, насыщенные одним или разными изотопами водорода, вторичная обмотка трансформатора и дополнительная обмотка выполнены в виде двух симметричных усеченных конусов, имеющих общее малое основание, при этом крайние витки обмоток, расположенных на малом основании, подключены к мишенному электроду, а крайние витки, расположенные на больших основаниях, подключены к корпусу нейтронного генератора. 1 ил.

Формула изобретения

Импульсный нейтронный генератор, содержащий размещенные коаксиально в герметичном корпусе, залитом жидким диэлектриком, нейтронную трубку, накопительный конденсатор и высоковольтный трансформатор с многорядной вторичной обмоткой и межрядной изоляцией, выступающей за пределы рядов, выполненной на каркасе, и параллельно с вторичной обмоткой трансформатора дополнительную обмотку, намотанную проводом с высоким удельным сопротивлением и высокой магнитной проницаемостью, отличающийся тем, что нейтронная трубка снабжена дополнительным управляемым трехэлектродным источником ионов, мишенный электрод размещен посередине корпуса нейтронной трубки и имеет две симметричные мишени, насыщенные одним или разными изотопами водорода, вторичная обмотка трансформатора и дополнительная обмотка выполнены в виде двух симметричных усеченных конусов, имеющих общее малое основание, при этом крайние витки обмоток, расположенных на малом основании, подключены к мишенному электроду, а крайние витки, расположенные на больших основаниях, подключены к корпусу нейтронного генератора.

Описание

[1]

Изобретение относится к области физического приборостроения, в частности к источникам нейтронного излучения, и предназначено для использования при разработке нейтронных генераторов.

[2]

Известен генератор импульсного потока ионизирующего излучения нейтронов, содержащий расположенные по оси металлического корпуса высоковольтный трансформатор с чашеобразным электродом, в котором размещена ускорительная трубка со схемой ее питания, выполненной на накопительном конденсаторе, включенном между высоковольтным источником питания и первичной обмоткой высоковольтного импульсного трансформатора. Авторское свидетельство СССР №679082, МПК Н05Н 1/00, 1973 г. В этом генераторе высоковольтный трансформатор расположен последовательно с ускорительной трубкой, а для уменьшения напряженности и обеспечения равномерного электрического поля в него введен распределитель электрического поля, выполненный в виде полого усеченного конуса из изоляционного материала, на котором выполнена обмотка из провода с высоким удельным сопротивлением, размещенная коаксиально ускорительной трубке и соединенная одним концом с чашеобразным электродом, а другим - с торцом корпуса. Последовательное расположение высоковольтного трансформатора относительно ускорительной трубки приводит к существенному увеличению размеров генератора. Генератор может производить нейтроны энергий только 14 МэВ или 2,5 МэВ.

[3]

Известен импульсный нейтронный генератор, содержащий размещенные коаксиально в герметичном корпусе, залитом жидким диэлектриком, нейтронную трубку, накопительный конденсатор и высоковольтный трансформатор с многорядной вторичной обмоткой и межрядной изоляцией, выступающей за пределы рядов, выполненный на каркасе в виде полого цилиндра из феррита с металлическим дном, соединенным с концом вторичной обмотки трансформатора и с мишенной частью нейтронной трубки, параллельно с вторичной обмоткой высоковольтного трансформатора введена дополнительная обмотка, намотанная проводом с высоким удельным сопротивлением и высокой магнитной проницаемостью, соединенная одним концом с металлическим дном, а другим - с началом вторичной обмотки. Патент на изобретение РФ №25518840, МПК Н05Н 1/00, прототип.

[4]

Недостатком прототипа является то, что генератор производит нейтроны только одного типа: либо 2,5 МэВ, либо 14 МэВ и имеет ограниченный ресурс работы.

[5]

Техническим результатом изобретения является расширение функциональных и эксплуатационных возможностей нейтронного генератора.

[6]

Технический результат достигается тем, что в импульсном нейтронном генераторе, содержащем размещенные коаксиально в герметичном корпусе, залитом жидким диэлектриком, нейтронную трубку, накопительный конденсатор и высоковольтный трансформатор с многорядной вторичной обмоткой и межрядной изоляцией, выступающей за пределы рядов, выполненной на каркасе, и параллельно с вторичной обмоткой трансформатора дополнительную обмотку, намотанную проводом с высоким удельным сопротивлением и высокой магнитной проницаемостью, нейтронная трубка снабжена дополнительным управляемым трехэлектродным источником ионов, мишенный электрод размещен посередине корпуса нейтронной трубки и имеет две симметричные мишени, насыщенные одним или разными изотопами водорода, вторичная обмотка трансформатора и дополнительная обмотка выполнены в виде двух симметричных усеченных конусов, имеющих общее малое основание, при этом крайние витки обмоток, расположенных на малом основании, подключены к мишенному электроду, а крайние витки, расположенные на больших основаниях, подключены к корпусу нейтронного генератора.

[7]

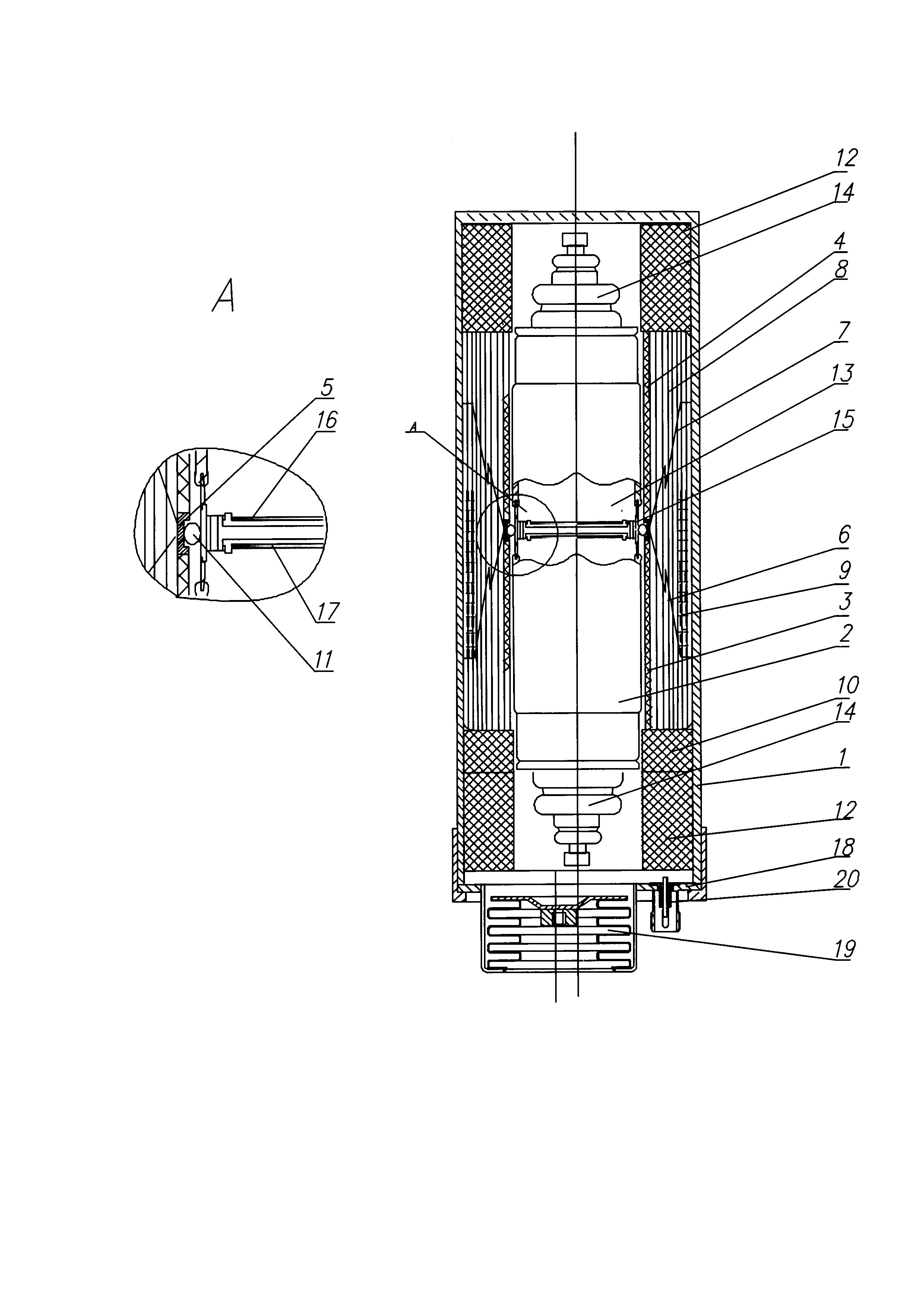
На чертеже представлен предложенный импульсный нейтронный генератор, где 1 - металлический корпус, 2 - нейтронная трубка, 3 - ферритовый сердечник, 4 - изоляционная каркас, 5 - металлическое кольцо, 6 - вторичная обмотка трансформатора, 7 - дополнительная обмотка, 8 - бумажно-пленочная изоляция, 9 - первичная обмотка трансформатора, 10 - накопительный конденсатор, 11 - контактная пружина, 12 - элементы питания ионного источника, 13 - корпус нейтронной трубки, 14 - управляемые трехэлектродные источники ионов, 15 - мишенный электрод нейтронной трубки, 16 - накладная мишень насыщенная тритием (дейтерием), 17 - накладная мишень насыщенная дейтерием (тритием), 18 - крышка генератора, 19 - температурный компенсатор, 20 - высоковольтный герметичный проходной изолятор.

[8]

Генератор выполнен в металлическом корпусе 1, залитом жидким диэлектриком, внутри которого размещена нейтронная трубка 2, высоковольтный импульсный трансформатор, содержащий цилиндрический полый ферритовый сердечник 3, соединенный через металлическое кольцо 5 с изоляционным каркасом 4. На этой сборке расположена вторичная обмотка 6 и параллельно с ней одновременно намотанная проводом с высоким удельным сопротивлением и высокой магнитной проницаемостью дополнительная обмотка 7. Вторичная обмотка трансформатора 6 и дополнительная обмотка 7 выполнены в виде двух симметричных усеченных конусов, имеющих общее малое основание, при этом крайние витки обмоток, расположенные на малом основании, подключены к металлическому кольцу 5 и через контактную пружину 11 - к мишенному электроду 15, а крайние витки, расположенные на больших основаниях, подключены к корпусу 1 нейтронного генератора. Такое расположение вторичной обмотки трансформатора 6 и дополнительной обмотки 7 позволяет равномерно снизить напряжение от высоковольтного мишенного электрода 15 к корпусу 1 генератора, что обеспечивает в генераторе благоприятную конфигурацию электрического поля и отсутствие градиентов напряженности.

[9]

Число витков дополнительной обмотки равно числу витков основной обмотки, обе обмотки наматываются одновременно в противоположные стороны совместно с бумажно-пленочной изоляцией. Так образуются два симметричных усеченных конуса, имеющих общее малое основание.

[10]

Поверх вторичной обмотки 6 мотается первичная обмотка 9. Коаксиально нейтронной трубке расположены элементы питания ионного источника 12 и накопительный конденсатор 10. Нейтронная трубка 2 содержит дополнительный управляемый трехэлектродный источник ионов 14, а мишенный электрод 15 содержит две симметричные накладные мишени 16 и 17, расположенные посередине корпуса нейтронной трубки, и насыщены одним или разными изотопами водорода.

[11]

Для обеспечения электрической прочности и теплового режима генератор залит жидким диэлектриком. В качестве жидкого диэлектрика в генераторе использовано трансформаторное масло ТКп. На крышке генератора 18 установлен температурный компенсатор 19 и высоковольтный герметичный проходной изолятор 20.

[12]

Генератор работает следующим образом.

[13]

При подаче импульса запуска на управляющий электрод ионного источника нейтронной трубки 2 происходит разряд накопительного конденсатора 10 на первичную обмотку 9 импульсного высоковольтного трансформатора. При этом на вторичной обмотке 6 трансформатора формируется импульс напряжения амплитудой (100-150) кВ и передается через металлическое кольцо 5 и контактную пружину 11 на мишенный электрод трубки 15. Одновременно ионный(е) источник(и) нейтронной трубки 2 производит(ят) ионы дейтерия, которые ускоряются в направлении мишени 15(16).

[14]

При бомбардировке мишени 16 в результате ядерной реакции Д(d, n)Не3 образуются нейтроны с энергией 2,5 МэВ, при бомбардировке мишени 17 в результате ядерной реакции T(d, n)Не4 образуются нейтроны с энергией 14 МэВ.

[15]

Таким образом, по сравнению с прототипом предложенное техническое решение позволяет расширить функциональные возможности нейтронного генератора.

[16]

Генератор может производить нейтроны различных энергий - 14 МэВ и 2,5 МэВ по выбору пользователя. Кроме того, можно задать режим работы генератора с одновременной и последовательной работой ионных источников.

[17]

При насыщении мишеней одним типом изотопа водорода может быть увеличен поток нейтронов при одновременной работе ионных источников, по крайней мере, в два раза, а при последовательной работе ионных источников увеличить ресурс работы по сравнению с прототипом.

[18]

При работе генератора в нормальном режиме дополнительная обмотка 7 не оказывает влияния на формирование ускоряющего напряжения, так как основная обмотка имеет на порядки меньшее сопротивление.

[19]

При работе генератора в то время, когда источник ионов нейтронной трубки не срабатывает, режима "холостого хода" высоковольтного трансформатора не происходит, так как вторичная обмотка 6 подключена к параллельной дополнительной обмотке 7 с высоким сопротивлением, т.е. к нагрузке 30-40 кОм. Таким образом, стабилизируется напряжение на вторичной обмотке высоковольтного трансформатора и существенно снижаются градиенты напряженности электрического поля за счет введения обмоток 6 и 7, выполненных в виде двух симметричных усеченных конусов, имеющих общее малое основание, что позволяет увеличить ускоряющее напряжение и выход нейтронов в импульсе.

Как компенсировать расходы
на инновационную разработку
Похожие патенты