Изобретение относится к способам измерения механических свойств материалов, в том числе механических напряжений, с использованием оптических приборов для анализа напряжений. В ходе реализации способа определяют локальное механическое напряжение в пленке на подложке и двухосный модуль упругости пленки и подложки. Данный подход включает в себя формирование карты толщины подложки, определение кривизны поверхности подложки, формирование карты толщины пленки, расчет механических напряжений по формуле Стони. Определяют постоянные двухосного модуля упругости подложки и пленки с помощью создания избыточного давления. Величину кривизны поверхности определяют посредством геометрического расположения точек рельефа. Технический результат заключается в повышении точности определения механических напряжений и расширении перечня измеряемых механических свойств материалов. 2 н.п. ф-лы, 2 ил.
1. Способ определения локального механического напряжения в пленке на подложке, включающий формирование карты толщины подложки, определение кривизны поверхности подложки, формирование карты толщины пленки, расчет механических напряжений по формуле Стони, отличающийся тем, что определяют постоянные двухосного модуля упругости подложки и пленки с помощью избыточного давления, величину кривизны поверхности определяют посредством геометрического расположения точек рельефа. 2. Устройство для определения локального механического напряжения в пленке на подложке, включающий источник излучения, детектор излучения, компьютер, отличающийся тем, что введен компрессор для формирования избыточного давления, используемого для определения двухосного модуля упругости подложки, на основании которого определяют механические напряжения в пленке.
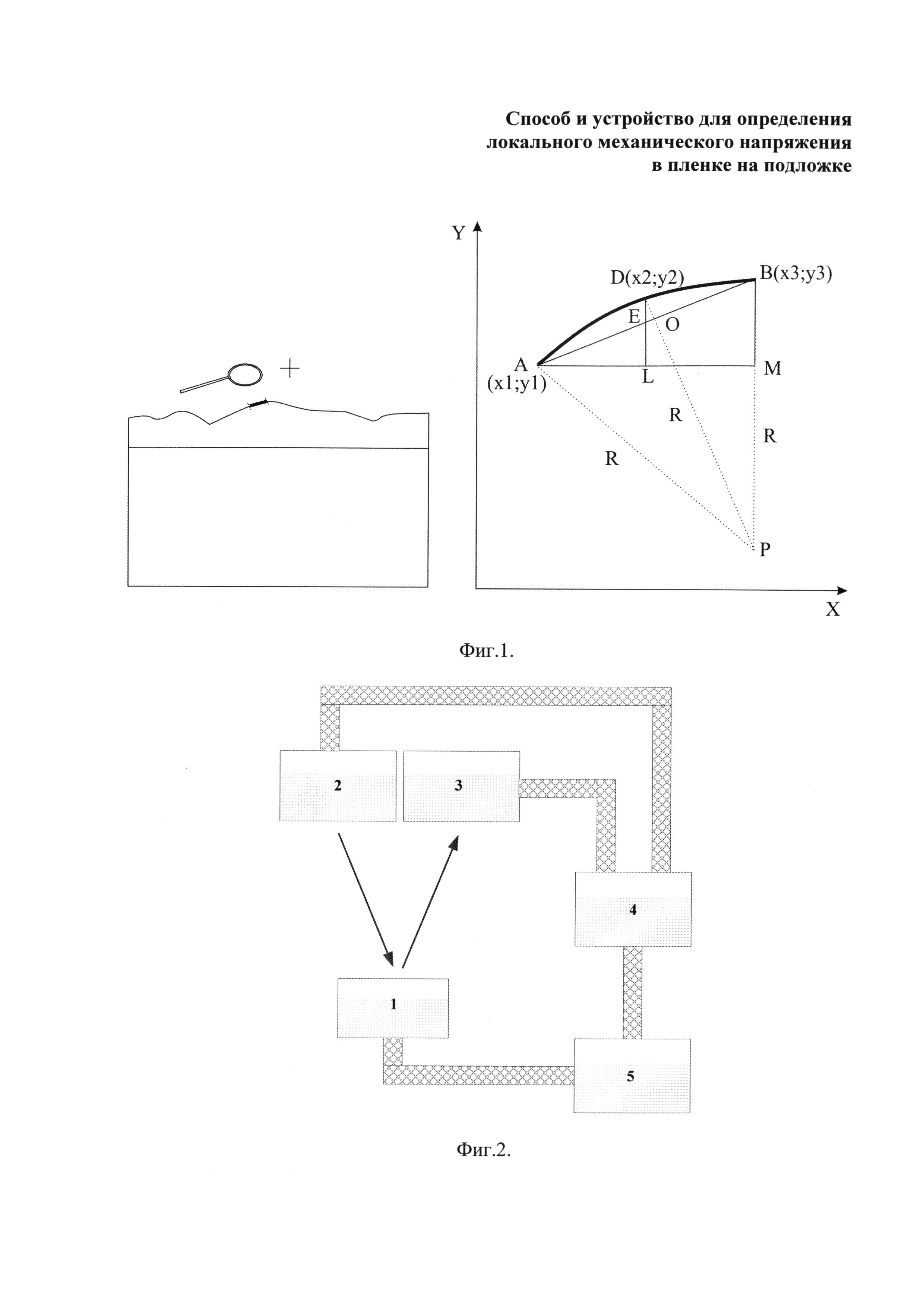
Изобретение относится к способам измерения механических свойств материалов, в том числе механических напряжений, с использованием оптических приборов для анализа напряжений. Проведение технологических операций изменяет поверхность пластин (например, полупроводниковые подложки), изгибая или выравнивая ее. Следовательно, изменяется площадь контактирования между пластинами, что изменяет вероятность их успешного сращивания при операции бондинга. В процессе проведения контактной литографии варьируется площадь соприкосновения между маской и поверхностью пластины, а значит, изменяется вероятность формирования элементов с минимальными топологическими размерами. Использование различных масок позволяет воздействовать на незащищенный материал, изменяя параметры локальной области пластины (кристалла). Механические напряжения в пленках могут привести к растрескиванию, отслаиванию или гофрированию пленки, что снижает надежность и производительность устройств. Поэтому, необходимо измерять параметр материала (например, кривизну поверхности, двухосный модуль упругости) после каждого этапа обработки в локальной области пластины. Таким образом, важно знать механические свойства для повышения выхода годных кристаллов, а также для повышения надежности и производительности устройств. Известно изобретение на устройство и способ определения свойств материалов под действием локального растягивающего напряжения через механический контакт, создаваемый стилусом [1]. К недостаткам аналога можно отнести необратимые деформации в структуре в процессе измерений. Учитывая, что способ является контактным, то при работе с целой пластиной может возникнуть цепная реакция между соседними кристаллами. При исследовании одного кристалла, трещины могут перейти на соседний кристалл и так далее. В результате, снизится точность проведения исследования. В некоторых случаях пластина может расколоться. Известен аналог на систему и способ обнаружения локального механического напряжения в интегральных устройствах [2]. Излучение с лазера попадает на локальную область устройства, например, интегральная схема, выполненная на кремниевой пластине. Возникает внешняя сила, в результате которой сканирующий зонд, расположенный над интегральным устройством начинает перемещаться. Измеряя перемещение зонда, определяют работу выхода, из которой вычисляют значений механических напряжений в локальной области. К недостаткам аналога можно отнести сложность контроля отклонения зонда под действием внешней силы. Это связано с тем, что при одинаковой внешней силы величина перемещения будет разной из-за изменения свойств материала зонда в течение времени. Если выполнить зонд из платины (материала, который химически инертен к окружающей среде), то возрастает стоимость устройства. Таким образом, в течение времени погрешность способа будет возрастать. Известен патент на способ и устройство, в котором рассчитывают механические напряжения в локальной области по формуле Стони, определив кривизну поверхности и значение толщины пленки в каждой из исследуемых локальных областей пластины [3]. Недостатком изобретения является неопределенность остальных переменных в формуле Стони, а именно: толщины подложки в локальной области и значение двухосного модуля упругости подложки. В процессе технологического маршрута полируют и утоняют пластины, следовательно, изменяется толщина пластины и свойства упругости. Ближайшим аналогом является способ и устройство определения локального напряжения в пленке на подложке. Способ содержит формирование карты толщины подложки, определение кривизны поверхности подложки на основе вторых производных функций, формирование карты толщины пленки, определение локального напряжения в пленке с использованием карты толщины подложки, кривизны поверхности и карты толщины пленки. Устройство содержит источник излучения, детектор излучения, компьютер, соединенный с приемными сигналами от детектора, и компьютерный носитель, имеющий машиночитаемый программный код для того, чтобы заставить компьютер создавать карту толщины подложки, определять кривизну поверхности подложки, в которой кривизна поверхности подложки определяется как вторая производная функций, формировать карту толщины пленки на подложке, определять локальное напряжение в пленке с использованием карты толщины подложки и пленки, кривизны поверхности, определяемой на основе вторых производных функции [4]. К недостаткам прототипа можно отнести неопределенность переменной в формуле Стони. В процессе расчета механических напряжений по формуле Стони используется несколько переменных: толщина подложки, кривизна поверхности, толщина пленки, двухосный модуль упругости подложки. В прототипе двухосный модуль упругости материала подложки не определяется, что увеличивает погрешность определения величины механических напряжений. Также присутствует неточность в определении величины кривизны поверхности исследуемого образца. Выполняется анализ рельефа посредством функции-полинома, которая описывает рельеф поверхности. Далее, вычисляют производную первого и второго порядка этой функции. Однако, в процессе расчета производной вносится погрешность за счет дифференцирования. Задачей настоящего изобретения является повышение точности определения механических напряжений и расширение перечня измеряемых механических свойств материалов. Суть изобретения состоит в том, что определяют локальное механическое напряжение в пленке на подложке и двухосный модуль упругости пленки и подложки, включающие формирование карты толщины подложки, определение кривизны поверхности, формирование карты толщины пленки, причем определяют постоянные двухосного модуля упругости подложки и пленки с помощью избыточного давления, величину кривизны поверхности определяют посредством геометрического расположения точек рельефа. Определение величины кривизны поверхности было представлена в работе [5] и показано на фиг. 1. Проведены геометрические преобразования, в результате которых получена формула (1) для расчета радиуса кривизны поверхности R посредством геометрического расположения точек рельефа без использования дифференцирования: Достоверность формулы (1) проверена в программной среде SolidWorks. Построена дуга ADB с произвольными значениями координат точек (xi, yi). Далее произведен расчет радиуса R по формуле (1). После этого проведены отрезки BP, АР длиной R таким образом, что длина отрезков AP, DP и BP одинаковая. Получен замкнутый контур ADBP. Это доказывает достоверность формулы (1). Далее был составлен алгоритм вычисления величины R по формуле (1). Алгоритм в виде программного кода для ЭВМ интегрирован в компьютер, связанный с источником излучения, детектором излучения и компрессором. Величина двухосного модуля упругости подложки (Е/(1-μ)) определяется с помощью избыточного давления воздуха, создаваемого компрессором. Переменная (Е/(1-μ)) выражается из формулы (2): где Р - избыточное давление, w- отклонение центра исследуемой структуры; σo, Далее рассчитывают величины механических напряжений по формуле (3) Стони без использования значений постоянных материалов из литературных источников: где σ - механические напряжения в пленке, hs - толщина подложки, hƒ - толщина пленки. Массив значений переменных E/(1-μ), hs, hƒ и R подставляются в формулу (3). Таким образом, все значения определены на основе эксперимента. Это позволит рассчитать значение механических напряжений с большей точностью по формуле Стони. Аналогично, возможно определить величину двухосного модуля упругости пленки, которая позволяет определить механические свойства пленки. Зная величину двухосного модуля подложки и пленки можно более точно составить модель, следовательно, с меньшей погрешностью спрогнозировать срок службы прибора и его производительность. Учитывая миниатюрность устройств на основе нано- и микро размерных пленок и суровые условия работы прибора, возникают различные размерные и температурные эффекты, которые изменяют свойства упругости используемого материала. При изменении свойств материала, изменяются пределы эксплуатации прибора и его производительность. Таким образом, расширение набора измеряемых механических свойств материалов (по сравнению с прототипом) позволит более точно контролировать на этапе разработки пределы эксплуатации прибора и его производительность и своевременно вносить коррективы. На фиг. 1 показана схема для анализа рельефа поверхности с целью расчета величины кривизны поверхности. На фиг. 2 показана схема устройства для определения локального механического напряжения в пленке на подложке и двухосного модуля упругости пленки и подложки, включающая столик 1, источник излучения 2, детектор излучения 3, компьютер 4, компрессор 5. Пример конкретного применения устройства. Устройство состоит из столика 1, на который устанавливается подложка с нанесенной на ней пленкой, источника излучения 2, детектора излучения 3, компьютера 4, соединенного с источником излучения 2, детектором излучения 3 и компрессора 5. Устройство работает следующим образом. Возникает излучение от источника излучения 2, которое попадает на подложку с пленкой. Отраженная часть излучения фиксируется детектором излучения 3. Весь процесс управляется компьютером 4. Избыточное давление с компрессора 5 подается на подложку с пленкой. Пример конкретного применения способа. Зная интенсивность падающего и отраженного излучения, формируют карту толщины подложки, карту толщины пленки. С помощью компьютера анализируют рельеф поверхности, определяя кривизну локальной области исследуемого образца. Определяют кривизну поверхности подложки посредством геометрического расположения точек без использования производных. Рассчитывают величину механического напряжения по формуле Стони (3) с использованием двухосного модуля упругости подложки из литературных источников. Затем начинают подавать избыточное давление. Таким образом, получают график зависимости прогиба от избыточного давления. Далее по формуле (2) получают набор значений двухосного модуля упругости материала для набора пар значений избыточное давление-прогиб. Вычисляют среднее значение двухосного модуля упругости. Полученное значение подставляют в формулу Стони (3) и рассчитывают величину механических напряжений без использования значений постоянных материалов из литературных источников. Таким образом, предлагаемое устройство и способ позволяют более точно определить механические напряжения в пленке на подложке, а также определить двухосный модуль упругости пленки и подложки. Источники информации: 1. Международный патент №2017/100665. 2. Патент РФ №2466381. 3. Патент США №9625823. 4. Патент США №8534135 - прототип. 5. Дюжев Н.А., Дедкова А.А., Гусев Е.Э., Новак А.В.. Методика измерения механических напряжений в тонких пленках на пластине с помощью оптического профилометра // Известия Вузов. Электроника. 2016, №4, с. 367-372.

