патент
№ RU 2530575
МПК G01N33/36

УСТАНОВКА ДЛЯ ИССЛЕДОВАНИЯ КИНЕТИКИ ПРОПИТКИ ВОЛОКНИСТЫХ НАПОЛНИТЕЛЕЙ ПОЛИМЕРНЫМИ СВЯЗУЮЩИМИ

Авторы:
Чуднов Илья Владимирович Бородулин Алексей Сергеевич Нелюб Владимир Александрович
Все (5)
Номер заявки
2013122080/15
Дата подачи заявки
15.05.2013
Опубликовано
10.10.2014
Страна
RU
Как управлять
интеллектуальной собственностью
Чертежи 
2
Реферат

Изобретение относится к области аналитики и может быть использовано для исследования и оптимизации режимов формования изделий из полимерных композиционных материалов. Установка для исследования кинетики пропитки волокнистых наполнителей полимерными связующими содержит резервуар со связующим, устройство для пропитки связующим волокнистого наполнителя с окном наблюдения из прозрачного материала и компрессор. Устройство для пропитки представляет собой горизонтальную трубку с отводами, выполненную из прозрачного материала, в которой один открытый конец заполнен исследуемым волокнистым наполнителем, а другой конец соединен с резервуаром со связующим для пропитки волокон под давлением, причем на этом же конце трубки в отводе установлена газовая емкость для ввода газового пузырька в связующее в трубке. Для контроля давления связующего в трубке подключен манометр, а для определения скорости движения связующего в трубке и волокнах установлен прибор для видеофиксации с привязкой к реальному времени перемещения газового пузырька в связующем и волокнах. Во всех отводах трубки к указанным компрессору, резервуару со связующим, газовой емкости и манометру установлены запорные краны. Изобретение позволяет получить точные экспериментальные данные по кинетике течения связующего в образцах волокнистого наполнителя. 2 з.п. ф-лы, 2 ил., 1 пр.

Формула изобретения

1. Установка для исследования кинетики пропитки волокнистых наполнителей полимерными связующими, состоящая из резервуара со связующим, устройства для пропитки связующим волокнистого наполнителя с окном наблюдения из прозрачного материала для визуальной оценки качества пропитки, компрессора для создания давления для пропитки, отличающаяся тем, что устройство для пропитки представляет собой горизонтальную трубку с отводами, выполненную из прозрачного материала, с возможностью заполнения одного открытого конца исследуемым волокнистым наполнителем, а другой конец соединен с резервуаром со связующим для пропитки волокон под давлением в трубке и на этом же конце трубки в отводе установлена газовая емкость для ввода газового пузырька в связующее в трубке, при этом для контроля давления связующего в трубке подключен манометр, а для определения скорости движения связующего в трубке и волокнах установлен прибор для видеофиксации с привязкой к реальному времени перемещения газового пузырька в связующем и волокнах; во всех отводах трубки к указанным компрессору, резервуару со связующим, газовой емкости, манометру установлены запорные краны.

2. Установка по п.1, отличающаяся тем, что отводы трубки выполнены в виде отдельных трубок-тройников, соединенных герметичными манжетами с оставшейся частью горизонтальной трубки из прозрачного материала.

3. Установка по п.1 или 2, отличающаяся тем, что она опционально снабжена дополнительными устройствами различного рода контролируемых воздействий на связующее и волокнистый наполнитель, а именно: температуры, ультразвука, других существенно влияющих на процессы физических факторов.

Описание

[1]

Изобретение относится к области переработки полимеров, точнее к исследованиям и оптимизации режимов формования изделий из полимерных композиционных материалов (ПКМ), изготовленных по технологии типа RTM (ResinToolMolding), LRI (LiquidResinInfusion), RFI (ResinFilmInfusion). Суть этих процессов заключается в пропитке полимерным связующим под давлением волокнистого материала, предварительно уложенного в закрытую оснастку (преформу).

[2]

Уровень техники

[3]

Технологии (RTM, LRI, RFI) являются безавтоклавными, поэтому относятся к разряду энергосберегающих. Они также менее материалоемкие и более производительные. Скорость и качество пропитки связующим волокнистого материала являются в случае применения этих технологий определяющими параметрами. Для разных связующих и волокнистых структур эта скорость может сильно колебаться из-за многофакторности процесса и необходимости его постоянной оптимизации. В качестве волокнистого материала могут быть использованы угле-, стекло-, органе- волокна или ткани на их основе. После отверждения смолы готовое изделие извлекается из преформы. Отверждение материала может проходить при повышенной температуре или при температуре цеха. Применение специальных связующих позволяет значительно снизить время пропитки волокон связующим и время полимеризации.

[4]

Поэтому актуальным является изучение процесса пропитывания образца волокнистого материала в режиме фильтрации смолы через смоченный образец из волокнистого наполнителя. Особенно это важно при выборе новых смол и связующих при разработке новых композиционных волокнистых материалов. Для этих целей обычно используют экспериментальные установки, предназначенные для изучения кинетики пропитывания полимерными связующими волокнистых материалов, имеющих структуру капиллярно-пористого тела, и изучающие процесс в условиях воздействия различных внешних факторов: давления, температуры, вибрации, ультразвука и пр.

[5]

Установки для исследований кинетики процессов такой направленности до сих пор не запатентованы в России, хотя есть ряд патентов на установки и устройства для исследований кинетики других прикладных физических процессов, а именно:

[6]

- патент РФ 2393007 Установка для исследования кинетики диспергирования частиц в жидких средах при воздействии возмущений давления (МПК B01F 11/00, опубл. 27.06.2010);

[7]

- патент РФ 2399913 Устройство для исследования кинетики релаксации напряженного состояния легкодеформируемых материалов при фиксированной деформации (МПК G01N 33/36, опубл. 20.09.2010);

[8]

- патент РФ 2392615 Устройство для исследования кинетики релаксации напряженного состояния легкодеформируемых материалов (МПК G01N 29/00, опубл. 20.06.2010);

[9]

- патент РФ 2336145 Устройство для исследования кинетики процессов газовыделения из образцов литейных стержней (МПК B22D 46/00, опубл. 20.10.2008);

[10]

- патент РФ 2142618 Прибор для исследования кинетики адсорбции поверхностно-активного компонента на поверхности жидких бинарных сплавов (МПК G01N 13/00, B22D 11/00, B22D 37/00, F16K 31/02, опубл. 10.12.1999).

[11]

Из патентов РФ по сходной тематике исследуемых материалов в предлагаемом изобретении есть только 1 патент РФ 2449271 Способ определения характеристического параметра образца пластмассы, армированной углеродным волокном (МПК G01N 33/44, G01N 21/95, В29С 70/00, опубл. 27.04.2012, патентообладатель ЭЙРБАС ОПЕРЕЙШНЗ ГМБХ (DE)). Достигаемый технический результат заключается в обеспечении возможности анализа отдельных характеристических параметров образца. Однако здесь запатентован способ, а не устройство, а также воздействие на образец производят электромагнитным излучением предопределенного спектра, что совершенно не связано с процессами пропитки волокнистых материалов полимерными связующими под давлением.

[12]

При выборе пары «связующее-наполнитель» приходится экспериментально отрабатывать технологию их пропитки в каждом конкретном случае. Для этой цели исследования этих процессов используют различные стенды и установки (см. Джоган О.М., Костенко О.П. Методы изготовления деталей из композиционных материалов пропиткой в оснастке, стр.111. Сборник научных трудов Выпуск 4 (68) 2011 ВОПРОСЫ ПРОЕКТИРОВАНИЯ И ПРОИЗВОДСТВА КОНСТРУКЦИЙ ЛЕТАТЕЛЬНЫХ АППАРАТОВ, http://k407.khai.edu/uploads/editor/36/4638/sitepage 30/files/4(68).pdf, которые в итоге предназначены для разработки соответствующих технологических рекомендаций изготовления волокнистых структур. Указанное оборудование относится к научно-исследовательскому. В его состав обычно входят: резервуары со смолой, компрессоры для ее подачи с помощью сжатого воздуха, устройство для пропитки волокнистого заполнителя, и при необходимости обогреваемая оснастка. Определяющим узлом в данной конструктивной схеме является конструкция пропитывающего устройства. Поэтому при дальнейшем анализе основное внимание обращалось на конструктивные характеристики пропитывающих устройств, которые в основном зависят от размера и формы образца (заготовки, преформы) волокнистого заполнителя.

[13]

Наиболее известные пропитывающие устройства (приняты за прототип) (см. Optimization of Resin Infusion Processing for Composite Materials: Simulation and Characterization Strategies (Dr.-Ing. Andrew George), стр.81, 87, 88, http://elib.uni-stuttgart.de/opus/volltexte/2011/6263/pdf/GEORGE_PRINT.pdf) представляют собой конструкции, состоящие из двухсборных прямоугольных плит с плоской щелью между ними для размещения плоской волокнистой заготовки. Отверстие для ввода смолы расположено в центре плиты. Для визуальной оценки качества пропитки образца верхняя плита (или ее часть) обычно выполнены из прозрачного материала. Это позволяет оценивать пропитываемость и смачиваемость волокнистого материала в процессе движения фронта потока смолы вдоль волокна, а также фиксировать его скорость.

[14]

К недостаткам указанной конструкции следует отнести следующее:

[15]

- данное устройство эффективно для оптимизации пропитки образцов больших размеров и особенно при пропитывании тканных структур;

[16]

- из-за неоднородности течения смолы по всей ширины образца не представляется возможным оценить точно кинетику пропитывания волокна, т.к. нежелательная «раздвижка» нитей в процессе течения связующего искажает результаты измерений;

[17]

- сложность автоматизации измерения скорости процесса пропитки;

[18]

- ограниченность верхнего предела давлений из-за сложности крепления и герметизации верхней прозрачной части преформы;

[19]

- невозможность определения капиллярного давления жидкости в системе;

[20]

- невозможность надежного определения статического угла смачивания волокон связующим.

[21]

Раскрытие изобретения

[22]

Задача, на решение которой направлено заявленное изобретение, заключается в создании установки для исследования кинетики пропитки волокнистых наполнителей полимерными связующими, в которой устранены перечисленные выше недостатки, для получения существенно расширенной научно-технической и технологической информации о пропитывании промышленных волокон полимерными связующими.

[23]

Поставленная задача решается за счет того, что установка для исследования кинетики пропитки волокнистых наполнителей полимерными связующими состоит из резервуара со связующим, устройства для пропитки связующим волокнистого наполнителя с окном наблюдения из прозрачного материала для визуальной оценки качества пропитки, компрессора для создания давления для пропитки. При этом устройство для пропитки представляет собой горизонтальную трубку с отводами, выполненную из прозрачного материала, с возможностью заполнения одного открытого конца исследуемым волокнистым наполнителем. Другой конец трубки соединен с резервуаром со связующим для пропитки волокон под давлением в трубке, и на этом же конце трубки в отводе установлена газовая емкость для ввода газового пузырька в связующее в трубке. Для контроля давления связующего в трубке подключен манометр, а для определения скорости движения связующего в трубке и волокнах установлен прибор для видео фиксации с привязкой к реальному времени перемещения газового пузырька в связующем и волокнах. Во всех отводах трубки к указанным компрессору, резервуару со связующим, газовой емкости, манометру установлены запорные краны.

[24]

Отводы трубки могут быть выполнены в виде отдельных трубок-тройников, соединенных герметичными манжетами с оставшейся частью горизонтальной трубки из прозрачного материала.

[25]

Установка может быть опционально снабжена дополнительными устройствами различного рода контролируемых воздействий на связующее и волокнистый наполнитель, а именно: температуры, ультразвука, других существенно влияющих на процессы физических факторов.

[26]

Перечень фигур

[27]

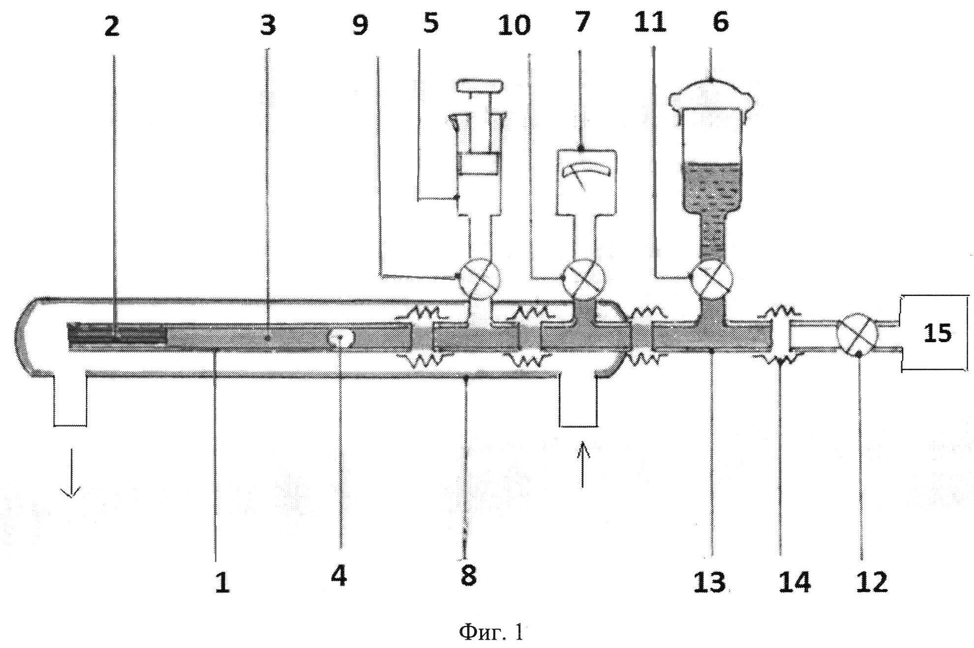
На фиг.1 показана схема установки для исследования кинетики пропитки волокнистых наполнителей связующими.

[28]

На фиг.2 показано влияние давления Р на скорость V фильтрации эпоксидного связующего, например, марки ЭДТ-69М, через волокнистый наполнитель - арамидные волокна марки Армос.

[29]

Осуществление изобретения

[30]

На фиг.1 позициями обозначены: 1 - трубка из прозрачного материала; 2 - пучок волокон в виде жгута или ткани, плотно уложенный в один открытый конец трубки; 3 - полимерное связующее; 4 - газовый пузырек; 5 - газовая емкость с поршнем; 6 - резервуар для подачи полимерного связующего; 7 - манометр для замера давления в системе; 8 - опциональный термостат-калорифер для обогрева трубки; 9, 10, 11, 12 - запорные краны; 13 - трубки-тройники, 14 - герметичные соединительные манжеты, 15 - компрессор.

[31]

Данное пропитывающее устройство позволяет за счет применения прозрачной трубки, заполненной исследуемым волокнистым материалом, изучать различные режимы (турбулентный, ламинарный) пропитки волокнистых материалов связующим при повышенных давлениях.

[32]

Устройство обеспечивает:

[33]

- возможность моделирования процесса пропитывания и получения точных экспериментальных данных по кинетике течения связующего в небольших образцах с волокнистым заполнителем;

[34]

- высокую точность измерения скорости потока связующего и возможность автоматизации этой операции за счет фото/видео фиксации перемещения газового пузырька;

[35]

- возможность работы с жидкостями различной вязкости;

[36]

- возможность экспериментального определения капиллярного давления и статических углов смачивания волокна исследуемым связующим;

[37]

- возможность изучения влияния на процесс пропитывания волокон температуры, ультразвука и других факторов.

[38]

Изучение пропитываемости образца пучка волокон в виде жгута или ткани проводят в режиме смачивания и в режиме фильтрации жидкости через смоченный образец. Режим смачивания заканчивается при появлении капли жидкости с внешней стороны волокнистого образца, после чего сразу же можно начинать изучение кинетики процесса фильтрации. В обоих случаях скорость пропитывания сканируют в широком диапазоне давлений, дискретность изменения которых устанавливается опытным путем. При пропитывании в режиме смачивания полагают, что жидкость движется во всех капиллярах между волокнами с одинаковой скоростью, т.е. поверхность ее фронта остается плоской и перпендикулярной оси капилляра.

[39]

Порядок работы с данным устройством следующий:

[40]

1. Непосредственно перед работой проверяют чистоту трубки 1.

[41]

2. Предназначенное для исследований волокно в виде пряди 2, содержащей необходимое количество нитей (жгутов), помещают в трубку 1 следующим образом: прядь перегибают пополам, укрепляют на тонкой проволоке или нитке и протаскивают через полость трубки 1, при этом сначала аккуратно обрезают нижний конец пряди, затем, протянув через всю трубку 1, отрезают ее верхнюю часть так, чтобы на открытом конце трубки 1 остался волокнистый образец требуемой длины.

[42]

3. Трубка 1 с волокнистым образцом 2 должна быть установлена строго горизонтально, ее положение периодически проверяется уровнемером (на фиг.1 не показан).

[43]

4. После установки волокнистого образца 2 в трубку 1 проверяют положение кранов 9, 10, 11, 12: все они должны быть закрыты.

[44]

5. Заполнив емкость 6 связующим 3, открывают кран 11 и после полного заполнения трубки 1 связующим 3 из газовой емкости 5 через крап 9 впускают газовый пузырек 4, после чего кран 9 сразу закрывают.

[45]

6. Открывают кран 10, соединяя таким образом манометр 7 с трубкой 1.

[46]

7. Проводят несколько измерений скорости перемещения газового пузырька 4 под действием капиллярного давления жидкости в капиллярах между волокнами, соответствующего внешнему давлению Р=0. Строят зависимость скорости движения V связующего от времени τ:

[47]

V=A (1-χ)τ-0,5, где χ - объемное содержание волокон в образце в трубке.

[48]

8. Если расстояние от пузырька до волокнистого образца достаточно для продолжения эксперимента, включают компрессор 15, открывают кран 12. Начиная с эксперимента, когда Р>0, можно измерять скорость фильтрации связующего 3 через волокнистый образец 2, не прерывая течения связующего при разных дискретных уровнях давления Р. Режим фильтрации начинается после появления капли связующего с внешнего торца образца. В этом режиме измеряют скорость V (м/сек) фильтрации связующего 3 через образец 2. Для каждого образца 2 в конкретной серии экспериментов строят зависимость V=f(P). Каждая серия экспериментов включает образцы с различным объемным содержанием волокон в образце в диапазоне 20…60 об.% (меньше 20 об.% - образец выдавливается жидким связующим, больше 60 об.% - невозможно ввести образец в трубку).

[49]

Отдельно проводят измерения капиллярного давления (движущей силы пропитывания) Рк, для чего при закрытых кранах 9, 10, 12 и открытом кране 11 соединяют компрессор 15 (при снятом опциональном термостате-калорифере 8) с другим концом трубки 1 с образцом 2, связующим 3 и газовым пузырьком 4. Включив компрессор 15, плавно увеличивают его давление Р, измеряемое по манометру самого компрессора 15 (это противодавление, направленное против капиллярной силы) до тех пор, пока газовый пузырек 4 не остановится в связующем, т.е. когда Р=Рк. В этом эксперименте связующее может свободно частично возвращаться в емкость 6 через открытый кран 11.

[50]

Известно уравнение отечественного ученого, член-корреспондента АН СССР Б.В. Дерягина (Дерягин Б.В. // Доклады АН СССР, 1946. Т.53, №7. С.627-630):

[51]

Pk=σжCosθ0f(1)

[52]

где σж - поверхностное натяжение жидкости (Н/м);

[53]

θ0- равновесный статический угол смачивания волокна связующим;

[54]

f=γSудχ(1-χ), где

[55]

γ - средняя плотность волокна,

[56]

Sуд - удельная площадь поверхности волокна в м2/г,

[57]

χ - относительное содержание волокон в образце (в долях от единицы объема).

[58]

Поэтому уравнение (1) можно представить в следующем виде:

[59]

Pk=σжCоsθ0γSудχ(1χ)(2)

[60]

откуда: Cosθ0=Pk/(σжγSудχ(1χ))(3)

[61]

По уравнению (3) определяют величину среднего статического угла θ0 смачивания волокна связующим, экспериментальное определение которого другими методами чрезвычайно трудоемко, при этом его значение надежно усреднено по сотням и даже тысячам волокон.

[62]

Пример осуществления изобретения

[63]

Ниже представлены результаты исследования пропитки эпоксидным связующим арамидных волокон 2, расположенных в стеклянной трубке 1.

[64]

На фиг.2 показано влияние давления Р на скорость (V) фильтрации связующего ЭДТ-69М через волокна марки Армос. Кривые 1, 2, 3, представленные на фиг.2, соответствуют различному содержанию волокон в трубке. Для всех зависимостей характерно заметное изменение угла наклона при некотором (критическом) давлении (Ркр):

[65]

- при 42% содержании волокон в трубке Ркр=13×103н/м2;

[66]

- при 47% содержании волокон в трубке Ркр=27×103н/м2;

[67]

- при 51% содержании волокон в трубке Ркр=52×103н/м2.

[68]

До достижения критического давления Ркр сопротивление течению связующего между волокнами остается большим вследствие высокой вязкости граничных слоев связующего, образовавшихся на волокнах. Граничные слои связующего резко сужают эффективное сечение межволоконных капилляров, и движение связующего в них существенно замедляется, что значительно увеличивает продолжительность пропитки волокнистой заготовки. Поэтому определение Ркр для каждого содержания волокна в заготовке необходимо для определения оптимального давления пропитывания Р, которое должно превышать величину Ркр.

[69]

Полученные результаты могут быть использованы в качестве рекомендаций при выборе режимов пропитывания (оптимального давления) и для расчета на прочность пресс-формы при ее проектировании.

[70]

Таким образом, предложенное техническое решение обеспечивает реализацию исследования и определения базовых параметров кинетики пропитывающего устройства, отвечающего современным научным и практическим требованиям, и тем самым достигается решение задач изобретения.

Как компенсировать расходы
на инновационную разработку
Похожие патенты