патент
№ RU 2683892
МПК B60T8/18

Привод автоматического регулятора режимов торможения на тележке рельсового транспортного средства

Авторы:
Мещерин Юрий Васильевич Хохулин Алексей Михайлович Цибизов Максим Николаевич
Все (6)
Номер заявки
2018116438
Дата подачи заявки
03.05.2018
Опубликовано
02.04.2019
Страна
RU
Как управлять
интеллектуальной собственностью
Чертежи 
1
Реферат

Изобретение относится к области железнодорожного транспорта. Привод автоматического регулятора режимов торможения на тележке рельсового транспортного средства содержит авторежим с подводящими воздуховодами, ограничитель вертикального перемещения и двуплечий рычаг. На опорной площадке, расположенной в центральной части двуплечего рычага, установлен регулировочный винт со сферической головкой и контргайкой для контакта с упором авторежима. Двуплечий рычаг шарнирно закреплен на отдельном кронштейне, взаимодействующем опорной площадкой, расположенной в его центральной части, с упором авторежима, консольной частью опирается на необрессоренную экипажную часть рельсового транспортного средства посредством боковой цилиндрической поверхности опоры, установленной на вертикальной поверхности двуплечего рычага с возможностью переустановки в отверстиях. Достигается повышение эффективности и надежности работы тормозной системы рельсового транспортного средства. 2 ил.

Формула изобретения

Привод автоматического регулятора режимов торможения на тележке рельсового транспортного средства, содержащий авторежим с подводящими воздуховодами, жестко закрепленный на отдельном кронштейне, двуплечий рычаг, шарнирно закрепленный на отдельном кронштейне, взаимодействующий опорной площадкой, расположенной в его центральной части, с упором авторежима, консольной частью опирающийся на необрессоренную экипажную часть рельсового транспортного средства, ограничитель вертикального перемещения, отличающийся тем, что отдельный кронштейн с жестко закрепленным авторежимом установлен на обрессоренной части рамы тележки рельсового транспортного средства, консольная часть двуплечего рычага опирается на необрессоренную экипажную часть рельсового транспортного средства посредством боковой цилиндрической поверхности опоры, установленной на вертикальной поверхности двуплечего рычага с возможностью переустановки в отверстиях, выполненных на продольной оси вертикальной поверхности двуплечего рычага для регулирования величины перемещения упора авторежима в соответствии с величиной статического прогиба рессорного подвешивания тележки рельсового транспортного средства, при этом на опорной площадке, расположенной в центральной части двуплечего рычага, установлен регулировочный винт со сферической головкой и контргайкой для контакта с упором авторежима.

Описание

[1]

Изобретение относится к тормозному оборудованию железнодорожного транспорта и предназначено для регулирования силы нажатия тормозных колодок или накладок дисковых тормозов в зависимости от величины и диапазона загрузки рельсового транспортного средства.

[2]

Известен привод автоматического регулятора режимов торможения, выполненный в виде двуплечевого рычага, взаимодействующего центральной частью с вилкой авторежима и разделяющей рычаг на два плеча, одно из которых, направляющее, состоит из двух рычагов, шарнирно соединенных по принципу параллелограмма и закрепленных посредством кронштейна на раме кузова вагона, второе плечо, нажимное, выполнено в виде скобы, взаимодействующей с опорной планкой балочки авторежима, установленной на неподрессоренной части тележки, передаточное отношение направляющего и нажимного плеч находится в пределах от 1,6 до 1,7, а направляющее плечо снабжено ограничителем вертикального перемещения, выполненного в виде выносной планки и ограничителем горизонтального перемещения, выполненного в виде поддерживающей скобы /1/.

[3]

Недостатком известного привода автоматического регулятора режимов торможения является установка привода авторежима на раме кузова вагона, что затрудняет работу осмотрщику вагонов и усложняет выкатку тележек в случае эксплуатационной необходимости из-за провисания рычага привода, контактирующего с необрессоренной частью тележки вагона.

[4]

Другим недостатком привода авторежима является наличие дополнительных шарниров и подвижных элементов, снижающих эксплуатационную надежность привода и тормозной системы в целом.

[5]

Кроме того, ограниченный диапазон передаточного соотношения направляющего и нажимного плеч двуплечевого рычага от 1,6 до 1,7 не позволяет унифицировать привод авторежима для применения его на некоторых типах рельсовых транспортных средств, различающихся характеристиками рессорного подвешивания.

[6]

Известен привод авторежима рельсового транспортного средства, принятый за прототип, выполненный в виде рычага, шарнирно закрепленного на обрессоренной части рельсового транспортного средства и контактирующего с необрессоренной частью тележки транспортного средства при помощи опоры, содержащей опорную площадку, жестко закрепленную в средней зоне рычага и имеющую возможность контактирования со штоком авторежима, выполненную в виде сегмента цилиндра, плоской частью закрепленного на рычаге /2/.

[7]

Недостатком известного привода авторежима рельсового транспортного средства является установка авторежима и шарнирно закрепленного рычага на обрессоренной части рельсового транспортного средства, что затрудняет работу обслуживающего персонала по осмотру и обслуживанию авторежима, а также усложняет выкатку тележек в случае эксплуатационной необходимости из-за провисания рычага привода, контактирующего с необрессоренной частью тележки транспортного средства.

[8]

Другим недостатком привода является невозможность изменения передаточного соотношения плеч рычага привода для регулировки величины перемещения упора авторежима, при которой изменяется давление сжатого воздуха в тормозном цилиндре от минимального до максимального в зависимости от статического прогиба рессорного подвешивания в диапазоне тара - брутто рельсового транспортного средства.

[9]

Техническим результатом заявленного изобретения является повышение эффективности и надежности работы тормозной системы рельсового транспортного средства путем предотвращения юза колесных пар при торможении с использованием максимально допустимых тормозных сил в результате регулирования сил нажатия тормозных колодок или накладок в зависимости от загрузки рельсового транспортного средства без ограничения диапазона статического прогиба рессорного подвешивания, повышение эксплуатационной надежности привода с минимальным количеством шарниров и подвижных элементов, возможность изменения передаточного соотношения плеч рычага привода для регулировки величины перемещения упора авторежима, улучшение условий работы обслуживающего персонала за счет легкого доступа к приводу для осмотра и обслуживания без выкатки тележек.

[10]

Указанный технический результат достигается тем, что в приводе автоматического регулятора режимов торможения на тележке рельсового транспортного средства, содержащем авторежим с подводящими воздуховодами, жестко закрепленный на отдельном кронштейне, двуплечий рычаг, взаимодействующий опорной площадкой, расположенной в его центральной части с упором авторежима, консольной частью опирающийся на необрессоренную экипажную часть рельсового транспортного средства, ограничитель вертикального перемещения, отдельный кронштейн с жестко закрепленным авторежимом установлен на обрессоренной части рамы тележки рельсового транспортного средства, консольная часть двуплечего рычага оперта на необрессоренную экипажную часть рельсового транспортного средства посредством боковой цилиндрической поверхности опоры, установленной на вертикальной поверхности двуплечего рычага с возможностью переустановки в отверстиях, выполненных на продольной оси вертикальной поверхности двуплечего рычага для регулирования величины перемещения упора авторежима в соответствии с величиной статического прогиба рессорного подвешивания тележки рельсового транспортного средства, при этом на опорной площадке, расположенной в центральной части двуплечего рычага установлен регулировочный винт со сферической головкой и контргайкой для контакта с упором авторежима.

[11]

Сущность изобретения представлена на следующих чертежах:

[12]

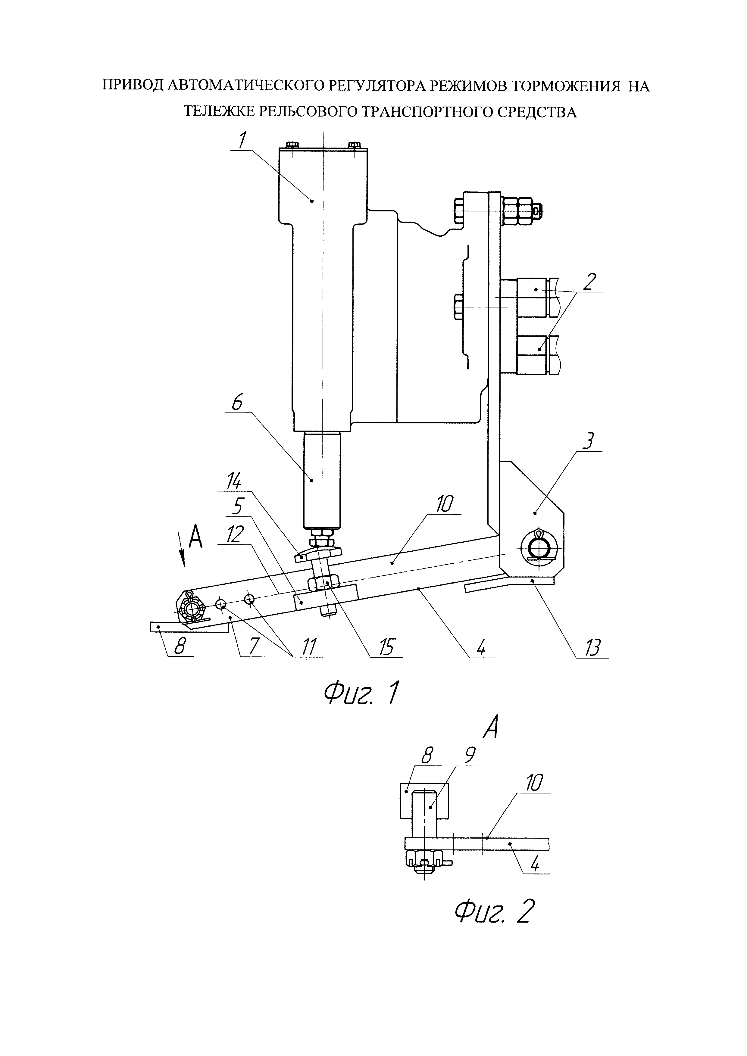
На фиг. 1 - общий вид привода автоматического регулятора режимов торможения на тележке рельсового транспортного средства.

[13]

На фиг. 2 - вид А на консольную часть двуплечего рычага. Привод автоматического регулятора режимов торможения на тележке рельсового транспортного средства (фиг. 1), содержит авторежим 1 с подводящими воздуховодами 2, жестко закрепленный на отдельном кронштейне 3 обрессоренной части рамы тележки (на чертеже не показана), двуплечий рычаг 4, шарнирно закрепленный на отдельном кронштейне 3. Опорная площадка 5 в центральной части двуплечего рычага 4 взаимодействует с упором 6 авторежима 1, а консольная часть 7 двуплечего рычага 4 опирается на необрессоренную экипажную часть 8 рельсового транспортного средства (на чертеже показана условно) посредством боковой цилиндрической поверхности опоры 9 (фиг. 2), установленной на вертикальной поверхности 10 двуплечего рычага 4 с отверстиями 11, выполненными на продольной оси 12 вертикальной поверхности 10 двуплечего рычага 4 для переустановки опоры 9. Ограничитель 13 вертикального перемещения закреплен на отдельном кронштейне 3 рельсового транспортного средства. На опорной площадке 5, расположенной в центральной части двуплечего рычага 4 установлен регулировочный винт 14 со сферической головкой и контргайкой 15 для контакта с упором 6 авторежима 1.

[14]

Привод автоматического регулятора режимов торможения на тележке рельсового транспортного средства работает следующим образом.

[15]

После подкатки тележки с приводом автоматического регулятора режимов торможения под рельсовое транспортное средство в порожнем состоянии и подключения подводящих воздуховодов 2 авторежима 1 в тормозную сеть рельсового транспортного средства, привод регулируется регулировочным винтом 14 со сферической головкой по необходимой величине давления воздуха и фиксируется контргайкой 15.

[16]

При загрузке или разгрузке рельсового транспортного средства его рама сжимает или разжимает комплект рессорного подвешивания экипажной части и в результате обрессоренная часть рамы тележки вместе с авторежимом 1, установленным на отдельном кронштейне 3 перемещается вниз или вверх относительно необрессоренной экипажной части 8 рельсового транспортного средства. Двуплечий рычаг 4, шарнирно закрепленный на отдельном кронштейне 3, консольной частью 7 опирающийся на необрессоренную экипажную часть 8 посредством боковой цилиндрической поверхности опоры 9 поворачивается в вертикальной плоскости и опорная площадка 5, расположенная в центральной части двуплечего рычага 4 через регулировочный винт 14 со сферической головкой взаимодействует с упором 6 авторежима 1, перемещая его в вертикальной плоскости, способствуя изменению величины давления сжатого воздуха в тормозных цилиндрах рельсового транспортного средства, регулируя, таким образом, силы нажатия тормозных колодок или накладок.

[17]

Для соответствия величины статического прогиба рессорного подвешивания тележки рельсового транспортного средства в диапазоне тара - брутто с величиной перемещения упора 6 авторежима 1, при которой изменяется давление сжатого воздуха в тормозном цилиндре от минимального до максимального, в зависимости от статического прогиба рессорного подвешивания рельсового транспортного средства, подбирается необходимое соотношение плеч двуплечего рычага 4, которое можно изменить переустановкой опоры 9 в отверстиях 11, выполненных на продольной оси 12 вертикальной поверхности 10 двуплечего рычага 4.

[18]

Ограничитель 13 вертикального перемещения, установленный на кронштейне 3, ограничивает перемещение двуплечего рычага 4 и позволяет избежать провисания привода автоматического регулятора режимов торможения в случае необходимости поднятия рельсового транспортного средства для выкатки тележек или разборки тележки с выкаткой колесных пар.

[19]

Предложенный привод автоматического регулятора режимов торможения на тележке рельсового транспортного средства может использоваться без ограничений на пассажирских или грузовых рельсовых транспортных средствах, особенно имеющих весьма низкий коэффициент тары.

[20]

Неограниченный диапазон регулировки передаточного соотношения плеч двуплечего рычага привода позволяет установить необходимую величину перемещения упора авторежима для всех типов рельсовых транспортных средств, различающихся характеристиками рессорного подвешивания. При этом привод рассчитан на применение в нем всех существующих образцов авторежимов и на их взаимозаменяемость независимо от характеристики назначения.

[21]

Минимальное наличие в приводе шарниров и подвижных элементов повышает эксплуатационную надежность привода и тормозной системы в целом.

[22]

Применение привода автоматического регулятора режимов торможения на тележке рельсового транспортного средства облегчает работу обслуживающего персонала, снижает трудоемкость и сокращает время на осмотр и обслуживание тормозных систем рельсовых транспортных средств. Кроме того, упрощается технология выкатки тележек в случае эксплуатационной необходимости, поскольку отсутствует необходимость дополнительных работ по закреплению от возможного провисания рычага привода, контактирующего с необрессоренной частью транспортного средства.

[23]

В результате применения предложенного привода автоматического регулятора режимов торможения на тележках, примененных на опытном вагоне-платформе модели 13-6981 с низким коэффициентом тары удалось обеспечить безъюзовое торможение при максимальных потребных силах тормозного нажатия во всем диапазоне скоростей начала торможения при всех допускаемых осевых нагрузках.

[24]

Источники информации:

[25]

1. RU, патент на полезную модель №45691 U1, «Привод автоматического регулятора режимов торможения», МПК В60Т 8/18, В61Н 13/32, опубл. 27.05.2005

[26]

2. RU, патент на полезную модель №80149 U1, «Привод авторежима рельсового транспортного средства», МПК В60Т 8/18, В61Н 13/32, опубл. 27.01.2009

Как компенсировать расходы
на инновационную разработку
Похожие патенты