патент
№ RU 2212053
МПК G06K9/00

ДАТЧИК ИЗОБРАЖЕНИЯ ПАПИЛЛЯРНЫХ ЛИНИЙ КОЖИ ПАЛЬЦА

Авторы:
КАН Илья Александрович (US)
Номер заявки
2002129393/09
Дата подачи заявки
06.11.2002
Опубликовано
10.09.2003
Страна
RU
Как управлять
интеллектуальной собственностью
Чертежи 
3
Реферат

[39]

Изобретение относится к средствам опознания личности, а именно к устройствам считывания и распознавания отпечатков пальцев. Его применение при организации автоматизированных систем пропуска и доступа к базам данных позволяет получить технический результат в виде снижения требований к характеристикам чувствительного элемента датчика без снижения точности распознавания изображения. Этот результат достигается благодаря тому, что устройство содержит средства формирования оптического образа папиллярных линий на поверхности матрицы, блок задания экспозиции оптического излучения, облучающего папиллярные линии пальца, средства заряда каждого емкостного элемента до предварительно заданного напряжения, средства сравнения, блок формирования однобитного массива результатов сравнения опорного напряжения с напряжением на каждом из емкостных элементов после облучения папиллярных линий пальца и средства управления. 16 з.п. ф-лы, 4 ил.

Формула изобретения

1. Датчик изображения папиллярных линий кожи пальца, содержащий матрицу емкостных элементов, упорядоченных в строки и столбцы, причем емкостные элементы выполнены с близкой к нулевой межэлектродной проводимостью, при отсутствии воздействия на соответствующий емкостной элемент оптического излучения и возможностью релаксации заряда с одинаковой для всех емкостных элементов постоянной времени при облучении соответствующего емкостного элемента со стороны одного из электродов оптическим излучением с заданной экспозицией и волновым спектром, датчик содержит средства формирования оптического образа папиллярных линий на поверхности матрицы при облучении папиллярных линий пальца оптическим излучением, блок задания экспозиции оптического излучения, облучающего папиллярные линии пальца, средства заряда каждого емкостного элемента до предварительно заданного напряжения, средства сравнения, формирующие результаты сравнения опорного напряжения с напряжением на каждом из емкостных элементов после облучения папиллярных линий пальца оптическим излучением, блок формирования однобитного массива результатов сравнения опорного напряжения с напряжением на каждом из емкостных элементов после облучения папиллярных линий пальца, каждый бит которого соответствует результату сравнениями, и средства управления, обеспечивающие, в пределах одного цикла измерения, поочередное срабатывание средств заряда и, через заданный промежуток времени, средств сравнения.

2. Датчик по п. 1, характеризующийся тем, что содержит блок регулирования опорного напряжения и выполнен с возможностью проведения нескольких циклов измерения при разных значениях опорного напряжения, при этом блок формирования однобитного массива выполнен с возможностью формирования соответствующего однобитового массива результатов сравнения для каждого значения опорного напряжения при равных значениях экспозиции оптического излучения, облучающего папиллярные линии пальца для каждого значения опорного напряжения.

3. Датчик по п. 2, характеризующийся тем, что содержит блок контроля контрастности, выполненный с возможностью определения первого опорного напряжения, такого, что число емкостных элементов, на которых напряжение после облучения папиллярных линий пальца оптическим излучением больше первого опорного напряжения, превышает заданное первое значение, и второго опорного напряжения, такого, что число емкостных элементов, на которых напряжение после релаксации больше второго опорного напряжения, не превышает заданное второе значение.

4. Датчик по п. 3, характеризующийся тем, что блок контроля контрастности выполнен с возможностью обеспечения дискретного изменения значений опорного напряжения от первого значения опорного напряжения до второго значения опорного напряжения с постоянным шагом дискретизации.

5. Датчик по п. 3 или 4, характеризующийся тем, что блок регулирования опорного напряжения выполнен с возможностью формирования последовательности импульсов опорного напряжения.

6. Датчик по п. 1, характеризующийся тем, что выполнен с возможностью проведения нескольких циклов измерения при разных значениях экспозиции оптического излучения, облучающего папиллярные линии пальца, а блок формирования однобитного массива выполнен с возможностью формирования соответствующего массива результатов сравнения для каждого значения экспозиции при равных значениях опорного напряжения.

7. Датчик по п. 6, характеризующийся тем, что выполнен с возможностью регулирования экспозиции путем изменения интенсивности излучения источника оптического излучения.

8. Датчик по п. 7, характеризующийся тем, что источник излучения выполнен с возможностью освещения папиллярных линий пальца последовательными импульсами оптического излучения.

9. Датчик по п. 6, характеризующийся тем, что выполнен с возможностью регулирования экспозиции путем изменения заданного промежутка времени.

10. Датчик по любому из пп. 6-9, характеризующийся тем, что содержит блок контроля контрастности, выполненный с возможностью определения первого значения экспозиции, такого, что число емкостных элементов, на которых напряжение после облучения папиллярных линий пальца оптическим излучением больше опорного напряжения, превышает заданное первое значение, и второго значения экспозиции, такого, что число емкостных элементов, на которых напряжение после релаксации больше опорного напряжения, не превышает заданное второе значение.

11. Датчик по п. 10, характеризующийся тем, что блок контроля контрастности выполнен с возможностью дискретного изменения значения экспозиции от первого значения до второго с постоянным шагом дискретизации.

12. Датчик по любому из предыдущих пунктов, характеризующийся тем, что матрица емкостных элементов выполнена в виде МОП структуры, на общей, для всех емкостных элементов матрицы, подложке.

13. Датчик по любому из предыдущих пунктов, характеризующийся тем, что средства формирования оптического образа папиллярных линий на поверхности матрицы при облучении папиллярных линий пальца оптическим излучением содержат прозрачную призму, выполненную с возможностью отражения оптических лучей, создаваемых источником излучения на поверхность матрицы, при этом отражающая поверхность представляет собой грань призмы, расположенную под таким углом к направлению падения оптических лучей, прошедших через призму, что обеспечивается полное отражение лучей на границе раздела сред материал призмы - воздух, причем призма установлена с возможностью приложения поверхности кожи пальца к внешней поверхности указанной грани в зоне отражения оптических лучей.

14. Датчик по п. 13, характеризующийся тем, что коэффициент преломления материала призмы приближенно равен коэффициенту преломления рогового слоя эпидермиса пальца человека.

15. Датчик по п. 13, характеризующийся тем, что коэффициент преломления материала призмы больше коэффициента преломления рогового слоя эпидермиса пальца человека.

16. Датчик по любому из пп. 2-15, характеризующийся тем, что содержит блок формирования многобитового массива, значение каждого из элементов которого равно сумме битов, соответствующих одному емкостному элементу матрицы, принадлежащих однобитным массивам, соответствующим всем проведенным циклам измерения.

17. Датчик по п. 16, характеризующийся тем, что содержит средства сравнения многобитового массива с предварительно заданным многобитовым массивом и формирования соответствующих сигналов при положительном или отрицательном результате сравнения.

Описание

[1]

Изобретение относится к криминалистической технике и системам безопасности, в частности к средствам опознания личности и авторизации доступа, и может быть использовано в электронных замках, а также для организации автоматизированных систем пропуска на охраняемые объекты, доступа к базам данных и автоматизированного управления безналичными денежными средствами.

[2]

Наиболее близким аналогом изобретения является датчик изображения папиллярных линий кожи пальца, раскрытый в патенте US 5,907,627 А, 25.05.1999, G 06 К 9/00, содержащий матрицу емкостных элементов, упорядоченных в строки и столбцы, блок заряда емкостных элементов до заданного опорного напряжения, средства сравнения опорного напряжения с напряжением на каждом из емкостных элементов после приложения к матрице пальца и блок формирования массива результатов сравнения опорного напряжения с напряжением на каждом из емкостных элементов после приложения пальца.

[3]

Основными недостатками описанного аналога являются высокая сложность изготовления матрицы емкостных элементов, имеющих характеристики, необходимые для обеспечения требуемой точности распознавания изображения папиллярных линий кожи, а также недостаточная надежность и долговечность датчика, изготовленного на основе описанной матрицы, обусловленная тем, что в процессе считывания изображения поверхность пальца непосредственно соприкасается с чувствительными элементами матрицы, что особенно важно при использовании датчика в автоматизированных системах контроля за коллективным доступом к охраняемым объектам или базам данных.

[4]

Таким образом, задача, на решение которой направлено настоящее изобретение, состоит в создании надежного устройства для считывания и распознавания отпечатков пальцев, которое может быть использовано в качестве элемента электронного замка, а также при организации автоматизированных систем контроля за коллективным доступом к охраняемым объектам или базам данных.

[5]

Технический результат, достигаемый при реализации изобретения, заключается в снижении требований к характеристикам чувствительного элемента датчика без снижения точности распознавания изображения папиллярных линий кожи пальца и с одновременным снижением стоимости и повышением надежности и долговечности датчика за счет отсутствия подвергаемых механическому износу элементов на поверхности датчика.

[6]

Датчик изображения папиллярных линий кожи пальца содержит матрицу емкостных элементов, упорядоченных в строки и столбцы. Емкостные элементы выполнены с близкой к нулевой межэлектродной проводимостью при отсутствии воздействия на соответствующий емкостной элемент оптического излучения и возможностью релаксации заряда с одинаковой для всех емкостных элементов постоянной времени при облучении соответствующего емкостного элемента со стороны одного из электродов оптическим излучением с заданной экспозицией и волновым спектром. Датчик содержит средства формирования оптического образа папиллярных линий на поверхности матрицы при облучении папиллярных линий пальца оптическим излучением, блок задания экспозиции оптического излучения, облучающего папиллярные линии пальца. Датчик содержит средства заряда каждого емкостного элемента до предварительно заданного напряжения, средства сравнения, формирующие результаты сравнения опорного напряжения с напряжением на каждом из емкостных элементов после облучения папиллярных линий пальца оптическим излучением, блок формирования однобитного массива результатов сравнения опорного напряжения с напряжением на каждом из емкостных элементов после облучения папиллярных линий пальца, каждый бит которого соответствует результату сравнения, и средства управления, обеспечивающие в пределах одного цикла измерения поочередное срабатывание средств заряда и через заданный промежуток времени средств сравнения.

[7]

Кроме того, в частном случае реализации изобретения датчик может содержать блок регулирования опорного напряжения и может быть выполнен с возможностью проведения нескольких циклов измерения при разных значениях опорного напряжения, при этом блок формирования однобитного массива может быть выполнен с возможностью формирования соответствующего однобитового массива результатов сравнения для каждого значения опорного напряжения при равных значениях экспозиции оптического излучения, облучающего папиллярные линии пальца для каждого значения опорного напряжения.

[8]

Кроме того, в частном случае реализации изобретения датчик может содержать блок контроля контрастности, выполненный с возможностью определения первого опорного напряжения такого, что число емкостных элементов, на которых напряжение после облучения папиллярных линий пальца оптическим излучением больше первого опорного напряжения, превышает заданное первое значение, и второго опорного напряжения, такого, что число емкостных элементов, на которых напряжение после релаксации больше второго опорного напряжения, не превышает заданное второе значение.

[9]

Кроме того, в частном случае реализации изобретения блок контроля контрастности может быть выполнен с возможностью обеспечения дискретного изменения значений опорного напряжения от первого значения опорного напряжения до второго значения опорного напряжения с постоянным шагом дискретизации.

[10]

Кроме того, в частном случае реализации изобретения блок регулирования опорного напряжения может быть выполнен с возможностью формировании последовательности импульсов опорного напряжения.

[11]

Кроме того, в частном случае реализации изобретения датчик может быть выполнен с возможностью проведения нескольких циклов измерения при разных значениях экспозиции оптического излучения, облучающего папиллярные линии пальца, а блок формирования однобитного массива может быть выполнен с возможностью формирования соответствующего массива результатов сравнения для каждого значения экспозиции при равных значениях опорного напряжения.

[12]

Кроме того, в частном случае реализации изобретения датчик может быть выполнен с возможностью регулирования экспозиции путем изменения интенсивности излучения источника оптического излучения.

[13]

Кроме того, в частном случае реализации изобретения источник излучения может быть выполнен с возможностью освещения папиллярных линий пальца последовательными импульсами оптического излучения.

[14]

Кроме того, в частном случае реализации изобретения датчик может быть выполнен с возможностью регулирования экспозиции путем изменения заданного промежутка времени.

[15]

Кроме того, в частном случае реализации изобретения датчик может содержать блок контроля контрастности, выполненный с возможностью определения первого значения экспозиции, такого, что число емкостных элементов, на которых напряжение после облучения папиллярных линий пальца оптическим излучением больше опорного напряжения, превышает заданное первое значение, и второго значения экспозиции, такого, что число емкостных элементов, на которых напряжение после релаксации больше опорного напряжения, не превышает заданное второе значение.

[16]

Кроме того, в частном случае реализации изобретения блок контроля контрастности может быть выполнен с возможностью дискретного изменения значения экспозиции от первого значения до второго с постоянным шагом дискретизации.

[17]

Кроме того, в частном случае реализации изобретения матрица емкостных элементов может быть выполнена в виде МОП структуры на общей для всех емкостных элементов матрицы подложке.

[18]

Кроме того, в частном случае реализации изобретения средства формирования оптического образа папиллярных линий на поверхности матрицы при облучении папиллярных линий пальца оптическим излучением могут содержать прозрачную призму, выполненную с возможностью отражения оптических лучей, создаваемых источником излучения на поверхность матрицы, при этом отражающая поверхность представляет собой грань призмы, расположенную под таким углом к направлению падения оптических лучей, прошедших через призму, что обеспечивается полное отражение лучей на границе раздела сред материал призмы - воздух, причем призма установлена с возможностью приложения поверхности кожи пальца к внешней поверхности указанной грани в зоне отражения оптических лучей.

[19]

Кроме того, в частном случае реализации изобретения коэффициент преломления материала призмы может быть приближенно равен коэффициенту преломления рогового слоя эпидермиса пальца человека.

[20]

Кроме того, в частном случае реализации изобретения коэффициент преломления материала призмы может быть больше коэффициента преломления рогового слоя эпидермиса пальца человека.

[21]

Кроме того, в частном случае реализации изобретения датчик может содержать блок формирования многобитового массива, значение каждого из элементов которого равно сумме битов, соответствующих одному емкостному элементу матрицы, принадлежащих однобитным массивам, соответствующим всем проведенным циклам измерения.

[22]

Кроме того, в частном случае реализации изобретения датчик может содержать средства сравнения многобитового массива с предварительно заданным многобитовым массивом и формирования соответствующих сигналов при положительном или отрицательном результате сравнения.

[23]

На фиг.1 и фиг.2 изображены принципиальные оптические схемы устройства.

[24]

На фиг.3 изображена матрица емкостных элементов.

[25]

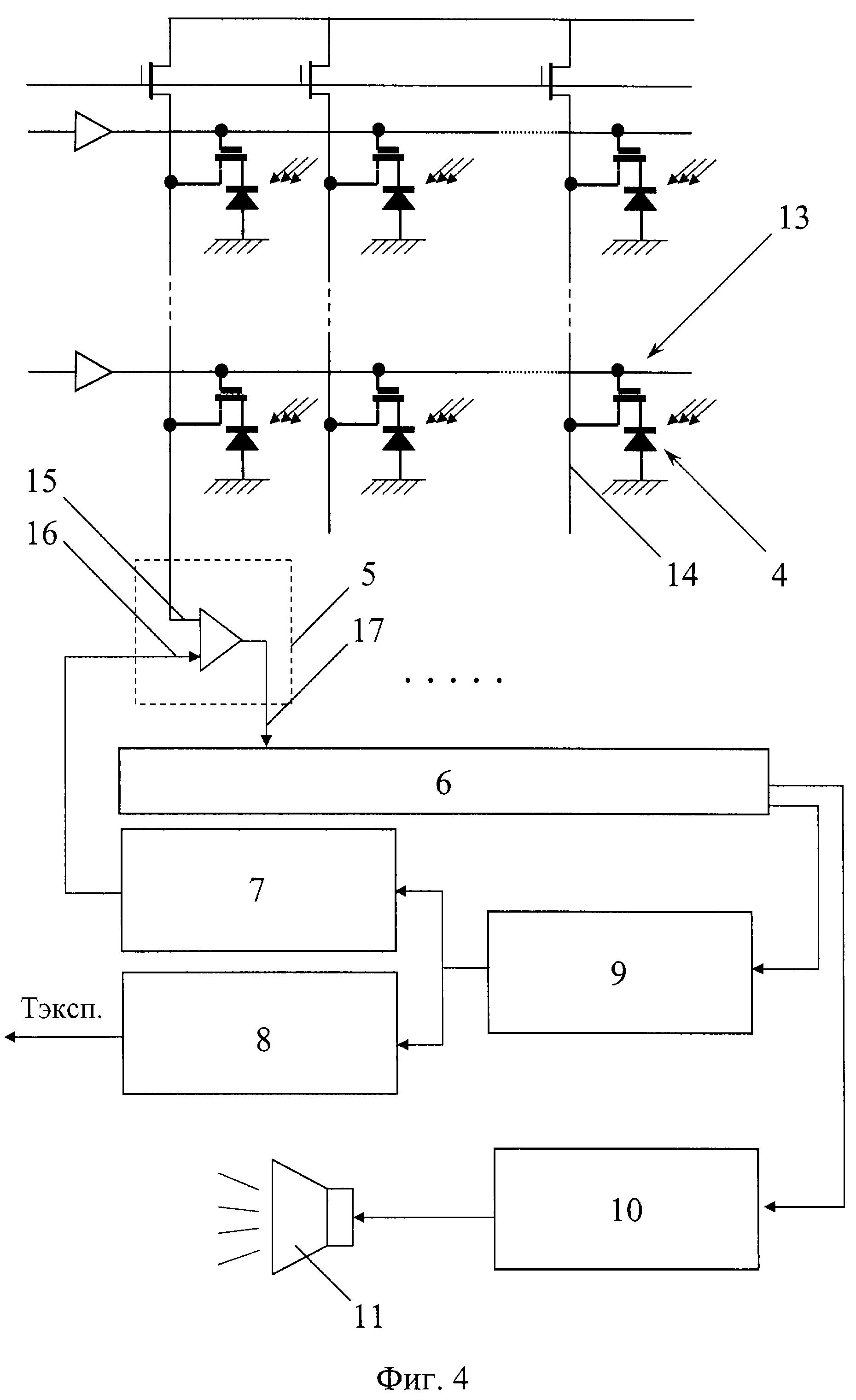
На фиг.4 изображена принципиальная электрическая схема устройства.

[26]

Датчик изображения папиллярных линий кожи пальца содержит источник оптического излучения 1, прозрачную треугольную призму 2 и чувствительный элемент датчика в виде матрицы 3 емкостных элементов 4, набор компараторов 5, блок формирования образа папиллярных линий 6, блок регулирования опорного напряжения 7, блок регулирования экспозиции 8, блок контроля контрастности 9, блок анализа образа папиллярных линий 10 и сигнальное устройство 11.

[27]

Источник 1 оптического излучения представляет собой лампу, создающую направленное световое излучение постоянной интенсивности. Призма 2 выполнена из полистирола или другого прозрачного органического пластика, имеющего коэффициент преломления, близкий к коэффициенту преломления рогового слоя эпидермиса пальца человека. Призма ориентирована таким образом, чтобы световое излучение от источника падало на первую грань 18 и проходило внутрь призмы, а вторая грань 19 призмы 2 была расположена под таким углом к направлению падения луча, чтобы на границе раздела сред материал призмы - воздух обеспечивалось полное отражение световых лучей, прошедших через призму 2, в направлении матрицы 3. Вторая грань призмы расположена таким образом, чтобы обеспечить возможность приложения поверхности кожи пальца к ее внешней поверхности в зоне отражения световых лучей.

[28]

Чувствительный элемента датчика состоит из полупроводниковой подложки 12, на которой сформирована матрица 3 из полупроводниковых фотодиодов 4 с общими анодами, выполняющих функции конденсаторов с малыми токами утечки в неосвещенном состоянии и возможностью релаксации заряда при облучении фотодиода со стороны одного из электродов оптическим излучением с заданной экспозицией и волновым спектром, при этом все фотодиоды имеют одинаковую постоянную релаксации заряда. Фотодиоды 4 упорядочены в строки и столбцы. Катоды фотодиодов соединены со стоками МОП транзисторов 13, которые для повышения разрешающей способности матрицы выполнены в виде тонкопленочных транзисторов (TFT). Затворы транзисторов в каждой строке объединены и соединены с источником управляющего напряжения через блок регулирования экспозиции 8. Истоки транзисторов в каждом столбце объединены шинами столбцов 14, которые подключены к коммутатору (на схеме не показан), обеспечивающему возможность подключения шин столбцов либо ко второму входу 15 компаратора 5, отдельного для каждого столбца, либо к источнику опорного напряжения, а электроды крайних транзисторов шин столбцов подключены к источнику постоянного напряжения. Первый вход 16 каждого компаратора выполнен с возможностью подачи на него опорного напряжения от блока регулирования опорного напряжения 7, а выход 17 каждого компаратора соединен с блоком формирования образа папиллярных линий 6. Блок 6 содержит выполненные по известным принципам блок формирования однобитного массива данных (ноль или единица) о значениях сигналов на выходах всех компараторов в течение всего цикла измерения, блок формирования карты значений, каждое из которых равно результату сложения битов, соответствующих одному фотодиоду, принадлежащих однобитным массивам, соответствующим всем проведенным циклам измерения (на схеме не показаны). Блок формирования образа папиллярных линий содержит также средства сравнения полученной карты значений с предварительно заданной картой значений, хранящейся в памяти блока, и формирования соответствующего управляющего импульса для сигнального устройства 11 при положительном или отрицательном результате сравнения. Датчик содержит также блок контроля контрастности 9, который выполнен с возможностью определения значений экспозиции или опорного напряжения, при котором упомянутые однобитовые массивы содержат все или преимущественно нули и все или преимущественно единицы. При этом блок контроля контрастности соединен с блоком регулирования опорного напряжения 7 и блоком регулирования экспозиции 8 для обеспечения дискретного изменения значения опорного напряжения или экспозиции в определенном описанным способом диапазоне, что позволяет повысить достоверность распознавания изображения за счет исключения искажения информации в устройстве.

[29]

Датчик также содержит тактовый генератор, обеспечивающий синхронизацию работы всех элементов устройства (на схеме не показан).

[30]

Устройство работает следующим образом.

[31]

К внешней поверхности второй грани 19 прозрачной призмы 2, на которую падает прошедший через призму свет от источника 1, прикладывают палец, при этом на тех участках поверхности второй грани призмы, напротив которых оказываются впадины папиллярного рисунка поверхности кожи, световые лучи полностью отражаются на границе раздела сред материал призмы - воздух и направляются с помощью оптической системы на соответствующий участок матрицы 3 (см. фиг.1). На тех участках поверхности второй грани призмы, к которым оказываются прижаты выступы папиллярного рисунка, световые лучи практически не отражаются, так как коэффициент преломления материала призмы приближенно равен коэффициенту преломления рогового слоя эпидермиса пальца человека, таким образом границы раздела сред не возникает, световой поток проходит внутрь рогового слоя эпидермиса и рассеивается. Таким образом на поверхности матрицы 3 создается оптический образ папиллярных линий пальца, где темным участкам соответствуют выступы папиллярного рисунка, а светлым - впадины.

[32]

Одновременно с этим производят действия, обеспечивающие представления рисунка папиллярных линий в цифровом виде, при этом на первом такте работы соответствующих элементов датчика все шины столбцов 14 с помощью упомянутого коммутатора подключают к источнику опорного напряжения, а на все затворы транзисторов 13 подают управляющее напряжение, обеспечивающее полное отпирание транзисторов. Полярность предварительно установленного напряжения обеспечивает смещение диодов в обратном направлении. На следующем такте на затворы транзисторов подают управляющее напряжение, обеспечивающее запирание транзисторов, а шины столбцов 14 с помощью коммутатора подключают к первым входам 16 соответствующих компараторов.

[33]

После окончания времени выдержки, определяемого блоком регулирования экспозиции 8, на затворы транзисторов 13, соответствующих одной строке матрицы, поочередно для всех строк подают отпирающее напряжение, при этом происходит последовательное считывание информации с выходов компараторов 5. Так как на фотодиодах 4, оказавшихся на освещенных участках матрицы 3, происходит стекание (релаксация) заряда, то напряжение на потенциальных электродах этих фотодиодов оказывается меньше опорного, а на фотодиодах, оказавшихся на затемненных участках, заряд практически не стекает и напряжение остается приближенно равным опорному, вследствие чего на выходах компараторов формируются различные сигналы, соответствующие засвеченным и неосвещенным фотодиодам.

[34]

Считанную с выходов компараторов 5 информацию отдельно для каждого фотодиода 4 записывают в память блока формирования образа папиллярных линий 6 в виде однобитового массива. Время считывания информации, то есть время от подачи отпирающего напряжения на первую строку транзисторов до подачи напряжения на последнюю строку, выбирают значительно меньшим времени выдержки, что обеспечивает уменьшение погрешности. Описанный цикл повторяют несколько раз с изменяемыми временами задержки, определяемыми блоком контроля контрастности 9, что обеспечивает выявление освещенных и неосвещенных фотодиодов при различных экспозициях, при этом исключаются такие режимы работы, при которых однобитовые массивы оказываются сформированными одними единицами или одними нулями, так как подобные результаты измерения свидетельствует либо об ошибке считывания, либо являются избыточными и ведут к частичному искажению информации о полутонах изображения.

[35]

Таким образом создают несколько однобитовых массивов, которые затем поэлементно суммируют средствами блока формирования образа папиллярных линий 6, обеспечивая получение многобитового массива, характеризующего полутоновое изображение папиллярных линий.

[36]

В дальнейшем, считанную информацию используют блоком анализа изображения 10 для идентификации личности путем сравнения с многобитовыми массивами отпечатков пальцев, хранящимися в памяти блока анализа образа папиллярных линий, и формирования соответствующего управляющего импульса, поступающего на сигнальное устройство 11.

[37]

Возможен также вариант реализации датчика, у которого в процессе работы время выдержки остается постоянным, а между циклами измерения изменяют значение опорного напряжения, что позволяет уменьшить затраты на выполнение блока регулирования экспозиции, не требующего в данном случае наличия регулируемого таймера, и обеспечивает возможность более плавного регулирования контрастности считываемого изображения папиллярных линий.

[38]

Источник света 1 может быть связан с блоком контроля экспозиции 8 для обеспечения возможности регулирования экспозиции путем изменения интенсивности излучения источника света, что является менее точным, но более простым и надежным способом регулирования экспозиции по сравнению с описанным выше. Кроме того, в устройстве может быть использован импульсный источник света с переменой энергией импульса, что позволяет уменьшить погрешность считывания изображения за счет исключения времени, требуемого на сканирование строк.

Как компенсировать расходы
на инновационную разработку
Похожие патенты