патент
№ RU 2657053
МПК F41C7/00

Стрелковое оружие со складным прикладом

Авторы:
Уржумцев Сергей Владимирович Целоусов Олег Юрьевич Долганов Дмитрий Геннадьевич
Все (5)
Номер заявки
2017111851
Дата подачи заявки
07.04.2017
Опубликовано
08.06.2018
Страна
RU
Как управлять
интеллектуальной собственностью
Чертежи 
5
Реферат

Изобретение относится к вооружению, а именно к стрелковому оружию со складным прикладом. Стрелковое оружие со складным прикладом содержит ствольную коробку со стволом и с затыльником, подпружиненный фиксатор приклада, шарнирно установленный на оси приклад с наконечником. На оси установлен подпружиненный зацеп приклада, выполненный с возможностью поступательного движения по оси и представляющий собой двуплечий рычаг, одно плечо которого взаимодействует с наконечником, а второе плечо взаимодействует с затыльником. Достигается повышение эксплуатационных характеристик оружия за счет обеспечения надежной фиксации приклада. 2 з.п. ф-лы, 5 ил.

Формула изобретения

1. Стрелковое оружие со складным прикладом, содержащее ствольную коробку со стволом и с затыльником, подпружиненный фиксатор приклада, шарнирно установленный на оси приклад с наконечником, отличающееся тем, что на оси дополнительно установлен подпружиненный зацеп приклада, выполненный с возможностью поступательного движения по оси и представляющий собой двуплечий рычаг, одно плечо которого взаимодействует с наконечником, а второе плечо взаимодействует с затыльником.

2. Стрелковое оружие по п. 1, отличающееся тем, что на оси дополнительно установлена пружина зацепа, представляющая собой пружину сжатия.

3. Стрелковое оружие по п. 2, отличающееся тем, что концы пружины зацепа отогнуты, причем один конец пружины зацепа взаимодействует с затыльником, а второй конец пружины зацепа взаимодействует с зацепом приклада, прижимая его к затыльнику.

Описание

[1]

Изобретение относится к стрелковому оружию и может быть использовано в автоматическом стрелковом оружии, устройствах, конструктивно сходных со стрелковым оружием.

[2]

Известен 5,45 мм ручной пулемет Калашникова РПК-74М (см. https://topwar.ru/76782-ruchnoy-pulemet-rpk-74-i-ego-modifikacii.html), содержащий ствольную коробку со стволом, шарнирно установленный приклад с затыльником и зацепом приклада, подпружиненный фиксатор приклада, подпружиненную защелку.

[3]

Недостатком указанного аналога является необходимость применения принадлежности для перевода приклада в походное (сложенное) положение.

[4]

Известен 5,45 мм автомат Калашникова АК74М (см. М. Попенкер «Штурмовые винтовки мира». М.: ACT «Полигон», 2004 г.), выбранный в качестве ближайшего аналога, содержащий ствольную коробку со стволом, шарнирно установленный приклад постоянной длины, подпружиненный фиксатор приклада, подпружиненную защелку. Фиксатор приклада удерживает приклад в боевом положении, а расположенная в передней части ствольной коробки защелка удерживает приклад в походном (сложенном) положении.

[5]

Недостатком данной конструкции узла фиксации приклада в походном (сложенном) положении является ограничение функциональных возможностей, так как в случае установки регулируемого по длине (телескопического) приклада фиксация возможна только в одном из нескольких положений по длине, что приводит к нарушению регулировки приклада при переводе его в походное положение.

[6]

Технической задачей заявляемого изобретения является повышение эксплуатационных характеристик оружия, расширение функциональных возможностей.

[7]

Технический результат заключается в обеспечении фиксации в походном положении любого приклада, в том числе и регулируемого по длине (телескопического) приклада при любой длине приклада.

[8]

Поставленная задача достигается тем, что в стрелковом оружии со складным прикладом, содержащем ствольную коробку со стволом и с затыльником, подпружиненный фиксатор приклада, шарнирно установленный на оси приклад с наконечником, в котором фиксация складного приклада осуществляется подпружиненным зацепом приклада, расположенным на оси вращения приклада. Зацеп приклада выполнен в виде двуплечего рычага с возможностью поступательного движения по оси, одно плечо зацепа взаимодействует с наконечником приклада, а второе плечо зацепа взаимодействует с затыльником. Зацеп приклада имеет отверстие для его установки на изделии и цилиндрический выступ для установки пружины зацепа. Зацеп приклада взаимодействует с выступом на наконечнике приклада. Плечо зацепа приклада, взаимодействующее с наконечником, выполнено с уклоном для облегчения захода зацепа приклада на выступ наконечника, оно взаимодействует с горизонтальной площадкой наконечника, когда приклад находится в боевом положении и при повороте приклада до момента поднятия зацепа приклада пружиной зацепа.

[9]

Наконечник предназначен для присоединения приклада к оружию и имеет выступы с отверстием для крепления к затыльнику ствольной коробки и выступ с горизонтальной и вертикальной площадками для взаимодействия с зацепом приклада. Горизонтальная площадка удерживает зацеп приклада в нерабочем положении, когда приклад находится в боевом положении и при повороте приклада до момента поднятия зацепа приклада пружиной зацепа. Вертикальная площадка ограничивает поворот зацепа приклада, когда приклад находится в походном положении.

[10]

Пружина зацепа установлена на оси и представляет собой пружину сжатия с двумя отогнутыми концами, один из которых взаимодействует с затыльником - находится в пазу затыльника ствольной коробки, другой конец пружины зацепа взаимодействует с зацепом приклада - надет на зацеп приклада. Спиральная часть пружины предназначена для подъема зацепа приклада на выступ наконечника, а отогнутые концы пружины создают вращательный момент, прижимая зацеп к опорной плоскости затыльника ствольной коробки.

[11]

Предложенная конструкция узла фиксации приклада в походном положении предусматривает возможность применения на всех автоматах Калашникова и охотничьих карабинах, созданных на базе автомата Калашникова, в которых используется затыльник для складывающегося на боковую сторону ствольной коробки приклада.

[12]

Сущность изобретения поясняется чертежами, на которых изображено:

[13]

на фиг. 1 - общий вид оружия;

[14]

на фиг. 2 - сечение А-А на фиг. 1 по оси, приклад в боевом положении;

[15]

на фиг. 3 - сечение А-А на фиг. 1 по оси, приклад в походном (сложенном) положении;

[16]

на фиг. 4 - сечение Б-Б на фиг. 1 по зацепу приклада;

[17]

на фиг. 5 - общий вид оружия в трехмерном изображении (боковая стенка ствольной коробки не показана).

[18]

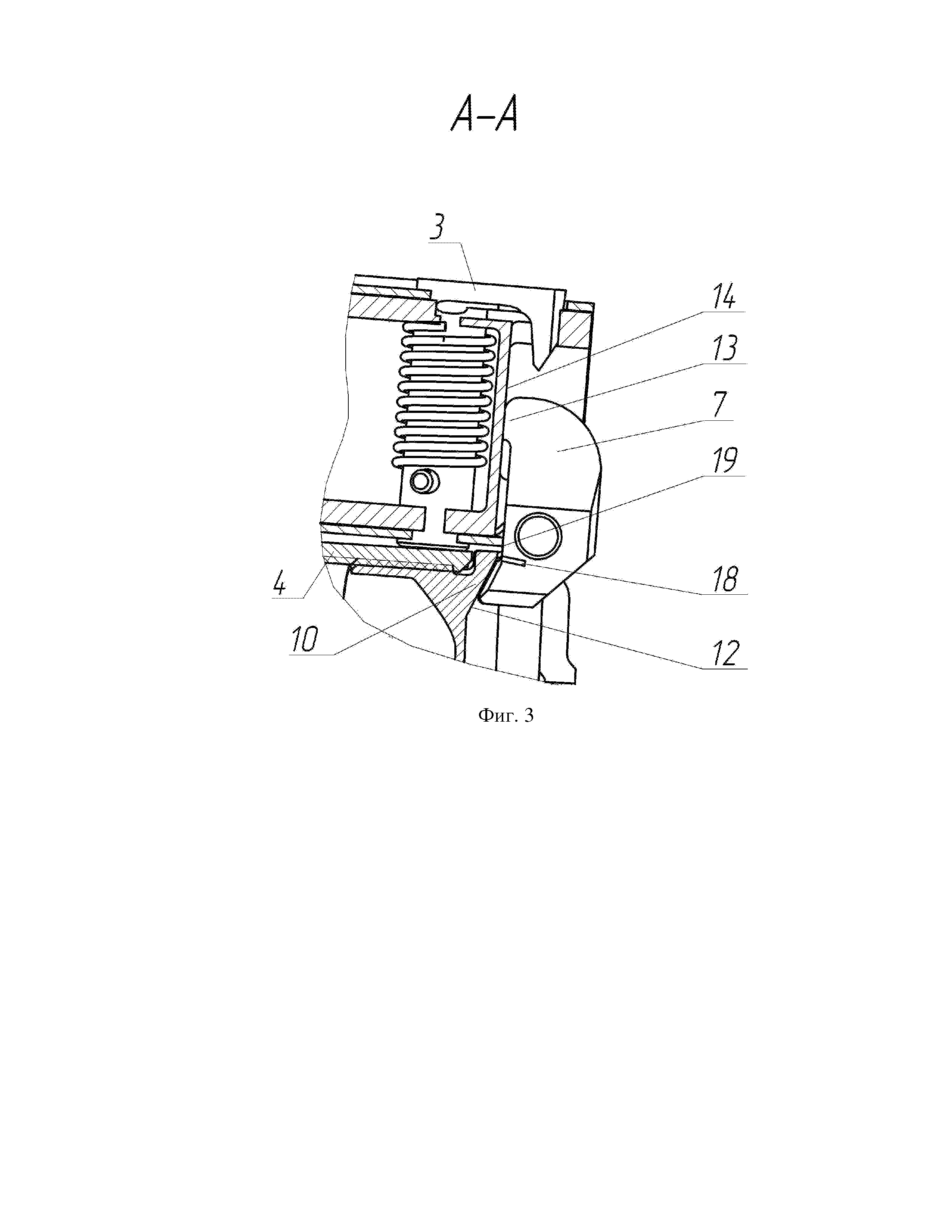
Стрелковое оружие содержит ствольную коробку 1 со стволом (не показан), с затыльником 2, подпружиненный фиксатор 3 приклада, приклад 4 с наконечником 5, шарнирно установленный на оси 6. Кроме того, на ось 6 установлен зацеп 7 приклада и пружина 8 зацепа. Зацеп 7 приклада имеет возможность поступательного перемещения по оси 6 под действием пружины 8 зацепа. Зацеп 7 приклада представляет собой двуплечий рычаг. В походном (сложенном) положении приклада плечо 9 зацепа приклада взаимодействует с выступом 10 наконечника 5 (фиг. 3). Выступ 10 наконечника 5 имеет горизонтальную площадку 11 и вертикальную площадку 12 для взаимодействия с зацепом 7 приклада. Плечо 13 зацепа 7 приклада взаимодействует с опорной плоскостью 14 затыльника 2.

[19]

На зацепе 7 приклада выполнен цилиндрический выступ 15, на который надевается спиральная часть пружины 8 зацепа (фиг. 4). Один конец 16 пружины 8 зацепа приклада находится в отверстии 17, образованном пазом в затыльнике 2 и боковой стенкой ствольной коробки 1 (фиг. 1). Второй конец 18 пружины 8 зацепа приклада находится в вырезе 19, выполненном в зацепе 7 приклада (фиг. 3).

[20]

Для приведения оружия в походное положение необходимо утопить фиксатор 3 приклада, при этом фиксатор 3 приклада выйдет из зацепления с наконечником 5. Сложить приклад 4, повернув его относительно оси 6 на 180°, при этом плечо 9 зацепа 7 приклада выйдет из зацепления с горизонтальной площадкой 11 выступа 10 наконечника 5, поднимется вверх под действием пружины 8 зацепа и, вступив во взаимодействие с вертикальной площадкой 12 выступа 10 наконечника 5, зафиксирует приклад 4 в походном положении.

[21]

Для приведения оружия в боевое положение необходимо надавить на подпружиненный зацеп 7 приклада, опустив его вниз. Повернуть приклад 4 на 180° до зацепления его фиксатором 3 приклада.

[22]

Предложенная конструкция стрелкового оружия позволяет повысить эксплуатационные характеристики оружия за счет обеспечения надежной фиксации приклада, в том числе и регулируемого по длине (телескопического) приклада в походном положении.

Как компенсировать расходы
на инновационную разработку
Похожие патенты