патент
№ RU 2700351
МПК G01M13/02

Нагружающее устройство

Авторы:
Смирнов Александр Павлович
Номер заявки
2019101859
Дата подачи заявки
24.01.2019
Опубликовано
16.09.2019
Страна
RU
Как управлять
интеллектуальной собственностью
Чертежи 
1
Реферат

Изобретение относится к испытательной технике и может быть использовано для создания тянущих и толкающих усилий в силовых цепях испытательных стендов, для тарировки датчиков силы, испытания материалов на прочность, в качестве приводов силовых механизмов, в качестве домкратов и прессов. Нагружающее устройство содержит привод, корпус с крышкой, выполненной с полым валом, установленный в крышке шестеренчатый редуктор, малая шестерня которого установлена на валу привода, а большая - на полом валу крышки, винтовую передачу, установленную в полом валу крышки, волновой редуктор, жесткое колесо которого скреплено с корпусом, а гибкое колесо - с винтом винтовой передачи, и генератор волн деформаций, соединенный с большой шестерней шестеренчатого редуктора, причем гайка винтовой передачи в виде пиноли связана с крышкой посредством шпоночного соединения, а фланец винта установлен между корпусом и второй крышкой с возможностью вращения. Винт винтовой передачи выполнен полым, соединенным внутренней резьбой с установленным в нем стержнем с возможностью осевого перемещения и снабженным пазом с размещенной в нем шпонкой, закрепленной во второй крышке корпуса. Технический результат: относительно большая суммарная величина хода пиноли и стержня в сочетании с компактностью и относительно небольшим весом устройства, удешевляющим конструкцию и расширяющим область применения. 1 ил.

Формула изобретения

Нагружающее устройство, содержащее привод, корпус с крышкой, выполненной с полым валом, установленный в крышке шестеренчатый редуктор, малая шестерня которого установлена на валу привода, а большая - на полом валу крышки, винтовую передачу, установленную в полом валу крышки, волновой редуктор, жесткое колесо которого скреплено с корпусом, а гибкое колесо - с винтом винтовой передачи, и генератор волн деформаций, соединенный с большой шестерней шестеренчатого редуктора, причем гайка винтовой передачи в виде пиноли связана с крышкой посредством шпоночного соединения, а фланец винта установлен между корпусом и второй крышкой с возможностью вращения, отличающееся тем, что винт винтовой передачи выполнен полым, соединенным внутренней резьбой установленным в нем стержнем с возможностью осевого перемещения и снабженным пазом с размещенной в нем шпонкой, закрепленной во второй крышке корпуса.

Описание

[1]

Изобретение относится к испытательной технике и может быть использовано для создания тянущих или толкающих усилий в силовых цепях испытательных стендов, тарировки датчиков силы, испытания материалов и изделий на прочность, в качестве силовых приводов исполнительных механизмов, при наличии концевых упоров - в качестве домкрата, а при встраивании в силовую раму - в качестве пресса.

[2]

В испытательной технике наиболее распространены нагружающие устройства с гидравлическим приводом - гидравлические силовозбудители, заменяемые более прогрессивными нагружающими устройствами с электрическим приводом - электрическими силовозбудителями.

[3]

Известны нагружающие устройства с электрическим приводом, например устройство по а.с. №2065593 от 08.06.1993 г. по заявке 93029135/28, Кл. МКИ G01M 13/02 или устройство по заявке №2009137044 от 06.10.2009 г., патент №2410660 от 27.01.2011 г..

[4]

Ближайшим по технической сущности является «Нагружающее устройство» по заявке №2015156158, от 28.12.2015 г., Кл. МКИ G01M 13/02, патент №2615913 от 11.04.2017 г., содержащее привод, корпус с крышкой, выполненной с полым валом, установленный в крышке шестеренчатый редуктор, малая шестерня которого установлена на валу привода, а большая - на полом валу крышки, винтовую передачу, установленную в полом валу крышки, волновой редуктор, жесткое колесо которого скреплено с корпусом, а гибкое колесо - с винтом винтовой передачи, и генератор волн деформаций, соединенный с большой шестерней шестеренчатого редуктора, причем гайка винтовой передачи в виде пиноли связана с крышкой посредством шпоночного соединения, отличающееся тем, что винт винтовой передачи выполнен двухсторонним, снабженным второй гайкой в виде пиноли, связанной со второй крышкой посредством шпоночного соединения, а фланец винта установлен между корпусом и второй крышкой с возможностью вращения.

[5]

Недостатком устройств с гидравлическим приводом и устройств с электрическим приводом, используемых в силовых цепях испытательных стендов, является зависимость длины этих устройств от величины хода штока в гидравлическом приводе и хода пиноли в электрическом приводе.

[6]

Существенным признаком, расширяющим возможности применения нагружающих устройств, является их компактность.

[7]

Задачей настоящего изобретения является обеспечение максимальной компактности нагружающего устройства при относительно большой величине суммарного хода пинолей.

[8]

Поставленная задача достигается за счет максимального использования внутреннего объема волновой передачи и корпуса нагружающего устройства.

[9]

Для этого винт винтовой передачи выполнен полым, соединенным внутренней резьбой с установленным в нем стержнем с возможностью осевого перемещения, и снабженным пазом с размещенной в нем шпонкой, закрепленной во второй крышке корпуса.

[10]

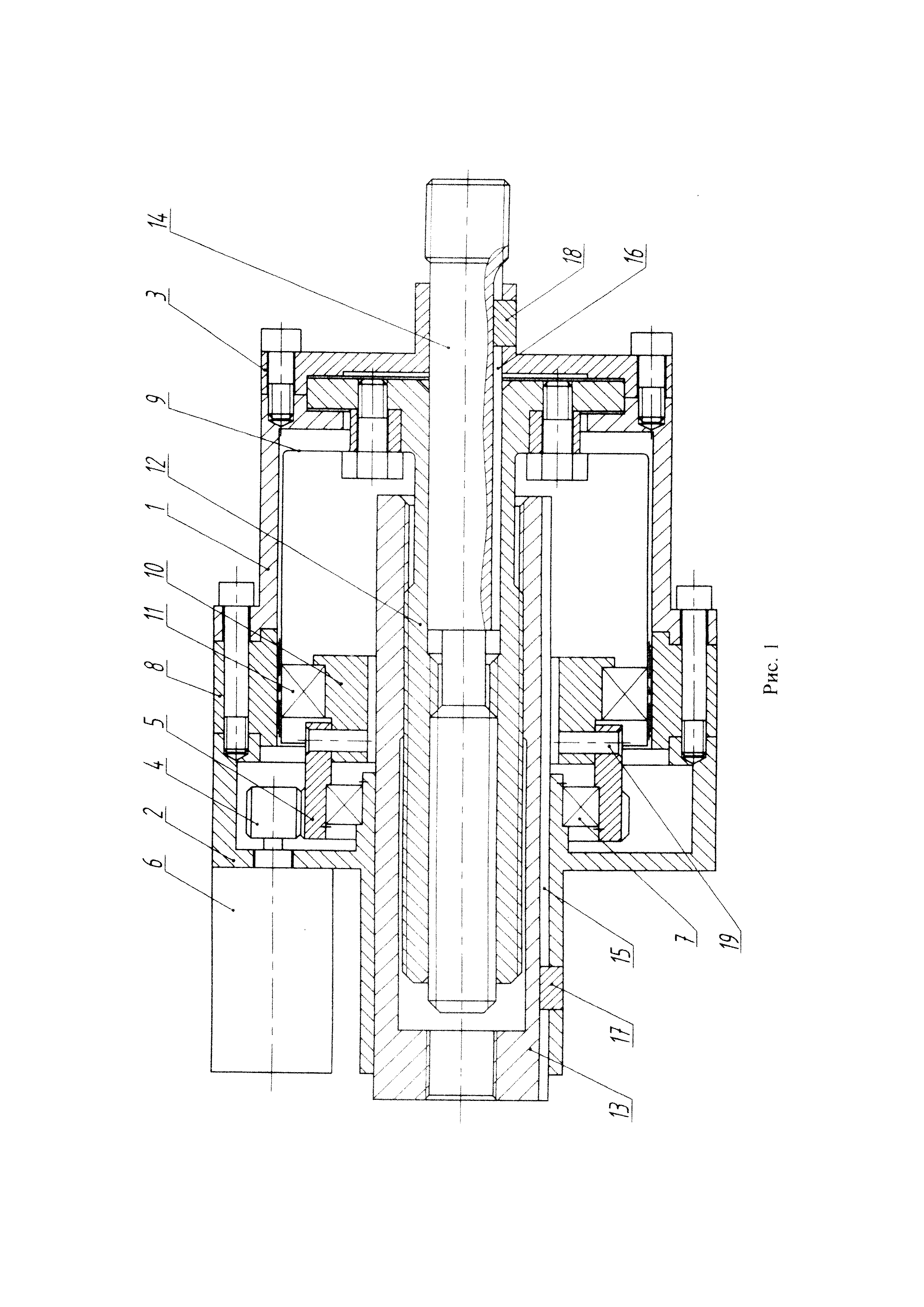
На Рис. 1 изображено нагружающее устройство.

[11]

Нагружающее устройство содержит корпус 1 с крышкой 2, имеющей полый вал, и второй крышкой 3. Внутри крышки 2 расположен шестеренчатый редуктор 4, 5. Привод 6 в виде электродвигателя, установленный на крышке 2, снабжен малой шестерней 4. Большая шестерня 5 установлена на полом валу крышки 2 при помощи подшипника 7.

[12]

Внутри корпуса 1 расположен волновой редуктор 8-:-11. Редуктор содержит жесткое зубчатое колесо 8, неподвижно закрепленное между корпусом 1 и крышкой 2, гибкое зубчатое колесо 9, генератор волн деформаций 10 овальной формы с насаженным на него подшипником 11.

[13]

Внутри корпуса 1, крышек 2, 3 и волнового редуктора 8-:-11 соосно с ними расположена винтовая передача с полым винтом 12, соединенным внутренней резьбой с установленным в нем стержнем 14 и наружной резьбой с пинолью 13. Вдоль наружных поверхностей пиноли 13 и стержня 14 выполнены шпоночные пазы 15, 16 с установленными в них шпонками 17, 18, закрепленными в крышках корпуса 2, 3. Шпоночные пазы со шпонками преобразуют вращательное движение винта в поступательное перемещение пиноли и стержня.

[14]

Фланец винта 12, с закрепленным на нем фланцем гибкого зубчатого колеса 9, установлен между корпусом 1 и крышкой 3 с возможностью вращения. Большая шестерня 5 соединена с генератором волн деформаций 10 штифтами 19. Для присоединения к внешней силовой цепи наружные концы пиноли 13 и стержня 14 снабжены резьбой.

[15]

Нагружающее устройство работает следующим образом. При включении привода 6 вращение его вала передается шестернями 4 и 5 генератору волн деформаций 10. Вращающийся генератор волн деформаций за счет овальной формы наружной поверхности создает в гибком зубчатом колесе 9 бегущую волну деформаций, которая из-за разности в числах зубьев гибкого колеса 9 и жесткого колеса 8 приводит к волновому преобразованию вращательного движения с большим коэффициентом редукции. Полученное замедленное вращательное движение гибкого колеса 9, соединенного своим фланцем с фланцем винта 12, преобразуется в винтовой передаче в поступательное перемещение пиноли 13 и стержня 14, при этом закрепленные в крышках 2 и 3 шпонки 17 и 18 скользят в пазах 15 пиноли и 16 стержня.

[16]

В зависимости от полярности напряжения питания электродвигателя 6 пиноль 13 и стержень 14 выдвигаются или утапливаются, так как наружная и внутренняя резьбы винта 12 выполнены левого и правого направления вращения. Перемещение пиноли 13 и стержня 14 приводит к изменению длины нагружающего устройства и при наличии внешней замкнутой силовой цепи в ней создается силовая нагрузка.

[17]

Для сохранения созданного усилия при отключении электропитания привода винтовая передача выполнена самотормозящейся.

[18]

По сравнению с прототипом предлагаемое нагружающее устройство имеет следующие технико-экономические преимущества.

[19]

Повышается компактность нагружающего устройства при сохранении относительно большой подвижной составляющей устройства - суммарной величине хода пинолей. Уменьшается вес и габариты нагружающего устройства, расширяющие возможности применения.

Как компенсировать расходы
на инновационную разработку
Похожие патенты