патент
№ RU 2626782
МПК F16H41/02

СПОСОБ РАБОТЫ ТРАНСМИССИИ ТРАНСПОРТНОГО СРЕДСТВА

Авторы:
Сизанов Александр Владимирович Сантоян Хорен Хоренович Котровский Александр Александрович
Все (9)
Номер заявки
2016125566
Дата подачи заявки
27.06.2016
Опубликовано
01.08.2017
Страна
RU
Как управлять
интеллектуальной собственностью
Чертежи 
1
Реферат

[17]

Изобретение относится к способам работы трансмиссий транспортных средств. Гидродинамическая передача содержит корпус (2), заполненный рабочей жидкостью, насосное и турбинное колеса (3) и (4), реактор (5), двигатель (1) внутреннего сгорания, коробку (6) переключения передач с ведущим и ведомым валами (7) и (8), а также управляющую систему (12). Управляющая система (12) состоит из блока (13) управления, тахометров (14) и (15), расположенных на ведущем и ведомом валах (7) и (8), и вентильно-индукторного электропривода (9). В состав последнего входят статор (10) и ротор (11), при этом ротор (11) жестко скреплен с ведомым валом (8). При работе двигателя (1) крутящий момент от ведущего вала (7) посредством гидротрансформатора передается на ведомый вал (8) и коробку (6) переключения передач. При изменении нагрузки на ведомом валу (8) возникает разность угловых скоростей на ведущем и ведомом валах (7) и (8), которую определяет блок (13) управления управляющей системы (12). При этом сигнал передается от блока (13) управления на статор (10) вентильно-индукторного электропривода (9). Формируется вращающееся электромагнитное поле, обеспечивающее дополнительное вращение ротора (11) и ведомого вала (8). Сигнал перестает поступать от блока (13) управления управляющей системы (12) на статор (10) вентильно-индукторного электропривода (9), происходит последующее плавное выравнивание крутящего момента на ведущем и ведомом валах (7) и (8). Достигается снижение механических потерь. 1 ил.

Формула изобретения

Способ работы трансмиссии транспортного средства, заключающийся в том, что при работе двигателя крутящий момент от ведущего вала посредством гидротрансформатора, корпус которого заполнен рабочей жидкостью, передают на ведомый вал и коробку переключения передач, осуществляя при этом регулирование угловых скоростей до момента их последующего плавного выравнивания на ведущем и ведомом валах, отличающийся тем, что трансмиссию дополнительно снабжают устанавливаемым на ведомом валу вентильно-индукторным электроприводом, имеющим статор и ротор, в процессе работы автоматически контролируют угловые скорости ведущего и ведомого валов, в соответствии с которыми управляют вращающимся электромагнитным полем, возникающим между статором и ротором вентильно-индукторного электропривода, воздействуя через статор на его ротор, жестко связанный с ведомым валом, при выравнивании угловых скоростей ведущего и ведомого валов отключают электропитание статора.

Описание

[1]

Изобретение относится к области машиностроения, преимущественно к способам работы трансмиссий транспортных средств.

[2]

Известна гидродинамическая передача транспортных средств, включающая гидротрансформатор, содержащий насосное и турбинное колеса и реактор. В устройстве реализуется способ работы трансмиссии транспортного средства, заключающийся в том, что при вращении ведущего вала крутящий момент от привода передают посредством гидротрансформатора, заполненного рабочей жидкостью, на ведомый вал, причем в гидротрансформаторе, состоящем из насосного и турбинного колес и реактора (статора), предусматривают установку сменных лопаток, а каждое из рабочих колес выполняют составными, средние части которых сопрягают со сменными лопатками. При этом изменяя поворот сменных лопаток или заменяя их другими, изменяют мощность, передаваемую от двигателя и воспринимаемую гидротрансформатором, что позволяет исследовать влияние большого числа геометрических параметров лопастной системы (см. а.с. СССР №241187, МПК F16H 41/00, публ. 1969 г.).

[3]

Недостаток способа состоит в том, что гидротрансформатор является экспериментальным и применим в узкой области, а именно для исследования влияния геометрических параметров на передаточные свойства гидротрансформатора.

[4]

Кроме того, известна гидродинамическая передача транспортного средства, включающая регулируемый гидротрансформатор, содержащий насосное и турбинное колеса, а также реактор. Устройство реализует способ работы трансмиссии транспортного средства, выбранный в качестве прототипа и заключающийся в том, что при вращении ведущего вала крутящий момент от привода плавно передают с помощью гидротрансформатора на ведомый вал и к коробке переключения передач. Причем в гидротрансформаторе, состоящем из насосного и турбинного колес и реактора, последний выполняют с неподвижными лопаточными венцами. При этом регулирование параметров рабочей жидкости осуществляют, изменяя положение подвижного венца реактора (см. а.с. СССР №369317, МПК F16H 41/08, публ. 1973 г.).

[5]

Известный способ позволяет повысить энергоемкость - момент на ведущем валу и мощность гидротрансформатора, однако имеет следующие недостатки: малый диапазон регулирования, значительные механические потери в связи с наличием в конструкции трущихся поверхностей, что в итоге приводит к снижению ресурса работы.

[6]

Технической задачей настоящего изобретения является снижение механических потерь гидродинамической передачи и повышение мощности трансмиссии в целом.

[7]

Решение поставленной технической задачи достигается тем, что в способе работы трансмиссии транспортного средства, заключающемся в том, что при работе двигателя крутящий момент от ведущего вала посредством гидротрансформатора, корпус которого заполнен рабочей жидкостью, передают на ведомый вал и коробку переключения передач, осуществляя при этом регулирование угловых скоростей до момента их последующего плавного выравнивания на ведущем и ведомом валах, согласно изобретению трансмиссию дополнительно снабжают устанавливаемым на ведомом валу вентильно-индукторным электроприводом, имеющим статор и ротор, в процессе работы автоматически контролируют угловые скорости ведущего и ведомого валов, в соответствии с которыми управляют вращающимся электромагнитным полем, возникающим между статором и ротором вентильно-индукторного электропривода, воздействуя через статор на его ротор, жестко связанный с ведомым валом, при выравнивании угловых скоростей ведущего и ведомого валов отключают электропитание статора.

[8]

Решение поставленной технической задачи достигается за счет использования при работе в составе трансмиссии устанавливаемого дополнительно на ведомом валу вентильно-индукторного электропривода, имеющего статор и ротор. При работе трансмиссии в результате изменения нагрузки на ведомом валу появляющаяся разность угловых скоростей ведущего и ведомого валов при их выравнивании посредством гидротрансформатора сопровождается появлением механических потерь в последнем. При этом формируемое вращающиеся электромагнитное поле между статором и ротором вентильно-индукторного электропривода при подключении его статора к электропитанию обеспечивает дополнительное воздействие на его ротор, а также на связанный с ним жестко ведомый вал. За счет дополнительного поступления энергии механические потери в гидротрансформаторе снижаются, обеспечивая повышение мощности трансмиссии в целом.

[9]

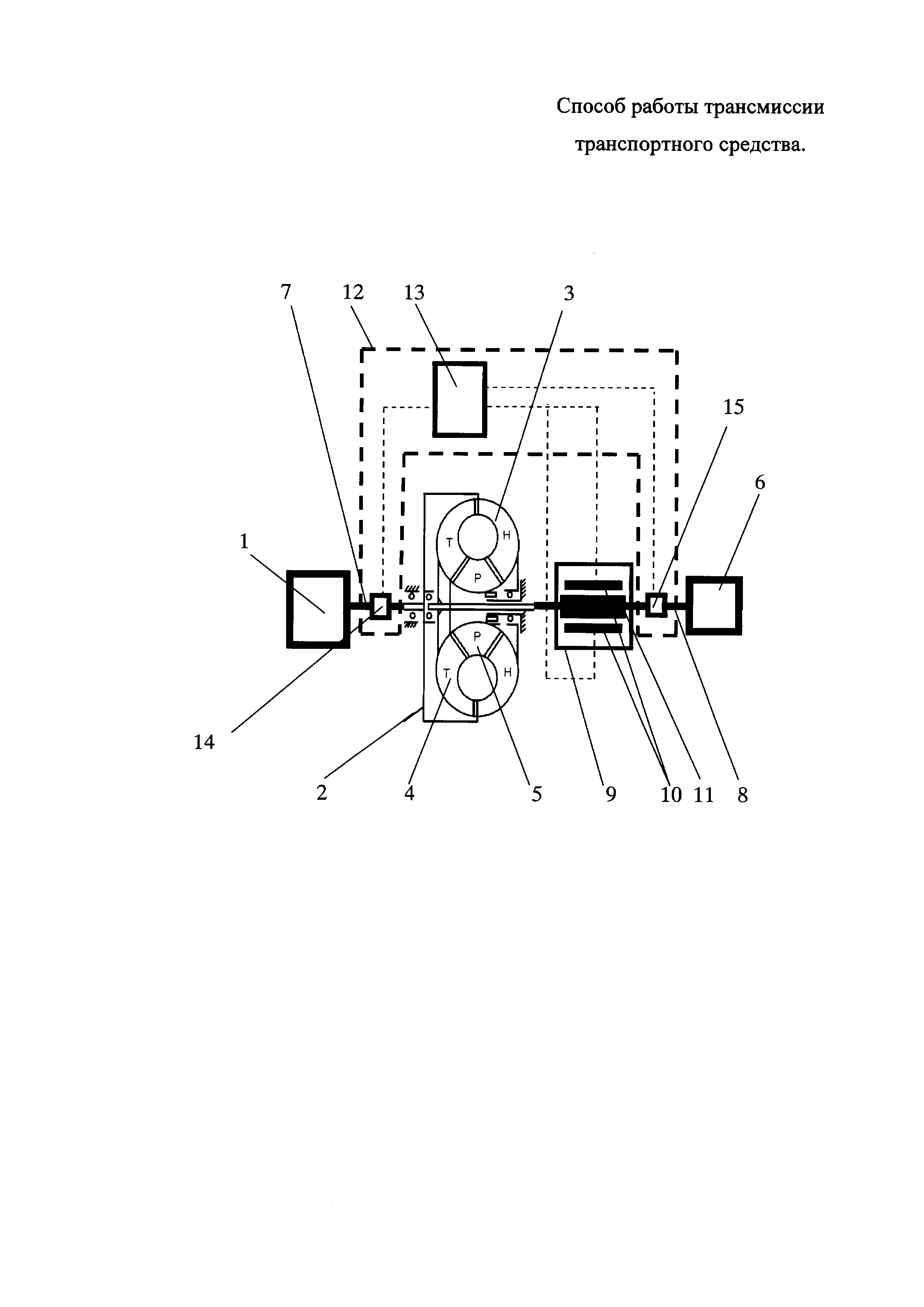
Изобретение поясняется чертежом, на котором изображена схема трансмиссии транспортного средства, реализующей способ работы устройства. На чертеже приведены следующие буквенные обозначения: Н - насосное колесо; Т - турбинное колесо; Р - реактор, пунктирной линией показана электросвязь между элементами управления гидротрансформатора.

[10]

Способ работы трансмиссии транспортного средства заключается в том, что при работе двигателя крутящий момент от ведущего вала посредством гидротрансформатора, корпус которого заполнен рабочей жидкостью, передают на ведомый вал и коробку переключения передач, осуществляя при этом регулирование угловых скоростей до момента их последующего плавного выравнивания на ведущем и ведомом валах. При этом трансмиссию дополнительно снабжают устанавливаемым на ведомом валу вентильно-индукторным электроприводом, имеющим статор и ротор, В процессе работы автоматически контролируют угловые скорости ведущего и ведомого валов, в соответствии с которыми управляют вращающимся электромагнитным полем, возникающим между статором и ротором вентильно-индукторного электропривода, воздействуя через статор на его ротор, жестко связанный с ведомым валом, при выравнивании угловых скоростей ведущего и ведомого валов отключают электропитание статора.

[11]

Трансмиссия транспортного средства, в которой может быть реализован способ, содержит в качестве привода двигатель 1 внутреннего сгорания, гидротрансформатор, в корпусе 2 которого размещены насосное и турбинное колеса 3 и 4, а также реактор 5, коробку 6 переключения передач. Для плавного выравнивания угловых скоростей на ведущем и ведомом валах 7 и 8, соответственно, ведомый вал 8 снабжается вентильно-индукторным электроприводом 9, имеющим в своем составе статор 10 и ротор 11, соответственно. При этом насосное колесо 3 жестко связано с двигателем 1 внутреннего сгорания посредством ведущего вала 7, а турбинное колесо 4 соединено с коробкой 6 переключения передач с помощью ведомого вала 8. В устройстве предусмотрена управляющая система 12, состоящая из блока 13 управления и подключенных к нему датчиков угловой скорости в виде тахометров 14 и 15 ведущего и ведомого валов 7 и 8, соответственно.

[12]

Заявляемый способ работы трансмиссии транспортного средства реализуется следующим образом.

[13]

При работе двигателя 1 крутящий момент ведущего вала 7 передается на жестко с ним связанное насосное колесо 3, расположенное в корпусе 2 гидротрансформатора. Вращение насосного колеса 3 приводит в движение рабочую жидкость в корпусе 2 гидротрансформатора, которая через реактор 5 вращает турбинное колесо 4 и жестко с ним связанный ведомый вал 8, механически связанный с автоматической коробкой 6 переключения передач. Гидротрансформатор предназначен для бесступенчатой передачи крутящего момента от ведущего вала 7 двигателя 1 внутреннего сгорания на автоматическую коробку 6 переключения передач. При изменении нагрузки на ведомом валу 8 возникает разность угловых скоростей на ведущем и ведомом валах 7 и 8, которую определяет блок 13 управления. В этот период времени происходят механические потери в корпусе 2 гидротрансформатора между насосным и турбинным колесами 3 и 4. При этом сигнал передается по электропроводам от блока 13 управления управляющей системы 12. Между статором 10 и ротором 11 формируется вращающееся электромагнитное поле, обеспечивающее дополнительное вращение ротора 11 и ведомого вала 8. При этом механические потери в корпусе 2 гидротрансформатора снижаются, угловые скорости на ведущем и ведомом валах 7 и 8 выравниваются. Блок 13 управления управляющей системы 12 вырабатывает сигнал на отключение статора 10 вентильно-индукторного электропривода 9.

[14]

Вентильно-индукторные двигатели обладают следующими достоинствами: простота конструкции - ротор и статор выполнены в виде пакетов листового магнитомягкого материала; отсутствие обмоток на роторе - обмотки располагаются только на статоре; катушки изготавливаются отдельно и устанавливаются на полюса статора; высокая ремонтопригодность; отсутствие механического коммутатора (коллектора, щеток); отсутствие в конструкции постоянных магнитов в роторе и статоре; высокие массогабаритные характеристики, надежность, диапазон частот вращения - от единиц до сотен тысяч об/мин; бесконтактный, плавный, двухзоновый способ регулирования частоты вращения в широком диапазоне более 100000 об/мин; точность управления моментом; высокий КПД в широком диапазоне частот вращения более 92% (для крупных машин 97-98%); активный регулятор мощности; отсутствие перегрузочных пусковых моментов; пуск электропривода без превышения пусковых токов над номинальными; реверсирование; самоторможение для исключения вращения нагруженного электропривода.

[15]

Предлагаемый способ позволяет решить поставленную техническую задачу за счет использования в составе трансмиссии вентильно-индукторного электропривода 9. При этом угловую скорость входящего в его состав ротора 11 совместно с ведомым валом 8 можно регулировать сформированным электромагнитным полем между статором 10 и ротором 11, используя управляющую систему 12. В результате становится возможным снизить механические потери при работе гидродинамической передачи трансмиссии, повысив в целом ее мощность.

[16]

Таким образом, изобретение позволяет снизить механические потери в гидротрансформаторе и повысить мощность трансмиссии в целом.

Как компенсировать расходы
на инновационную разработку
Похожие патенты