патент
№ RU 2578917
МПК F41A9/04

АВТОМАТИЧЕСКАЯ СИСТЕМА ЗАГРУЗКИ РАКЕТ В САМОХОДНУЮ ПУСКОВУЮ УСТАНОВКУ

Авторы:
Захаров Максим Геннадьевич
Номер заявки
2014139652/11
Дата подачи заявки
30.09.2014
Опубликовано
27.03.2016
Страна
RU
Как управлять
интеллектуальной собственностью
Чертежи 
9
Реферат

Изобретение относится к военной технике. Автоматическая система загрузки ракет в составе подвижного ракетного комплекса состоит из цепных транспортеров и рельсовых направляющих, размещенных на основании контейнеров транспортно-заряжающей машины (ТЗМ) и самоходной пусковой установки (СПУ). Система предназначена для передачи транспортно-пусковых контейнеров (ТПК) с ракетами из ТЗМ в СПУ и приёма пустых ТПК из СПУ в ТЗМ после пуска ракет. Работу цепных транспортеров обеспечивают электродвигатели и редукторы. Тележка в составе ТЗМ является переходным элементом для установки ТПК в пусковую раму, размещенную на основании СПУ. Процесс загрузки и разгрузки проводят после сцепки задними торцами контейнеров ТЗМ и СПУ, предварительно подняв задние торцовые люки. Техническим результатом является сокращение времени перезарядки СПУ в полевых условиях, повышение безопасности при проведении перегрузочных работ из ТЗМ в СПУ. 9 ил.

Формула изобретения

Автоматическая система загрузки ракет в самоходную пусковую установку (СПУ), отличающаяся тем, что состоит из цепных транспортеров, размещенных на основании контейнеров транспортно-заряжающей машины (ТЗМ) и СПУ, которые приводятся в движение редукторами от электродвигателей, тем самым перемещают тележку с ложементами и штангами для фиксации транспортно-пускового контейнера (ТПК) из контейнера ТЗМ в контейнер СПУ по рельсовым направляющим на роликах, закрепленных на основании тележки, до пусковой рамы, на которой установлена подвижная каретка и гидравлические тиски для фиксации внутри контейнера СПУ штанг тележки при загрузке СПУ перед пуском и из контейнера СПУ в контейнер ТЗМ после пуска ракет для изъятия пустых ТПК, при этом ТЗМ и СПУ состыковываются, предварительно подняв задние торцовые люки.

Описание

[1]

Изобретение относится к военной технике, в частности к области подачи или заряжания боеприпасов, и описывает автоматическую систему загрузки ракет (АСЗР) в транспортно-пусковом контейнере (ТПК) в самоходную пусковую установку (СПУ) из транспортно-заряжающей машины (ТЗМ) в составе подвижного ракетного комплекса. Изобретение может быть использовано для изготовления перспективных СПУ и ТЗМ с целью замены имеющихся типовых погрузочных устройств.

[2]

Известны следующие системы и способы загрузки боеприпасов:

[3]

1. Пат. 2326322 Российская Федерация, МПК 2006.01 F41A 9/38. Танковая система автоматического заряжания «Скоропея» / В.А. Одинцов. - Опубл. 10.06.2008;

[4]

2. Пат. 2243478 Российская Федерация, МПК7 F41F 3/04. Устройство для погрузки, разгрузки и заряжания реактивного снаряда / В.В. Балахонов, О.Н. Мариец, В.Н. Плаксин, Л.Г. Суханов. - Опубл. 27.12.2004;

[5]

3. Пат. 2435124 Российская Федерация, МПК 2006.01 F41A 9/38. Способ заряжания орудия - пусковой установки - и система для его реализации (варианты) / И.В. Степаничев и др. - Опубл. 27.11.2011;

[6]

4. Пат. 2237841 Российская Федерация, МПК7 F41A 9/04. Конвейер для размещения и подачи выстрелов / А.Г. Шипунов и др. - Опубл. 10.10.2004.

[7]

Наиболее близким к заявляемому изобретению по совокупности существенных признаков является способ загрузки из ТЗМ в СПУ на колесном шасси для передвижной пусковой установки реактивной системы залпового огня [5. Пат. на ПМ RU 127439 U1 Российская Федерация, МПК 2006.01 F41A 9/35. Транспортно-заряжающая машина на базе колесного шасси / В.В.Беляев, С.А. Бондаренко, А.В.Дрожжин, А.А.Казанцев, В.В. Киткин, В.И.Мишин, И.К.Шумаков.- Опубл. 27.04.2013, Бюл. №12,], содержащей платформу, установленную на раме базового шасси, ложементы с закрепленными укладками снарядов боекомплекта, грузоподъемный кран, механизм заряжания ПУ реактивными снарядами с грузозахватным устройством, снабженный узлами направления снарядов и их ориентирования при заряжании.

[8]

Аналоги и прототип имеют следующие недостатки:

[9]

- задействование личного состава при установке переходных трапов;

[10]

- использование грузозахватного устройства;

[11]

- поочередное заряжание - по одной ракете;

[12]

- как следствие, существенное увеличение времени заряжания.

[13]

Целью настоящего изобретения является уменьшение времени перезарядки боекомплекта и безопасность при проведении перегрузочных работ. Поставленная задача решается благодаря тому, что при данной АСЗР появляется возможность загрузки одновременно двух ракет, исключается грузоподъемное устройство в составе ТЗМ, применяемое на всех типовых ракетных комплексах, сокращается количество личного состава и, как следствие, исключается «человеческий фактор» и повышается безопасность при перегрузке ракеты из ТЗМ в СПУ.

[14]

Предлагаемая АСЗР состоит из цепных транспортеров, размещенных на основании контейнеров ТЗМ и СПУ, которые приводятся в движение редукторами от электродвигателей, тем самым перемещают тележку с ложементами и штангами для фиксации ТПК из контейнера ТЗМ в контейнер СПУ по рельсовым направляющим на роликах, закрепленных на основании тележки, до пусковой рамы, на которой установлена подвижная каретка и гидравлические тиски для фиксации внутри контейнера СПУ штанг тележки при загрузке СПУ перед пуском и из контейнера СПУ в контейнер ТЗМ после пуска ракет для изъятия пустых ТПК, при этом ТЗМ и СПУ состыковываются, предварительно подняв задние торцовые люки.

[15]

Сущность изобретения проиллюстрирована на примере возможной конструкции ТЗМ (Фиг. 1) и СПУ (Фиг. 2).

[16]

Согласно Фиг. 1 в контейнере 1, размещенном на предлагаемой ТЗМ, с загруженным боекомплектом в виде двух ракет в ТПК 9 установлена АСЗР, состоящая из цепного транспортера 2, который приводится в движение редуктором 3 от электродвигателя 5, тележки 7 и рельсовых направляющих 8. Редукторы 4, электродвигатель 6 предназначены для приема пустых ТПК из СПУ в ТЗМ.

[17]

На Фиг. 2 показана конструкция предлагаемой СПУ, на которой внутри контейнера 10 установлена пусковая рама 11, цепной транспортер 12, который приводится в движение редуктором 13 от электродвигателя 15, а также рельсовые направляющие 17. Редуктор 14 и электродвигатель 16 предназначены для изъятия пустых ТПК из СПУ в ТЗМ.

[18]

Предлагаемая СПУ, показанная на Фиг. 2, представляет собой металлический контейнер 10, установленный на силовой раме шасси автомобилей МАЗ или КАМАЗ, разделенный внутри перегородкой на две секции для двух ракет в ТПК 9, с двумя торцовыми подъемными крышками в передней и задней частях. Внутри на основании контейнера СПУ, так же, как и на ТЗМ, установлены по две рельсы 17 в каждой секции, служащие для перемещения ТПК, уложенного на ложементы тележки 7, из ТЗМ в СПУ, посредством цепного транспортера 12 на электрическом приводе, который расположен по продольной оси каждой секции и является основой всей АСЗР.

[19]

На Фиг. 3 показан принцип работы АСЗР. Загрузка ТПК 9 из ТЗМ 18 в СПУ 19 производится через заднюю торцовую часть контейнеров, для чего осуществляют сцепку ТЗМ и СПУ, предварительно открыв задние крышки на контейнерах. Сцепка производится по датчикам положения и уловителям, которые расположены снаружи контейнеров. При этом, чтобы достичь общей горизонтальной плоскости загрузки, задействуются домкраты, расположенные на силовой раме шасси. Из кабин включаются двигатели 5 и 15, которые через редукторы 3, 13 и цепные транспортеры 2, 12 перемещают тележку 7 с ТПК 9 из ТЗМ 18 в СПУ 19 до пусковой рамы 11, на которой установлена подвижная каретка 21, изображенная на Фиг. 4. Тележка 7 внутри контейнера 10 СПУ 19 фиксируется через штанги 20, представленные на Фиг. 4, которые при движении тележки 7 проходят через отверстия в каретке 21 до гидравлических тисков 22, смонтированных на каретке [6. Артоболевский И.И. Механизмы в современной технике: Справ, пособие. В 7-ми томах. Т. VI. Электрические механизмы. Т. VII. Гидравлические и пневматические механизмы. 2-е изд., перераб. - М.: Наука. Гл. ред. физ.-мат. лит., 1981. - С. 365]. Одновременно аналогичная фиксация происходит и по противоположной части тележки 7 посредством состыковки кронштейнов 28, установленных на тележке 7, изображенных на Фиг. 5, с отверстиями кронштейна 34 пусковой рамы 11, изображенной на Фиг. 6.

[20]

Выгрузка отработанных ТПК производится за счет включения двигателей 6 и 16, которые через редукторы 4, 14 и цепные транспортеры 2, 12 перемещают тележку 7 с отработанным ТПК из СПУ 19 в ТЗМ 18.

[21]

На Фиг. 5 изображена тележка, представляющая собой сварную конструкцию каркасного типа, состоящую из двух ложементов 23 с хомутами 24 для удержания ТПК. Ложементы жестко закреплены между собой металлическими полосами, между которыми установлен распор 25. В нижней части ложементов установлены по два ролика 26, предназначенных для перемещения тележки по рельсовым направляющим. Также ролики установлены и на роликовых направляющих 27, которые закреплены шарнирно через подшипник во втулке, приваренной к ложементам 23 спереди и сзади тележки, и выполняют роль рулей в том случае, когда допустимая погрешность при стыковке контейнеров не позволяет создать соосность рельсовых направляющих в ТЗМ и СПУ. На нижней части оснований ложементов 23 и распора 25 установлены зацепы 29, необходимые для зацепления тележки с цепным транспортером. По бокам тележки для ее фиксации в СПУ приварены два кронштейна 28, которые взаимодействуют со стопорной системой, описанной выше. Также через корпусы ложементов вдоль всего корпуса тележки установлены две штанги 20 для фиксации тележки через каретку 21 с пусковой рамой 11 внутри контейнера СПУ.

[22]

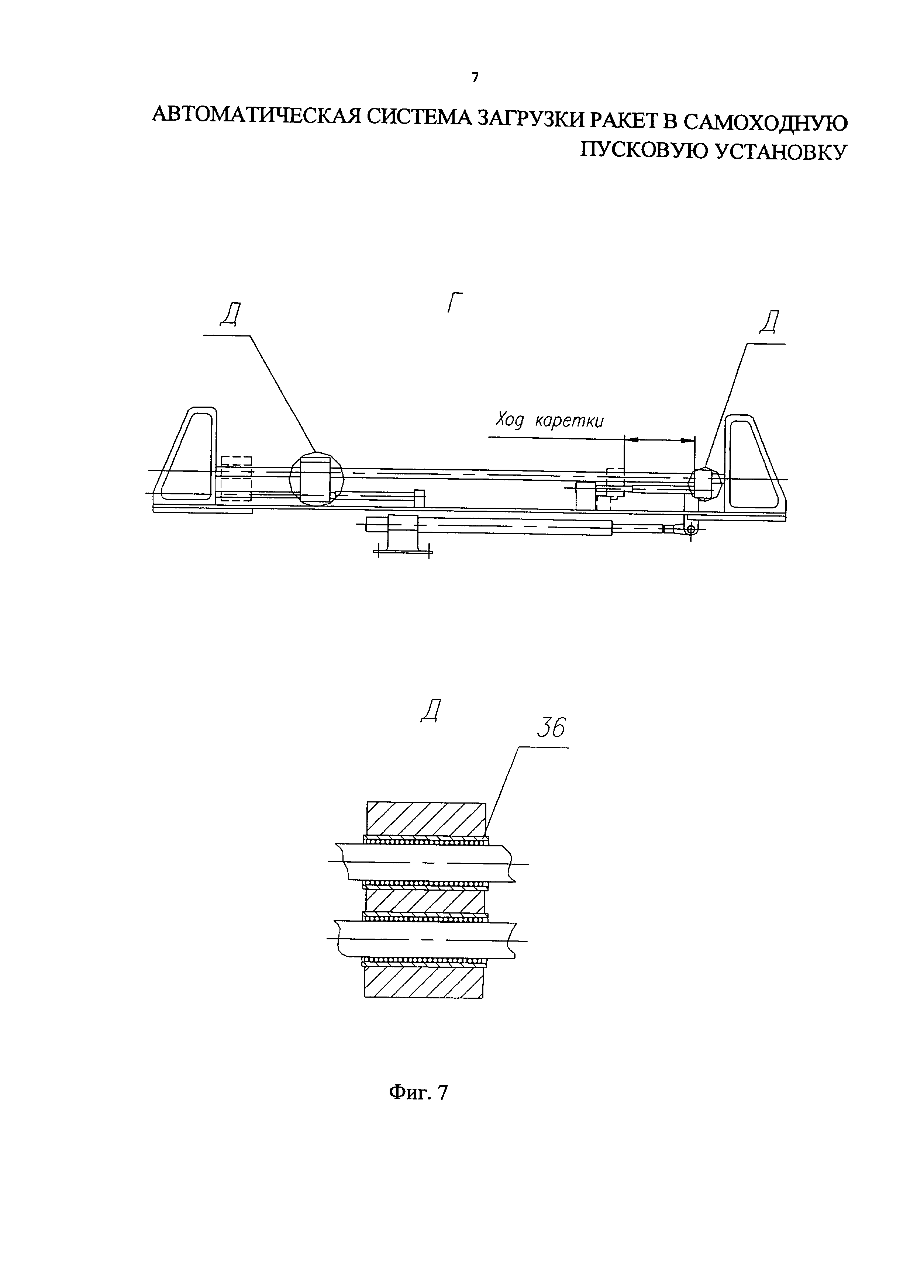
Пусковая рама, изображенная на Фиг. 6, предназначена для размещения, транспортирования ракеты и используется как элемент, необходимый для фиксации ракеты в ТПК при проведении пуска на СПУ. Пусковая рама представляет собой каркасную конструкцию, состоящую из четырех опор 30, соединенных между собой скалками 31, по которым под действием усилия на штоке гидроцилиндра 32 перемещается каретка 21 с зафиксированной в ней тележкой с ТПК. Также за счет жесткого зацепления тележки с пусковой рамой синхронно с кареткой 21 перемещаются и кронштейны 33, в которых встроены гидравлические тиски 22. В нижней части пусковой рамы установлены скалки 34 с ограничителями хода 35. В каретку 21 и кронштейны 33 впрессованы втулки 36, изображенные на Фиг. 7, в пазах которых размещены тела качения (шарики), обеспечивающие высокую точность и малое усилие, затрачиваемое на перемещение каретки 21 и кронштейнов 33. Скалки 31 и 34 являются несущими элементами, обеспечивают точное базирование тележки относительно оси поворота контейнера и позволяют каретке 21 перемещаться в продольном направлении для обеспечения опирания ТПК на грунт после вертикализации контейнера и для свободного перемещения ТПК за счет заглубления в грунт при пуске ракеты.

[23]

На Фиг. 8 показан цепной транспортер, состоящий из набора двухрядных цепей 37 [7. Готовцев А.А. Проектирование цепных передач. Справочник / А.А. Готовцев, И.П. Котенок. 2-е изд., перераб. и доп. - М.: Машиностроение, 1982. - С. 14], двух ведущих 38 и трех ведомых валов 39, звездочек 40, двух двигателей 41, опорных кронштейнов 42, а также двух редукторов 43. Цепной транспортер устанавливается на пол контейнера ТЗМ и СПУ болтовым соединением через опорные кронштейны 42.

[24]

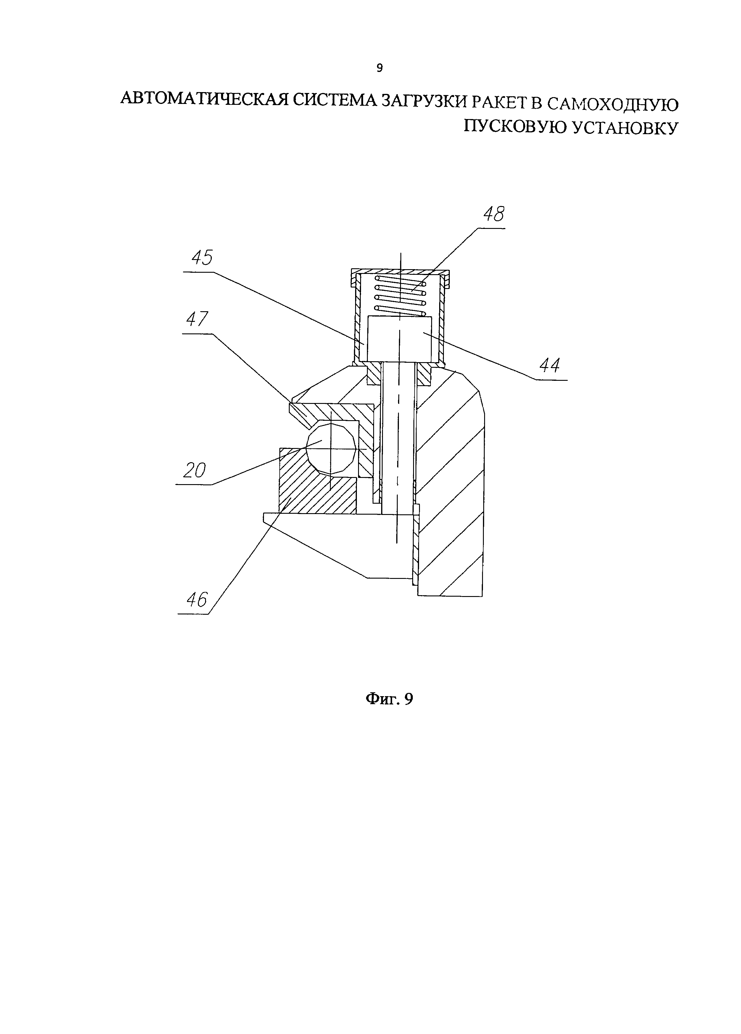
Установленные на каретке и встроенные в кронштейны пусковой рамы гидравлические тиски 22, изображенные на Фиг. 9, работают следующим образом. При перемещении поршня 44 вверх под воздействием жидкости, поступающей в полость 45, жестко связанные с ним подвижные губки 46 зажимают штангу 20 тележки. Неподвижные губки 47 имеют форму клина. При перемещении поршня 44 вниз под действием пружины 48 штанга 20 освобождается.

[25]

Таким образом, предложенная АСЗР исключает недостатки аналогов и прототипа, сохраняет при этом их положительные качества и соответствует всем требованиям, предъявляемым к аналогичным системам. Это позволяет изготавливать ее с помощью стандартного оборудования и материалов отечественного производства. Следовательно, заявленное устройство соответствует критерию «промышленная применимость». Более того, данная АСЗР уменьшает время перезарядки боекомплекта и повышает безопасность при проведении перегрузочных работ из ТЗМ в СПУ.

[26]

Источники, принятые во внимание

[27]

1. Пат. 2326322 Российская Федерация, МПК 2006.01 F41A 9/38. Танковая система автоматического заряжания «Скоропея» / В.А. Одинцов. - Опубл. 10.06.2008.

[28]

2. Пат. 2243478 Российская Федерация, МПК7 F41F 3/04. Устройство для погрузки, разгрузки и заряжания реактивного снаряда / В.В. Балахонов, О.Н. Мариец, В.Н. Плаксин, Л.Г. Суханов. - Опубл. 27.12.2004.

[29]

3. Пат. 2435124 Российская Федерация, МПК 2006.01 F41A 9/38. Способ заряжания орудия - пусковой установки и система для его реализации (варианты) / И.В. Степаничев и др. - Опубл. 27.11.2011.

[30]

4. Пат. 2237841 Российская Федерация, МПК7 F41A 9/04. Конвейер для размещения и подачи выстрелов / А.Г. Шипунов и др. - Опубл. 10.10.2004.

[31]

5. Пат. на ПМ RU 127439 U1 Российская Федерация, МПК 2006.01 F41A 9/35. Транспортно-заряжающая машина на базе колесного шасси / В.В. Беляев, С.А. Бондаренко, А.В. Дрожжин, А.А. Казанцев, В.В. Киткин, В.И. Мишин, И.К. Шумаков. - Опубл. 27.04.2013, Бюл. №12.

[32]

6. Артоболевский И.И. Механизмы в современной технике: Справ. пособие. В 7-ми томах. Т. VI. Электрические механизмы. Т. VII. Гидравлические и пневматические механизмы. 2-е изд., перераб. - М.: Наука. Гл. ред. физ.-мат.лит., 1981. - 784 с.

[33]

7. Готовцев А.А. Проектирование цепных передач. Справочник / А.А. Готовцев, И.П. Котенок. 2-е изд., перераб. и доп. - М.: Машиностроение, 1982.-336 с.

[34]

8. Пат. 2195617 Российская Федерация, МПК 2006.01 F41A 9/38. Автоматический механизм заряжания пушки / Д.В. Агеев и др. - Опубл. 27.12.2002.

[35]

9. Пат. 2220395 Российская Федерация, МПК 2006.01 F41A 9/38. Орудийная установка / А.Г. Шипунов и др. - Опубл. 27.12.2003.

[36]

10. Пат. 2404401, Российская Федерация, МПК 2006.01 F41A 23/42, F41H 7/02. Транспортный модуль боевой машины грунтового ракетного комплекса / В.В. Буланников и др. - Опубл. 20.11.2010.

[37]

11. Пат. 2471137, Российская Федерация, МПК 2006.01 F41F 3/04, F41H 11/02. Усовершенствованный комплекс средств защиты ракетного комплекса / Н.П. Никонов, Ю.А. Соболев, А.Ф. Халин. - Опубл. 27.12.2012.

[38]

12. Пат. 2491492, Российская Федерация, МПК 2006.01 F41F 3/042. Грузовой контейнер для модуля вооружения и контейнерный комплекс ракетного оружия / Г.В. Анцев и др. - Опубл. 27.08.2013.

[39]

13. Пат. ЕР 0058814 А2, МПК F41F 09/10. Vertical loading system for a gun mount (Вертикальная система загрузки для артиллерийской установки) / E.R. Betzold, R.M. Harris - Опубл. 01.09.1982.

Как компенсировать расходы
на инновационную разработку
Похожие патенты