Изобретение относится к области анализа материалов путем определения их плотности, более конкретно к автоматическим датчикам газового анализа, а именно к фотокомпенсационному датчику плотности газов, который содержит магнитоэлектрический гальванометр, включающий рамку, помещенную в зазоре постоянного магнита, и подвижную часть с жестко закрепленными на ней пластиной и зеркалом, на которое из источника света через конденсор и диафрагму направляется луч света, при этом к поверхности пластины, жестко закрепленной на растяжках магнитоэлектрического гальванометра, нормально расположена входная пневматическая схема, выполненная в виде двух сопел, а в обратной связи указанного датчика расположена электрическая дифференциальная схема, включающая в себя источники напряжения и нагрузочного сопротивления, регистрирующий прибор миллиамперметр и дифференциальный фоторезистор, и указанный датчик характеризуется тем, что к входной пневматической схеме подключена цепь сравнительного газа, в одну из веток которой подключены импульсно подающий при контрольном режиме дозу пробного газа пневмораспределитель, измерительная камера для пробного газа, также подключенная к пневмораспределителю, и микроманометры, измеряющие давления газов. Технический результат - повышение чувствительности и увеличение показаний измерений плотности газов. 1 ил.
Фотокомпенсационный датчик плотности газов, который содержит магнитоэлектрический гальванометр, включающий рамку, помещенную в зазоре постоянного магнита, и подвижную часть с жестко закрепленными на ней пластиной и зеркалом, на которое из источника света через конденсор и диафрагму направляется луч света, при этом к поверхности пластины, жестко закрепленной на растяжках магнитоэлектрического гальванометра, нормально расположена входная пневматическая схема, выполненная в виде двух сопел, а в обратной связи указанного датчика расположена электрическая дифференциальная схема, включающая в себя источники напряжения и нагрузочного сопротивления, регистрирующий прибор миллиамперметр и дифференциальный фоторезистор, и указанный датчик характеризуется тем, что к входной пневматической схеме подключена цепь сравнительного газа, в одну из веток которой подключены импульсно подающий при контрольном режиме дозу пробного газа пневмораспределитель, измерительная камера для пробного газа, также подключенная к пневмораспределителю, и микроманометры, измеряющие давления газов.
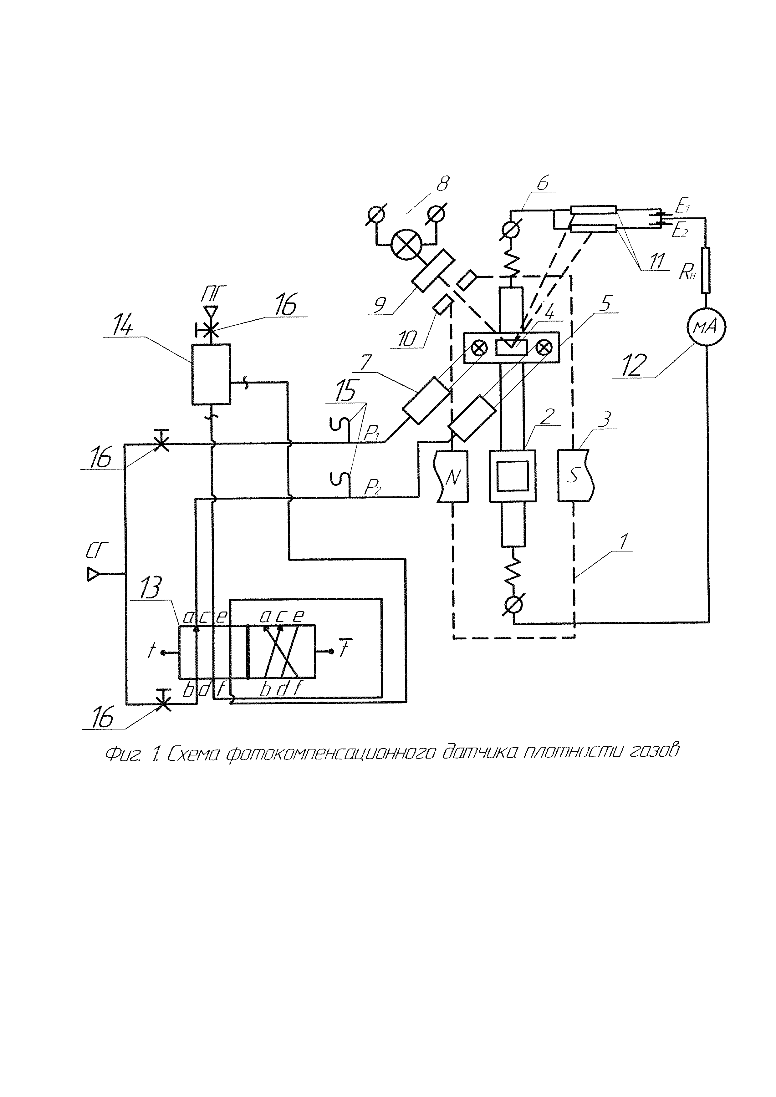
Изобретение относится к области анализа материалов путем определения их плотности, более конкретно, к автоматическим датчикам газового анализа. Из уровня техники известен принимаемый в качестве ближайшего аналога изобретения фотоэлектрический усилитель, основанный на использовании фотокомпенсационной гальванометрической схемы, содержащей гальванометр, источник светового потока, фотоприемник, мостовую электрическую схему, в обратной связи которой расположен вторичный прибор для регистрации выходного сигнала [авторское свидетельство SU 464953 А1, опубл. 25.03.1975]. Недостатком известного фотоэлектрического усилителя является отсутствие возможности регистрации плотности газа. Технический результат, который достигается в настоящем изобретении, заключается в возможности регистрации плотности газов за счет использования в нем измерительной компенсационной схемы силового действия струи на подвижную преграду, регистрации этого воздействия с помощью фотокомпенсационной гальванометрической схемы. Более конкретно, технический результат достигается фотокомпенсационным датчиком плотности газов, который содержит магнитоэлектрический гальванометр, включающий рамку, помещенную в зазоре постоянного магнита, и подвижную часть с жестко закрепленными на ней пластиной и зеркалом, на которое из источника света через конденсор и диафрагму направляется луч света, при этом к поверхности пластины, жестко закрепленной на растяжках магнитоэлектрического гальванометра, нормально расположена входная пневматическая схема, выполненная в виде двух сопел, а в обратной связи указанного датчика расположена электрическая дифференциальная схема, включающая в себя источники напряжения и нагрузочного сопротивления, регистрирующий прибор миллиамперметр и дифференциальный фоторезистор, и указанный датчик характеризуется тем, что к входной пневматической схеме подключена цепь сравнительного газа, в одну из веток которой подключены импульсно подающий при контрольном режиме дозу пробного газа пневмораспределитель, измерительная камера для пробного газа, также подключенная к пневмораспределителю, и микроманометры, измеряющие давления газов. На фиг. 1 представлена схема предлагаемого фотокомпенсационного датчика плотности газов. Фотокомпенсационный датчик плотности газов включает магнитоэлектрический компаратор, представляющий собой магнитоэлектрический гальванометр 1, рамка 2 которого помещена в зазоре постоянного магнита 3. На подвижной части гальванометра 1 жестко закреплены зеркало 4 и пластина 5. Ток к рамке подводится по токопроводам 6. Нормально к поверхности пластины 5, жестко закрепленной на растяжках гальванометра 1, и на некотором удалении от нее установлены представляющие собой входную пневматическую схему сопла 7, из которых вытекают струи воздуха под давлением Р1 иР2. Оптическая часть гальванометра 1 состоит из источника света 8, подающего через конденсор 9 и диафрагму 10 луч света на зеркало 4 гальванометра 1. Отраженный от зеркала 4 луч света падает на дифференциальный фоторезистор 11, включенный в электрическую дифференциальную схему, которая состоит из источников напряжения Е1 и Е2 и нагрузочного сопротивления Rн. Выходной ток I в цепи обратной связи регистрируется миллиамперметром 12. Входные сопла 7 подключены к пневмораспределителю 13, с помощью которого осуществляется пуск пробного газа ПГ через измерительную камеру для пробного газа 14. Для контроля давлений Р1 и Р2 в цепи сравнительного газа СГ используются микроманометры 15, настройка которых обеспечивается переключением клапанов 16. При подаче пробного газа ПГ происходит накопление в течение времени измерения, в это время сравнительный газ СГ проходит к входным соплам 7 и одинаково давит на пластину 5, при этом рамка 2 гальванометра 1 и зеркало 4 находятся в исходном положении. В связи с этим возникает условный нулевой сигнал. С помощью пневмораспределителя 13 пробный газ ПГ подается в линию сравнительного газа СГ. Пробный газ ПГ, обладающий другой плотностью, поворачивает на определенный угол пластину 5, зеркало 4 и рамку 2 гальванометра 1. Отраженный луч света изменяет освещенность дифференциального фоторезистора 11, в результате чего появляется ток в обратной цепи, который согласно закону Фарадея приводит к появлению магнитоэлектрической силы, компенсирующей изменение силы действия струи. Величина тока в цепи обратной связи пропорциональна разности плотностей пробного газа ПГ и сравнительного газа СГ. При разбалансе входной пневматической схемы струи газа, вытекающие из сопел 7, отклоняют пластину 5 с зеркалом 4. Перемещение отраженного от зеркала луча света вызывает перераспределение световых потоков на поверхностях двух половин дифференциального фоторезистора 11. Разбаланс электрической дифференциальной схемы приводит к появлению тока в цепи отрицательной обратной связи, состоящей из сопротивления Rн, миллиамперметра 13 и рамки 2 гальванометра 1. Образующийся при этом магнитоэлектрический момент Мэл компенсирует механический момент Мм от действия струи на поверхность пластины 5. Пренебрегая жесткостью упругих элементов подвижной части, запишем условие работы в установившемся режиме: Механический момент от действия струи на подвижную пластину: где ΔР=Р1-Р2 - разность давлений перед соплами 7, Sc - площадь «следа» струи, iц - расстояние оси симметрии площади «следа» струи от оси симметрии подвижной части гальванометра 1. Магнитоэлектрический момент Мэл определяется выражением: где ψэ - потокосцепление. Равенство (1) с учетом (2) и (3) имеет вид: Чувствительность Нр к изменению давления перед соплами 7: Анализ результатов проведенных исследований привел к выводу, что дозированная подача измеряемых величин и цикличная работа устройства обеспечивают значительное повышение чувствительности к изменению плотности и стабильности показаний.



