патент
№ RU 2684352
МПК F02K7/04

РЕГУЛИРУЕМОЕ ПУЛЬСИРУЮЩЕЕ ГАЗОДИНАМИЧЕСКОЕ ДЕТОНАЦИОННОЕ РЕЗОНАТОРНОЕ ВЫХОДНОЕ УСТРОЙСТВО ДЛЯ ПОЛУЧЕНИЯ ТЯГИ

Авторы:
Фролов Владимир Иванович
Номер заявки
2018126011
Дата подачи заявки
16.07.2018
Опубликовано
08.04.2019
Страна
RU
Как управлять
интеллектуальной собственностью
Чертежи 
1
Реферат

Изобретение относится к машиностроению, в частности к конструкции устройств получения тяги с резонансными камерами сгорания. Регулируемое пульсирующее газодинамическое детонационное резонаторное выходное устройство для получения тяги содержит газодинамический резонатор, полость которого сообщена с каналом подвода воздуха через кольцевое сопло, камеру формирования горючей смеси, с подключенными к ней элементами подачи топлива, и выходом, сообщенным с полостью газодинамического резонатора. Кольцевое сопло выполнено двухканальным, содержит общую для обоих каналов внутреннюю стенку, подвижную относительно оси двухканального кольцевого сопла, отделяющую канал подвода воздуха и образующую вместе с кромкой газодинамического резонатора канал подвода горючей смеси, сообщенный с выходом камеры формирования горючей смеси. Выходы обоих каналов кольцевого сопла выполнены тангенциальными, а его диаметр равен диаметру среза газодинамического резонатора. Полость газодинамического резонатора выполнена в виде сферического сегмента. Вход камеры формирования горючей смеси снабжен регулируемым источником высокотемпературного газа. Изобретение направлено на расширение диапазона устойчивой работы регулируемого пульсирующего газодинамического детонационного резонаторного выходного устройства для получения тяги за счет увеличения вариативности возможных законов регулирования. 1 ил.

Формула изобретения

Регулируемое пульсирующее газодинамическое детонационное резонаторное выходное устройство для получения тяги, содержащее газодинамический резонатор, полость которого сообщена с каналом подвода воздуха через кольцевое сопло, камеру формирования горючей смеси, с подключенными к ней элементами подачи топлива, и выходом, сообщенным с полостью газодинамического резонатора, отличающееся тем, что кольцевое сопло выполнено двухканальным, содержащим общую для обоих каналов внутреннюю стенку, подвижную относительно оси двухканального кольцевого сопла, отделяющую канал подвода воздуха и образующую вместе с кромкой газодинамического резонатора канал подвода горючей смеси, сообщенный с выходом камеры формирования горючей смеси, при этом выходы обоих каналов кольцевого сопла выполнены тангенциальными, а его диаметр равен диаметру среза газодинамического резонатора, полость которого выполнена в виде сферического сегмента, а вход камеры формирования горючей смеси снабжен регулируемым источником высокотемпературного газа.

Описание

[1]

Изобретение относится к машиностроению, в частности, к конструкции устройств получения тяги с резонансными камерами сгорания.

[2]

В качестве наиболее близкого аналога выбрано устройство для получения тяги, содержащее газодинамический резонатор, полость которого сообщена с каналом подвода воздуха через кольцевое сопло, камеру формирования горючей смеси, с подключенными к ней элементами подачи топлива, и выходом, сообщенным с полостью газодинамического резонатора. /RU 2179254, МПК F02K 7/02, опубликовано: 10.02.2002/

[3]

Недостатком известного решения является то, что регулирование пульсирующего детонационного резонаторного устройства для получения тяги осуществляется по ограниченному количеству параметров.

[4]

Технический эффект заявленного изобретения - расширение диапазона устойчивой работы регулируемого пульсирующего газодинамического детонационного резонаторного выходного устройства для получения тяги, за счет увеличения вариативности возможных законов регулирования.

[5]

Указанный технический результат достигается тем, что в регулируемом пульсирующем газодинамическом детонационном резонаторном выходном устройстве для получения тяги, содержащем газодинамический резонатор, полость которого сообщена с каналом подвода воздуха через кольцевое сопло, камеру формирования горючей смеси, с подключенными к ней элементами подачи топлива, и выходом, сообщенным с полостью газодинамического резонатора, согласно изобретению кольцевое сопло выполнено двухканальным, содержащим общую для обоих каналов внутреннюю стенку, подвижную относительно оси двухканального кольцевого сопла, отделяющую канал подвода воздуха и образующую вместе с кромкой газодинамического резонатора канал подвода горючей смеси, сообщенный с выходом камеры формирования горючей смеси, при этом выходы обоих каналов кольцевого сопла выполнены тангенциальными, а его диаметр равен диаметру среза газодинамического резонатора, полость которого выполнена в виде сферического сегмента, а вход камеры формирования горючей смеси снабжен регулируемым источником высокотемпературного газа.

[6]

Наличие регулируемого источника высокотемпературного газа на входе камеры формирования горючей смеси позволяет более эффективно производить испарение капель топлива, разлогая его на активные радикалы, при различных температурах горения, тем самым обеспечивается подготовка горючей смеси для детонационного сгорания.

[7]

Выполнение полости газодинамического резонатора в виде сферического сегмента, диаметр которого равен диаметру двухканального кольцевого сопла, позволяет организовать на выходе из газодинамического резонатора газодинамический затвор, в котором сходящиеся сверхзвуковые воздушные струи закрывают полость газодинамического резонатора.

[8]

Реализация конструкции регулируемого пульсирующего газодинамического детонационного выходного устройства с двухканальным кольцевым соплом, которое содержит общую для обоих каналов внутреннюю стенку, подвижную относительно оси кольцевого сопла, отделяющую канал подвода воздуха и образующую вместе с кромкой газодинамического резонатора канал подвода горючей смеси, сообщенный с выходом камеры формирования горючей смеси, а также тангенциальное выполнение выходов обоих каналов кольцевого сопла позволяет организовать подачу воздуха и горючей смеси в параллельных плоскостях без предварительного перемешивания.

[9]

Выполнение двухканального кольцевого сопла, содержащего общую для обоих каналов внутреннюю стенку, подвижную относительно оси двухканального кольцевого сопла, отделяющую канал подвода воздуха и образующую вместе с кромкой газодинамического резонатора канал подвода горючей смеси, сообщенный с выходом камеры формирования горючей смеси, а также тангенциальное выполнение выходов обоих каналов кольцевого сопла позволяет совместно регулировать площади выходных сечений каналов подвода воздуха и горючей смеси, тем самым изменяется соотношение воздуха и горючей смеси, это позволяет изменять эффективность детонационной волны, уменьшая или увеличивая ее интенсивность, таким образом изменяется тяга в зависимости от потребной ее величины.

[10]

Принципиальное отличие заявленного технического решения от прототипа, заключается в расширении диапазона устойчивой работы, за счет увеличения вариативности возможных законов регулирования. Увеличение вариативности достигается благодаря возможности совместного регулирования большего количества параметров потоков горючей смеси и воздуха, за счет одновременного изменения температуры газа в камере формирования горючей смеси, изменения количества подаваемого в камеру формирования горючей смеси топлива, а также совместного регулирования критических сечений каналов подвода воздуха и горючей смеси в двухканальном кольцевом сопле.

[11]

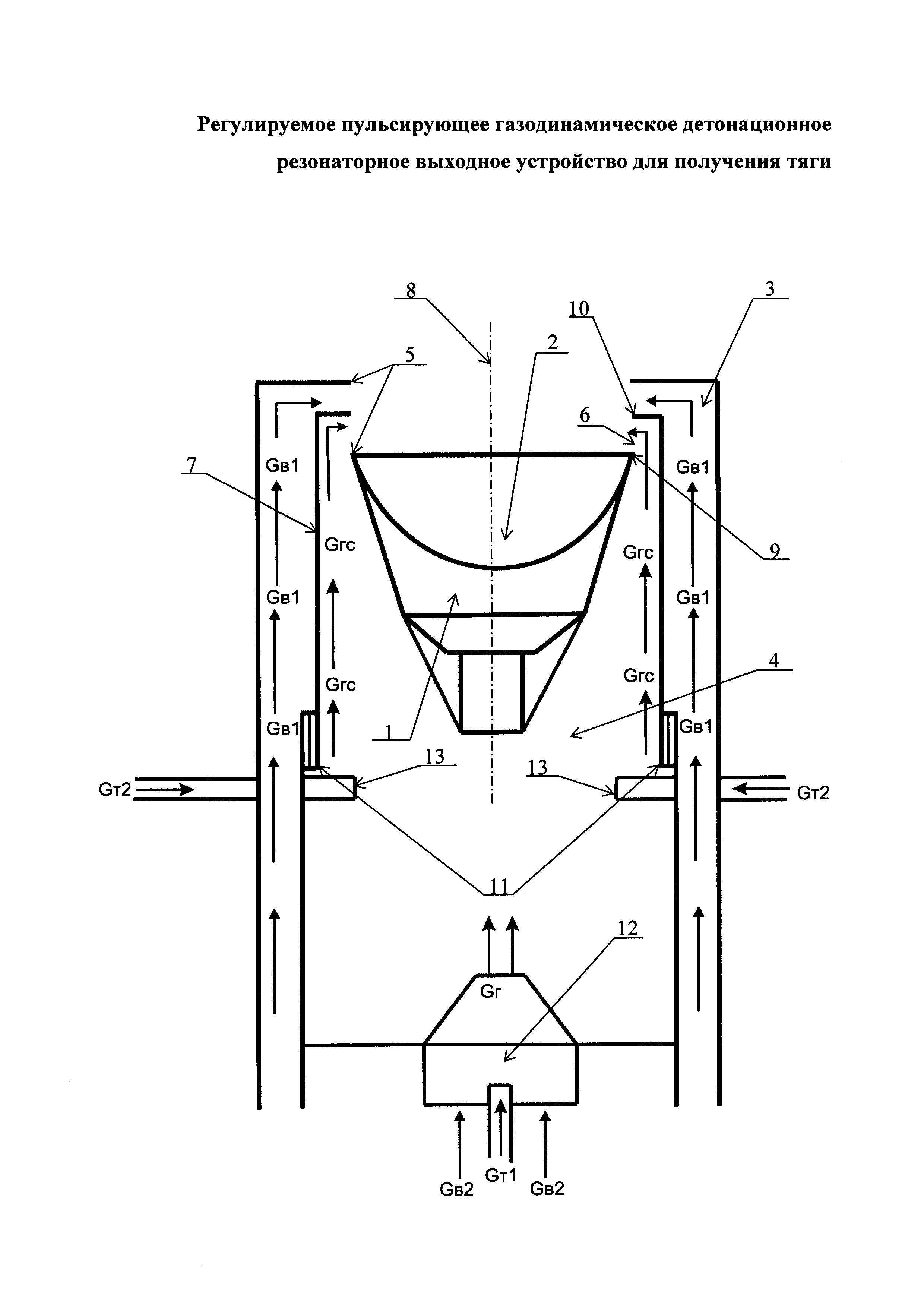
На чертеже представлена принципиальная схема регулируемого пульсирующего газодинамического детонационного резонаторного выходного устройства для получения тяги.

[12]

Регулируемое пульсирующее газодинамическое детонационное резонаторное выходное устройство для получения тяги содержит газодинамический резонатор (1), сферическая полость (2) которого сообщена с каналом подвода воздуха (3) и камерой формирования горючей смеси (4) посредством двухканального кольцевого сопла (5), содержащего канал подвода воздуха (3) и канал подвода горючей смеси (6), сообщенный с камерой формирования горючей смеси (4). Кроме того, двухканальное кольцевое сопло (5) содержит общую для обоих каналов внутреннюю стенку (7), выполненную подвижной относительно оси (8) двухканального кольцевого сопла (5). Канал подвода горючей смеси (6) образован кромкой (9) газодинамического резонатора (1) и кромкой (10) внутренней стенки (7). При этом диаметр кромки (10) равен диаметру кромки (9). Внутренняя стенка (7) перемещается в осевом направлении, посредством элементов механизации (11), обеспечивающих возвратно-поступательное движение. Вход камеры формирования горючей смеси (4) снабжен регулируемым источником высокотемпературного газа. В частном случае реализации источник высокотемпературного газа выполнен в виде горелочного устройства (12) с раздельной подачей топлива и воздуха. Кроме того, камера формирования горючей смеси (4) содержит элементы подачи топлива. В частном случае реализации элементы подачи топлива выполнены в виде топливных форсунок (13).

[13]

Устройство работает следующим образом. В сферическую полость (2) газодинамического резонатора (1) в параллельных плоскостях одновременно подается воздух через канал подвода воздуха (3) и горючая смесь через канал подвода горючей смеси (6). При соударении сверхзвуковых струй, истекающих из канала подвода воздуха (3) двухканального кольцевого сопла (5), образуется ударная волна, которая, отражаясь от стенки сферической полости (2) газодинамического резонатора (1), фокусируется в некоторой точке внутри сферической полости (2) газодинамического резонатора (1). В этой точке происходит значительное повышение температуры и давления, достаточное для воспламенения подготовленной горючей смеси, скорость горения которой близка к детонационной. В результате возгорания горючей смеси образуется детонационная волна, которая распространяется во все стороны. Идущая за детонационной волной, волна низкого давления всасывает в сферическую полость (2) через канал подвода горючей смеси (6) новую порцию горючей смеси. А поступающий через канал подвода воздуха (3) воздух, движущийся со сверхзвуковой скоростью, при своем соударении образует новую ударную волну и процесс повторяется.

[14]

Подготовка горючей смеси происходит в камере формирования горючей смеси (4) следующим образом. В горелочное устройство (11) подается топливо и воздух в стехиометрическом соотношении и поджигается. Из горелочного устройства (12) газ с высокой температурой попадает в камеру формирования горючей смеси (4). В него через коллектор топливных форсунок (13) подается дополнительно топливо. Суммарный расход подачи топлива, с учетом топлива подаваемого в горелочное устройство (12), обеспечивает коэффициент избытка воздуха в камере (4) в диапазоне [0,1-0,4]. Горение горючей смеси прекращается - получается «замороженная» смесь, но при этом ее температура остается достаточно высокой, в таком виде она подается в сферическую полость (2) газодинамического резонатора (1) через канал подвода горючей смеси (6).

[15]

При перемещении внутренней стенки (7) площади критических сечений канала подвода воздуха (3) и канала подвода горючей смеси (6) изменяются, регулируя расход воздуха и количество горючей смеси, поступающих в сферическую полость (2) газодинамического резонатора (1). Соотношение площадей критических сечений каналов кольцевого сопла (5) регулируется из условия сохранения сверхзвукового истечения из канала подвода воздуха (3). Изменение соотношения расходов воздуха через канал подвода воздуха (3) и горючей смеси, подаваемой через канал подвода горючей смеси (6), влияет на интенсивность ударной волны и позволяет регулировать полноту сгорания топлива в сферической полости (2) газодинамического резонатора (1).

[16]

При движении ударной волны через сферическую полость (2) газодинамического резонатора (1) воздух, поступающий через канал подвода воздуха (3), смешивается с горючей смесью, поступающей через канал подвода горючей смеси (6), тем самым обеспечивается регулирование суммарного коэффициента избытка воздуха.

Как компенсировать расходы
на инновационную разработку
Похожие патенты