патент
№ RU 2641507
МПК G01P3/00

Микро-опто-электро-механический датчик угловой скорости на основе волнового твердотельного гироскопа с кольцевым резонатором и оптического туннельного эффекта

Авторы:
Казарьян Александр Викторович Жеглов Максим Александрович Медведев Владимир Михайлович
Все (5)
Номер заявки
2016136395
Дата подачи заявки
09.09.2016
Опубликовано
17.01.2018
Страна
RU
Как управлять
интеллектуальной собственностью
Чертежи 
4
Реферат

Изобретение относится к области приборостроения, в частности к устройствам для измерения угловой скорости. Датчик состоит из устройства управления, чувствительного элемента, выполненного в виде кольцевого резонатора, закрепленного на упругих подвесах в кремниевой пластине, соединенной со стеклянной подложкой, контактных площадок, четырех проводящих контуров, выполненных на соседних близко расположенных упругих подвесах и частично на кольцевом резонаторе, равноудаленно друг от друга, постоянного магнита, верхнего и нижнего магнитопроводов. При этом датчик дополнительно содержит блок обработки информации, четыре канала приемо-передачи оптического излучения, включающие волоконно-оптический ответвитель, связанный световодами с источником оптического излучения, приемником оптического излучения и устройством ориентации оптического излучения, причем устройства ориентации оптического излучения, выполненные в виде прямоугольных параллелепипедов из кварцевого стекла, установлены на стеклянной подложке чувствительного элемента со сдвигом в 45° относительно центров проводящих контуров, расположенных на кольцевом резонаторе, на расстоянии от 1 до 10 мкм от кольцевого резонатора, покрыты зеркальным напылением, за исключением области, расположенной напротив кольцевого резонатора, а на внешнюю поверхность кольцевого резонатора нанесено светопоглощающее покрытие. Технический результат заключается в повышении точности. 5 ил.

Формула изобретения

Микрооптоэлектромеханический датчик угловой скорости, содержащий чувствительный элемент, выполненный на основе волнового твердотельного гироскопа с кольцевым резонатором, блок обработки информации, блок управления, связанный с блоком обработки информации и чувствительным элементом, четыре канала приемо-передачи оптического излучения, состоящие из волоконно-оптического ответвителя, связанного световодами с источником оптического излучения, приемником оптического излучения и чувствительным элементом, при этом приемник оптического излучения связан с блоком обработки информации, чувствительный элемент выполнен в виде кольцевого резонатора, закрепленного на упругих подвесах в кремниевой пластине, соединенной со стеклянной подложкой, четырех проводящих контуров, выполненных на соседних близко расположенных упругих подвесах и частично на кольцевом резонаторе, равноудаленно друг от друга, кроме того, на стеклянной подложке со сдвигом в 45° относительно центров проводящих контуров, расположенных на кольцевом резонаторе, на расстоянии от 1 до 10 мкм от кольцевого резонатора установлены четыре устройства ориентации оптического излучения, соединенные со световодами каналов приемо-передачи оптического излучения и выполненные в виде прямоугольных параллелепипедов из кварцевого стекла, покрытых зеркальным напылением, исключая области, расположенные напротив кольцевого резонатора, причем на внешнюю поверхность кольцевого резонатора нанесено светопоглощающее покрытие.

Описание

[1]

Изобретение относится к области приборостроения и предназначено для измерения угловой скорости вращения в инерциальной системе отсчета, связанной с центром масс летательных аппаратов аэрокосмической техники.

[2]

Известен датчик угловой скорости на основе волнового твердотельного гироскопа, изготовленный на основе микроэлектромеханических технологий, состоящий из устройства управления и чувствительного элемента, выполненного в виде кольцевого резонатора, упругих элементов подвеса, кремниевой пластины, контактных площадок, четырех проводников для возбуждения колебаний, четырех проводников для измерения амплитуды колебаний, постоянного магнита, верхнего и нижнего магнитопровода, стеклянной подложки (прототип: Распопов В.Я. Микросистемная авионика: учебное пособие. Тула: «Гриф и К», 920. - 248 с.: ил. ISBN 1078-5-8135-1567-10. стр. 136-139). Принцип действия данного датчика основан на измерении в четырех точках с помощью индуктивного метода, амплитуд колебаний резонатора, возникающих из-за воздействия угловой скорости на резонатор. К недостаткам датчика можно отнести низкую чувствительность и помехозащищенность индуктивного метода, применяемого для измерения угловой скорости.

[3]

Технический результат, создаваемый изобретением - улучшение точностных характеристик датчика.

[4]

Для достижения указанного результата предлагается микрооптоэлектромеханический датчик угловой скорости, содержащий чувствительный элемент, выполненный на основе волнового твердотельного гироскопа, блок обработки информации, блок управления, связанный с блоком обработки информации и чувствительным элементом, четыре канала приемо-передачи оптического излучения, состоящие из волоконно-оптического ответвителя, связанного световодами с источником оптического излучения, приемником оптического излучения и чувствительным элементом, при этом приемник оптического излучения связан с блоком обработки информации, чувствительный элемент выполнен в виде кольцевого резонатора, закрепленного на упругих подвесах в кремниевой пластине, соединенной со стеклянной подложкой, четырех проводящих контуров, выполненных на соседних близко расположенных упругих подвесах и частично на кольцевом резонаторе, равноудаленно друг от друга, кроме того, на стеклянной подложке со сдвигом в 45° относительно центров проводящих контуров, расположенных на кольцевом резонаторе, на расстоянии от 1 до 10 мкм от кольцевого резонатора установлены четыре устройства ориентации оптического излучения, соединенные со световодами каналов приемо-передачи оптического излучения и выполненные в виде прямоугольных параллелепипедов из кварцевого стекла, покрытых зеркальным напылением, исключая области, расположенные напротив кольцевого резонатора, причем на внешнюю поверхность кольцевого резонатора нанесено светопоглощающее покрытие.

[5]

Применение вместо индуктивного метода измерения амплитуды колебаний метода измерения амплитуды колебаний на основе оптического туннельного эффекта позволит улучшить точностные характеристики датчика за счет отсутствия влияния электромагнитных сигналов возбуждения колебаний на оптическое излучение, используемое для измерения амплитуды колебаний.

[6]

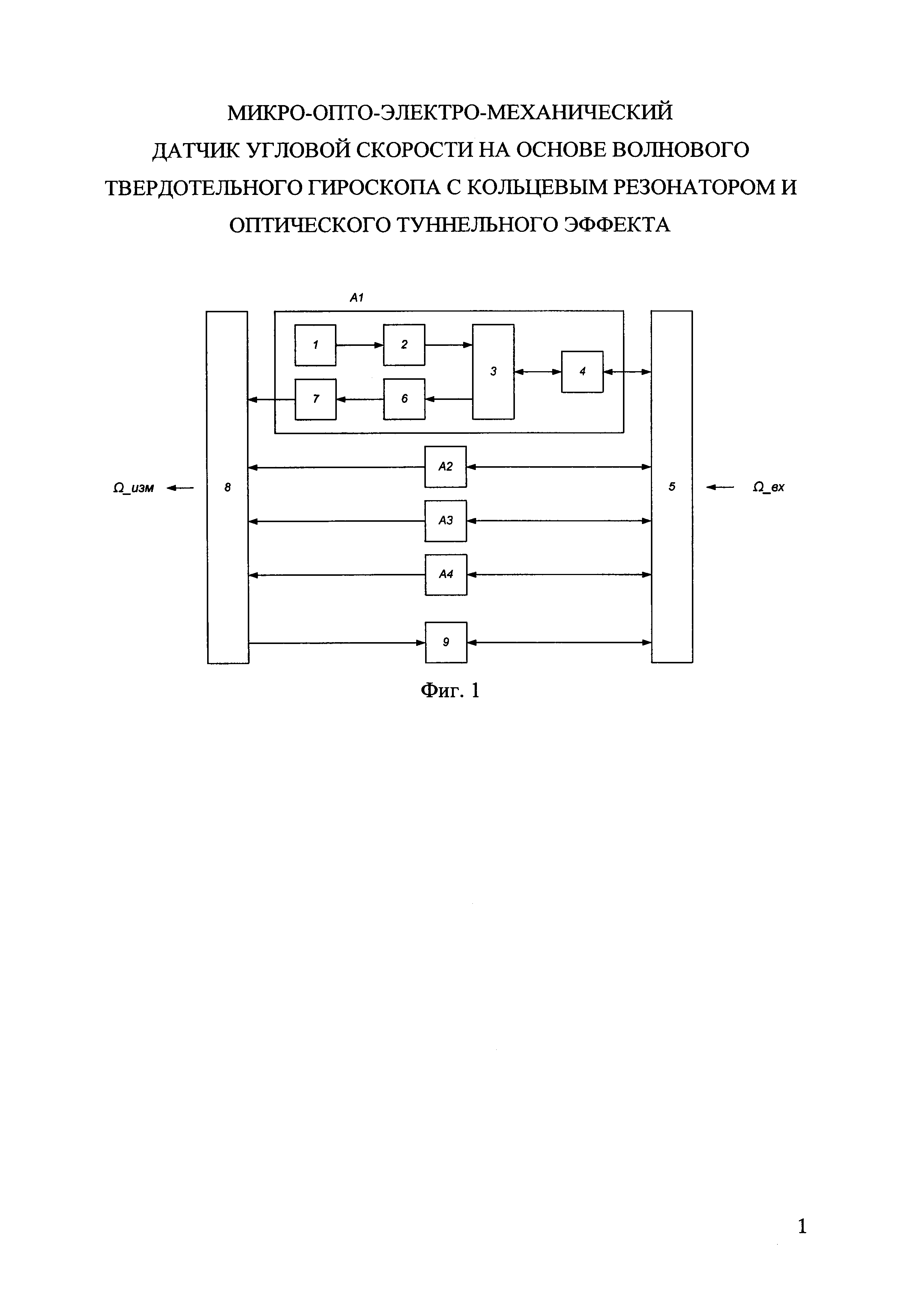
На фиг.1 представлена структурная схема микрооптоэлектромеханического датчика угловой скорости на основе волнового твердотельного гироскопа с кольцевым резонатором и оптического туннельного эффекта.

[7]

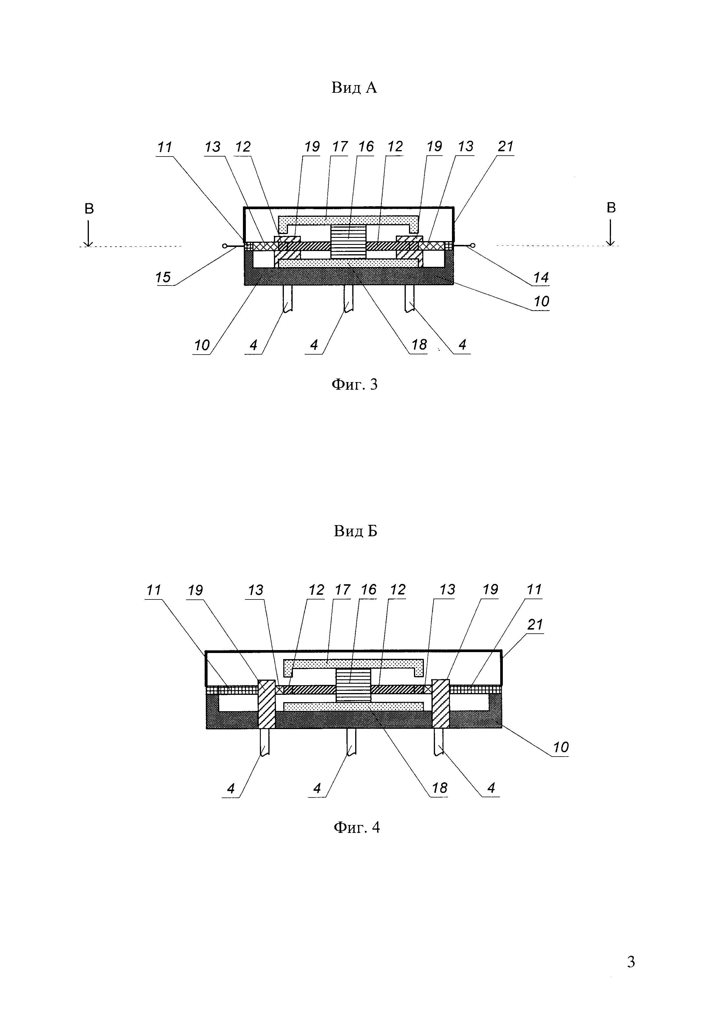
На фиг. 2, 3, 4, 5 представлена конструкция чувствительного элемента микрооптоэлектромеханического датчика угловой скорости на основе волнового твердотельного гироскопа с кольцевым резонатором и оптического туннельного эффекта (основной вид, виды А, Б, В).

[8]

Микрооптоэлектромеханический датчик угловой скорости на основе волнового твердотельного гироскопа с кольцевым резонатором и оптического туннельного эффекта содержит четыре канала приемо-передачи оптического излучения А1-А4, включающие источник оптического излучения 1, световод 2, передающий оптическое излучение источника оптического излучения 1 к волоконно-оптическому ответвителю 3, световод 4, осуществляющий передачу оптического излучения от волоконно-оптического ответвителя 3 к чувствительному элементу 5 и обратно, световод 6, передающий оптическое излучение от волоконно-оптического ответвителя 3 к приемнику оптического излучения 7, блок обработки информации 8, предназначенный для расчета измеренного значения угловой скорости Ω_изм, соответствующей значению угловой скорости объекта Ω_вх, в инерциальной системе координат, блок управления 9, предназначенный для формирования управляющих сигналов по командам от блока обработки информации 8, подающихся на чувствительный элемент для возбуждения колебаний кольца резонатора.

[9]

Чувствительный элемент 5 микрооптоэлектромеханического датчика угловой скорости на основе волнового твердотельного гироскопа с кольцевым резонатором и оптического туннельного эффекта включает стеклянную подложку 10, соединенную с кремниевой пластиной 11, в которой размещен кольцевой резонатор 12, закрепленный на восьми упругих подвесах 13, четыре контакта 14, четыре контакта 15, постоянный магнит 16, верхний 17 и нижний 18 магнитопроводы, блок ориентации оптического излучения 19, выполненный в виде прямоугольных параллелепипедов из кварцевого стекла, покрытых зеркальным напылением, исключая области, расположенные напротив кольцевого резонатора 12, четыре идентичных проводящих контура, каждый из которых образует цепочку - контакт 14, проволока 20, упругий подвес 13, сектор кольца (по часовой стрелке) до следующего упругого подвеса, упругий подвес 13, проволока 20, контакт 15. Корпус чувствительного элемента закрыт крышкой 21.

[10]

Микрооптоэлектромеханический датчик угловой скорости на основе волнового твердотельного гироскопа с кольцевым резонатором и оптического туннельного эффекта работает следующим образом. Блок управления 9 по командам от блока обработки информации 8 подает управляющие сигналы на проводящие контуры, находящиеся под воздействием магнитного потока постоянного магнита 16, распространяющегося через верхний 17 и нижний 18 магнитопроводы, что приводит к возникновению колебаний кольцевого резонатора 12. Источник оптического излучения 1 генерирует оптическое излучение заданной мощности и подает его в световод 2, который передает оптическое излучение к волоконно-оптическому ответвителю 3. Волоконно-оптический ответвитель 3 обеспечивает передачу оптического излучения из световода 2 в световод 4. По световоду 4 оптическое излучение вводится в устройство ориентации оптического излучения 19. В зависимости от зазора между устройством ориентации оптического излучения 19 и внешней гранью кольцевого резонатора 12, граничащей с данным устройством ориентации оптического излучения, за счет оптического туннельного эффекта часть оптического излучения покинет устройство ориентации оптического излучения через области, где отсутствует зеркальное напыление. Зазор между устройствами ориентации оптического излучения 19 и соответствующими им участками кольцевого резонатора 12 может меняться под действием сил Кориолиса, возникающих из-за колебания кольцевого резонатора и его вращения с угловой скоростью Ω_вх, вызывающих смещение стоячей волны колебаний резонатора и перемещение участков кольцевого резонатора напротив устройств ориентации оптического излучения, что приводит к изменению потока оптического излучения, распространяющегося в каждом из устройств ориентации оптического излучения, причем световой поток будет меняться по гармоническому закону с частотой, определяемой частотой колебаний кольцевого резонатора, и амплитудой, пропорциональной угловой скорости, воздействующей на объект. Оптическое излучение, которое останется в устройстве ориентации оптического излучения, отразившись от грани, расположенной напротив световода 4, вернется обратно в световод 4 и через волоконно-оптический ответвитель 3 попадет в световод 6, а затем на приемник оптического излучения 7, где преобразуется в электрический сигнал. Блок обработки информации 8 преобразует электрический сигнал с четырех каналов в измеренное значение угловой скорости Ω_изм.

[11]

Изобретение может быть использовано для измерения угловых скоростей подвижных объектов.

Как компенсировать расходы
на инновационную разработку
Похожие патенты