Группа изобретений относится к системе и способу предотвращения нарушений правил полетов беспилотными летательными аппаратами (БПЛА). Система содержит наземный центр контроля, наземные средства обнаружения подозреваемого БПЛА, БПЛА-перехватчик, содержащий бортовые средства обнаружения и средства захвата подозреваемого БПЛА. Способ заключается в том, что с помощью наземных средств обнаруживают подозреваемый БПЛА в зоне контроля, передают его координаты в наземный центр контроля, с помощью БПЛА-перехватчика определяют идентификационные данные подозреваемого БПЛА, передают их в наземный центр контроля, в случае несовпадения этих данных с данными государственной системы регистрации и контроля БПЛА осуществляют с помощью БПЛА-перехватчика захват подозреваемого БПЛА и доставку его на землю. Обеспечивается повышение функциональности для предотвращения нарушений правил полетов и возможностей для различения и идентификации нарушителей. 2 н. и 12 з.п. ф-лы, 3 ил.
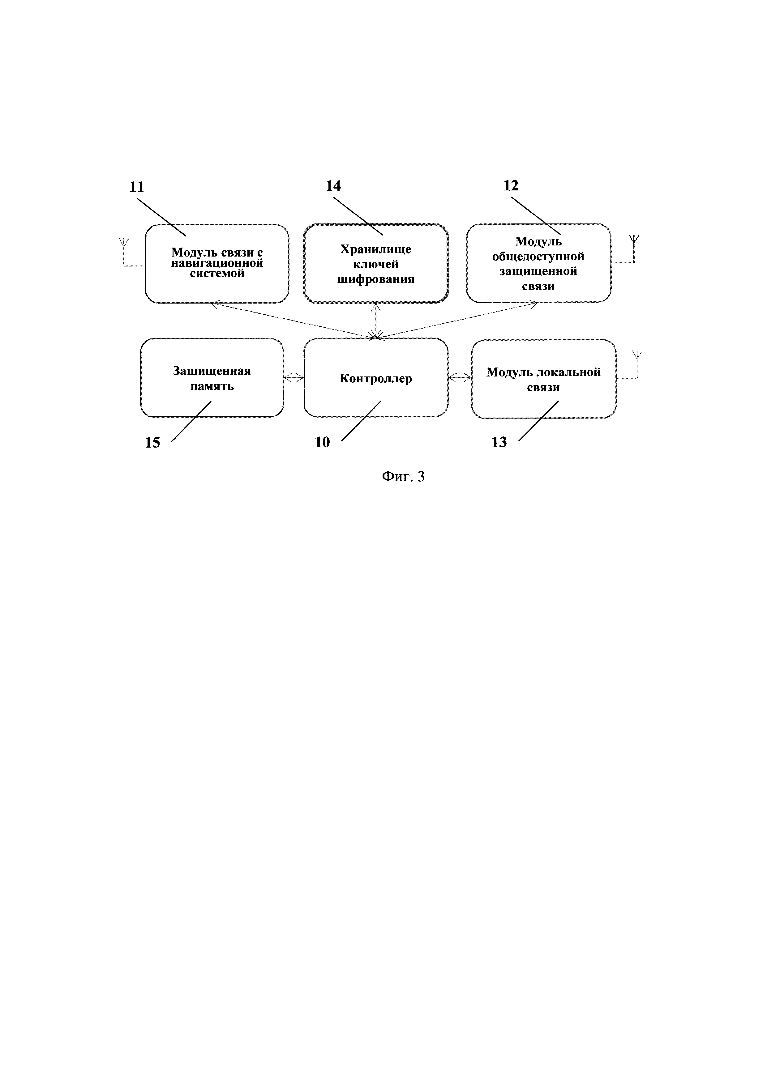
1. Система предотвращения нарушений правил полетов беспилотными летательными аппаратами (БПЛА), содержащая наземный центр контроля, соединенный с наземными средствами обнаружения и с беспилотным летательным аппаратом перехватчиком (БПЛА-перехватчик), имеющим бортовые средства обнаружения и захвата подозреваемого БПЛА, причем - наземные средства обнаружения выполнены с возможностью обнаружения подозреваемого БПЛА в зоне контроля и передачи его координат в - наземный центр контроля, выполненный с возможностью запроса у подозреваемого БПЛА идентификационных данных подозреваемого БПЛА, содержащих данные о государственной регистрации и разрешенных зонах и треках полета, с возможностью запроса у государственной системы регистрации и контроля БПЛА идентификационных данных подозреваемого БПЛА, и с возможностью сравнения идентификационных данных подозреваемого БПЛА, полученных от государственной системы регистрации и контроля БПЛА и от подозреваемого БПЛА, при этом передачи БПЛА-перехватчику сигнала о начале перехвата подозреваемого БПЛА и его координат, в случае неполучения, по причине их отсутствия, от государственной системы регистрации и контроля БПЛА идентификационных данных подозреваемого БПЛА, в случае неполучения от подозреваемого БПЛА идентификационных данных подозреваемого БПЛА или в случае сравнения идентификационных данных подозреваемого БПЛА, полученных от государственной системы регистрации и контроля БПЛА и от подозреваемого БПЛА, при этом обнаружения несовпадения этих данных; - БПЛА-перехватчик выполнен с возможностью обнаружения по сигналу о начале перехвата, с применением координат и бортовых средств обнаружения, подозреваемого БПЛА, подлета к подозреваемому БПЛА, считывания, с помощью бортовых средств обнаружения, идентификационных данных подозреваемого БПЛА и передачи их - в наземный центр контроля, выполненный с возможностью передачи БПЛА-перехватчику сигнала о захвате подозреваемого БПЛА, в случае сравнения идентификационных данных подозреваемого БПЛА, полученных от государственной системы регистрации и контроля БПЛА и от подозреваемого БПЛА, при этом обнаружения несовпадения этих данных; - БПЛА-перехватчик выполнен с возможностью захвата по сигналу о захвате, с применением средств захвата, и доставки на землю подозреваемого БПЛА. 2. Система по п. 1, отличающаяся тем, что наземные и бортовые средства обнаружения выполнены в виде средств, выбранных из набора радиолокационных, оптико-электронных и акустических средств, содержащего радиолокационные станции, видеокамеры, тепловизоры. 3. Система по п. 1, отличающаяся тем, что средство захвата выполнено в виде улавливающей сети. 4. Система по п. 1, отличающаяся тем, что наземный центр контроля выполнен в виде электронно-вычислительного устройства, соединенного с станцией беспроводной связи с БПЛА-перехватчиком. 5. Система по п. 1, отличающаяся тем, что БПЛА-перехватчик имеет полетный контроллер, соединенный с регистрационным модулем, выполненным с возможностью обмена данными с регистрационным модулем подозреваемого БПЛА и с наземным центром контроля. 6. Система по п. 5, отличающаяся тем, что регистрационный модуль содержит контроллер, соединенный с защищенной памятью треков и идентификационных данных, с модулем локальной связи, с модулем общедоступной защищенной связи, с хранилищем ключей шифрования и с модулем связи с навигационной системой, причем - модуль общедоступной защищенной связи выполнен с возможностью защищенной связи с наземным центром контроля по общедоступным беспроводным сетям, при этом передачи идентификационных данных, треков и текущих полетных данных, включая высоту и координаты, и приема управляющих сигналов; - модуль локальной связи выполнен с возможностью локальной связи с наземным центром контроля по локальным беспроводным сетям, при этом передачи идентификационных данных, треков и текущих полетных данных, включая высоту и координаты, и приема управляющих сигналов; - модуль связи с навигационной системой выполнен с возможностью получения от глобальных систем навигации координат текущего местоположения БПЛА; - контроллер выполнен с возможностью управления работой модулей регистрационного модуля, а также с возможностью шифрования и дешифрования передаваемых данных с использованием ключей шифрования. 7. Система по п. 6, отличающаяся тем, что общедоступные беспроводные сети выбраны из набора сетей, содержащего GSM и LTE сети. 8. Способ предотвращения нарушений правил полетов беспилотными летательными аппаратами (БПЛА), в котором - с помощью наземных средств обнаружения обнаруживают подозреваемый БПЛА в зоне контроля и передают его координаты в - наземный центр контроля, с помощью которого запрашивают у подозреваемого БПЛА идентификационные данные подозреваемого БПЛА, содержащие данные о государственной регистрации и разрешенных зонах и треках полета, запрашивают у государственной системы регистрации и контроля БПЛА идентификационные данные подозреваемого БПЛА, при этом передают БПЛА-перехватчику сигнал о начале перехвата подозреваемого БПЛА и его координаты, в случае неполучения, по причине их отсутствия, от государственной системы регистрации и контроля БПЛА идентификационных данных подозреваемого БПЛА, в случае неполучения от подозреваемого БПЛА идентификационных данных подозреваемого БПЛА или в случае сравнения идентификационных данных подозреваемого БПЛА, полученных от государственной системы регистрации и контроля БПЛА и от подозреваемого БПЛА, при этом обнаружения несовпадения этих данных; - с помощью БПЛА-перехватчика обнаруживают по сигналу о начале перехвата, с применением координат и бортовых средств обнаружения, подозреваемый БПЛА, подлетают к подозреваемому БПЛА, считывают, с помощью бортовых средств обнаружения, идентификационные данные подозреваемого БПЛА и передают их - в наземный центр контроля, с помощью которого передают БПЛА-перехватчику сигнал о захвате подозреваемого БПЛА, в случае сравнения идентификационных данных подозреваемого БПЛА, полученных от государственной системы регистрации и контроля БПЛА и от подозреваемого БПЛА, при этом обнаружения несовпадения этих данных; - с помощью БПЛА-перехватчика захватывают по сигналу о захвате, с применением средств захвата, и доставляют на землю подозреваемый БПЛА. 9. Способ по п. 8, отличающийся тем, что наземные и бортовые средства обнаружения выполнены в виде средств, выбранных из набора радиолокационных, оптико-электронных и акустических средств, содержащего радиолокационные станции, видеокамеры, тепловизоры. 10. Способ по п. 8, отличающийся тем, что средство захвата выполнено в виде улавливающей сети. 11. Способ по п. 8, отличающийся тем, что наземный центр контроля выполнен в виде электронно-вычислительного устройства, соединенного с станцией беспроводной связи с БПЛА-перехватчиком. 12. Способ по п. 8, отличающийся тем, что БПЛА-перехватчик имеет полетный контроллер, соединенный с регистрационным модулем, с помощью которого осуществляют обмен данными с регистрационным модулем подозреваемого БПЛА и с наземным центром контроля. 13. Способ по п. 12, отличающийся тем, что регистрационный модуль содержит контроллер, соединенный с защищенной памятью треков и идентификационных данных, с модулем локальной связи, с модулем общедоступной защищенной связи, с хранилищем ключей шифрования и с модулем связи с навигационной системой, причем - с помощью модуля общедоступной защищенной связи осуществляют защищенную связь с наземным центром контроля по общедоступным беспроводным сетям, при этом передают идентификационные данные, треки и текущие полетные данные, включая высоту и координаты, и принимают управляющие сигналы; - с помощью модуля локальной связи осуществляют локальную связь с наземным центром контроля по локальным беспроводным сетям, при этом передают идентификационные данные, треки и текущие полетные данные, включая высоту и координаты, и принимают управляющие сигналы; - с помощью модуля связи с навигационной системой получают от глобальных систем навигации координаты текущего местоположения БПЛА; - с помощью контроллера управляют работой модулей регистрационного модуля, а также шифруют и дешифруют передаваемые данные с использованием ключей шифрования. 14. Способ по п. 13, отличающийся тем, что общедоступные беспроводные сети выбраны из набора сетей, содержащего GSM и LTE сети.
Изобретение относится к области безопасности и организации воздушного движения, а именно, к системам и способам предотвращения нарушений правил полетов беспилотными летательными аппаратами, и может применяться для защиты зон, запрещенных для полетов легких беспилотных летательных аппаратов (БПЛА) путем предотвращения несанкционированных полетов БПЛА в указанных зонах. Известные системы и способы борьбы с нарушениями запретных зон заключаются в обнаружении БПЛА и их деактивации различными способами, например, посредством радиоэлектронного подавления всех электронных систем БПЛА, посредством огневого подавления и разрушения или посредством захвата и удержания БПЛА. Такие системы содержат средства обнаружения различного класса - оптические, акустические или радиолокационные, выполняющие задачи первичного обнаружения и целеуказания для средств подавления, и собственно системы подавления (уничтожения, перехвата или временного вывода из строя) БПЛА, нарушивших запретную для полетов зону. Наиболее близкой к заявленному изобретению является система уничтожения беспилотных летательных аппаратов, описанная в патенте RU 2495359, содержащая радиолокатор, выполненный с возможностью обнаружение БПЛА-нарушителя и передачи его координат на БПЛА-перехватчик, выполненный с возможностью обнаружения БПЛА-нарушителя с помощью координат, а также с помощью видеокамер и датчика перемещения, и с возможностью захвата БПЛА-нарушителя с помощью парашюта, используемого в качестве сети. Данная система выбрана в качестве прототипа заявленного изобретения. Недостатком системы-прототипа является недостаточная функциональность и плохие эксплуатационные качества вследствие отсутствия возможности различения БПЛА, нарушивших зону контроля, и БПЛА, находящихся в зоне контроля на законных основаниях. Техническим результатом изобретения является создание системы и способа предотвращения нарушений правил полетов беспилотными летательными аппаратами (БПЛА) с увеличенной функциональностью и улучшенными эксплуатационными качествами, а именно с функцией различения БПЛА, нарушивших зону контроля, и БПЛА, находящихся в зоне контроля на законных основаниях, за счет наличия в БПЛА его идентификационных данных, содержащих данные о государственной регистрации и разрешенных зонах и треках полета. Поставленный технический результат достигнут путем создания системы предотвращения нарушений правил полетов беспилотными летательными аппаратами (БПЛА), содержащей наземный центр контроля, соединенный с наземными средствами обнаружения и с беспилотным летательным аппаратом перехватчиком (БПЛА - перехватчик), имеющим бортовые средства обнаружения и захвата подозреваемого БПЛА, причем - наземные средства обнаружения выполнены с возможностью обнаружения подозреваемого БПЛА в зоне контроля и передачи его координат в - наземный центр контроля, выполненный с возможностью запроса у подозреваемого БПЛА идентификационных данных подозреваемого БПЛА, содержащих данные о государственной регистрации и разрешенных зонах и треках полета, с возможностью запроса у государственной системы регистрации и контроля БПЛА идентификационных данных подозреваемого БПЛА, и с возможностью сравнения идентификационных данных подозреваемого БПЛА, полученных от государственной системы регистрации и контроля БПЛА и от подозреваемого БПЛА, при этом передачи БПЛА-перехватчику сигнала о начале перехвата подозреваемого БПЛА и его координат, в случае не получения, по причине их отсутствия, от государственной системы регистрации и контроля БПЛА идентификационных данных подозреваемого БПЛА, в случае не получения от подозреваемого БПЛА идентификационных данных подозреваемого БПЛА или в случае сравнения идентификационных данных подозреваемого БПЛА, полученных от государственной системы регистрации и контроля БПЛА и от подозреваемого БПЛА, при этом обнаружения несовпадения этих данных; - БПЛА-перехватчик выполнен с возможностью обнаружения по сигналу о начале перехвата, с применением координат и бортовых средств обнаружения, подозреваемого БПЛА, подлета к подозреваемому БПЛА, считывания, с помощью бортовых средств обнаружения, идентификационных данных подозреваемого БПЛА и передачи их - в наземный центр контроля, выполненный с возможностью передачи БПЛА-перехватчику сигнала о захвате подозреваемого БПЛА, в случае сравнения идентификационных данных подозреваемого БПЛА, полученных от государственной системы регистрации и контроля БПЛА и от подозреваемого БПЛА, при этом обнаружения несовпадения этих данных; - БПЛА-перехватчик выполнен с возможностью захвата по сигналу о захвате, с применением средств захвата, и доставки на землю подозреваемого БПЛА. В предпочтительном варианте осуществления системы наземные и бортовые средства обнаружения выполнены в виде средств, выбранных из набора радиолокационных, оптико-электронных и акустических средств, содержащего радиолокационные станции, видеокамеры, тепловизоры. В предпочтительном варианте осуществления системы средство захвата выполнено в виде улавливающей сети. В предпочтительном варианте осуществления системы наземный центр контроля выполнен в виде электронно-вычислительного устройства, соединенного с станцией беспроводной связи с БПЛА-перехватчиком. В предпочтительном варианте осуществления системы БПЛА-перехватчик имеет полетный контроллер, соединенный с регистрационным модулем, выполненным с возможностью обмена данными с регистрационным модулем подозреваемого БПЛА и с наземным центром контроля. В предпочтительном варианте осуществления системы регистрационный модуль содержит контроллер, соединенный с защищенной памятью треков и идентификационных данных, с модулем локальной связи, с модулем общедоступной защищенной связи, с хранилищем ключей шифрования и с модулем связи с навигационной системой, причем - модуль общедоступной защищенной связи выполнен с возможностью защищенной связи с наземным центром контроля по общедоступным беспроводным сетям при этом передачи идентификационных данных, треков и текущих полетных данных, включая высоту и координаты, и приема управляющих сигналов; - модуль локальной связи выполнен с возможностью локальной связи с наземным центром контроля по локальным беспроводным сетям, при этом передачи идентификационных данных, треков и текущих полетных данных, включая высоту и координаты, и приема управляющих сигналов; - модуль связи с навигационной системой выполнен с возможностью получения от глобальных систем навигации координат текущего местоположения БПЛА; - контроллер выполнен с возможностью управления работой модулей регистрационного модуля, а также с возможностью шифрования и дешифрования передаваемых данных с использованием ключей шифрования. В предпочтительном варианте осуществления системы общедоступные беспроводные сети выбраны из набора сетей, содержащего GSM и LTE сети. Поставленный технический результат достигнут также путем создания способа предотвращения нарушений правил полетов беспилотными летательными аппаратами (БПЛА), в котором - с помощью наземных средств обнаружения обнаруживают подозреваемый БПЛА в зоне контроля и передают его координаты в - наземный центр контроля, с помощью которого запрашивают у подозреваемого БПЛА идентификационные данные подозреваемого БПЛА, содержащие данные о государственной регистрации и разрешенных зонах и треках полета, запрашивают у государственной системы регистрации и контроля БПЛА идентификационные данные подозреваемого БПЛА, при этом передают БПЛА-перехватчику сигнал о начале перехвата подозреваемого БПЛА и его координаты, в случае не получения, по причине их отсутствия, от государственной системы регистрации и контроля БПЛА идентификационных данных подозреваемого БПЛА, в случае не получения от подозреваемого БПЛА идентификационных данных подозреваемого БПЛА или в случае сравнения идентификационных данных подозреваемого БПЛА, полученных от государственной системы регистрации и контроля БПЛА и от подозреваемого БПЛА, при этом обнаружения несовпадения этих данных; - с помощью БПЛА-перехватчика обнаруживают по сигналу о начале перехвата, с применением координат и бортовых средств обнаружения, подозреваемый БПЛА, подлетают к подозреваемому БПЛА, считывают, с помощью бортовых средств обнаружения, идентификационные данные подозреваемого БПЛА и передают их - в наземный центр контроля, с помощью которого передают БПЛА-перехватчику сигнал о захвате подозреваемого БПЛА, в случае сравнения идентификационных данных подозреваемого БПЛА, полученных от государственной системы регистрации и контроля БПЛА и от подозреваемого БПЛА, при этом обнаружения несовпадения этих данных; - с помощью БПЛА-перехватчика захватывают по сигналу о захвате, с применением средств захвата, и доставляют на землю подозреваемый БПЛА. В предпочтительном варианте осуществления способа наземные и бортовые средства обнаружения выполнены в виде средств, выбранных из набора радиолокационных, оптико-электронных и акустических средств, содержащего радиолокационные станции, видеокамеры, тепловизоры. В предпочтительном варианте осуществления способа средство захвата выполнено в виде улавливающей сети. В предпочтительном варианте осуществления способа наземный центр контроля выполнен в виде электронно-вычислительного устройства, соединенного с станцией беспроводной связи с БПЛА-перехватчиком. В предпочтительном варианте осуществления способа БПЛА-перехватчик имеет полетный контроллер, соединенный с регистрационным модулем, с помощью которого осуществляют обмен данными с регистрационным модулем подозреваемого БПЛА и с наземным центром контроля. В предпочтительном варианте осуществления способа регистрационный модуль содержит контроллер, соединенный с защищенной памятью треков и идентификационных данных, с модулем локальной связи, с модулем общедоступной защищенной связи, с хранилищем ключей шифрования и с модулем связи с навигационной системой, причем - с помощью модуля общедоступной защищенной связи осуществляют защищенную связь с наземным центром контроля по общедоступным беспроводным сетям, при этом передают идентификационные данные, треки и текущие полетные данные, включая высоту и координаты, и принимают управляющие сигналы; - с помощью модуля локальной связи осуществляют локальную связь с наземным центром контроля по локальным беспроводным сетям, при этом передают идентификационные данные, треки и текущие полетные данные, включая высоту и координаты, и принимают управляющие сигналы; - с помощью модуля связи с навигационной системой получают от глобальных систем навигации координаты текущего местоположения БПЛА; - с помощью контроллера управляют работой модулей регистрационного модуля, а также шифруют и дешифруют передаваемые данные с использованием ключей шифрования. В предпочтительном варианте осуществления способа общедоступные беспроводные сети выбраны из набора сетей, содержащего GSM и LTE сети. Для лучшего понимания заявленного изобретения далее приводится его подробное описание с соответствующими графическими материалами. Фиг. 1. Схема системы предотвращения нарушений правил полетов беспилотными летательными аппаратами, выполненная согласно изобретению. Фиг. 2. Схема взаимодействия наземного центра контроля БПЛА с БПЛА-перехватчиком, выполненная согласно изобретению. Фиг. 3. Схема основных узлов регистрационного модуля, выполненная согласно изобретению. Элементы: 1 - государственная система регистрации и контроля БПЛА; 2 - вышка общедоступной связи; 3 - радиолокационная станция; 4 - наземный центр контроля; 5 - станция беспроводной связи с БПЛА перехватчиком; 6 - БПЛА-перехватчик; 7 - подозреваемый БПЛА; 8 - регистрационный модуль; 9 - полетный контроллер; 10 - контроллер; 11 - модуль связи с навигационной системой; 12 - модуль общедоступной защищенной связи; 13 - модуль локальной связи; 14 - хранилище ключей; 15 - защищенная память. Рассмотрим более подробно функционирование заявленных системы и способа предотвращения нарушений правил полетов беспилотными летательными аппаратами (фиг. 1-3). Система предотвращения нарушений правил полетов беспилотными летательными аппаратами (БПЛА) содержит наземный центр контроля 4, соединенный с наземным средством обнаружения, выполненным в виде радиолокационной станции 3 и с БПЛА - перехватчиком 6. БПЛА-перехватчик 6 имеет полетный контроллер 9, соединенный с регистрационным модулем 8. Регистрационный модуль 8 содержит контроллер 10, соединенный с защищенной памятью 15 треков и идентификационных данных, с модулем 13 локальной связи, с модулем 12 общедоступной защищенной связи, с хранилищем 14 ключей шифрования и с модулем 11 связи с навигационной системой. С помощью радиолокационной станции 3 обнаруживают подозреваемый БПЛА 7 в зоне контроля и передают его координаты в наземный центр контроля 4. С помощью наземного центра контроля 4 запрашивают у подозреваемого БПЛА 7 идентификационные данные подозреваемого БПЛА 7, содержащие данные о государственной регистрации и разрешенных зонах и треках полета, получают от государственной системы регистрации и контроля БПЛА идентификационные данные подозреваемого БПЛА 7 и сравнивают идентификационные данные подозреваемого БПЛА 7, полученные от государственной системы регистрации и контроля БПЛА и от подозреваемого БПЛА 7. Передают БПЛА-перехватчику 6 сигнал о начале перехвата подозреваемого БПЛА 7 и его координаты, в случае не совпадения сравниваемых идентификационных данных подозреваемого БПЛА 7 или не получения их от подозреваемого БПЛА 7. С помощью БПЛА-перехватчика 6 обнаруживают, с помощью координат и бортовых средств обнаружения, подозреваемый БПЛА 7, подлетают к подозреваемому БПЛА 7, считывают, с помощью бортовых средств обнаружения, идентификационные данные подозреваемого БПЛА 7 и передают их в наземный центр контроля 4 для сравнения с данными гос.органов, а также захватывают, с помощью средства захвата, выполненного в виде сети, и доставляют на землю подозреваемый БПЛА 7 по сигналу о начале захвата от наземного центра контроля 4. В регистрационном модуле 8 выполняют следующие операции. С помощью модуля 12 общедоступной защищенной связи осуществляют защищенную связь с наземным центром 4 контроля по общедоступным беспроводным сетям, при этом передают идентификационные данные, треки и текущие полетные данные, включая высоту и координаты, и принимают управляющие сигналы. С помощью модуля 13 локальной связи осуществляют локальную связь с наземным центром 4 контроля по локальным беспроводным сетям, при этом передают идентификационные данные, треки и текущие полетные данные, включая высоту и координаты, и принимают управляющие сигналы. С помощью модуля 11 связи с навигационной системой получают от глобальных систем навигации координаты текущего местоположения БПЛА. С помощью контроллера 10 управляют работой модулей регистрационного модуля 8, а также шифруют и дешифруют передаваемые данные с использованием ключей шифрования. Заявленная система функционирует совместно с государственной системой регистрации и контроля полетов БПЛА, которая предусматривает сертификацию и регистрацию всех эксплуатируемых в стране БПЛА. При этом каждому БПЛА присваивают свой регистрационный номер и на борту устанавливают специальное устройство - регистрационный модуль 8, который выполняет роль бортового регистратора, фиксирует во внутренней защищенной памяти 15 все перемещения БПЛА (треки). Данные передают в государственную систему 1 регистрации и контроля БПЛА по защищенному каналу связи. Также регистрационный модуль 8 имеет локальный беспроводной интерфейс в виде модуля 13 локальной связи для передачи своих регистрационных данных по запросу. Не прошедшие регистрацию БПЛА к полетам не допускаются и заведомо являются нарушителями в случае их обнаружения в воздухе. Параметры задания маршрута аппарата, в порядке согласования, передают в государственную систему 1 регистрации и контроля БПЛА, а реальные треки полета БПЛА передают в нее в процессе выполнения полетного задания, или после если отсутствовала возможность on-line передачи данных. Система позволяет дифференцировать БПЛА допущенные к полетам в зоне контроля, от несанкционированных к таким полетам БПЛА. Также система предусматривает совместную работу нескольких БПЛА-перехватчиков 6 или других вспомогательных аппаратов, которые могут опознавать друг друга с помощью регистрационных данных при обмене по беспроводному интерфейсу. Система может функционировать в полностью автономном режиме, причем за счет захвата подозреваемого БПЛА 7 сетью, сводится к минимуму риск причинения необоснованного ущерба как оборудованию владельцев БПЛА (а факт нарушения возможно еще потребуется доказывать в суде), так и ущерба, который может причинить сбитый (деактивированный) аппарат - нарушитель при неконтролируемом падении на землю. Заявленная система, при обнаружении подозреваемого БПЛА 7, по доступным каналам связи запрашивает из наземного центра 4 контроля БПЛА информацию о возможных полетах в контролируемой зоне. При необходимости в сторону подозреваемого БПЛА 7 высылают БПЛА-перехватчик 6, который при приближении к подозреваемому БПЛА 7 считывает его визуальные регистрационные данные (которые должны быть на корпусе аппарата), БПЛА-перехватчик 6 также запрашивает по беспроводному локальному каналу связи у подозреваемого БПЛА 7 его идентификационные данные, которые далее передает в наземный центр 4 контроля БПЛА, в котором данные сверяют с полученными из государственной системы 1 регистрации и контроля БПЛА регистрационными данными подозреваемого БПЛА 7, в том числе данными о владельце БПЛА, а также проверяют данные согласования заявленного маршрута или зоны полета подозреваемого БПЛА 7. При необходимости по оперативным или общедоступным каналам связи владельцу подозреваемого БПЛА 7 (или его доверенному оператору) в реальном времени, сообщают о произошедшем или предполагаемом нарушении с требованием его оперативного предотвращения. При наличии возможности (канала связи), из центра 4 контроля БПЛА подозреваемому БПЛА 7 может быть передана команда с требованием приземлиться в заданных координатах - на площадку для задержанных БПЛА. В случае отсутствия регистрационных данных подозреваемого БПЛА 7, или при бездействии его владельца (или оператора), с помощью центра 4 контроля БПЛА принимают решение о физическом захвате подозреваемого БПЛА 7 и его доставке на площадку для задержанных БПЛА. БПЛА-перехватчик 6 выполняет маневр захода над подозреваемым БПЛА 7 и захвата его в сбрасываемую сеть. Далее БПЛА-перехватчик 6 транспортирует подозреваемого БПЛА 7 на землю для дальнейшего хранения и предоставления доказательной базы. Факт нарушения фиксируют в наземном центре 4 контроля БПЛА и, в зависимости от обстоятельств нарушения и принятой законодательной практики, к владельцу подозреваемого БПЛА 7 (если аппарат был зарегистрирован) могут быть применены меры административного воздействия. Хотя описанный выше вариант выполнения изобретения был изложен с целью иллюстрации заявленного изобретения, специалистам ясно, что возможны разные модификации, добавления и замены, не выходящие из объема и смысла заявленного изобретения, раскрытого в прилагаемой формуле изобретения.