патент
№ RU 2655702
МПК H04R1/44
Номер заявки
2017110037
Дата подачи заявки
27.03.2017
Опубликовано
29.05.2018
Страна
RU
Как управлять
интеллектуальной собственностью
Чертежи 
2
Реферат

Изобретение относится к устройствам приема и передачи гидроакустических сигналов, предназначенным для преобразования гидроакустических сигналов в электрические при приеме и электрических сигналов в гидроакустические при передаче. Техническим результатом является создание гидроакустического устройства, обладающего упрощенной конструкцией и повышенной надежностью. Устройство содержит: преобразователь колебаний жидкой среды и электрических сигналов, выполненный с возможностью приема и/или передачи гидроакустических сигналов; по меньшей мере одну печатную плату, соединенную с коммутирующим кабелем; корпус гидроакустического устройства, образованный наружными поверхностями упомянутого преобразователя, по меньшей мере одной платы и покрытием всех этих поверхностей водонепроницаемым материалом, обеспечивающим пропускание гидроакустических колебаний, причем преобразователь и по меньшей мере одна печатная плата соединены таким образом, чтобы образовывать внутреннее пространство внутри корпуса; радиатор, обеспечивающий контакт внутреннего пространства с внешней средой и отвод тепла от упомянутого преобразователя и по меньшей мере одной печатной платы во внешнюю среду. 4 з.п. ф-лы, 2 ил.

Формула изобретения

1. Гидроакустическое устройство, содержащее:

преобразователь колебаний жидкой среды и электрических сигналов, выполненный с возможностью приема и/или передачи гидроакустических сигналов;

по меньшей мере одну печатную плату, соединенную с коммутирующим кабелем;

корпус гидроакустического устройства, образованный наружными поверхностями упомянутого преобразователя, по меньшей мере одной платы и покрытием всех этих поверхностей водонепроницаемым материалом, обеспечивающим пропускание гидроакустических колебаний, причем преобразователь и по меньшей мере одна печатная плата соединены таким образом, чтобы образовывать внутреннее пространство внутри корпуса;

радиатор, обеспечивающий контакт внутреннего пространства с внешней средой и отвод тепла от упомянутого преобразователя и по меньшей мере одной печатной платы во внешнюю среду.

2. Устройство по п. 1, отличающееся тем, что в радиаторе выполнен по меньшей мере один канал для обеспечения наполнения внутреннего пространства жидкой средой и выпуска газа.

3. Устройство по п. 1, отличающееся тем, что в радиаторе выполнены по меньшей мере два канала для обеспечения наполнения внутреннего пространства жидкой средой и выпуска газа, причем в по меньшей мере одном канале выполнено отверстие для выпуска газа из внутреннего пространства.

4. Устройство по любому из пп. 1-3, отличающееся тем, что внутреннее пространство наполнено несжимаемой и нетокопроводящей жидкостью.

5. Устройство по п. 1, отличающееся тем, что во внутреннем пространстве размещены стойки между упомянутым преобразователем и по меньшей мере одной платой.

Описание

[1]

ОБЛАСТЬ ТЕХНИКИ

[2]

Изобретение относится к устройствам приема и передачи гидроакустических сигналов, предназначенным для преобразования гидроакустических сигналов в электрические при приеме и электрических сигналов в гидроакустические при передаче.

[3]

УРОВЕНЬ ТЕХНИКИ

[4]

Из уровня техники известно гидроакустическое устройство, включающее расположенный в едином корпусе преобразователь колебаний жидкой среды и электрических сигналов, выполненный с возможностью приема и/или передачи гидроакустических сигналов и расположенный на плате, соединенной с коммутирующим кабелем для подачи питания и передачи электрических сигналов, описанное в патенте РФ на полезную модель №156897, опубл. в 2015 году.

[5]

Недостатками упомянутой модели является то, что известный прибор заполнен воздухом и не имеет связи с внешней средой, что отрицательно сказывается как на его возможности работать под высоким давлением, так и на отведении тепла от располагаемой внутри него электроники.

[6]

РАСКРЫТИЕ ИЗОБРЕТЕНИЯ

[7]

Технической задачей, на решение которой направлено заявленное изобретение, является повышение эксплуатационных свойств гидроакустического устройства.

[8]

Техническим результатом является создание гидроакустического устройства, обладающего упрощенной конструкцией и повышенной надежностью.

[9]

Для достижения указанного технического результата разработано гидроакустическое устройство, содержащее: преобразователь колебаний жидкой среды и электрических сигналов, выполненный с возможностью приема и/или передачи гидроакустических сигналов; по меньшей мере одну печатную плату, соединенную с коммутирующим кабелем; корпус гидроакустического устройства, образованный наружными поверхностями упомянутого преобразователя, по меньшей мере одной платы и покрытием всех этих поверхностей водонепроницаемым материалом, обеспечивающим пропускание гидроакустических колебаний, причем преобразователь и по меньшей мере одна печатная плата соединены таким образом, чтобы образовывать внутреннее пространство внутри корпуса; радиатор, обеспечивающий контакт внутреннего пространства с внешней средой и отвод тепла от упомянутого преобразователя и по меньшей мере одной печатной платы во внешнюю среду.

[10]

КРАТКОЕ ОПИСАНИЕ ЧЕРТЕЖЕЙ

[11]

Для лучшего понимания сущности изобретения и чтобы более ясно показать, каким образом оно может быть осуществлено, далее будет сделана ссылка, лишь в качестве примера, на прилагаемый чертеж, на котором:

[12]

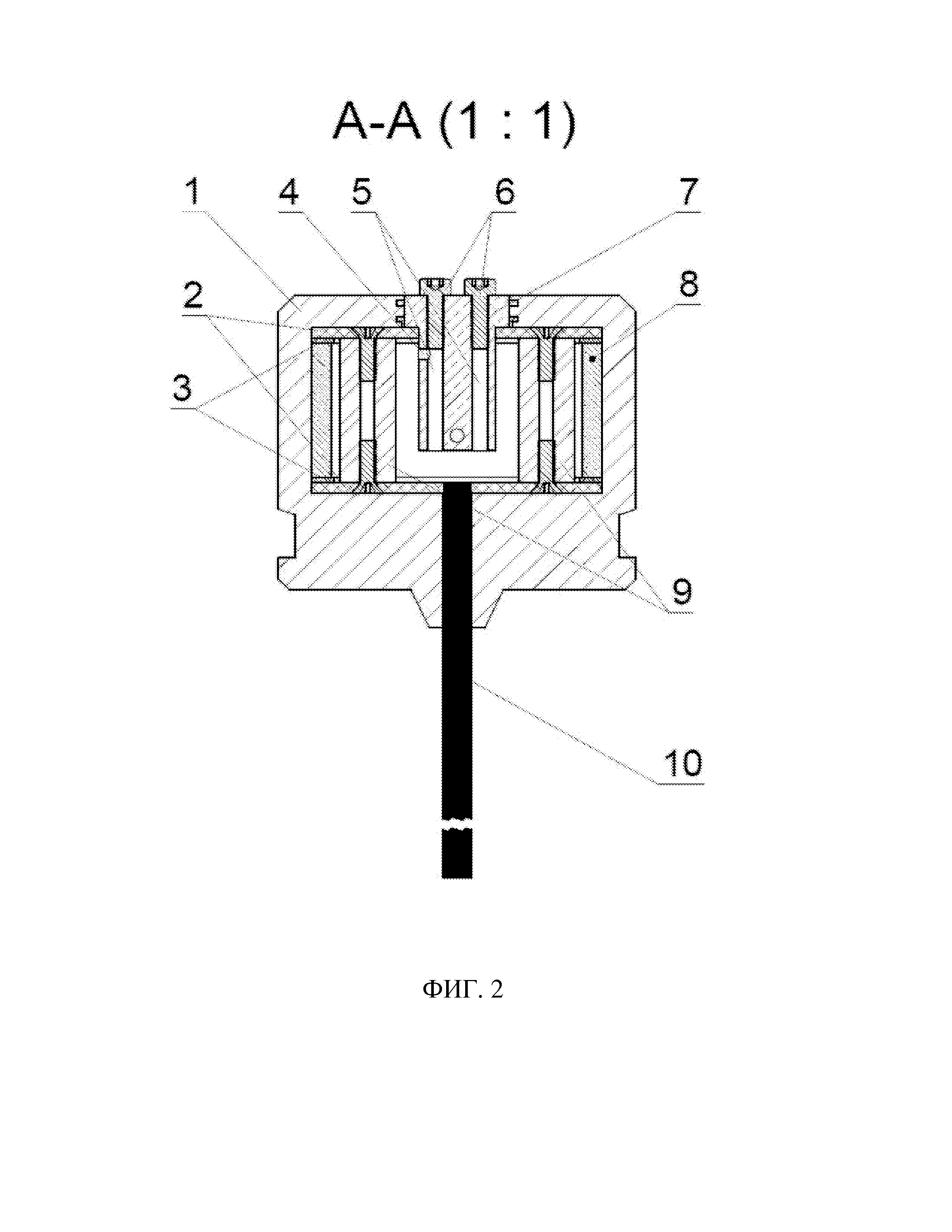
фиг. 1 – пример внешнего вида гидроакустического устройства;

[13]

фиг. 2 – пример технической схемы гидроакустического устройства в разрезе A-A.

[14]

ОСУЩЕСТВЛЕНИЕ ИЗОБРЕТЕНИЯ

[15]

В соответствии с приведенными на фиг. 1 и фиг. 2 изображениями гидроакустического устройства, в одном из примеров реализации, устройство содержит:

[16]

1 – покрытие из водонепроницаемого материала;

[17]

2 – печатные платы с располагающимися на ней элементами цифровой обработки сигнала и/или приемным, и/или передающим трактом;

[18]

3 – резиновую прокладку;

[19]

4 – канал (отверстие) выпуска газа;

[20]

5 – канал для обеспечения наполнения внутреннего пространства жидкой средой и выпуска газа;

[21]

6 – заглушки;

[22]

7 – радиатор;

[23]

8 – преобразователь колебаний жидкой среды и электрических сигналов;

[24]

9 – стойки;

[25]

10 – коммутирующий кабель.

[26]

В качестве преобразователя 8 могут быть использованы пьезокерамические, магнитострикционные и прочие преобразователи колебаний жидкой среды и электрических сигналов, выполненные с возможностью приема и/или передачи гидроакустических сигналов. Они могут быть разной формы: цилиндрической, кольцевой, полусферической. Соответственно, количество печатных плат 2 может быть выбрано в зависимости от формы преобразователя 8. Так, например, при выборе преобразователя 8 полусферической формы, достаточно будет одной печатной платы. Более подробно различные конструкции гидроакустического устройства приведены в патенте РФ на полезную модель №156897, который является наиболее близким аналогом, и повторно не будут описываться в рамках настоящей заявки.

[27]

В качестве печатной платы могут быть использованы печатные и монтажные платы с располагающимися на них приемным, передающим или совмещенным приемопередающим сигнальным трактом, которые (в любой комбинации) могут включать в себя: усилитель мощности, входной предварительный усилитель, входные и выходные полосовые фильтры, аналогово-цифровой преобразователь, цифроаналоговый преобразователь, цифровой сигнальный процессор и т.п.

[28]

При этом в конструкцию могут вводиться дополнительные монтажные элементы, например, резиновые прокладки 3 между преобразователем 8 и по меньшей мере одной печатной платой 2 или, в случае использования кольцевого или цилиндрического преобразующего элемента, по меньшей мере одна опорная стойка 9, располагающаяся внутри цилиндрического излучателя и дополнительно воспринимающая нагрузку от торцевых поверхностей цилиндра.

[29]

Гидроакустическое устройство может изготавливаться следующим образом.

[30]

Этап А1. Формируют корпус гидроакустического устройства из элементов, таких как преобразователь 8, радиатор 7 и печатная плата 2, на которой и размещен преобразователь 8, причем преобразователь и печатные платы соединены таким образом, чтобы образовывать внутреннее пространство внутри корпуса. Отверстие в печатной плате для размещения радиатора 7 выбирается на стадии проектировки гидроакустического устройства.

[31]

Этап А2. По необходимости, размещают на плате необходимые электрические элементы.

[32]

Этап А3. Соединяют гидроакустическое устройство с коммутирующим кабелем 10.

[33]

Этап А4. Заливают предварительно разогретым защитным материалом внешнюю поверхность гидроакустического устройства для обеспечения непроницаемости для жидкой среды.

[34]

Этап А5. При охлаждении защитный материал застывает и отвердевает, образуя покрытие 1 из водонепроницаемого материала.

[35]

Этап А6. Заполняют несжимаемой и нетокопроводящей жидкостью внутреннее пространство прибора через отверстия в радиаторе, которые затем закрывают заглушками.

[36]

Теперь можно использовать гидроакустическое устройство в жидкой среде.

[37]

Данный метод изготовления приводится в данной заявке в качестве примера и его возможно модифицировать, добавляя новые этапы, или используя этапы метода выборочно, или переставляя их.

[38]

Нагрузка, возникающая вследствие внешнего давления жидкой среды, воспринимается как самим преобразователем 8, так и другими несущими элементами гидроакустического устройства. Она преобразуется преобразователем 8 в электрические сигналы, которые обрабатываются на печатной плате 2 и передаются по коммутирующему кабелю 10.

[39]

Для обеспечения отвода тепла от преобразователя 8 и печатной платы 2 и размещенных на ней элементов, гидроакустическое устройство в одной из торцевых поверхностей прибора имеет отверстие, в которое помещается радиатор 7. Радиатор 7 в гидроакустическое устройство помещен таким образом, чтобы обеспечить контакт внутреннего пространства с внешней средой, причем для отвода тепла радиатор 7 может находиться в непосредственном контакте с преобразователем 8 и/или печатной платой 2 или элементами, размещенными на печатной плате, либо обеспечивать отвод тепла от среды внутреннего пространства, нагревающейся вследствие работы элементов гидроакустического устройства, во внешнюю среду.

[40]

Таким образом, за счет отвода тепла от элементов, размещенных внутри гидроакустического устройства, предотвращается их перегрев и выход из строя, причем гидроакустическое устройство содержит минимальное количество элементов, необходимых для его стабильной работы, т.е. обеспечивается достижение указанного технического результата, заключающегося в создании гидроакустического устройства, обладающего упрощенной конструкцией и повышенной надежностью.

[41]

Радиатор 7 выполняется из теплопроводящего материала и имеет сверления в виде по меньшей мере одного канала 5, позволяющего заполнить прибор после герметизации минеральным маслом или кремнийорганической жидкостью, или любой другой диэлектрической и несжимаемой жидкостью, тем самым обеспечив повышенную защищенность прибора от воздействия внешнего давления. Для обеспечения выпуска газа из внутреннего пространства с целью наполнения его упомянутой жидкостью в по меньшей мере одном канале 5 может быть выполнено отверстие 4.

[42]

В качестве примера на фиг. 2 приведен один из вариантов реализации заявленного решения, где в радиаторе выполнено два канала 5 для обеспечения наполнения внутреннего пространства жидкой средой и выпуска газа, причем в по меньшей мере одном канале выполнено отверстие 4 для выпуска газа из внутреннего пространства. Соответственно, посредством одного канала 5 во внутреннее пространство может поступать упомянутая жидкая среда, а через второй канал 5 и отверстие 4 может осуществляться выпуск газа. Отверстие 4 может располагаться около внутренней поверхности гидроакустического устройства, таким образом обеспечивая выход из внутреннего пространства всего газа и заполнения корпуса упомянутой жидкостью, например, в соответствии с изображением на фиг. 2.

[43]

Предлагаемое гидроакустическое устройство имеет ясное предназначение, может быть осуществлено специалистом на практике и при осуществлении обеспечивает реализацию заявленного назначения. Возможность осуществления специалистом на практике следует из того, что для каждого признака, включённого в формулу изобретения на основании описания, известен материальный эквивалент, что позволяет сделать вывод о соответствии условиям патентоспособности изобретения.

[44]

Опытная эксплуатация данного гидроакустического устройства показала, что с его помощью возможно осуществлять:

[45]

- прием гидроакустических сигналов;

[46]

- передачу гидроакустических сигналов;

[47]

- работу на глубине 1000 м.

[48]

Области преимущественного использования устройства: гидролокация, гидроакустическая связь, гидроакустическое телеуправление, гидроакустическая телеметрия.

Как компенсировать расходы
на инновационную разработку
Похожие патенты