патент
№ RU 2569661
МПК B64C35/00

УСТРОЙСТВО ДЛЯ СНИЖЕНИЯ ГИДРОДИНАМИЧЕСКОГО СОПРОТИВЛЕНИЯ КОРПУСА ГИДРОСАМОЛЕТА ПРИ ВЗЛЕТЕ С ВОДНОЙ ПОВЕРХНОСТИ

Авторы:
Заремба Эдуард Владимирович
Номер заявки
2014133923/11
Дата подачи заявки
18.08.2014
Опубликовано
27.11.2015
Страна
RU
Как управлять
интеллектуальной собственностью
Чертежи 
3
Реферат

Изобретение относится к области гидроавиации и касается конструкций корпусов для уменьшения сопротивления при движении высокоскоростных низкосидящих, повышенной килеватости морских судов по водной поверхности. Устройство для снижения гидродинамического сопротивления корпуса гидросамолета при взлете с водной поверхности содержит бортовые и днищевые скеги, расположенные за реданом, между которыми образуются воздушные полости. При этом бортовые скеги выполнены подвижными посредством установленных в корпусе гидросамолета планетарных электромеханизмов. Воздухопровод состоит из основного воздухопровода, расположенного внутри конструкции, и его наружной части - воздушного коллектора, который выполнен повторяющим форму днища. Достигается повышение эксплуатационных характеристик устройства путем снижения гидродинамического сопротивления корпуса гидросамолета, исключая влияние состояния водной поверхности за счет одновременного применения «воздушной смазки» и «воздушной подушки». 4 ил.

Формула изобретения

Устройство для снижения гидродинамического сопротивления корпуса гидросамолета при взлете с водной поверхности, содержащее бортовые и днищевые скеги, расположенные за реданом, между которыми образуются воздушные полости, в которые воздух поступает по воздухопроводу от источника воздуха через форсунки, отличающееся тем, что бортовые скеги выполнены подвижными посредством установленных в корпусе гидросамолета планетарных электромеханизмов, а воздухопровод состоит из основного воздухопровода, расположенного внутри конструкции летательного аппарата, и его наружной части - воздушного коллектора, который выполнен определенной формы, повторяющей форму днища, при этом основной воздухопровод снабжен обратным клапаном.

Описание

[1]

Изобретение относится к области гидроавиации и может так же использоваться в судостроении для уменьшения сопротивления при движении высокоскоростных низкосидящих, повышенной килеватости морских судов по водной поверхности.

[2]

Известно изобретение с воздушной прослойкой под днищем (RU 2172270, МПК B63B 1/38), которое позволяет создать на днище судна полости для удержания воздушной прослойки, а так же способ и устройство уменьшения гидродинамического сопротивления движению объекта (RU 93008138, МПК B63B 1/34), которые позволяют формировать тонкий слой «воздушной прослойки», приводящий к уменьшению площади обтекания гидродинамической средой корпуса объекта.

[3]

Наиболее близким техническим решением, выбранным в качестве прототипа, является изобретение SU 1824806, МПК B63B 1/00. В данном случае, изобретение касается конструкции днища корпуса быстроходного мелкосидящего судна путем создания на днище ряда воздушных полостей, образованных наличием ряда реданов, а также бортовых и днищевых скегов. Воздух в воздушные полости подается от независимого источника через форсунки, установленные в днище судна сразу за реданами. Форсунки закрыты отбойными пластинами, назначение которых уменьшить деформацию воздушной каверны.

[4]

К существенным недостаткам данных изобретений можно отнести их зависимость от состояния водной поверхности. Малейшее волнение водной поверхности существенно деформирует создаваемые на днище воздушные каверны, и тогда эффективность использования данных изобретений резко снижается. Также в данных изобретениях отсутствует возможность изменения режимов движения аппарата по водной поверхности в зависимости от скорости движения.

[5]

Техническим результатом предлагаемого изобретения является повышение эксплуатационных характеристик летательного аппарата путем снижения гидродинамического сопротивления корпуса гидросамолета, т.е. практически исключение влияния состояния водной поверхности за счет одновременного применения «воздушной смазки» и «воздушной подушки».

[6]

Технический результат достигается тем, что бортовые и днищевые скеги расположены за реданом, между которыми образуются воздушные полости, в которые воздух поступает по воздухопроводу от источника воздуха через форсунки, при этом бортовые скеги выполнены подвижными посредством установленных в корпусе гидросамолета планетарных электромеханизмов, а воздухопровод состоит из основного воздухопровода, расположенного внутри конструкции летательного аппарата, и его наружной части - воздушного коллектора, который выполнен определенной формы, повторяющей форму днища, при этом воздухопровод снабжен обратным клапаном.

[7]

Сопоставительный анализ предлагаемого изобретения с выявленными аналогами и прототипом показывает, что заявляемое устройство соответствует критерию «новизна». Результаты поиска известных решений в данной области техники с целью выявления признаков, совпадающих с отличительными от прототипа признаками заявляемого технического решения, показали, что они не следуют явным образом из уровня техники, т.е. соответствует условию патентоспособности «изобретательский уровень» и пригодно к осуществлению промышленным путем.

[8]

Сущность изобретения поясняется нижеследующим описанием и чертежами, где:

[9]

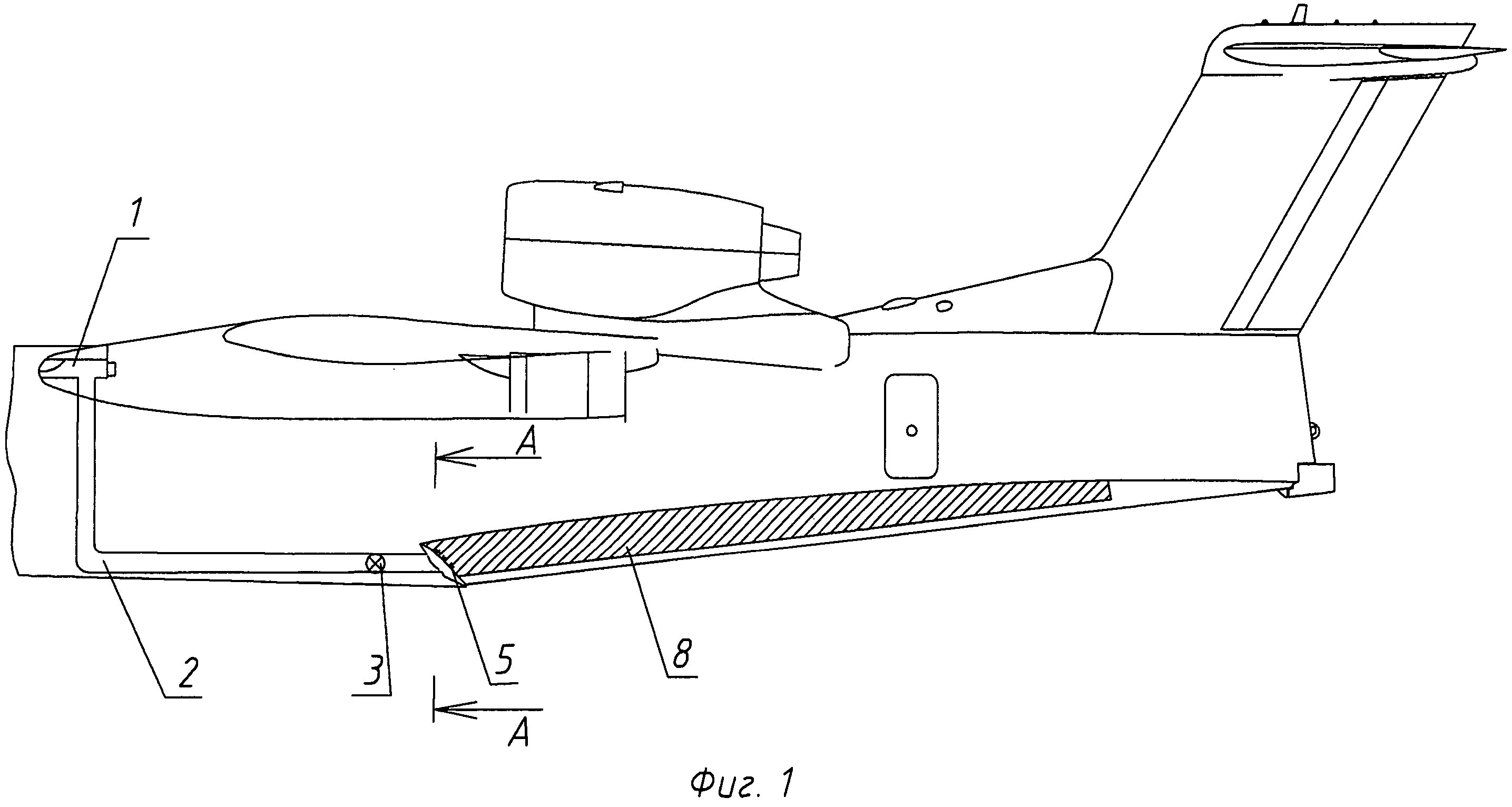
- на фиг. 1 изображен вид самолета по левому борту;

[10]

- на фиг. 2 показано сечение А-А;

[11]

- на фиг. 3 изображено днище самолета снизу;

[12]

- на фиг. 4 показано сечение Б-Б.

[13]

Устройство состоит из следующих элементов:

[14]

ВСУ (вспомогательной силовой установки) 1, расположенной в зализе крыла. Внутри конструкции самолета расположен воздухопровод 2 с обратным клапаном 3, по которому воздух от ВСУ 1 поступает в зареданную область на днище гидросамолета. В районе редана воздухопровод 2 переходит в воздушный коллектор 4 - наружную часть воздухопровода 2. На воздушном коллекторе 4 установлены аэрофорсунки 5 с обратными клапанами. Через аэрофорсунки 5 воздух поступает в полости 6, образованные между специально установленными скегами 7 на днище гидросамолета. В зареданной области днища гидросамолета также дополнительно установлены продольные бортовые подвижные скеги 8, которые образуют с днищем основные полости 9, в которые также воздух поступает из аэрофорсунок 5. Продольные бортовые подвижные скеги 8 приводятся в рабочее положение при помощи планетарных электромеханизмов 10, установленных внутри конструкции гидросамолета и закрепленных с помощью кронштейнов навески 11.

[15]

Работа устройства происходит следующим образом. Перед началом разбега гидросамолета по водной поверхности при помощи планетарных электромеханизмов 10 опускаются продольные бортовые подвижные скеги 8 и включается отбор воздуха от ВСУ 1. По воздухопроводу 2 воздух проходит в зареданную область днища самолета и по воздушному коллектору 4, выполненному определенной формы, повторяющей форму днища, поступает к аэрофорсункам 5 с обратными клапанами. На случай отказа обратных клапанов аэрофорсунок 5 в воздухопроводе 2 установлен обратный клапан 3, который не позволяет воде поступать в воздухопровод 2. Через аэрофорсунки 5 воздух поступает в полости 6, образованные между специально установленными скегами 7, выполненными из углекомпозиционного материала, и за счет аэро- и гидродинамической силы, возникающих при начале движения самолета по водной поверхности, воздух создает эффект «воздушной смазки». Продольные подвижные бортовые скеги 8 в рабочем положении образуют с днищем основные полости 9, в которых образуется воздушное пространство за счет поступившего туда воздуха из аэрофорсунок 5, которое после выхода самолета на редан создает дополнительный эффект «воздушной подушки». Продольные подвижные бортовые скеги 8, кроме основной функции создания полости «воздушной подушки», также выполняют роль брызгоотражателей. После взлета гидросамолета с водной поверхности подвижные бортовые скеги занимают верхнее крайнее положение.

[16]

Таким образом, в результате снижения гидродинамического сопротивления корпуса гидросамолета достигается повышение эксплуатационных характеристик летательного аппарата при взлете с водной поверхности.

Как компенсировать расходы
на инновационную разработку
Похожие патенты