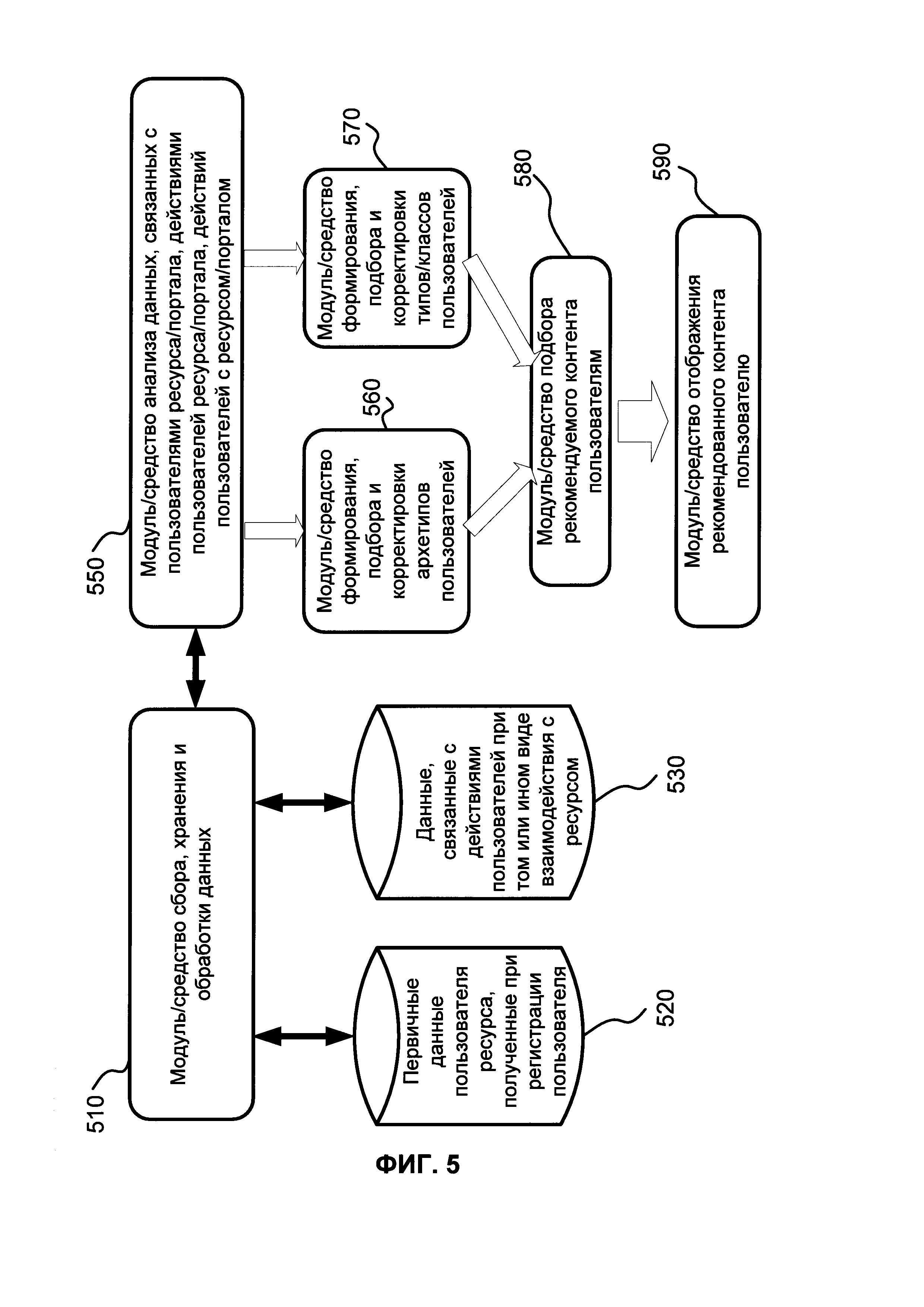
Изобретение относится к области вычислительных технологий для отображения контента веб-ресурса для пользователя. Технический результат заключается в обеспечении подбора и отображения контента веб-ресурса для пользователя на основе архетипа пользователя и/или известных данных пользователя. Технический результат достигается за счет способа для подбора и отображения контента веб-ресурса пользователю веб-ресурса, который включает регистрацию пользователей на веб-ресурсе с указанием данных о пользователях и интересов пользователей, создание пользователями пользовательских коллекций на веб-ресурсе, содержащих ссылки на контент веб-ресурса и/или ссылки на контент, загруженный пользователем на веб-ресурс из сети Интернет, и/или содержащих контент, загруженный с хранилища данных пользователей, и/или содержащих контент, загруженный на веб-ресурс через указание пользователями ссылок на веб-страницы с контентом из сети Интернет, определение для каждого пользователя пользовательских категорий контента веб-ресурса и создание архетипа пользователей, содержащего, по крайней мере, одну категорию контента для одного архетипа пользователя, на основе взаимодействия пользователей с контентом веб-ресурса. 18 з.п. ф-лы, 6 ил., 2 табл.
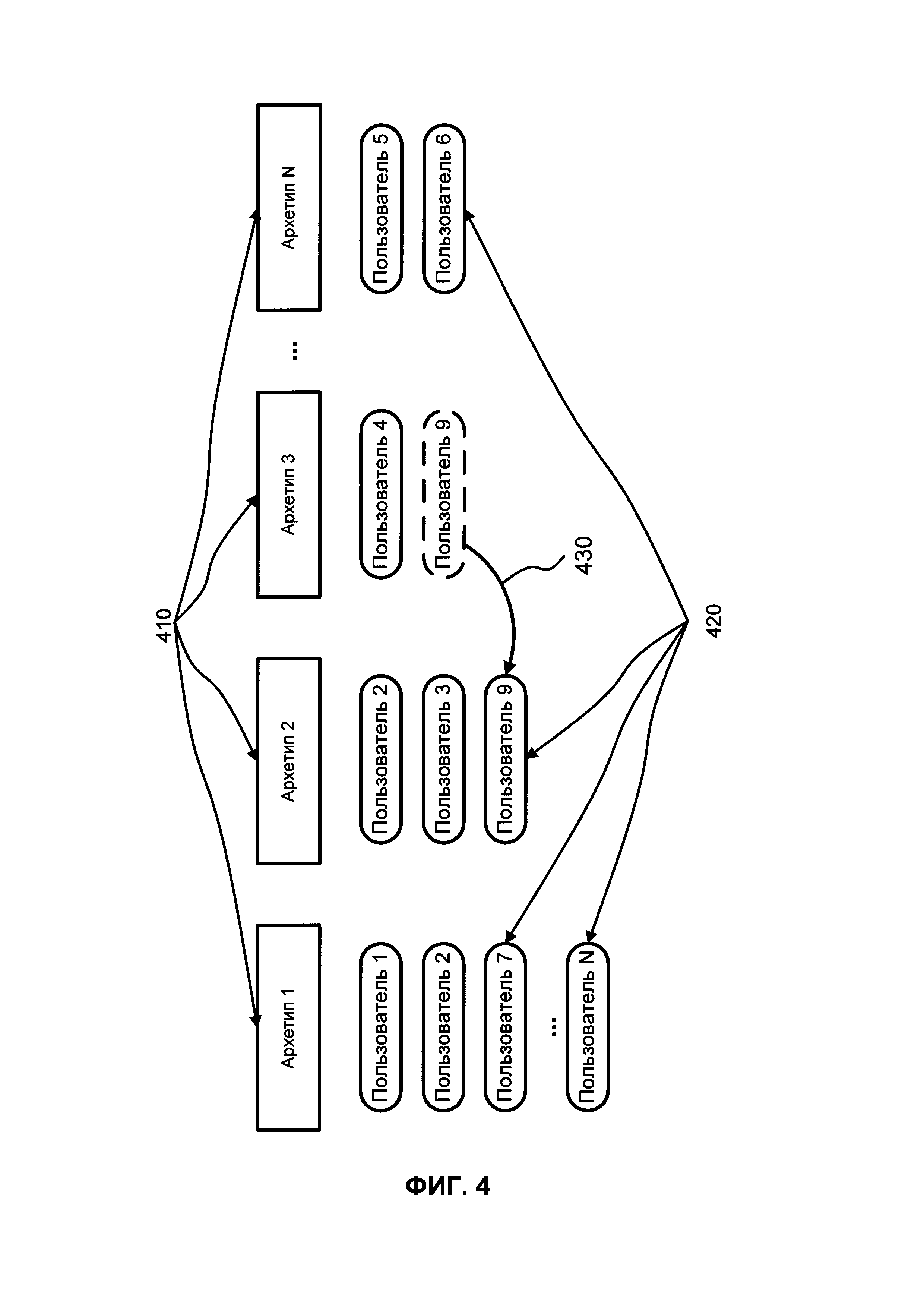
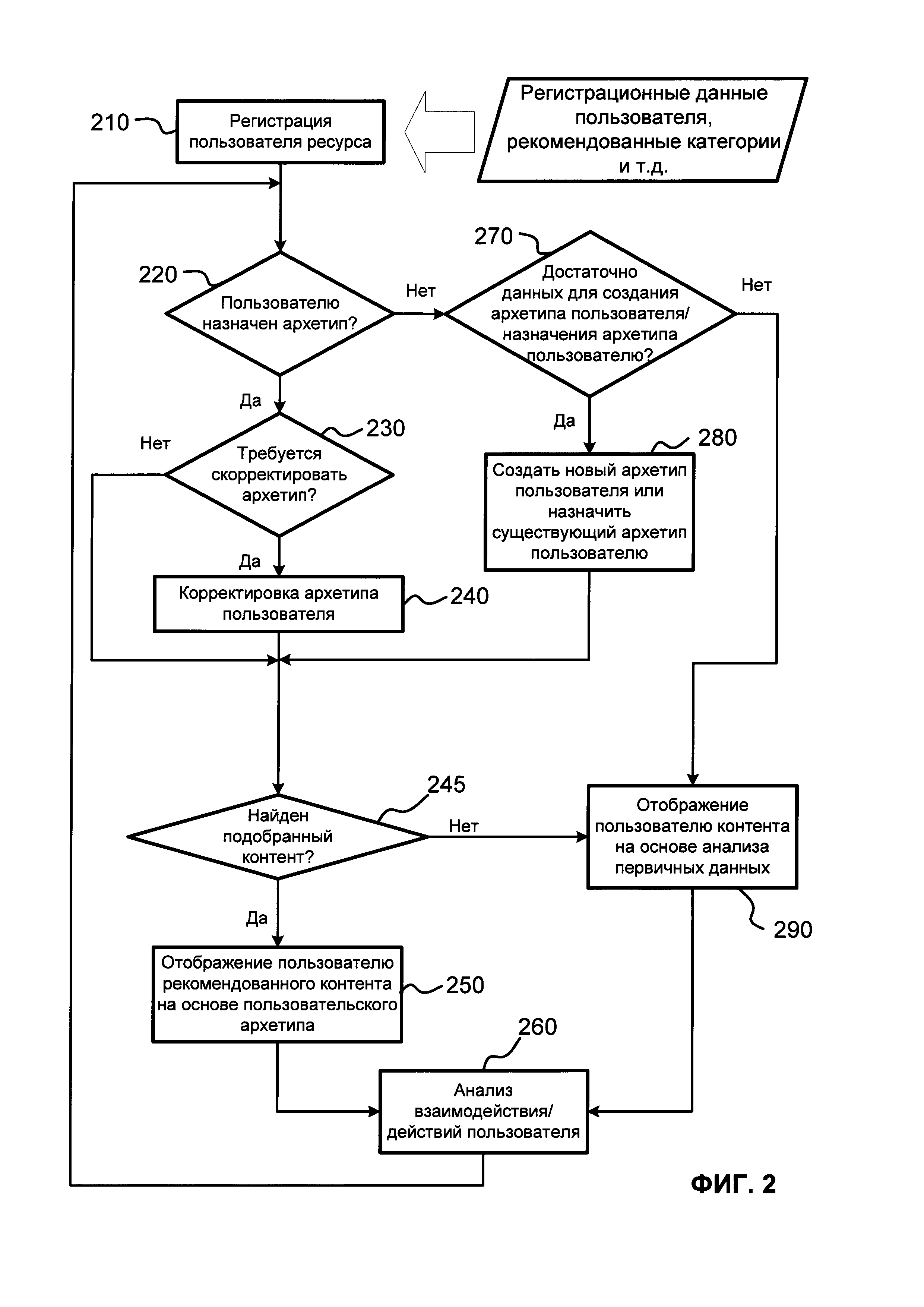
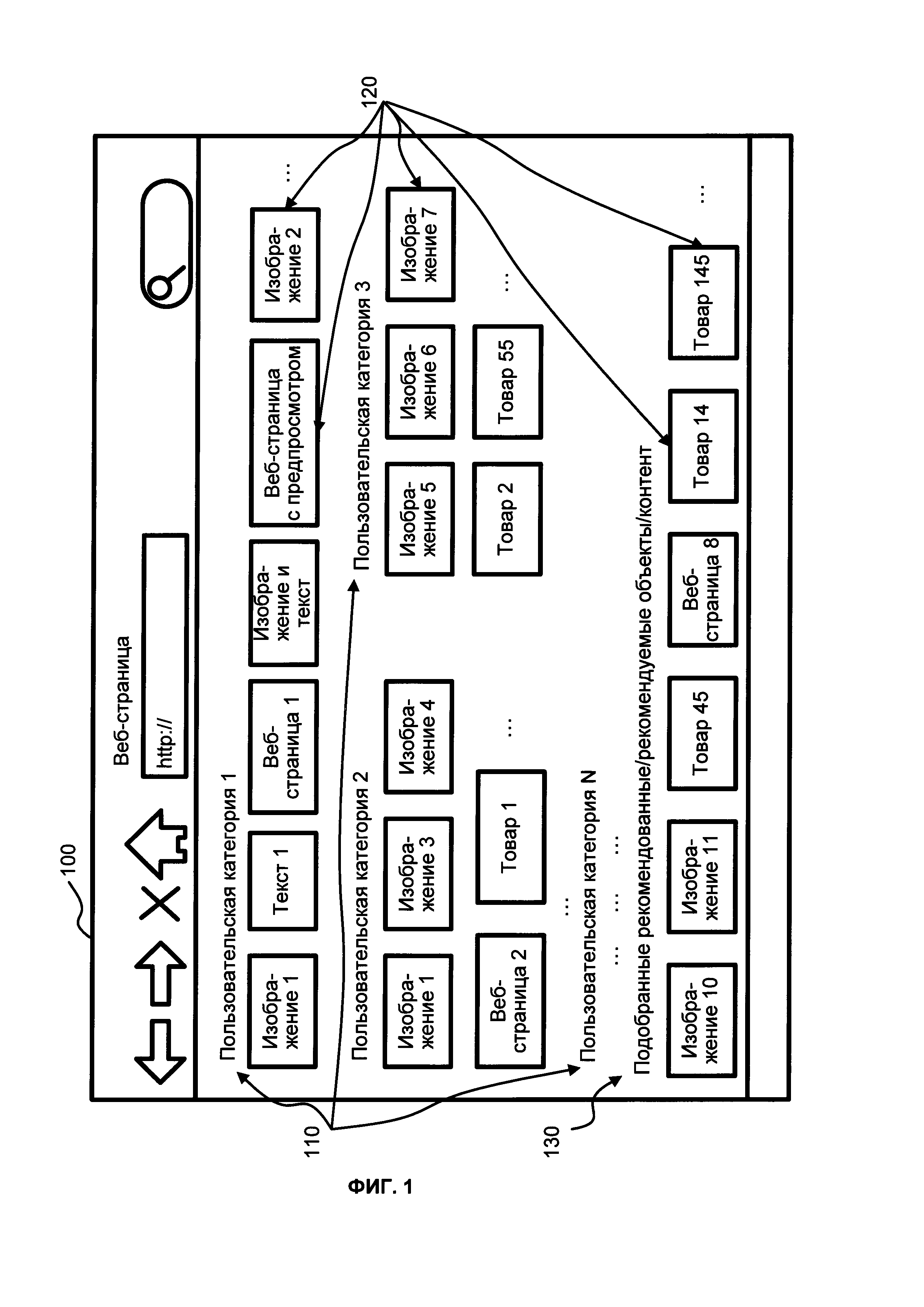
1. Способ для подбора и отображения контента веб-ресурса пользователю веб-ресурса, включающий следующие шаги: - регистрация пользователей на веб-ресурсе с указанием данных о пользователях и интересов пользователей; - взаимодействие пользователей с контентом веб-ресурса; - создание пользователями пользовательских коллекций на веб-ресурсе, содержащих ссылки на контент веб-ресурса и/или ссылки на контент, загруженный пользователем на веб-ресурс из сети Интернет, и/или содержащих контент, загруженный с хранилища данных пользователей, и/или содержащих контент, загруженный на веб-ресурс через указание пользователями ссылок на веб-страницы с контентом из сети Интернет; - определение для каждого пользователя пользовательских категорий контента веб-ресурса; - создание архетипа пользователей, содержащего, по крайней мере, одну категорию контента для одного архетипа пользователя, на основе взаимодействия пользователей с контентом веб-ресурса; - назначение пользователю, по крайней мере, одного архетипа пользователя; - подбор контента веб-ресурса пользователю на основе архетипа пользователя в случае, если пользователю назначен архетип пользователя, и подбор контента веб-ресурса пользователю на основе известных данных пользователя и собранных веб-ресурсом взаимодействий пользователя с контентом веб-ресурса; - отображение подобранного контента веб-ресурса пользователю на веб-ресурсе. 2. Способ по п. 1, характеризующийся тем, что взаимодействие пользователя с веб-ресурсом включает следующие действия: - выбор контента пользователем посредством устройств ввода данных; - отправка пользователем ссылки на контент другим пользователям (реблог); - отметка пользователем контента как понравившегося; - оформление пользователем подписки на контент; - добавление пользователем контента в корзину с целью совершения покупки товара, описываемого контентом, причем контент является описанием товара и/или предложением купить товар и/или предложением заказа услуги; - покупка пользователем товара, описываемого контентом. 3. Способ по п. 1, характеризующийся тем, что количество категорий контента в архетипе пользователя может изменяться со временем. 4. Способ по п. 1, характеризующийся тем, что категории контента в архетипе пользователя упорядочены по убыванию весов категорий контента. 5. Способ по п. 4, характеризующийся тем, что архетипы пользователей отличаются категориями и/или расположением категорий в архетипе пользователя и/или количеством категорий в архетипе пользователя. 6. Способ по п. 4, характеризующийся тем, что несколько категорий контента могут занимать одну позицию в архетипе пользователя. 7. Способ по п. 6, характеризующийся тем, что категории контента, занимающие одну позицию в архетипе пользователя, определяются величиной отличия значений весов для таких категорий контента. 8. Способ по п. 1, характеризующийся тем, что вес категории контента вычисляется с учетом коэффициента взаимодействия пользователя с контентом и количества взаимодействий пользователя с контентом. 9. Способ по п. 1, характеризующийся тем, что пользователем является лицо, продающее и/или рекламирующее товар и/или услуги. 10. Способ по п. 1, характеризующийся тем, что веб-ресурс является веб-сайтом, веб-порталом. 11. Способ по п. 1, характеризующийся тем, что пользователю может рекомендоваться контент других пользователей с одинаковым архетипом пользователей. 12. Способ по п. 1, характеризующийся тем, что смена архетипа пользователя происходит на основе анализа действий пользователя на веб-ресурсе. 13. Способ по п. 1, характеризующийся тем, что категории создаются на веб-ресурсе модератором веб-ресурса. 14. Способ по п. 1, характеризующийся тем, что на веб-ресурсе создаются виртуальные категории на основе анализа взаимодействия пользователя с контентом. 15. Способ по п. 14, характеризующийся тем, что виртуальные категории преобразуются в категории веб-ресурса модератором или автоматически средствами веб-ресурса. 16. Способ по п. 14, характеризующийся тем, что виртуальные категории создаются из коллекций пользователей. 17. Способ по п. 1, характеризующийся тем, что пользователю назначен временный архетип пользователя, содержащий недостаточное количество категорий контента для формирования архетипа пользователя. 18. Способ по п. 1, характеризующийся тем, что пользователю назначается класс пользователя на основе качества действий пользователя на веб-ресурсе и/или частоты взаимодействия пользователя с контентом веб-ресурса, и/или временем, проведенным пользователем на веб-ресурсе, и/или частоты посещения пользователем веб-ресурса, где чем выше класс пользователя, тем больше контента из категорий архетипа такого пользователя рекомендуется другим пользователям. 19. Способ по п. 1, характеризующийся тем, что самые высокие и самые низкие классы пользователей не пересматриваются в зависимости от классов пользователей.
Область техники [0001] Настоящее изобретение относится к компьютерным системам и, более конкретно, к системам и способам для подбора и отображения контента веб-ресурса пользователю веб-ресурса на основе архетипа пользователя. Уровень техники [0002] В связи с бурным развитием компьютерной техники и распространенностью сети Интернет все больше и больше пользователей компьютерных/вычислительных устройств (персональными компьютерами, смартфонами, планшетами и т.д.) проводят время в поисках интересной им информации, с целью общения с другими пользователями, с целью купить товар или услугу, в частности, посредством сети Интернет, мобильных приложений и т.д. [0003] Зачастую, пользователю сложно самому найти интересующую его информацию и/или разобраться в том насколько точна и/или полезна найденная им информация, насколько хорош тот или иной товар или услуга, подходят ли они ему, и стоит ли ему их заказывать, спросить других пользователей, где найти тот или иной товар, информацию, услугу и т.д. Зачастую пользователю хочется или необходимо знать мнение другого пользователя о найденной им информации, например, пользователь увидел на одном из веб-сайтов в сети Интернет интересную информацию о каком-либо устройстве для персонального компьютера, например, жестком диске, и хочет узнать мнение других пользователей об этом жестком диске. С другой стороны, пользователю может понравиться красивый автомобиль, который он собирается или хотел бы приобрести, и хочет поделиться этим с другими пользователями. Также, пользователь может приобрести какой-то бытовой прибор, например, электрочайник, который у него сломался после года использования, так что пользователь хочет обратить внимание остальных пользователей на то, что такой электрочайник не стоит покупать. Стоит также отметить, что пользователь может похвастаться своей какой-либо покупкой перед другими пользователями. [0004] С этими целями пользователи объединяются в группы по интересам, например, на специализированных веб-сайтах, форумах и т.д. На таких форумах пользователь может узнать мнение других пользователей об интересующей его информации путем проведения опроса, оставления ссылок с целью прокомментировать ту или иную статью (например, размещенную в сети Интернет) или товар. Также пользователь может порекомендовать другому пользователю, группе пользователей, или всем пользователям сразу ту или иную найденную им информацию, например, путем прикрепления изображения на веб-сайте и отправке сообщения выбранным пользователям. Пользователь также может создать отдельную тему, например, на форуме, с целью рекомендации другим пользователям найденной им информации или товаре. [0005] Крайне часто описанные выше или его большую часть сложно реализовать в одном месте, например, на одном веб-сайте либо на нескольких веб-сайтах, либо на нескольких поддоменах одного веб-сайта, поскольку подразумевает использование различных компьютерных технологий и требует большого количества времени и ресурсов на реализацию и поддержку, либо пользователю будет неудобно пользоваться подобными реализациями. [0006] Также, загруженная одним пользователем информация/данные (например, с целью ее рекомендации другим пользователям), обычно не интересна всем пользователям и даже пользователям объединенным "по интересам", поскольку интересы пользователей даже в пределах одной группы по интересам могут значительно отличаться друг от друга. Так, например, на форуме может быть создан под-форум или ветка "Автомобили", которую создал один из пользователей с целью собрать пользователей, интересующихся автомобилями. Однако стоит отметить, что часть пользователей может интересоваться гоночными автомобилями/болидами, другая часть пользователей грузовыми автомобилями, третья часть пользователей - легковыми автомобилями, четвертая часть пользователей - ремонтом автомобилей, пятая - утилизацией автомобилей, шестая - покупкой/продажей автомобилей и т.д. Таким образом, тема "Куплю ретро-автомобиль" или "Как научиться ездить задним ходом?" в ветке "Автомобили" будет интересна далеко не всем участникам форума. [0007] Если создать в ветке "Автомобили" под-ветки "Грузовые автомобили", "Легковые автомобили", "Спортивные автомобили", "Ремонт автомобилей" и, например, предоставить пользователям самим добавлять такие ветки, под-ветки, под-под-ветки и т.д., то, в конечном счете, ветка "Автомобили" получит большую разветвленность и вложенность под-веток, под-под-веток и т.д. Кроме того, пользователи могут называть ветки под-форумов/веток/под-веток и т.д. по-разному, например, один пользователь может создать ветку "Спортивные авто", второй пользователь - "Спорт-авто", третий - "Спортивные машины" и т.д., которые, по сути, будут относиться к одной теме/ветке форума под общим названием "Спортивные авто". Использование ручной или автоматической (например, с использованием лингвистического анализа существующих тем форума и создаваемой темы форума) модерации крайне трудоемко и не всегда позволяет с высокой точностью (особенно автоматическая модерация) определить - была ли уже создана подобная тема или нет. [0008] С другой стороны, одному пользователю могут быть интересны несколько веток/тем ресурса/портала. Под ресурсом/порталом в рамках настоящего изобретения понимается, например, веб-ресурс (в частности, веб-сайт, интернет-форум, страница/блог пользователя в Интернете, которые могут располагаться на сервере, вебсервере, удаленном компьютере, сетевом хранилище данных и т.д.), веб-портал (например, веб-сайт, предоставляющий пользователям интернет-сервисы), причем веб-портал может состоять из нескольких веб-сайтов. Доступ к порталу/ресурсу может быть осуществлен посредством веб-браузера или другого программного обеспечения, в частности, приложения для мобильного устройства пользователя (мобильного приложения), приложение для вычислительного устройства (персонального компьютера, ноутбука, смартфона, планшета, телефона и т.д.), на котором может быть отображен контент ресурса/портала (далее в описании настоящего изобретения - контент, контент ресурса, элементы/объекты портала, элементы/объекты ресурса, элементы/объекты контента), и на котором или посредством сервисов которого, пользователь может делиться контентом, загружать контент на ресурс/портал, ссылаться на контент других ресурсов, собирать контент других пользователей в коллекции, ставить оценки контенту, загруженному другими пользователями, просматривать контент и сохранять контент на ресурсе, например, посредством создания/сохранения ссылок на такой контент ресурса средствами ресурса или силами пользователя и, например, средствами веб-браузера или приложения, посредством которых осуществляется взаимодействия с ресурсом, а также путем отправки сообщений, оставления комментариев к контенту и т.д., как будет описано в описании изобретения. Под контентом в рамках описания настоящего изобретения понимаются объекты/элементы, размещенные на ресурсе/портале (на страницах ресурса/портала, в окнах приложений, связанных с ресурсом и т.д.), представляющие собой информационное содержание ресурсов, в частности, графическая информация, например, изображения, видео, текстовая информация (например, статьи на веб-сайтах, статьи, загруженные пользователем на ресурс и т.д.), аудио-данные, например, в виде файлов, ссылок на ресурсы, содержащие такой контент и т.д. Также в качестве контента могут выступать ссылки на ресурсы (в частности, веб-сайты) с возможным созданием страниц(ы) предпросмотра для такого сайта и т.д. [0009] Таким образом, группировка пользователей (формирование групп пользователей) по интересам осложняется разветвленностью входящих в группы тем, интересных различным пользователям даже в пределах одной группы. Темы, интересные пользователям из различных групп, приводят к пересечению групп пользователей, что значительно осложняет пользователям поиск интересующего их контента. Также, пересечение групп пользователей по интересам осложняет возможность осуществления рекомендаций пользователям, т.е. становится сложно предсказать, какому именно пользователю и из какой группы понравится тот или иной контент рекомендованный пользователем или ресурсом. Стоит отметить, что контент может рекомендоваться пользователям не только другими пользователями, но и ресурсом, например, посредством рекомендации контента пользователям с использованием средств ресурса или связанными с ним ресурсами. [0010] В настоящее время существующие средства рекомендации контента пользователю (средства подбора контента пользователю или группе пользователей) либо вычисляют/определяют рекомендуемый контент пользователю на основе анализа контента, не учитывая качества контента и популярности контента у других пользователей, либо используют сложные алгоритмы для выбора контента, который можно порекомендовать пользователю, например, посредством анализа действий пользователя, истории пользователя (например, операции пользователя с размещенным на ресурсе контентом или при размещении контента на ресурсе). [0011] Также известны средства рекомендации контента пользователям на основе хеш-тегов. Хештег, хэштег или хэш-тег (от англ. hashtag от hash - знак «решетка» + tag - метка) - тип метки, используемый на веб-сайтах в социальных сетях и т.д. с целью облегчения поиска контента по теме или контенту. Такие средства обладают недостатками, которые, как правило, позволяют определить лишь тип контента, но не группу пользователей, которым его можно порекомендовать, даже если собирать для определенной группы пользователей или отдельно взятого пользователя набор хеш-тегов, то зачастую рекомендуемый контент оказывается не интересен пользователю, поскольку у одного пользователя или группы пользователей набирается слишком много хеш-тегов, а по совокупности всех хеш-тегов, как правило, находится слишком мало контента (или вообще не находится), который можно порекомендовать пользователю. В данном случае части группы пользователей (например, с одинаковым набором хеш-тегов) не будут интересны рекомендованный контент на тему "Грузовые автомобили" и/или "Легковые автомобили", а другой части группы пользователей не будут интересен рекомендуемый контент с хеш-тегами "Спортивные автомобили", хотя каждый из такой группы пользователей хотя бы раз просмотрел контент с указанными хеш-тегами. [0012] Известно также разделение пользователей на группы, по, так называемым, архетипам. Архетип пользователя (тип пользователя, типаж пользователя) определяет отдельный набор данных, или модель, а также множество, совокупность моделей, например, моделей личности, которые могут быть использованы для определения предпочтений пользователей. [0013] Однако известные способы построения/создания архетипов пользователей не позволяют в должной мере использовать их для подбора пользователям рекомендуемого контента. [0014] Еще одной проблемой существующих способов и систем подбора рекомендуемого пользователю контента заключается в том, что они не затрагивают фильтрацию пользователей, контент которых может быть рекомендован другим пользователям, так, например, одному пользователю может быть рекомендован контент другого пользователя (например, который нравится другому пользователю или контент собранный таким другим пользователем или загруженный им), который "не умеет советовать", "у которого нет вкуса", который собирает или загружает неинтересный контент, либо который делится контентом, который может быть мало кому интересен, кроме него самого. [0015] Кроме того, существующие системы не обеспечивают механизма для рекомендации пользователю контента, который на самом деле интересует конкретного пользователя или пользователей схожего с ним архетипа. [0016] Соответственно, основываясь на анализе существующего уровня техники и возможностей, существует потребность в данной области техники в системе и способе для подбора и отображения контента веб-ресурса пользователю веб-ресурса на основе архетипа пользователя и/или на основе известных данных пользователя. Сущность изобретения [0017] Технический результат настоящего изобретения заключается в подборе и отображении контента веб-ресурса пользователю веб-ресурса на основе архетипа пользователя и/или известных данных пользователя. [0018] Согласно одному из вариантов реализации предлагается способ для подбора и отображения контента веб-ресурса пользователю веб-ресурса, включающий следующие шаги: регистрацию пользователей на веб-ресурсе с указанием данных о пользователях и интересов пользователей; взаимодействие пользователей с контентом веб-ресурса; создание пользователями пользовательских коллекций на веб-ресурсе, содержащих ссылки на контент веб-ресурса и/или ссылки на контент, загруженный пользователем на веб-ресурс из сети Интернет, и/или содержащих контент, загруженный с хранилища данных пользователей, и/или содержащих контент, загруженный на веб-ресурс через указание пользователями ссылок на веб-страницы с контентом из сети Интернет; определение для каждого пользователя пользовательских категорий контента веб-ресурса; создание архетипов пользователей, содержащего, по крайней мере, одну категорию контента для одного архетипа пользователя, на основе взаимодействия пользователей с контентом веб-ресурса; назначение пользователю, по крайней мере, одного архетипа пользователя; подбор контента веб-ресурса пользователю на основе архетипа пользователя в случае, если пользователю назначен архетип пользователя, и подбор контента веб-ресурса пользователю на основе известных данных пользователя и собранных веб-ресурсом взаимодействий пользователя с контентом веб-ресурса; отображение подобранного контента веб-ресурса пользователю на веб-ресурсе. [0019] В одном из частных вариантов реализации взаимодействие пользователя с веб-ресурсом включает следующие действия: выбор контента пользователем посредством устройств ввода данных; отправка пользователем ссылки на контент другим пользователям (реблог); отметка пользователем контента, как понравившегося; оформление пользователем подписки на контент; добавление пользователем контента в корзину с целью совершения покупки товара, описываемого контентом, причем контент является описанием товара и/или предложением купить товар и/или предложением заказа услуги; покупка пользователем товара, описываемого контентом. [0020] В одном из частных вариантов реализации количество категорий контента в архетипе пользователя может изменяться со временем. [0021] В одном из частных вариантов реализации категории контента в архетипе пользователя упорядочены по убыванию весов категорий контента. [0022] В одном из частных вариантов реализации архетипы пользователей отличаются категориями и/или расположением категорий в архетипе пользователя, и/или количеством категорий в архетипе пользователя. [0023] В одном из частных вариантов реализации несколько категорий контента могут занимать одну позицию в архетипе пользователя. [0024] В одном из частных вариантов реализации категории контента, занимающие одну позицию в архетипе пользователя, определяются величиной отличия значений весов для таких категорий контента. [0025] В одном из частных вариантов реализации вес категории контента вычисляется с учетом коэффициента взаимодействия пользователя с контентом и количества взаимодействий пользователя с контентом. [0026] В одном из частных вариантов реализации пользователем является лицо, продающее и/или рекламирующее товар и/или услуги. [0027] В одном из частных вариантов реализации веб-ресурс является веб-сайтом, веб-порталом. [0028] В одном из частных вариантов реализации пользователю может рекомендоваться контент других пользователей с одинаковым архетипом пользователей. [0029] В одном из частных вариантов реализации смена архетипа пользователя происходит на основе анализа действий пользователя на веб-ресурсе. [0030] В одном из частных вариантов реализации категории создаются на веб-ресурсе модератором веб-ресурса. [0031] В одном из частных вариантов реализации на веб-ресурсе создаются виртуальные категории на основе анализа взаимодействия пользователя с контентом. [0032] В одном из частных вариантов реализации виртуальные категории преобразуются в категории веб-ресурса модератором или автоматически средствами веб-ресурса. [0033] В одном из частных вариантов реализации виртуальные категории создаются из коллекций пользователей. [0034] В одном из частных вариантов реализации пользователю назначен временный архетип пользователя, содержащий недостаточное количество категорий контента для формирования архетипа пользователя. [0035] В одном из частных вариантов реализации пользователю назначается класс пользователя на основе качества действий пользователя на веб-ресурсе и/или частоты взаимодействия пользователя с контентом веб-ресурса, и/или временем, проведенным пользователем на веб-ресурсе, и/или частоты посещения пользователем веб-ресурса, где, чем выше класс пользователя, тем больше контента из категорий архетипа такого пользователя рекомендуется другим пользователям. [0036] В одном из частных вариантов реализации самые высокие и самые низкие классы пользователей не пересматриваются в зависимости от классов пользователей. Краткое описание чертежей [0037] Дополнительные цели, признаки и преимущества настоящего изобретения будут очевидными из прочтения последующего описания осуществления изобретения со ссылкой на прилагаемые чертежи, на которых: [0038] ФИГ. 1 иллюстрирует примерный вариант отображения контента пользователю, согласно настоящему изобретению; [0039] ФИГ. 2 иллюстрирует примерный вариант блок-схемы подбора и отображения рекомендуемого контента пользователям ресурса/портала; [0100] ФИГ. 3 иллюстрирует примерный вариант формирования/создания архетипов пользователей; [0101] ФИГ. 4 иллюстрирует примерный вариант связи архетипов пользователей с пользователями ресурса; [0102] ФИГ. 5 иллюстрирует примерный вариант схемы системы подбора и отображения рекомендуемого контента; [0103] ФИГ. 6 показан вариант системы, реализующей настоящее изобретение. Описание вариантов осуществления изобретения [0104] Объекты и признаки настоящего изобретения, способы для достижения этих объектов и признаков станут очевидными посредством отсылки к примерным вариантам осуществления. Однако настоящее изобретение не ограничивается примерными вариантами осуществления, раскрытыми ниже, она может воплощаться в различных видах. Сущность, приведенная в описании, является ничем иным, как конкретными деталями, обеспеченными для помощи специалисту в области техники в исчерпывающем понимании изобретения, и настоящее изобретение определяется только в объеме приложенной формулы. [0105] На ФИГ. 1 показан примерный вариант отображения контента пользователю/пользователям портала/ресурса, в частности, показано окно веб-браузера, в котором размещается контент. Стоит отметить, что окно отображения контента 100 может быть представлено не только окном веб-браузера, но и окном приложения, установленного на устройство пользователя, например, мобильное устройство (телефон, смартфон, планшет), персональный компьютер, сервер, ноутбук и т.д., например, мобильным приложением, программным обеспечением для персонального компьютера. [0106] Стоит также отметить, что помимо контента в окне отображения контента могут присутствовать элементы взаимодействия пользователя с контентом, другими пользователями, категориями и т.д. Также подобные элементы взаимодействия с контентом не обязательно отображаются в окне отображения контента (или может быть отображена их часть), а могут быть активированы при взаимодействии с ними, например, путем выделения их манипулятором мышь или касанием экрана сенсорным пером или пальцем (например, в случае использования устройств с сенсорными экранами). К таким элементам взаимодействия пользователя (действий пользователя/пользовательских действий) с контентом, другими пользователями, ресурсом, веб-сайтами и т.д., можно отнести кнопки, элементы меню, выпадающего меню и т.д., например, кнопки "Поделиться" ("реблог"), "Добавить в коллекцию пользователя", "Подписаться", "Прокомментировать элемент/контент/объект", "Поставить оценку", "Показать описание" (контента, в частности, товара, предложенного пользователю в виде контента, элемента ресурса) "Отметить, как понравившееся", "Добавить в корзину", "Купить" а также действия пользователей, например, просмотры страниц ресурса, контента ресурса, выделение контента ресурса (например, щелчок/клик мышью на контенте ресурса или посредством взаимодействия с контентом посредством сенсорных экранов устройств) и т.д. Стоит отметить, что каждому действию/взаимодействию пользователя может быть проставлен определенный коэффициент (коэффициент действия/коэффициент действия пользователя), отражающий значимость данного действия, которые могут быть использованы, например, в процессе анализа действия пользователей с целью формирования архетипа пользователя или класса пользователя, как описано ниже в рамках описания изобретения. Пользователь ресурса (включая пользователей, прошедших регистрацию на ресурсе) также может делиться контентом, например, с другими пользователями ресурса, загружать контент (собственный, контент третьих лиц, например, найденный в сети Интернет или сохраненный пользователем на его персональном компьютере, сетевом хранилище и т.д.) на ресурс, ссылаться на контент других ресурсов, собирать контент других пользователей в коллекции/пользовательские коллекции (110), подписываться на пользователей (например, на добавляемый пользователем контент, совершаемые пользователей действия и т.д.), ставить оценки контенту, сохраненному или загруженному другими пользователями, просматривать контент и сохранять контент на ресурсе, например, посредством создания ссылок на такой контент средствами ресурса или собственными силами и средствами, в частности, путем отправки сообщений, оставления комментариев к контенту и т.д., как будет описано в описании изобретения. Коллекции представляют собой набор элементов контента, собранных пользователями ресурса/портала, которые их заинтересовали. Коллекции могут быть пополнены путем загрузки в них пользовательского контента, например, посредством средства загрузки контента на портал, либо посредством сохранения элементов контента других пользователей, в частности, посредством элементов взаимодействия с элементами контента, порталом, например, посредством кнопки "Сохранить в своей коллекции", "Сохранить в новой коллекции", "Добавить в коллекцию" и так далее. [0107] Как было сказано выше, контент может быть представлен объектами/элементами 120 или набором объектов/элементов контента, размещенными на ресурсе (на страницах ресурса, веб-страницах, в окнах приложений, мобильных приложениях, связанных с ресурсом и другими ресурсами т.д.), и которые могут быть представлены изображением, текстом, видео- и аудиозаписями, статьями на веб-сайтах, загруженными пользователями статьями на ресурс, файлами, ссылками на другие ресурсы или текущий ресурс. В качестве контента могут выступать ссылки на ресурсы (в частности, ссылки на веб-сайты) с возможным созданием страниц(ы) предпросмотра (предварительного просмотра) для такого сайта и т.д. Также контент может быть представлен подобранными рекомендованными объектами 130, содержащими, по крайней мере, объекты 120 (содержащими, по крайней мере, данные объектов, сохраненных пользователями или загруженными пользователями). Рекомендуемые объекты также могут содержать дополнительную информацию/данные, по сравнению, с объектами, сохраненными в каталогах пользователей/пользовательских категориях/пользовательских коллекциях 110, в том числе загруженными пользователями объектами. Так, например, пользователь ресурса может сохранять объекты ресурса/контент, изменяя описание контента, в частности, добавить свое описание к существующему описанию контента либо полностью, частично его заменить или удалить существующее описание контента. [0108] Как было сказано выше, пользователь может размещать на ресурсе контент в своих пользовательских категориях/каталогах 110, обмениваться контентом с другими пользователями, в том числе путем отправки ему сообщений, включая внутренние сообщения ресурса, либо посредством приложений связанных и/или не связанных с ресурсом, например, посредством систем мгновенного обмена сообщениями/систем обмена мгновенными сообщениями (IM - от англ. Instant Messanging), ставить оценки контенту, получать контент, например, посредством ссылок от других пользователей и т.д., т.е. каким-либо способом взаимодействовать с контентом, связанным с ним пользователями, размещать контент на ресурсе. [0109] Стоит отметить, что пользователем может быть физическое лицо (какой-либо человек, посетивший и/или зарегистрировавшийся на ресурсе) или юридическое лицо/компания (например, магазин товаров и/или услуг, какой либо сервис, интернет-сайт/веб-сайт, интернет-магазин и т.д.) или лицо представляющее юридическое лицо, например, системный администратор компании, генеральный директор компании, администратор веб-сайта, директор магазина, управляющий компании, бухгалтер компании, распространитель или продавец товаров и так далее. [0110] Стоит отметить, что в одной из реализаций изобретения пользователей можно разделить на две части: [0111] - пользователей, заинтересованных в продвижении контента (товаров, услуг и т.д.), например, заинтересованных в продаже, рекламе и т.д. товаров. К таким пользователям можно отнести магазина, включая, интернет-магазины, веб-сайты, интернет-сервисы и т.д.; [0112] - пользователей, которых может заинтересовать контент первой части пользователей, т.е. контент пользователей, продвигающих свой контент. [0113] Первая часть пользователей (как и вторая часть пользователей) может раскладывать свой (в том числе загружаемый или сохраняемый с данного ресурса или других ресурсов) контент по коллекциям, а также сохранять контент из одних коллекций (своих или других пользователей) в другие свои коллекции. Отличие таких коллекций может заключаться в названии коллекций и целях, с которыми пользователи сохраняют контент в своих коллекциях (или загружают контент на ресурс в свои коллекции), например, коллекции магазина могут представлять собой коллекции с товарами (корзины/папки с товарами и их описанием), которые могут быть подобраны и рекомендованы другим пользователям, как описано в рамках настоящего изобретения. У пользователей из второй части коллекции (покупателей) могут представлять собой, например, списки желаемых покупок, в которых они могут сохранять контент из коллекций магазинов (папок с товарами). Так, например, магазин может создать папку с товарами "Средства ухода за кожей", "Средства ухода за ногтями", в то время как покупатель (вторая часть пользователей) может сохранить элементы/объекты портала (контент из коллекции магазинов) в свои коллекции, например, "Купить обязательно", "Купить подруге" и т.д. [0114] На ФИГ. 2 изображен примерный вариант блок-схемы подбора и отображения подобранного рекомендуемого контента пользователям ресурса/портала. Процесс начинается в шаге 210 после того, как пользователь зайдет на ресурс. Пользователь может зайти на ресурс посредством веб-браузера, программного обеспечения (например, приложения) или сервиса (например, веб-сервиса), установленных на компьютерном/вычислительном устройстве, например, мобильном устройстве, персональном компьютере и т.д. В шаге 210 пользователю предлагается пройти регистрацию, которая заключается, как минимум, в указании пользователем информации о себе и предпочтениях пользователя (чем интересуется пользователь), например, возраст пользователя, пол пользователя, регион проживания, местонахождения, рождения пользователя, адрес электронной почты пользователя, номер телефона пользователя (местный и мобильный), дата рождения пользователя и другие данные, предоставленные пользователем, которые, например, могут быть использованы для формирования архетипа пользователя, класса пользователя и/или при подборе пользователю контента ресурса, а также в данных о пользователе может быть зафиксирован (пользователем или средствами ресурса, например, использующим средства операционной системы, веб-браузера, в частности, средствами, встроенными в приложения или устройства пользователя) недавно посещенные пользователем ресурсы/веб-страницы, открытые или закрытые приложения, включая мобильным приложения и т.д.) сайт, приложение и т.д., с которого пришел пользователь (может быть указано пользователем либо определяться автоматически, например, на основе анализа информации, предоставляемой устройством пользователя, программным обеспечением пользователя, веб-браузером, в котором открыто окно ресурса и т.д.) или откуда он узнал о ресурсе, например, путем указания пользователя (или данных, при помощи которых такой пользователь может быть идентифицирован на ресурсе), уже зарегистрированного на ресурсе. Так, например, пользователь может указать псевдоним (nickname) пользователя на ресурсе, адрес его электронной почты, идентификационный номер пользователя ресурс и т.д. путем ввода таких данных на странице регистрации нового пользователя ресурса (страницу редактирования данных пользователя ресурса) либо посредством выбора таких данных из предоставляемых пользователю средствами ресурса. Стоит отметить, что пользователь может попасть на страницу регистрации пользователя по ссылке (например, веб-ссылке), которую ему может прислать любой пользователь ресурса, например, в качестве приглашения на ресурс, причем ссылка может содержать информацию о пригласившем пользователе, которая может быть использована для установления связи между пригласившим пользователем ресурса и приглашенным/регистрирующемся пользователем на ресурсе. Такая связь может быть использована для формирования архетипа пользователя, а также для подбора контента новому пользователю, в том числе, и до формирования архетипа пользователя. [0115] Также пользователю может быть предложено указать его предпочтения (что ему интересно, какой предполагаемый тип контента), например, посредством выбора, как минимум, одной интересующей его обобщающей категории контента. Обобщающие категории контента выступают неким глобальным индикатором интересов пользователя и представляют собой собранные коллекции/категории (или, как минимум, одну коллекцию) пользователей в категории контента. Стоит отметить, что обобщающие категории опциональны, т.е. обобщающие категории не обязательно используются для подбора и отображения пользователю рекомендуемого контента (шаг 250 на ФИГ. 2), а также могут не учитываться при выборе контента для и отображения пользователю контента (шаг 290 на ФИГ. 2). Как было описано выше и будет описано ниже, пользователь при взаимодействии с уже существующими объектами/элементами контента или при загрузке контента на портал может добавлять объекты контента в уже существующие коллекции или создавать новые коллекции. Коллекции могут быть объединены в категории контента. Категории контента могут быть объединены в обобщающие категории контента. Так, например, коллекции (и объекты/элементы коллекции, в общем случае - элементы/объекты контента) одного или нескольких пользователей ресурса "Автомобили представительского класса", "Роскошные автомобили", "Суперкары", "Элитные автомобили", "Гоночные болиды", "Спортивные автомобили", "Дорогие машины", "Авто для богатых" и т.д. могут быть объединены в категорию, например, под названием "Дорогие автомобили", а коллекции "Продать авто с пробегом", "Купить машину", "Продажа автомобилей без пробега", "Покупка авто без пробега по России" и т.д. могут быть объединены, например, в категорию с именем "Покупка/Продажа авто". В свою очередь, категории "Дорогие автомобили" и "Покупка/Продажа авто" могут быть объединены в одну обобщающую категорию ресурса "Автомобили". [0116] Формирование коллекций в категории контента, а категорий контента - в обобщающие категории может выполняться модератором (оператором, редактором) ресурса/портала, либо могут использоваться способы автоматической группировки коллекций и категорий, например, с использованием алгоритмов (реализованных в виде программного обеспечения, исполняемом на вычислительном устройстве, например, сервере, персональном компьютере и т.д.) на базе, например, лингвистического анализа элементов контента (включая составные части элемента контента, таких как, например, название коллекций, категорий, обобщающих категорий, а также текстовой составляющей элементов контента, тегов, назначенных категориям, коллекциям, обобщающим категориям, элементам контента и т.д.), принадлежащих коллекциям и категориям, либо посредством сравнения элементов контента, например, путем сравнения изображений, частей изображений и т.д. [0117] Стоит отметить, что категории могут быть также созданы посредством анализа контента, с которым взаимодействует пользователь, а также на основе названий коллекций, описания контента и т.д. Так, например, если в ходе анализа пользователей и их взаимодействия с порталом и его элементами, выясняется, что пользователи уделяют большое внимание определенному типу контента, то может быть создана категория, характеризующая данный тип контента, причем такая категория автоматически может быть добавлена в систему (на портал) и использоваться для формирования архетипов, а может быть дополнительно просмотрена/отредактирована модератором портала, с целью установления необходимости создания такой категории (подобная категория, относящаяся к тому или иному типу контента, уже может существовать, но иметь, например, другое название/имя). Также, подобные категории могут быть созданы для контента, с которым взаимодействуют пользователи из третьего класса (будет описано ниже), причем такие категории могут быть изначально не видны другим пользователям портала, но с ростом популярности таких категорий они могут быть включены в процесс формирования/корректировки архетипа автоматически либо модератором/оператором/редактором портала. [0118] После шага 210 процесс переходит к шагу 220, в котором проверяется факт наличия у пользователя архетипа (пользовательского архетипа, архетипа пользователя). [0119] Стоит отметить, что между шагом 210 и шагом 220 пользователю уже может быть назначен архетип (присвоен архетип, подобран архетип, т.е. пользователь может быть отнесен к уже существующим на портале архетипам), например, на основе первичной информации, указанной пользователем, либо, если, например, пересоздается учетная запись пользователя по тем или иным причинам, то в данном случае после регистрации пользователя на портале ему будет назначен его старый архетип. Если на портале еще не было создано ни одного архетипа, т.е. архетипов не существует, например, на портале регистрируется первый пользователь, то может быть создан виртуальный архетип для такого пользователя, например, на базе обобщающих категорий выбранных пользователем при регистрации на портале. Также архетип для пользователя может быть создан или выбран/назначен случайным образом из существующих категорий контента, входящих в состав обобщающих категорий, выбранных пользователем при регистрации, либо архетип может быть подобран из существующих категорий контента, входящих в состав обобщающих категорий, с учетом анализа первичных данных пользователя, введенных пользователем на этапе регистрации. [0120] Если в шаге 220 пользователю ранее уже был назначен архетип, то процесс переходит к шагу 230, в котором проверяется необходимость корректировки архетипа пользователя, которая производится в шаге 240, после которого процесс переходит к шагу 245, в котором определяется наличие рекомендуемого пользователю контента (контента, который будет отображен пользователю в качестве рекомендуемого/рекомендательного), как описано ниже. [0121] Если в шаге 245 был найден рекомендуемый пользователю контент (объекты/элементы контента), то процесс переходит к шагу 250, в котором пользователю портала отображается подобранный рекомендуемый контент посредством, например, окна 100 (ФИГ. 1), после чего процесс переходит к шагу 260. [0122] В шаге 260 осуществляется анализ действий пользователя на портале (как описано ниже), взаимодействия пользователя с контентом портала, другими пользователями и т.д., после чего процесс возвращается к шагу 220. [0123] Если в шаге 245 не удалось подобрать рекомендуемый контент пользователю (например, назначенный пользователю архетип назначен только одному пользователю, т.е. пользователь с таким архетипом существует в единственном экземпляре, так что не существует других пользователей с таким же архетипом, контент которых можно было бы порекомендовать такому пользователю), то процесс переходит к шагу 290. [0124] Стоит отметить, что пользователю может быть предложен, как контент соответствующего ему архетипа пользователя, так и контент из других архетипов пользователей, например пользователю с архетипом «Архетип 1», включающий категории 1. Машины, 2. Красота, 3. Ремонт, может быть подобран и отображен контент архетипа «Архетип 2», включающий категории 1. Ремонт, 2. Красота, 3. Машины или архетип «Архетип 33» включающий категории 1. Ремонт, 2. Машины, 3. Ретро и т.д., причем категории в архетипах могут, как совпадать, так и не совпадать, причем последовательность/ранжирование категорий в архетипах также может совпадать и не совпадать. Стоит отметить, что расположение/ранжирование категорий в архетипе может влиять на количество подбираемого и отображаемого контента пользователю. Так, например, при подборе и отображении контента пользователю с архетипом «Архетип 2» совпадении названия и позиции категории в архетипе пользователей «Архетип 2» и «Архетип 33», в представленном выше примере, категории «Ремонт», пользователю может чаще подбираться и отображаться контент из данной категории, чем из остальных категорий «Архетипа 33». Стоит также отметить, что контент из других архетипов пользователю может отображаться в случайном порядке и со случайной частотой, например, в одинаковом количестве, так, например, при подборе и отображении контента пользователю с архетипом «Архетип 1», из приведенного выше примера, может подбираться и отображаться контент из архетипов «Архетип 1» и «Архетип 33» в одинаковых пропорциях, т.е. 10 единиц контента из категории «Красота», 10 единиц контента из категории «Ремонт», 10 единиц контента из категории «Ретро» и так далее. В частности, подбор и отображение контента таким образом пользователю может осуществляться, например, до формирования у пользователя архетипа либо после формирования у пользователя архетипа, которому подбирается и отображается контент ресурса. [0125] Если в шаге 220 пользователю не был назначен архетип (пользователь не отнесен ни к одному из архетипов), то процесс переходит к шагу 270, в котором проводится проверка того факта, достаточно ли существующих/собранных данных о пользователе и его взаимодействии с порталом, контентом портала, пользователями портала и т.д. для того, чтобы отнести данного пользователя к одному из существующих архетипов, либо для того, чтобы создать новый архетип для пользователя, который и будет ему назначен (а в последствии может быть назначен любому другому пользователю). [0126] Если в шаге 270 было установлено, что собранных данных/информации о действиях пользователя на ресурсе (с элементами контента, пользователями, другими веб-сайтами и т.д.), то в шаге 280 происходит создание нового архетипа либо происходит назначение уже существующего архетипа пользователю, после чего процесс переходит к шагу 245. [0127] Новый архетип может быть создан, даже если он может быть присвоен всего одному пользователю. [0128] Процесс создания нового архетипа и назначения существующего архетипа пользователю в зависимости от первичных данных и собранных данных о взаимодействии пользователя с порталом, другими пользователями, контентом (элементами контента) портала и т.д., а также составляющие части архетипа, более подробно раскрыты в описании к ФИГ. 3. [0129] Корректировка архетипа пользователя осуществляется на базе анализа действий пользователя на ресурсе, в частности, взаимодействия пользователя с контентом портала/ресурса. Если в процессе взаимодействия пользователя с порталом, его элементами/объектами, другими пользователями и т.д., будет установлено, что пользователь стал проявлять интерес к определенному типу контента портала, например контенту из категорий, составляющих архетип (которые будут описаны ниже), то архетип, назначенный пользователю, может поменяться на один из существующих архетипов, или может быть создан новый архетип, к которому будет отнесен пользователь (с которым будет связан пользователь), более подробно процесс корректировки архетипа пользователя описан ниже. [0130] Если в шаге 270 данных для создания нового архетипа пользователя или для назначения существующего архетипа пользователю не собрано достаточно данных, то процесс переходит к шагу 290. В шаге 290 пользователю отображается контент (элементы/объекты портала) на основе первичных данных о пользователе и, в некоторых случаях, на основе уже собранных данных о действиях пользователя на портале (если таковые имеют место уже быть), после чего процесс переходит к шагу 260. [0131] На основе первичной информации о пользователе, включая обобщающие категории, а также на основе описанных выше и далее действий (взаимодействий с кем или с чем либо) пользователя на портале (или на любом другом веб-ресурсе, в приложениях и т.д.), у пользователя (для пользователя могут быть выбраны) могут быть определены (в том числе, модератором/оператором/редактором портала или автоматическим способом с использованием различных алгоритмов, например, на основе анализа поведения пользователя ресурса, действия, совершаемые пользователем с объектами/контентом/элементами ресурса, а также путем проставления весов таким действиям и взаимодействиям пользователя и/или категориям ресурса с последующим определением пользователю наиболее подходящих/близких категорий и архетипа пользователя. Также при подборе и отображении контента ресурса могут быть использованы/вовлечены категории ресурса, наиболее близкие пользователю, например, если данных для определения категорий недостаточно) описанные выше категории контента ресурса/портала (категории элементов/объектов портала). [0132] Как правило, пользователь уделяет тому или иному контенту портала, относящемуся, к определенной категории, больше или меньше внимания в ходе взаимодействия пользователя с порталом. Также в зависимости от первичных/первоначальных регистрационных данных пользователя ему больше подходят те или иные категории контента портала. Таким образом, в каких-то категориях контента портала пользователь больше заинтересован (например, чаще сохраняет или загружает контент связанный с определенными категориями), а в каких-то - меньше. В зависимости от степени заинтересованности пользователя определенными категориями и/или в зависимости от того, какие категории ему больше подходят, можно установить приоритет каждой из категорий в процентном соотношении по отношению друг к другу, т.е., например, из 10 категорий, которыми интересуется пользователь или которые подходят пользователю, по популярности на первом месте стоит категория "Дорогие автомобили" с 30 процентами популярности (важности для пользователя, по степени того, насколько категория подходит пользователю и т.д.), на втором месте - категория "Покупка/продажа авто" с 20 процентами, на третьем месте - категория "Купить/продать" с 10 процентами, на четвертом, пятом, шестом, седьмом, восьмом, девятом и десятом местах - другие категории, в общей сложности собравших остальные 40 процентов, но у каждой из которых не может быть более 10 процентов. [0133] Процентное соотношение популярности/важности категории для пользователей может быть описано весами каждой категории, например, в самом простом случае 1 процент будет равен 1 единице условного веса, т.е. вес категории "Дорогие автомобили" будет равен 30, вес категории "Покупка/продажа авто" будет равен 20, вес категории "Купить/продать" будет равен 10, а совокупный вес остальных 10 категорий будет равен 40, причем вес каждой из этих остальных категорий не будет превышать 10. [0134] Стоит отметить, что при совпадении весов у нескольких категорий, одно и то же место в архетипе может быть занято несколькими (как минимум двумя) категориями. Так, например, архетип «Архетип 456» может включать следующие категории: на первом месте архетипа пользователя стоят две категории «Цветы» и «Автомобили» с равными весами 30, на втором месте - категория «Покупка автомобиля» с весом 25, на третьем месте - категории «Подарки», «Ремонт квартир», «Сантехника» с весами равными 4 (четырем) для каждой категории. [0135] Стоит также отметить, что в указанной выше реализации содержания архетипов пользователя веса нескольких категорий, содержащихся на одном месте/позиции/ранге архетипа не обязательно должны совпадать, а могут несколько отличаться друг от друга, например, на заданную (оператором или алгоритмом, реализующим данный функционал) величину. Величина разброса весов категорий, которые могут занимать одну позицию в архетипе, может быть задана в единицах веса категорий, в процентах (разница в процентном отношении между весами категорий) и т.д. Так, например, разброс весов для категорий, занимающих одну позицию в архетипе, может быть задан, например, в 10 процентов или, например, в 1 единицу веса, т.е. в первом случае для приведенного выше примера веса категорий «Цветы» и «Автомобили» могут варьироваться в пределах, например, 30 единиц веса и 33 единицы веса, а во втором случае - 29 и 30 единиц веса соответственно. [0136] Таким образом, на базе весов категорий (в частности, интересности категорий пользователю, насколько они ему подходят и т.д.) могут быть выделены основные категории (не путать с обобщенными категориями), которыми, с наибольшей долей вероятности, интересуется пользователь и контент из которых наиболее ему интересен и будет интересен, пока не сменятся основные категории или их популярность относительно друг друга. Здесь, в качестве примера, рассматриваются три основные категории, хотя стоит отметить, что количество основных категорий не ограничено и может равняться одной или множеству категорий (10, 20, 101 и т.д.). Стоит отметить, что количество категорий может изменяться динамически, т.е. меняться со временем в процессе существования портала. Так, например, если изначально архетип строился по трем основным категориям, то по прошествии некоторого времени, в существующие архетипы может быть добавлена еще одна категория, например, когда количество архетипов становится устойчивым, как описано ниже. В этом случае архетипы могут включать четыре основных категории, причем [0137] - в системе могут существовать два типа архетипов - архетипы с тремя основными категориями и архетипы с четырьмя основными категориями; [0138] - либо количество основных категорий у всех архетипов одинаково. [0139] Стоит отметить, что в процессе увеличения количества категорий, содержащихся в архетипах пользователей как минимум одна добавляемая категория (в описанном выше примере - четвертая категория ресурса) к существующему набору категорий выбирается из упомянутых выше «остальных категорий», определенных в результате анализа действий пользователя на ресурсе и взаимодействия пользователя с контентом ресурса. Выбор добавляемой категории осуществляется модератором ресурса или автоматически средствами ресурса на базе весов категорий, содержащихся в «остальных категориях», так, например, для приведенного выше примера четвертой добавленной в архетип категорией станет категория с наибольшим весом, по сравнению с другими категориями из «остальных категорий». [0140] Основные категории в большей степени определяют архетип пользователя, т.е. указывают на то, контент из какой категории будет интересен пользователю, а, следовательно, контент (элементы/объекты портала) из данных категорий стоит ему рекомендовать (рекомендуемый контент, рекомендательный контент). Неосновные категории (или вторичные категории) в меньшей степени определяют рекомендуемый пользователю контент 130 (ФИГ. 1), но также могут быть использованы для подбора рекомендательного контента, но отображаться пользователю такой контент, например, в окне 100 (ФИГ. 1), будет гораздо реже, чем рекомендуемый контент из основных категорий. [0141] Основные категории (определенные для пользователя категории, категории архетипа пользователя) могут быть упорядочены по весам, так, например, на первом месте будет стоять категория с наибольшим весом, а категория с наименьшим весом будет стоять на последнем месте. Стоит отметить, что вторичные категории также могут быть упорядочены по весам. [0142] На базе упорядочивания/сортировки основных категорий создаются архетипы, «Архетип 1», «Архетип 2» (название архетипов может быть разным и меняться в зависимости от реализации настоящего изобретения, так например, названия архетипов могут быть связаны с именем пользователя, для которого первым был определен архетип, или могут быть включать слова из названий категории или включать целиком названия категорий и т.д.) и т.д. Так, например, для приведенного выше примера категорий может быть создан архетип "Архетип-Номер-1", который будет включать в себя следующие основные категории контента по убыванию их значимости/важности/релевантности для пользователя сверху вниз: [0143] "Дорогие автомобили"; [0144] "Покупка/продажа авто"; [0145] "Купить/продать"; [0146] Все остальные категории. [0147] Таким образом, в одной из осуществления/реализации изобретения, пользователю будет подбираться и отображаться подобранный контент (подобранные элементы/объекты портала) сначала из первой основной категории, затем - из второй основной категории и только потом - контент из третьей основной категории. [0148] В другой реализации изобретения пользователю контент может подбираться и отображаться в равных долях из всех трех основных категорий. [0149] Стоит отметить, что рекомендуемый контент может подбираться как из основных категорий, так и из неосновных категорий ("Все остальные категории"), основных категорий, а также из неосновных категорий. Количество подобранного рекомендуемого контента может варьироваться и быть разбито между первой основной категорией, второй основной категорией и вторичными (неосновными) категориями, а также могут быть разбиты между группой из основных категорий и группой из вторичных категорий. Так, например, 80 процентов рекомендованного контента может быть подобрано (и порекомендовано пользователю) из основных категорий, а 20 процентов рекомендованного контента может быть взято и показано пользователю из вторичных категорий. Также, стоит отметить, что тип рекомендуемого контента из вторичных категорий может варьироваться от пользователя к пользователю одного архетипа, поскольку вторичные коллекции у пользователей могут отличаться. Как было описано выше, действия пользователя отслеживаются на портале, и, если пользователь портала начинает уделять намного больше внимания контенту одной или нескольких вторичных категорий (т.е. пользователь связывает себя с одной из категорий, не содержащихся в основных категориях его архетипа), и веса таких вторичных категорий превысят веса основных категорий, то архетип пользователя может быть изменен/уточнен. [0150] Стоит также отметить, что вторичные категории также могут быть упорядочены/ранжированы с целью отображения пользователю подобранного рекомендованного контента сначала из более популярных вторичных/неосновных категорий, а потом из менее популярных. Контент из вторичных категорий может подбираться и быть рекомендован/отображен пользователю случайным образом без учета весов вторичных категорий. [0151] Также стоит отметить, что, если у основных категорий будут проставлены другие веса, но порядок их расположения по весам не изменится (т.е. последовательность категорий после упорядочивания в архетипах одинакова, но процентная заинтересованность пользователя различна по каждой из основных категорий), т.е. у основной категории "Дорогие автомобили" вес будет равен 34, у "Покупка/продажа авто" - 15, у "Купить/продать" - 11, а у всех остальных категорий общий вес будет равен 40, но вес каждой из остальных категорий не превышает 11, то, таким образом, порядок расположения основных категорий по "интересности" для пользователя сохранится и данный набор категорий (не учитывая веса категорий из дополнительных/неосновных категорий) будет соответствовать указанному выше архетипу "Архетип-Номер-1". [0152] Если в процессе создания архетипа пользователя будет выявлено, что его архетип соответствует архетипу "Архетип-Номер-1", но веса основных категорий распределены иначе, то пользователю будет назначен архетип "Архетип-Номер-1", т.е. его архетип будет приравнен архетипу "Архетип-Номер-1". [0153] Если в процессе корректировки/изменения архетипа пользователя (например, в зависимости от действий пользователя или каких-то событий, связанных с функционированием портала или действиями других пользователей и т.д.) выясняется, что новый архетип пользователя соответствует архетипу "Архетип-Номер-1", то пользователь будет переведен из текущего архетипа, например, архетипа "Архетип-Номер-345", в архетип "Архетип-Номер-1", т.е. пользователю будет назначен архетип "Архетип-Номер-1" вместо архетипа "Архетип-Номер-345", как, например, показано на ФИГ. 4 (430). [0154] Стоит отметить, что архетипы пользователей, сохраненные, например, в базе данных на устройстве хранения ресурса, в которых не осталось ни одного пользователя (т.е. архетип пользователя не принадлежит больше ни одному пользователю) могут быть удалены из базы данных архетипов пользователей, чтобы не хранить в базе данных таких «пустых архетипов пользователей». [0155] Стоит также отметить, что записи в базе данных, соответствующие «пустым архетипам пользователей» могут не удаляться из базы данных архетипов пользователей, а могут продолжать храниться в базе данных, например, до того момента, как не появится пользователь с таким архетипом пользователя, но не учитываться и не использоваться описываемой в рамках настоящего изобретения системой для подбора и отображения контента пользователю. В этом случае, такой «пустой архетип пользователя» перестает быть «пустым» и будет назначен пользователю с соответствующим архетипом пользователя вместо создания нового архетипа пользователя, как было бы в том случае, если бы такой «пустой архетип пользователя» был бы удален из базы данных архетипов пользователей. [0156] Подбор рекомендуемого контента и его отображение тому или иному пользователю зависит от того, какому архетипу принадлежит пользователь, так, например, пользователю, принадлежащему архетипу (которому назначен архетип) "Архетип-Номер-1" будет рекомендоваться контент пользователей, принадлежащих архетипу "Архетип-Номер-1", а пользователю с архетипом, например, "Архетип-Номер-33" будет рекомендован (подобран и отображен) контент пользователей с архетипом "Архетип-Номер-33" и т.д. [0157] Стоит отметить, что если архетип пользователя еще не сформирован (например, архетип пользователя не содержит ни одной категории либо содержит количество категорий меньшее, чем определенное на ресурсе, например, модератором ресурса), то такому пользователю может быть назначен, как минимум, один архетип пользователя, существующих в системе, описываемой в настоящем изобретении. Пользователю может быть подобран и отображен контент на основе категорий, содержащихся в таком как минимум одном временно присвоенном пользователю архетипу и/или контент, подобранный на основе данных, собранных на данный момент о пользователе, включая определенные/установленные модератором или средствами ресурса для пользователя категории, данные пользователя, введенные пользователем при регистрации на ресурсе, либо собранные в процессе взаимодействия пользователем с ресурсом и контентом ресурса. [0158] Таким образом, пользователю может соответствовать (может быть назначено) несколько архетипов пользователей. Стоит также отметить, что для пользователя может быть сформирован виртуальный архетип, состоящий, например, из категорий, занимающих первые позиции в нескольких архетипах, назначенных пользователю, а также может включать уже определенные/подобранные для пользователя категории, как было описано ранее. [0159] Заинтересованность пользователя в той или иной категории объектов/элементов контента портала, в частности, характеризуется, как было сказано, весами. Веса для каждой категории контента рассчитываются в зависимости от того, какое действие совершает пользователь (как пользователь взаимодействует с порталом, контентом портала и т.д.,), так одно из действий может иметь большее значение/влияние для определения веса категории (вес действия), чем другое, например, сохранение элемента/объекта контента из категории может оказывать влияние с весом действия (вес события) равным 0.1, в то время, как просмотр этого же элемента/объекта контента из этой же категории может влияние с весом действия в 0.05, также "подписка" на пользователя/контент пользователя будет иметь вес действия в 0.2, а "лайк", оценка пользователем элемента контента пользователя, - вес действия в 0.15. [0160] Ниже приведена таблица расчета весов для действий/взаимодействия пользователя с контентом в примерных категориях контента («Автомобили», «Спорт» и «Еда»): [0161] Каждому действию пользователя (например, взаимодействию с контентом ресурса) модератором ресурса выставляется свой вес, например, от 0 до 1 (хотя вес может быть выставлен в любом диапазоне целых или дробных чисел). В ходе анализа действий пользователя подсчитывается количество тех или иных действий пользователя с категориями пользователей, после чего вычисляется вес действий пользователя для каждого действия каждой категории путем, например, перемножений количества определенного действия с весом, соответствующим данному действию. Далее вычисляется суммарный вес всех действий пользователя для каждой категории, например, посредством суммирования весов действий пользователя для каждой категории ресурса. Так, для приведенных в таблице выше примерных значений суммарный вес действий для категории «Автомобили» равен 10, для категории «Спорт» равен 11.8, для категории «Еда» равен 21.2. Далее суммарные веса всех действий для всех категорий суммируется для получения суммарного количества весов действий пользователя для всех категорий. В данном случае суммарный вес равен 43. С целью выявления веса для каждой категории архетипа (в данном случае для каждой из категорий «Автомобили», «Спорт» и «Еда») вес каждой категории делится на суммарный вес для всех категорий с целью получить вес каждой категории для архетипа. Таким образом вес категории «Автомобиле» в архетипе пользователя будет равен 10/43=0.23, для категории «Еда» - равен 21.2/43=0.49, для категории «Спорт» - равен 11.8/43=0.27. Следовательно, согласно полученным значениям весов для категорий в архетипе, наибольший вес в данном архетипе пользователя имеет категория «Еда» и категория занимает первую позицию в архетипе, наименьший вес имеет категория «Автомобили» и категория занимает последнее третье место в архетипе, а категория «Спорт» занимает второе место среди категорий архетипа, поскольку ее вес больше веса категории «Автомобили» и меньше веса категории «Еда», что отображено ниже: [0162] Как было сказано выше, если архетипа не существует, то он будет создан, даже для одного пользователя. Если архетип уже существует, то в процессе корректировки/уточнения/изменения архетипа он будет приравнен существующему архетипу (в случае корректировки/изменения архетипа), или пользователю будет назначен существующий архетип (в случае, если для пользователя еще не был создан архетип). [0163] Таким образом, архетипы используются для подбора рекомендуемых уникальных элементов/объектов портала (контент/элементы контента) с целью отображения пользователю портала/ресурса отфильтрованного контента, т.е. архетип выступает в роли одного из элементов фильтра контента, который будет показан пользователю. [0164] Еще одним элементом фильтра контента, т.е. фактором, влияющим на подбираемый пользователю контент, являются классы пользователей портала (типы пользователей портала). Пользователей портала можно поделить на классы пользователей (типов пользователей, категорий пользователей), например, на три класса пользователей: 1-ый класс ("хороший пользователь"), 2-ой класс ("средний пользователь") и 3-ий класс ("плохой пользователь"). Стоит отметить, что количество классов может отличаться от реализации изобретения, так, например, пользователи также могут быть разделены (подразделяться) на два, три, четыре и более классов. Подразделение на классы пользователей может осуществляться вручную, например модератором/оператором/редактором портала, либо автоматически с использованием алгоритмов, реализованных вычислительными устройствами. [0165] Классы пользователей могут быть определены/установлены в зависимости от задач/направленности ресурса. Так, например, ресурс может быть направлен на продвижение/рекламу определенного вида товаров, например, автомобилей или парфюмерии и т.д. Стоит отметить, что направленность ресурса не ограничена приведенным выше примером и может быть представлена различными направлениями жизни человека и интересами людей, общества и т.д., в том числе направленность ресурса может определяться доходом пользователей, например, ресурс может быть направлен на пользователей со средним достатком или пользователей с высоким уровнем доходов и т.д. В зависимости от взаимодействия пользователем с контентом ресурса определенной направленности пользователям могут быть назначены различные классы пользователей. [0166] Стоит также отметить, что у ресурса может существовать несколько направленностей ресурса. [0167] Подразделение пользователей на классы (отнесение пользователя к тому или иному классу пользователей) может определяться действиями пользователей на портале, например, типом контента, которым они интересуются, собирают в коллекции, делятся с другими пользователями, загружают на портал и т.д. Так, например, пользователи из первого класса собирают в свои коллекции (элементы/объекты портала), рекомендуют другим пользователям качественный контент, оставят оценки качественному контенту. Пользователи из третьего класса, как правило, интересуются контентом низкого качества, например, контент, мало кому интересный, либо загружают неинтересный контент на портал и т.д. Пользователи из второго класса интересуются как качественным контентом, так и контентом низкого качества или мало кому интересным контентом. Пользователя из третьего класса можно охарактеризовать, как пользователя, который "не умеет советовать", "у которого нет вкуса", который собирает или загружает неинтересный контент либо который делится контентом, который может быть мало кому интересен, кроме него самого. Пользователь из первого класса может быть охарактеризован, например, как пользователь, у которого есть вкус, а пользователь из второго класса представляет собой нечто среднее между пользователем из первого класса и пользователя из второго класса. [0168] Также при оценке класса пользователя (назначении ему класса пользователя), как и при пересмотре/изменении класса пользователя может учитываться/оцениваться (например, модератором/оператором/редактором портала) активность пользователя на портале. Например, может учитываться регулярность и частота посещения портала пользователем за определенный период времени, проявление активности пользователя, количество и тип совершаемым пользователем действий/взаимодействий пользователя с порталом, т.е. пользователь (например, из первого класса), который, например, часто появляется на портале, скорее всего, продолжит и в дальнейшем появляться на портале с такой же регулярностью, а, значит, пользователь заинтересован в появлении на портале, например, с целью сохранения элементов/объектов портала, проставления оценок элементам/объектам портала, и с высокой вероятностью его поведение на портале не изменится либо изменится незначительно. То же касается пользователей из третьего класса и второго класса. [0169] Класс пользователя может быть изменен/пересмотрен на основе анализа поведения пользователя на портале, в частности, путем анализа действий пользователя/взаимодействия пользователя с порталом с контентом других пользователей, с другими пользователями и т.д. [0170] При подборе рекомендованного контента, контент, собранный в коллекции пользователем из третьего класса, обычно не показывается другим пользователям, в частности, пользователям того же архетипа, что и упомянутый пользователь из третьего класса, как и сам пользователь не отображается другим пользователям того же архетипа. [0171] Стоит отметить, что, если пользователю присвоен первый класс пользователя, то с большей долей вероятности, такой пользователь продолжит взаимодействовать с качественным и полезным другим пользователям контентом и т.д., и, как правило, пересмотр класса пользователя из первого класса не требуется, т.е. с большой долей вероятности, пользователь из первого класса всегда останется пользователем из первого класса. Таким образом, регулярное наблюдение за пользователем из первого класса (на предмет выяснения того факта, не стоит ли понизить класс такому пользователю) не требуется, поскольку вероятность того, что пользователь, например, начнет взаимодействовать с некачественным контентом и т.д., крайне мала. [0172] Подобная ситуация характерна и для пользователей из третьего класса, т.е. с большей долей вероятности, пользователь из третьего класса не перейдет в класс выше, т.е. не станет пользователем из третьего или из второго класса. За пользователями из третьего класса также, как правило, не требуется наблюдения с целью изменения его класса, поскольку пользователь из третьего класса с малой вероятностью начнем взаимодействовать с качественным контентом, совершать значимые для портала действия и т.д. [0173] Пользователи из второго класса представляют собой, так называемый, ведомый класс пользователей, т.е. могут взаимодействовать, как с качественным контентом, так и с некачественным контентом. Зачастую, требуется проверять активность (действия пользователя на портале, взаимодействие с элементами/объектами портала и т.д.) такого класса пользователей с целью возможного изменения класса пользователю в сторону повышения его класса или в сторону понижения его класса. [0174] При установлении классов пользователей также может учитываться тип контента, направленность ресурса (направленность контента ресурса) и т.д., с которым взаимодействует пользователь и общей направленностью ресурса, который доминирует на ресурсе или который должен доминировать на ресурсе. Направленность ресурса (направленность контента ресурса/направленность портала/направленность контента портала) может определяться пользователями, например, их интересами, или модератором, например, в зависимости от типа юридических лиц и типа товаров и услуг, которые они продвигают/рекламируют. Таким образом, в какой-то момент времени, если произойдет смена направленности контента на ресурсе (направленности ресурса), все классы пользователей (для всех пользователей или для каждого отдельно взятого класса, или группы пользователей) могут быть пересмотрены/уточнены/изменены в зависимости от того, какой контент/тип контента доминирует или должен доминировать на портале, например, в зависимости от направленности портала/ресурса. Так, например, при изменении направленности ресурса или добавлении направления ресурса к существующим направлениям ресурса, пользователи из второго класса могут быть повышены до пользователей первого класса или могут быть понижены до пользователей третьего класса и т.д. [0175] Как было сказано выше, при определении класса/категории/типа пользователя учитывается не только контент, с которым взаимодействует пользователь (выделяет, обращает внимание на такой контент), но и учитывается частота появления пользователя на ресурсе или частота таких обращений пользователя к контенту. Например, пользователь может выделять/обращать на контент внимание (лайкать (от англ. «Like»), репостить (от англ. «Repost») и т.д.) интересный для других пользователей и компаний контент, качественный контент, но может делать это всего раз в месяц или квартал, или год, такому пользователю, скорее всего не будет присвоен первый класс/тип пользователя (первая категория пользователей), поскольку, если на такого пользователя подпишется другой пользователь, то такому другому пользователю крайне редко будет приходить контент от первого пользователя. Так, пользователь может загрузить изначально 10-20 фотографий, статей, сделать несколько качественных репостов (размещений контента других пользователей в своих коллекциях) и т.д., но потом перестал совершать такие действия, в этом случае другой пользователь, что подписался на такого малоактивного пользователя, длительное время или никогда больше не увидит контента, на который обратил внимание такой малоактивный пользователь. Таким образом, подписавшийся пользователь не будет получать новый или обновленный контент от малоактивного пользователя, на которого он подписался. [0176] Управление изменением классов пользователя (ремодерацией классов пользователей) может осуществляться посредством триггеров, сообщающих системе (средству/модулю), отвечающей за пересмотр классов пользователей, или администратору ресурса, модератору/редактору портала. Такие триггеры могут отправлять системные сообщения или сообщения модератору о необходимости пересмотреть класс пользователя, о необходимости проверить класс пользователя или о необходимости уточнить класс пользователя и проверить его поведение на портале, включая активность пользователя, взаимодействие с контентом портала и т.д. [0177] К таким триггерам можно отнести длительное отсутствие пользователя на портале, отсутствие активности (например, мало сохраняет элементов/объектов контента портала в свои коллекции, мало загружает контента и т.д.), повышенная активность/спам (слишком часто сохраняет контент в свои коллекции, слишком часто делится контентом с другими пользователями, пишет слишком много комментариев к контенту других пользователей, например, по сравнению с другими пользователями, по сравнению с его предыдущей активностью и т.д.). Так, например, пользователь мог изначально сохранить (загрузить, провзаимодействовать с и т.д.) несколько качественных элементов/объектов контента, а затем начать сохранять некачественный контент, в этом случае сработает триггер на уточнение класса пользователя, после чего его класс будет оставлен без изменений, либо, в данном случае, понижен. [0178] В зависимости от направленности ресурса, триггеры могут быть настроены соответствующим образом, т.е., например, срабатывать на взаимодействие пользователя с контентом, совпадающим с направленностью ресурсов, либо взаимодействие с контентом, не совпадающим с направленностью ресурса. [0179] Таким образом, при ремодерации (повторной модерации) класса пользователя учитывается множество факторов, в частности количество загрузок/сохранений контента пользователем, дата последнего посещения портала и т.д., включая другую активность пользователя на портале с учетом возможности сбора и обработки накопленных данных о поведении пользователя на портале. [0180] Как было сказано выше, пользователям портала подбирается и отображается рекомендуемый уникальный контент (элементы/объекты портала), в частности, уникальный контент пользователей из первого класса. [0181] Уникальность рекомендуемого контента может быть установлена путем проверки связей между элементами/объектами контента, путем сверки содержимого элементов/объектов портала, включать распознавание изображений/элементов изображений либо другими способами и средствами, позволяющими установить уникальность контента. Так, например, один и тот же контент, размещенный в коллекции первого пользователя может быть сохранен в коллекциях других пользователей (в частном случае, принадлежащим одному архетипу), так что, в данном случае, связь сохраненных элементов/объектов портала может быть отслежена по связи с контентом, размещенном в коллекции первого пользователя. [0182] Стоит отметить, что при размещении контента на портале, например, при загрузке контента на портал компанией/магазином либо любым другим пользователем портала, как правило, используется ссылка на внешние источники данных, например, ссылка из сети Интернет (либо с локальных ресурсов пользователя, сетевых и облачных хранилищ данных и т.д.) на изображение, статью, видео-файл, аудио-запись и любой другой вид контента, в данном случае, такая ссылка может быть преобразована во внутреннюю ссылку портала (например, в ссылку на коллекцию магазина/компании, предлагающей свои продукты и/или услуги и т.д.), которая и может быть использована для установления по ней уникальности контента, т.е. любое сохранение, пересохранение (повторное сохранение) контента (репост/перепост), например, в коллекцию пользователя будет ссылаться на контент, размещенный в коллекции магазина/компании. Так, например, два магазина/компании, другого юридического или физического лица (в общем случае - пользователи портала), например, предлагающего (в частности, продающего, рекламирующего и т.д.) свои услуги, товары и т.д. могут использовать в качестве части своего контента (элемента объекта/объекта ресурса) одну и ту же (внешнюю) ссылку (например, "http://сайт-различных картинок-и-изображений.рф/ссылка на изображение") на контент из сети Интернет (например, изображение), в частности, из одного источника, однако для двух магазинов будут созданы две ссылки: на контент (изображение в данном случае) одного магазина и на контент другого магазина, т.е. это будут две разные внутренние ссылки, например, "https://название-портала-рф.рф/магазин1/коллекция1/изображение1.png" и "https://название-портала-рф.рф/магазин2/коллекция1/изображение1.png". У одного и того же контента или части контента, используемого различными пользователями (в описываемом здесь случае - магазинами/компаниями) могут иметь место разные описания, а также такой контент может быть размещен магазинами в своих коллекциях магазинами с разным контекстом. Так, например, один и тот же товар может иметь одинаковое описание (или отличающееся описание: частично или полностью), но относиться к различным датам, событиям, личностям, магазинам, областям применения и т.д. Например, контент (в частности товар двух магазинов) «Пена для бритья» с изображением или без него может иметь, описание, связанное с новогодними праздниками: «Что подарить мужчине на новый год?», «В новый год - с нашей пеной для бритья и т.д., а может иметь описание, связанное с праздником дня всех влюбленных: «Что подарить любимому мужчине?», «Отличный подарок на день всех влюбленных» и т.д. Либо описание может совпадать, но хеш-теги у данных двух контентов могут отличаться, например, «#НовыйГод» и «ДеньВсехВлюбленных», либо разница в контексте может быть выражена любым другим способом, в том числе, посредством добавления к изображению первого контента и второго контента различных изобразительных элементов, например, изображения елки, бантика, сердечка и т.д. В данном случае контекст у обоих элементов ресурса (контента) будет отличаться. [0183] Стоит также отметить, что контекст контента может определяться на основе коллекции, в которую он был добавлен пользователем, а также подписью к такому контенту, например, при сохранении в коллекцию (или при сохранении одного и того же контента в коллекции/паки пользователей с одинаковыми названиями) с различными подписями, комментариями пользователей либо контекст может зависеть от комментария пользователя при отправке такого контента другому пользователю, например, «Стоит купить?» и «Мне нравится» будут определять разный контекст для одного и того же контента. [0184] На ФИГ. 3 показан примерный процесс формирования архетипа пользователя. [0185] После регистрации пользователя на ресурсе в шаге 310 указанные пользователем данные 315 при регистрации сохраняются в хранилище данных, например, в базу данных жесткого диска ресурса или связанного с ним устройства хранения данных, например, сетевой жесткий диск. Стоит отметить, что помимо указанных пользователем данных, могут сохраняться любые другие данные, доступные о пользователе (как было описано выше), например, из социальных сетей, приложений обмена сообщениями, сообщениях электронной почты, данные из обмена информацией на ресурсе, из веб-браузера пользователя и т.д. Далее в шаге 320 на ресурсе производится описанный выше анализ поведения/действия пользователя на ресурсе, результаты которого сохраняются в виде данных о действиях пользователей 325 в хранилище данных, например, в базу данных, расположенную на жестком диске ресурса или на связанное с ресурсом устройство хранения данных, причем данные о действиях пользователя могут храниться вместе с данными пользователя 315 и/или в хранилище данных, в которой хранятся архетипы пользователей 375 и/или в хранилище контента ресурса 385, в которой, например, в одной и той же базе данных или в одном и том же хранилище данных либо в разных базах данных одного и того же хранилища данных. [0186] В шаге 330 производится формирование архетипа пользователя (создание нового архетипа или подбор/выбор одного из существующих архетипов пользователей) (подбор). В шаге 340 проверяется, достаточно ли собранных данных (данных 315 и/или данных 325) о пользователе для определения первой из возможных категорий пользователя, если да, то процесс переходит к шагу 350, в котором, если количество категорий установлено для пользователей больше одной категории (как было описано выше), производится проверка достаточности собранных данных о пользователе для формирования второй категории для пользователя (пользовательской категории). Если в шаге 340 было установлено, что собранных данных о пользователе и/или его действиях/взаимодействиях с ресурсом, недостаточно для определения первой категории пользователя, то процесс переходит к шагу 365, в котором пользователю подбирается и отображается контент ресурса 385 на основании собранных о нем данных, например, из архетипов других пользователей (других пользовательских архетипов) или из любого контента ресурса, например, если на ресурсе не содержится ни одного архетипа, либо если не существует близких архетипов пользователей с категориями, из которых выбирается рекомендуемый контент ресурса. После шага 365 процесс возвращается к шагу 320. [0187] Если в шаге 350 было установлено, что собранных данных недостаточно для формирования/определения второй категории архетипа, то процесс переходит к шагу 365. [0188] Процесс проверки достаточности данных, собранных о пользователе и его действиях на ресурсе повторяется, реализуемый шагами типа 340 и 350, выполняется до тех пор, пока не будет установлено (в шаге 370), что собрано достаточное количество данных для формирования всех категорий, количество которых определено в архетипе, например, модератором ресурса, либо алгоритмом, как описано выше, либо при изменении количества категорий в архетипах и т.д. [0189] Если в шаге 370 установлено, что данных, собранных о пользователе и его действиях достаточно для формирования всех категорий архетипа, а следовательно, и для создания нового архетипа или назначения пользователю существующего на ресурсе архетипа, то процесс переходит к шагу 370, в котором формируется новый архетип пользователя или пользователь присваивается существующему архетипу пользователя. Если создается новый архетип пользователя, то он сохраняется в хранилище данных 375 (например, представленному базой данных на устройстве хранения типа жесткого диска вычислительного устройства/сервера, сетевого хранилища данных и т.д.), например, хранилище архетипов пользователей либо в хранилище данных пользователя 315 или в хранилище данных о действиях пользователей 325. [0190] Если в шаге 360 установлено, что собранных данных о пользователе и его действиях недостаточно для формирования всех категорий пользователя и выявления для пользователя архетипа, то процесс переходит к шагу 365. [0191] После шага 370 процесс переходит к шагу 380, в котором осуществляется подбор и рекомендация (отображение) подобранного контента ресурса 385 пользователю из категорий архетипа пользователя и, опционально, на основе данных о действиях пользователя 325 и данных пользователя 315, после чего процесс возвращается к шагу 320. [0192] На ФИГ. 4 показана схема соответствия архетипов пользователям (соответствия пользователей архетипам) и смена архетипа пользователя в процессе корректировки архетипа пользователя. [0193] Как было сказано выше, архетипы пользователей 410 создаются даже в том случае, если такой архетип был обнаружен, у одного пользователя. Как правило, когда пользователей на портале немного, например, портал был запущен недавно, заметен рост количества архетипов, но по прошествии определенного времени, количество создаваемых архетипов снижается, поскольку пользователи 420 (новые пользователи, пользователи с изменившимся архетипом и т.д.) добавляются к существующим архетипам, т.е. пользователям назначается один из существующих архетипов. [0194] Когда у пользователя (в данном случае "Пользователь 9") изменяется архетип, как описано выше, он переходит из одного архетипа пользователя ("Архетип 3") в другой архетип пользователя ("Архетип 2"), что продемонстрировано переходом 430. [0195] В какой-то момент времени количество архетипов становится устойчивым, т.е. количество добавляемых в систему новых архетипов становится мало, по сравнению, с общим существующим количеством архетипов (ранее добавленных в систему), либо архетипы совсем перестают создаваться. [0196] На ФИГ. 5 изображен примерный вариант системы, реализующей настоящее изобретение. Система включает модуль/средство сбора хранения и обработки данных 510. Данные, собираемые, хранимые и обрабатываемые Модулем 510, как было сказано выше, можно разделить на несколько типов типа/вида данных: на данные (520), собранные/полученные при регистрации пользователя на ресурсе данные, предоставляемые ресурсу устройством пользователя, операционной системой пользователя, приложениями пользователей, веб-браузерами пользователей, включая файлы Cookies, геолокационные данные, тип устройства пользователя, тип ОС и т.д. и на данные (530), связанные с действиями пользователя при том или ином взаимодействии пользователя с ресурсом и т.д. [0197] Стоит также отметить, что собираемые и обрабатываемые данные, указанные выше, не ограничены лишь упомянутыми видами/типами данных, но могут включать время нахождения пользователя на ресурсе, время взаимодействия пользователя с контентом, частота посещения пользователем ресурса, взаимодействие пользователя с другими пользователями ресурса, количество сохраненного контента ресурса в коллекциях пользователей. [0198] Также стоит отметить, что первичные данные пользователя (относящиеся к пользователю и полученные в ходе регистрации пользователя на ресурсе), данные, связанные с действиями пользователей и возможные другие типы/виды данных могут храниться в одной базе данных или в нескольких базах данных, например, разделенных по типу данных (начальные данные пользователей, данные связанные с действиями пользователей), либо разделенных по пользователям, классам пользователей (как будет описано выше), по архетипам пользователей (архетипам, подобранным/назначенным/подходящим пользователям) и т.д. [0199] Система, изображенная на ФИГ. 5 также включает Модуль/средство анализа данных (550), относящихся к пользователям ресурса (связанных с пользователями ресурса), и данных, относящихся к действиям пользователя/взаимодействию пользователя с ресурсом (в частности, контентом ресурса) или другими пользователями и контентом пользователей, например, загруженным пользователями контентом, как будет описано ниже. [0200] Система на ФИГ. 5 также включает Модуль/средство (560) формирования, подбора и корректировки архетипов пользователей, а также Модуль/средство (570) формирования, подбора и корректировки типов/классов пользователей. Модуль/средство 560 отвечает за создание/формирование архетипа пользователя, соотношение архетипа пользователя с конкретным пользователем или группой пользователей и за назначение пользователей определенному архетипу пользователя. Модуль/средство 570 отвечает за создание/формирование и корректировку/обновление типа/класса пользователя/пользователей. [0201] Система на ФИГ. 5 включает Модуль/средство (580) подбора рекомендуемого контента пользователям, который отвечает за поиск контента, соответствующий конкретному архетипу пользователя, после чего подобранный контент отображается пользователям посредством модуля 590, например, в окне отображения контента пользователям (100 на ФИГ. 1). [0202] На ФИГ. 6 показан пример компьютерной системы общего назначения, которая включает в себя многоцелевое вычислительное устройство в виде компьютера 20 или сервера, включающего в себя процессор 21, системную память 22 и системную шину 23, которая связывает различные системные компоненты, включая системную память с процессором 21. [0203] Системная шина 23 может быть любого из различных типов структур шин, включающих шину памяти или контроллер памяти, периферийную шину и локальную шину, использующую любую из множества архитектур шин. Системная память включает постоянное запоминающее устройство (ПЗУ) 24 и оперативное запоминающее устройство (ОЗУ) 25. В ПЗУ 24 хранится базовая система ввода/вывода 26 (БИОС), состоящая из основных подпрограмм, которые помогают обмениваться информацией между элементами внутри компьютера 20, например, в момент запуска. [0204] Компьютер 20 также может включать в себя накопитель 27 на жестком диске для чтения с и записи на жесткий диск, не показан, накопитель 28 на магнитных дисках для чтения с или записи на съемный магнитный диск 29, и накопитель 30 на оптическом диске для чтения с или записи на съемный оптический диск 31 такой, как компакт-диск, цифровой видео-диск и другие оптические средства. Накопитель 27 на жестком диске, накопитель 28 на магнитных дисках и накопитель 30 на оптических дисках соединены с системной шиной 23 посредством, соответственно, интерфейса 32 накопителя на жестком диске, интерфейса 33 накопителя на магнитных дисках и интерфейса 34 оптического накопителя. Накопители и их соответствующие читаемые компьютером средства обеспечивают энергонезависимое хранение читаемых компьютером инструкций, структур данных, программных модулей и других данных для компьютера 20. [0205] Хотя описанная здесь типичная конфигурация использует жесткий диск, съемный магнитный диск 29 и съемный оптический диск 31, специалист примет во внимание, что в типичной операционной среде могут также быть использованы другие типы читаемых компьютером средств, которые могут хранить данные, которые доступны с помощью компьютера, такие как магнитные кассеты, карты флеш-памяти, цифровые видеодиски, картриджи Бернулли, оперативные запоминающие устройства (ОЗУ), постоянные запоминающие устройства (ПЗУ) и т.п. [0206] Различные программные модули, включая операционную систему 35, могут быть сохранены на жестком диске, магнитном диске 29, оптическом диске 31, ПЗУ 24 или ОЗУ 25. Компьютер 20 включает в себя файловую систему 36, связанную с операционной системой 35 или включенную в нее, одно или более программное приложение 37, другие программные модули 38 и программные данные 39. Пользователь может вводить команды и информацию в компьютер 20 при помощи устройств ввода, таких как клавиатура 40 и указательное устройство 42. Другие устройства ввода (не показаны) могут включать в себя микрофон, джойстик, геймпад, спутниковую антенну, сканер или любое другое. [0207] Эти и другие устройства ввода соединены с процессором 21 часто посредством интерфейса 46 последовательного порта, который связан с системной шиной, но могут быть соединены посредством других интерфейсов, таких как параллельный порт, игровой порт или универсальная последовательная шина (УПШ). Монитор 47 или другой тип устройства визуального отображения также соединен с системной шиной 23 посредством интерфейса, например видеоадаптера 48. В дополнение к монитору 47, персональные компьютеры обычно включают в себя другие периферийные устройства вывода (не показано), такие как динамики и принтеры. [0208] Компьютер 20 может работать в сетевом окружении посредством логических соединений к одному или нескольким удаленным компьютерам 49. Удаленный компьютер (или компьютеры) 49 может представлять собой другой компьютер, сервер, роутер, сетевой ПК, пиринговое устройство или другой узел единой сети, а также обычно включает в себя большинство или все элементы, описанные выше, в отношении компьютера 20, хотя показано только устройство хранения информации 50. Логические соединения включают в себя локальную сеть (ЛВС) 51 и глобальную компьютерную сеть (ГКС) 52. Такие сетевые окружения обычно распространены в учреждениях, корпоративных компьютерных сетях, Интранете и Интернете. [0209] Компьютер 20, используемый в сетевом окружении ЛВС, соединяется с локальной сетью 51 посредством сетевого интерфейса или адаптера 53. Компьютер 20, используемый в сетевом окружении ГКС, обычно использует модем 54 или другие средства для установления связи с глобальной компьютерной сетью 52, такой как Интернет. [0210] Модем 54, который может быть внутренним или внешним, соединен с системной шиной 23 посредством интерфейса 46 последовательного порта. В сетевом окружении программные модули или их части, описанные применительно к компьютеру 20, могут храниться на удаленном устройстве хранения информации. Надо принять во внимание, что показанные сетевые соединения являются типичными, и для установления коммуникационной связи между компьютерами могут быть использованы другие средства. [0211] В заключение следует отметить, что приведенные в описании сведения являются примерами, которые не ограничивают объем настоящего изобретения, описанного формулой. Специалисту в данной области становится понятным, что могут существовать и другие варианты осуществления настоящего изобретения, согласующиеся с сущностью и объемом настоящего изобретения.
