патент
№ RU 2598599
МПК H04W12/00

УПРАВЛЯЮЩАЯ СИСТЕМА БЕЗОПАСНОСТИ АТОМНОЙ ЭЛЕКТРОСТАНЦИИ

Авторы:
Тимохин Дмитрий Сергеевич Нариц Александр Дмитриевич Гриценко Станислав Юрьевич
Все (9)
Номер заявки
2015125046/08
Дата подачи заявки
25.06.2015
Опубликовано
27.09.2016
Страна
RU
Как управлять
интеллектуальной собственностью
Чертежи 
8
Реферат

Изобретение относится к системам автоматизированного контроля и управления атомными станциями (АЭС) при построении управляющих систем безопасности (УСБ) АЭС. Техническим результатом является повышение надежности системы безопасности и защита от отказов, расширение диагностических возможностей УСБ, а также сокращение времени восстановления и повышение готовности УСБ. Система содержит множество идентичных каналов безопасности, каждый канал включает станции ввода-вывода сигналов технологического процесса СВВ, станции приоритетного управления исполнительными механизмами СПУ, соединенные с блочным резервным пунктом, а также контроллер автоматизации средств безопасности КА СБ. Станция СВВ содержит модули связи с технологическим процессом МСПи коммуникационный модуль-преобразователь интерфейсов коммуникаций ПИК шины ШВВ СБ. Станция СПУ содержит модули приоритетного управления исполнительными механизмами МПУи коммуникационные модули: модуль коммуникации голосования МКГ и модуль голосования МГ шины ШВВ СБ. Каждый канал безопасности дополнительно содержит контроллеры автоматизации нормальной эксплуатации KA, которые соединены со станциями CBB, станциями СПУпо резервированным шинам ENL нормальной эксплуатации, построенным на базе коммутируемого интерфейса Ethernet, радиальной структуры соединения сетевых коммутаторов и специального коммуникационного протокола уровня данных, и с системой нормальной эксплуатации по резервированной шине EN нормальной эксплуатации. 4 з.п. ф-лы, 8 ил.

Формула изобретения

1. Управляющая система безопасности атомной электростанции, содержащая множество идентичных каналов безопасности, каждый канал включает станции ввода-вывода сигналов технологического процесса СВВ1-n, станции приоритетного управления исполнительными механизмами СПУ1-m, которые соединены с блочным пунктом управления БПУ и резервным пунктом управления РПУ, контроллер автоматизации средств безопасности КА СБ, шину ввода-вывода средств безопасности ШВВ СБ обмена данными контроллера КА СБ со станциями СВВ и СПУ, и соединен с другими каналами безопасности с помощью перекрестных дуплексных оптоволоконных связей, отличающаяся тем, что станция СВВ содержит модули связи с технологическим процессом МСП1-k и коммуникационный модуль-преобразователь интерфейсов коммуникаций ПИК шины ШВВ СБ, станция СПУ содержит модули приоритетного управления исполнительными механизмами МПУ1-e и коммуникационные модули: модуль коммуникации голосования МКГ и модуль голосования МГ шины ШВВ СБ, контроллер автоматизации КА СБ содержит процессорный модуль автоматизации средств безопасности ПМА СБ и коммуникационные модули - модули разветвления MP-41-p шины ШВВ СБ, контроллеры автоматизации КА СБ всех каналов безопасности подключены к системе нормальной эксплуатации по резервированной шине EN, построенной на базе коммутируемого интерфейса Ethernet, кольцевой структуры соединения сетевых коммутаторов и коммуникационного протокола уровня данных, каждый канал безопасности дополнительно содержит контроллеры автоматизации нормальной эксплуатации КА1-s, которые соединены со станциями CBB1-n, станциями СПУ1-m по резервированным шинам ENL нормальной эксплуатации, построенным на базе коммутируемого интерфейса Ethernet, радиальной структуры соединения сетевых коммутаторов и коммуникационного протокола уровня данных, и с системой нормальной эксплуатации по резервированной шине EN нормальной эксплуатации, контроллеры автоматизации нормальной эксплуатации КА, встроенные в станции СВВ и СПУ средства связи КА с модулями МСП и МПУ и встроенные в модули МСП и МПУ программно-аппаратные средства нормальной эксплуатации, построены на разных аппаратно-программных платформах, станции СВВ, СПУ, контроллер КА СБ и аппаратура питания и коммуникации системы безопасности содержат встроенные средства самотестирования и самоконтроля, формирующие на выходах двоичные сигналы состояния соответствующей аппаратуры «исправна/неисправна», поступающие в КА НЭ, где сигналы обрабатываются и передаются на верхний уровень управления системы нормальной эксплуатации по шине EN.

2. Управляющая система безопасности атомной электростанции по п. 1, отличающаяся тем, что в станции СВВ коммуникационный модуль ПИК шины ШВВ СБ по отдельным линиям связи ШВВ СБ соединен с контроллером автоматизации КА СБ канала безопасности и с каждым модулем МСП1-k этой станции.

3. Управляющая система безопасности атомной электростанции по п. 2, отличающаяся тем, что каждая станция СВВ содержит два резервированных интерфейсных модуля ИМН нормальной эксплуатации, подключенные к контролеру автоматизации нормальной эксплуатации КА НЭ по резервированной шине ENL, в каждый модуль МСП1-к встроен отдельный процессор нормальной эксплуатации, соединенный с каждым из 2-х модулей ИМН по отдельной линии последовательного дуплексного интерфейса типа "точка-точка" шины нормальной эксплуатации ШВВ НЭ.

4. Управляющая система безопасности атомной электростанции по п. 1, отличающаяся тем, что в каждом канале безопасности станции СПУ объединены в группы по N станций, количество станций СПУ определяется количеством каналов безопасности, первая станция группы СПУ1 по линии связи ШВВ СБ соединена с контроллером КА СБ своего канала безопасности, другие станции СПУ2-N группы соединены с контроллерами КА СБ других каналов безопасности 2-N, коммуникационный модуль МКГ каждой станции СПУ соединен с коммуникационным модулем голосования по мажоритарному правилу «2 из N» МГ своей станции СПУ и коммуникационными модулями МГ других станций СПУ группы, коммуникационный модуль МГ каждой станции СПУ соединен по линиям связи ШВВ СБ с модулями приоритетного управления МПУ1-е.

5. Управляющая система безопасности атомной электростанции по п. 4, отличающаяся тем, что каждая станция СПУ содержит два резервированных интерфейсных модуля ИМН нормальной эксплуатации, подключенных к контроллеру автоматизации нормальной эксплуатации КА НЭ по резервированной шине ENL, в каждый модуль МПУ1-е встроен отдельный процессор нормальной эксплуатации, соединенный с каждым из 2-х модулей ИМН по отдельной линии последовательного дуплексного интерфейса типа "точка-точка" шины нормальной эксплуатации ШВВ НЭ.

Описание

[1]

Изобретение относится к автоматике и вычислительной технике и может быть использовано в системах автоматизированного контроля и управления атомными станциями (АЭС) для построения управляющих систем безопасности (УСБ) АЭС.

[2]

Известна цифровая система защиты атомной станции (патент США №6049578 МПК G21C 7/36, опубл. 11.04.2000, аналог) состоящая из четырех идентичных каналов обработки и управления, обеспечивающих распознавание аварийной ситуации на объекте путем сравнения цифровых значений измеряемых параметров с заданными уставками и выполнения заданных пользователем защитных действий в случае выхода параметров за границы уставок. Каналы безопасности, физически отделенные друг от друга, перекрестно соединены по оптоволоконным линиям связи. Каждый канал состоит из аналоговых и дискретных датчиков, связанных с этим каналом; аналогово-цифровых преобразователей, обеспечивающих на выходе цифровое представление измеряемых аналоговых сигналов; бистабильного процессора; логического процессора соответствия и логического процессора инициирования исполнительных механизмов и средств автоматической защиты реактора. Бистабильный процессор принимает цифровые значения измеренных сигналов собственного канала, преобразует их в технологические параметры, проверяет измеренные параметры на отклонение за установленные границы, формирует по каждому параметру двоичный признак отклонения, передает эти признаки по оптоволоконным линиям в другие каналы обработки и управления. Логический процессор соответствия получает от бистабильного процессора своего канала двоичные признаки отклонения параметров сигналов данного канала и принимает по оптоволоконным линиям от других каналов двоичные признаки отклонения по соответствующим параметрам. По каждому параметру логический процессор соответствия проверяет поступление признаков выхода за допустимые границы 2-х из 4-х каналов. Если процессор соответствия обнаруживает отклонение от допустимых значений параметров по 2-м из 4-х каналов, то логический процессор инициирования формирует необходимые сигналы для остановки реактора и приведения в действие цифровых технических средств безопасности.

[3]

Система защиты имеет следующие недостатки.

[4]

Отсутствует возможность доступа со стороны системы нормальной эксплуатации к датчикам и исполнительным механизмам системы безопасности, что требует дополнительных затрат для мониторинга состояния и управления общим оборудованием АЭС системами нормальной эксплуатации и безопасности. Аппаратура системы защиты не имеет средств самоконтроля с внешним мониторингом его результатов, что затрудняет локализацию неисправностей и увеличивает время восстановления. Каналы безопасности построены на одних и тех же цифровых аппаратных средствах обработки и управления, базовом и системном программном обеспечении. Это может привести к отказам УСБ по общей причине, вызываемых скрытыми неисправностями в программируемой аппаратуре и скрытыми ошибками в базовом и системном программном обеспечении.

[5]

Известна управляющая цифровая система безопасности (УЦСБ) атомной электростанции и способ обеспечения параметров безопасности (патент РФ №2356111, МПК G21C 7/36, публикация 2009 г., прототип) состоящая из трех отдельных идентичных каналов безопасности, выполняющих оценку состояния объекта путем анализа значений параметров, принимаемых с датчиков процесса и формирование управляющих защитных действий при наступлении аварийной ситуации. Физически разделенные каналы безопасности перекрестно связаны друг с другом по оптоволоконным линиям связи. Каждый канал включает устройство ввода входных сигналов, устройство сравнения, устройство формирования управляющих воздействий, устройство выбора блокировок, устройство управления исполнительными механизмами. Устройство ввода осуществляет ввод аналоговых сигналов процесса и преобразование их в цифровую форму. В устройстве сравнения производится сравнение значений считанных параметров с предварительно заданными цифровыми значениями и запуск устройства формирования управляющих сигналов, по которым устройство выбора блокировок инициирует генерацию сигналов управления исполнительными механизмами. Каждое устройство цифровой обработки канала безопасности связано по перекрестным межканальным оптическим линиям с каждым соответствующим устройством в других каналах, образуя 4 уровня межканальных связей и мажоритарного резервирования по правилу "2 из 3-х". Мажоритарная обработка команд управления от 3-х каналов безопасности производится также аппаратно на входах устройств управления исполнительными механизмами ИМ.

[6]

УЦСБ прототипа содержит проводные линии связи устройств управления ИМ каналов безопасности с блочным (БЩУ) и резервным (РЩУ) щитами управления, по которым осуществляется дистанционное управление исполнительными механизмами с БЩУ и РЩУ и передача данных о состоянии этих механизмов в БЩУ и РЩУ.

[7]

Прототип имеет следующие недостатки.

[8]

Отсутствуют аппаратно-программные средства доступа к датчикам и исполнительным устройства со стороны системы нормальной эксплуатации. В связи с этим требуются дополнительные затраты для мониторинга и управления общим оборудованием АЭС системами безопасности и нормальной эксплуатации. Аппаратура системы безопасности не имеет средств самоконтроля с внешним мониторингом результатов самоконтроля, что затрудняет локализацию неисправностей и увеличивает время восстановления. Каналы безопасности построены на одних и тех же цифровых аппаратных средствах обработки и управления, базовом и системном программном обеспечении. Это может привести к отказам УЦСБ по общей причине, вызванных скрытыми неисправностями в программируемой аппаратуре и скрытыми ошибками в базовом и системном программном обеспечении.

[9]

Данное изобретение устраняет указанные недостатки.

[10]

Техническим результатом изобретения является сокращение затрат на мониторинг и автоматическое управление общим оборудованием АЭС со стороны систем безопасности и нормальной эксплуатации за счет встроенных в каналы безопасности средств нормальной эксплуатации, повышение надежности системы безопасности и защита от отказов по общей причине за счет построения средств безопасности и встроенных средств нормальной эксплуатации на разных аппаратно-программных платформах, расширение диагностических возможностей УСБ, за счет выполнения контроллером автоматизации нормальной эксплуатации дополнительных функций по оценке работы каналов безопасности на основе данных о состоянии АЭС, получаемых им от технологического процесса и от контроллеров автоматизации каналов безопасности, расширение диагностических возможностей УСБ за счет встроенных в аппаратуру УСБ средств контроля исправности аппаратуры, формирующих специальные сигналы неисправности, ввода, обработки и передачи их контроллером автоматизации нормальной эксплуатации на верхний уровень управления системы нормальной эксплуатации.

[11]

Технический результат достигается тем, что в управляющей системе безопасности атомной электростанции, содержащей множество идентичных каналов безопасности, каждый канал включает станции ввода-вывода сигналов технологического процесса CBB1-n, станции приоритетного управления исполнительными механизмами СПУ1-m, которые соединены с блочным пунктом управления БПУ и резервным пунктом управления РПУ, контроллер автоматизации средств безопасности КА СБ, шину ввода-вывода средств безопасности ШВВ СБ обмена данными контроллера КА СБ со станциями СВВ и СПУ, и соединен с другими каналами безопасности с помощью перекрестных дуплексных оптоволоконных связей, станция СВВ содержит модули связи с технологическим процессом МСП1-k и коммуникационный модуль - преобразователь интерфейсов коммуникаций ПИК шины ШВВ СБ, станция СПУ содержит модули приоритетного управления исполнительными механизмами МПУ1-e и коммуникационные модули: модуль коммуникации голосования МКГ и модуль голосования МГ шины ШВВ СБ, контроллер автоматизации КА СБ содержит процессорный модуль автоматизации средств безопасности ПМА СБ и коммуникационные модули - модули разветвления МР-41-р шины ШВВ СБ, контроллеры автоматизации КА СБ всех каналов безопасности подключены к системе нормальной эксплуатации по резервированной шине EN, каждый канал безопасности дополнительно содержит контроллеры автоматизации нормальной эксплуатации KA1-s, которые соединены со станциями CBB1-n, станциями СПУ1-m по резервированным шинам ENL нормальной эксплуатации, построенным на базе коммутируемого интерфейса Ethernet, радиальной структуры соединения сетевых коммутаторов и специального коммуникационного протокола уровня данных, и с системой нормальной эксплуатации по резервированной шине EN нормальной эксплуатации, построенной на базе коммутируемого интерфейса Ethernet, кольцевой структуры соединения сетевых коммутаторов и специального коммуникационного протокола уровня данных, контроллеры автоматизации нормальной эксплуатации КА, встроенные в станции СВВ и СПУ средства связи КА с модулями МСП и МПУ и встроенные в модули МСП и МПУ программно-аппаратные средства нормальной эксплуатации построены на разных аппаратно-программных платформах, станции СВВ, СПУ, контроллер КА СБ и аппаратура питания и коммуникации системы безопасности содержат встроенные средства самотестирования и самоконтроля, формирующие на специальных выходах двоичные сигналы состояния соответствующей аппаратуры «исправна/неисправна», поступающие в КА НЭ, где сигналы обрабатываются и передаются на верхний уровень управления системы нормальной эксплуатации по шине EN. В станции СВВ коммуникационный модуль ПИК шины ШВВ СБ по отдельным линиям связи ШВВ СБ соединен с контроллером автоматизации КА СБ канала безопасности и с каждым модулем МСП1-k этой станции. Каждая станция СВВ содержит два резервированных интерфейсных модуля ИМН нормальной эксплуатации, подключенные к контролеру автоматизации нормальной эксплуатации КА НЭ по резервированной шине ENL, в каждый модуль МСП1-к встроен отдельный процессор нормальной эксплуатации, соединенный с каждым из 2-х модулей ИМН по отдельной линии последовательного дуплексного интерфейса типа "точка-точка" шины нормальной эксплуатации ШВВ НЭ. В каждом канале безопасности станции СПУ объединены в группы по N станций, количество станций СПУ определяется количеством каналов безопасности, первая станция группы СПУ1 по линии связи ШВВ СБ соединена с контроллером КА СБ своего канала безопасности, другие станции СПУ2-N группы соединены с контроллерами КА СБ других каналов безопасности 2-N, коммуникационный модуль МКГ каждой станции СПУ соединен с коммуникационным модулем голосования по мажоритарному правилу «2 из N» МГ своей станции СПУ и коммуникационными модулями МГ других станций СПУ группы, коммуникационный модуль МГ каждой станции СПУ соединен по линиям связи ШВВ СБ с модулями приоритетного управления МПУ1-е этой станции. Каждая станция СПУ содержит два резервированных интерфейсных модуля ИМН нормальной эксплуатации, подключенных к контроллеру автоматизации нормальной эксплуатации КА НЭ по резервированной шине ENL, в каждый модуль МПУ1-e встроен отдельный процессор нормальной эксплуатации, соединенный с каждым из 2-х модулей ИМН по отдельной линии последовательного дуплексного интерфейса типа "точка-точка" шины нормальной эксплуатации ШВВ НЭ.

[12]

Встроенные в каналы безопасности дополнительные аппаратные и программные средства нормальной эксплуатации, обеспечивающие доступ к датчикам и исполнительным механизмам УСБ со стороны системы нормальной эксплуатации, снижают затраты на реализацию мониторинга и управления общим оборудованием АЭС.

[13]

Отдельный процессор нормальной эксплуатации, встроенный в модули МСП, выполняет по командам от контроллера автоматизации нормальной эксплуатации КА все функции модуля ввода-вывода системы нормальной эксплуатации при отсутствии аварийной ситуации на АЭС и функции сбора данных технологического процесса о состоянии АЭС и передачи этих данных в контроллер КА нормальной эксплуатации по шинам ШВВ НЭ и ENL.

[14]

Отдельный процессор нормальной эксплуатации, встроенный в модули МПУ, выполняет по командам от контроллера автоматизации нормальной эксплуатации КА и совместно с ним функции автоматического управления исполнительными механизмами в системе нормальной эксплуатации при отсутствии аварийной ситуации на АЭС и функции контроля команд, выдаваемых на ИМ от КА СБ, приема данных о состоянии ИМ, управляемого от КА СБ, и передачи этих данных в контроллер КА нормальной эксплуатации по шинам ШВВ НЭ и ENL для анализа состояния АЭС и каналов безопасности.

[15]

Контроллеры автоматизации нормальной эксплуатации KA1-k выполняют функции нормальной эксплуатации при отсутствии аварийной ситуации на АЭС и функции оценки состояния АЭС на основе технологических параметров, получаемых по шине ENL от станций СВВ, СПУ, и сравнения этого состояния с состоянием АЭС, получаемым от КА СБ каналов безопасности по шине EN. За счет этого контроллеры КА выявляют нарушения функционирования каналов безопасности при их появлении, что обеспечивает минимальное время восстановления работоспособности каналов безопасности и высокую готовность УСБ.

[16]

Подключение контроллеров КА СБ и КА к шине EN нормальной эксплуатации обеспечивает вывод на верхний уровень управления системы нормальной эксплуатации диагностической информации о выполнении функций безопасности и нормальной эксплуатации УСБ и о состоянии аппаратуры, входящей в состав УСБ, что расширяет диагностические возможности по своевременному обнаружению неисправностей и восстановлению УСБ.

[17]

Программно-аппаратные средства нормальной эксплуатации, дополнительно включенные в состав УСБ, построены на базе процессоров, ПЛИС, базовом и системном программном обеспечении, инструментальных средствах разработки, удовлетворяющих требованиям разнообразия по отношению к программно-аппаратным средствам безопасности. Это обеспечивает исключение одновременного отказа по общей причине программно-аппаратных средств безопасности и нормальной эксплуатации УСБ. При отказах каналов безопасности по общей причине контроллеры КА обнаруживает это событие и останавливают АЭС для восстановления работоспособности каналов безопасности.

[18]

Средства самотестирования и самоконтроля аппаратуры УСБ и внешние по отношению к контролируемой аппаратуре УСБ средства мониторинга состояния аппаратуры УСБ, реализованные в контроллере КА, обеспечивают диагностику аппаратуры УСБ с регистрацией на верхнем уровне управления даже в том случае, если сами контролируемые устройства не могут передать соответствующее сообщение о неисправности на верхний уровень из-за отказа или отсутствия у них такой функции. Это расширяет диагностические возможности, сокращает время восстановления и повышает готовность УСБ.

[19]

Сущность изобретения поясняется на фиг. 1-8.

[20]

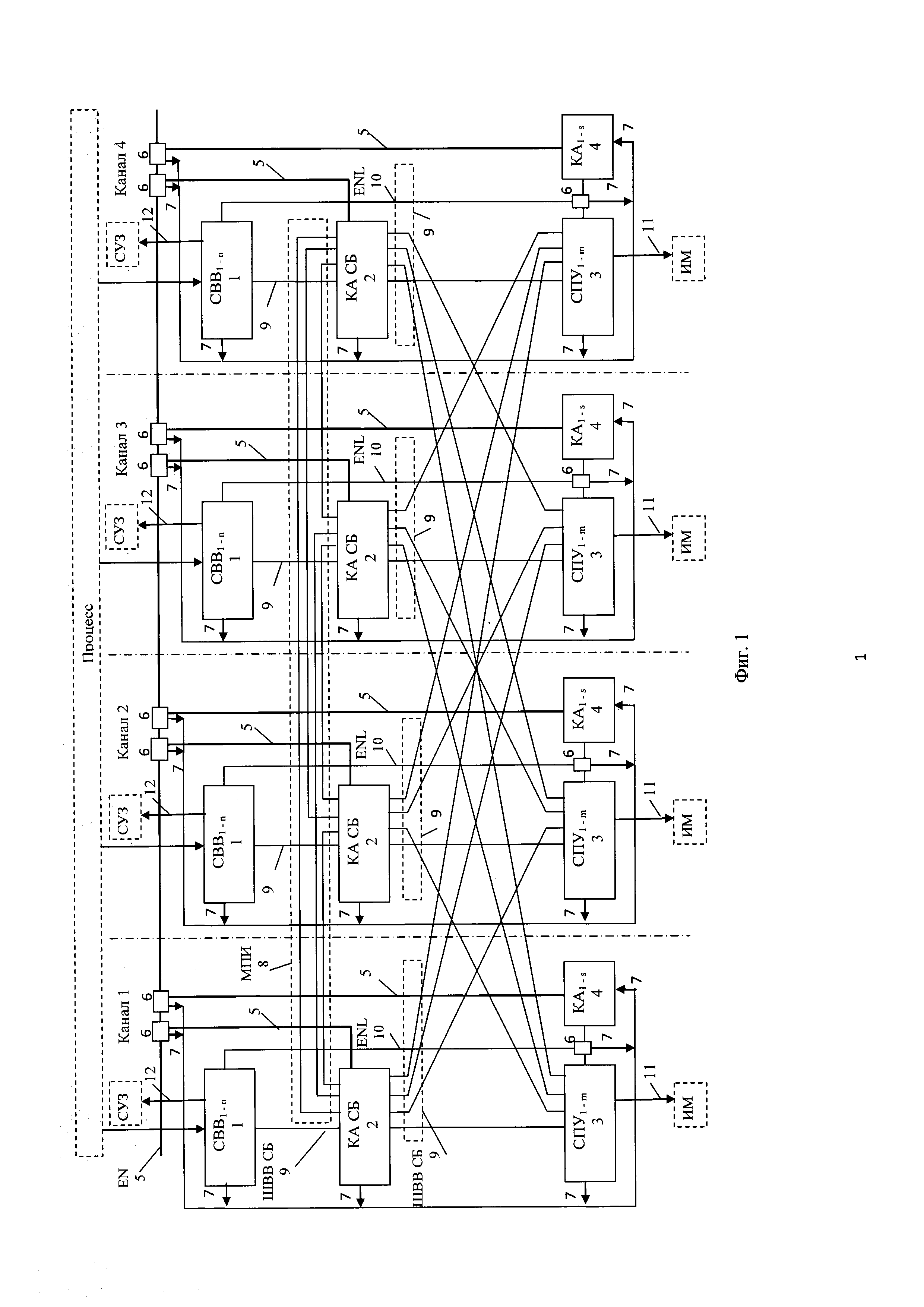
На фиг. 1 и фиг. 2 схематично представлена структура четырехканальной управляющей системы безопасности УСБ, в которой: 1 - станции ввода-вывода CBB1-n, n - количество станций СВВ в одном канале УСБ; 2 - контроллер автоматизации системы безопасности КА СБ; 3 - станции приоритетного управления СПУ1-m, m - количество станций СПУ в одном канале УСБ; 4 - контроллеры автоматизации нормальной эксплуатации KA1-s, s - количество контроллеров в одном канале УСБ; 5 - резервированная шина EN нормальной эксплуатации; 6 - сетевые коммутаторы шин EN и ENL; 7 - двоичные сигналы состояния (исправное/неисправное) аппаратуры каналов УСБ; 8 - межпроцессорный интерфейс МПИ связи контроллеров КА СБ каждого канала безопасности с КА СБ других каналов безопасности; 9 - шина ввода-вывода безопасности ШВВ СБ; 10 - резервированная шина ENL нормальной эксплуатации; 11 - сигналы управления исполнительными механизмами ИМ; 12 - сигналы управления СУЗ; 131 - проводные линии связи станций СПУ каждого канала УСБ с БПУ; 132 - проводные линии связи станций СПУ каждого канала УСБ с РПУ; 141 - шины МПИ1 связи контроллеров КА СБ каждого канала безопасности с БПУ; 142 - шины МПИ2 связи контроллеров КА СБ каждого канала безопасности с РПУ.

[21]

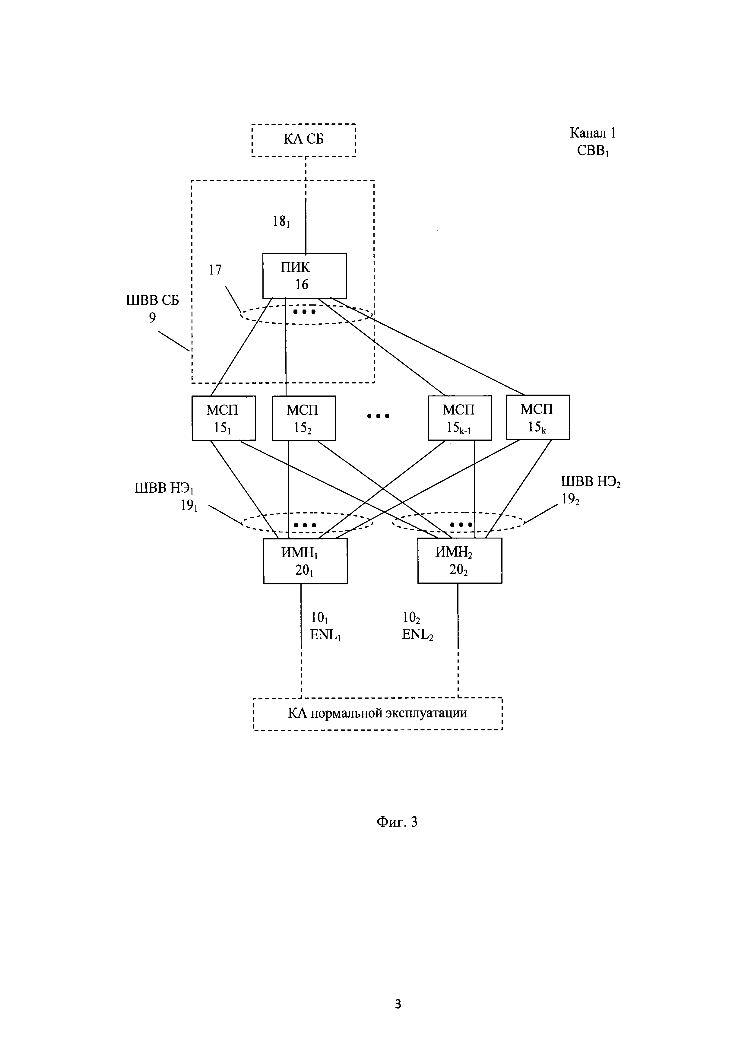
На фиг. 3 представлена структурная схема станции ввода-вывода СВВ (на примере станции CBB1 канала 1), в которой: 9 - фрагмент шины ввода-вывода ШВВ СБ; 10 (101, 102) - резервированная шина ENL (ENL1, ENL2); 151-15k - модули связи с процессом МСП, к - количество модулей МСП в станции СВВ; 16 - коммуникационный модуль ПИК; 17 - линии связи коммуникационного модуля ПИК 16 с модулями МСП 151-15k по шине ШВВ СБ 9; 181 - линия связи модуля ПИК 16 станции CBB1 с контроллером автоматизации КА СБ по шине ШВВ СБ 9; 19 (191, 192) - резервированная шина ввода-вывода нормальной эксплуатации ШВВ НЭ (ШВВ НЭ1, ШВВ НЭ2); 20 (201, 202) - резервированные интерфейсные модули ИМН (ИМН1, ИМН2) сопряжения шины ШВВ НЭ с шиной ENL.

[22]

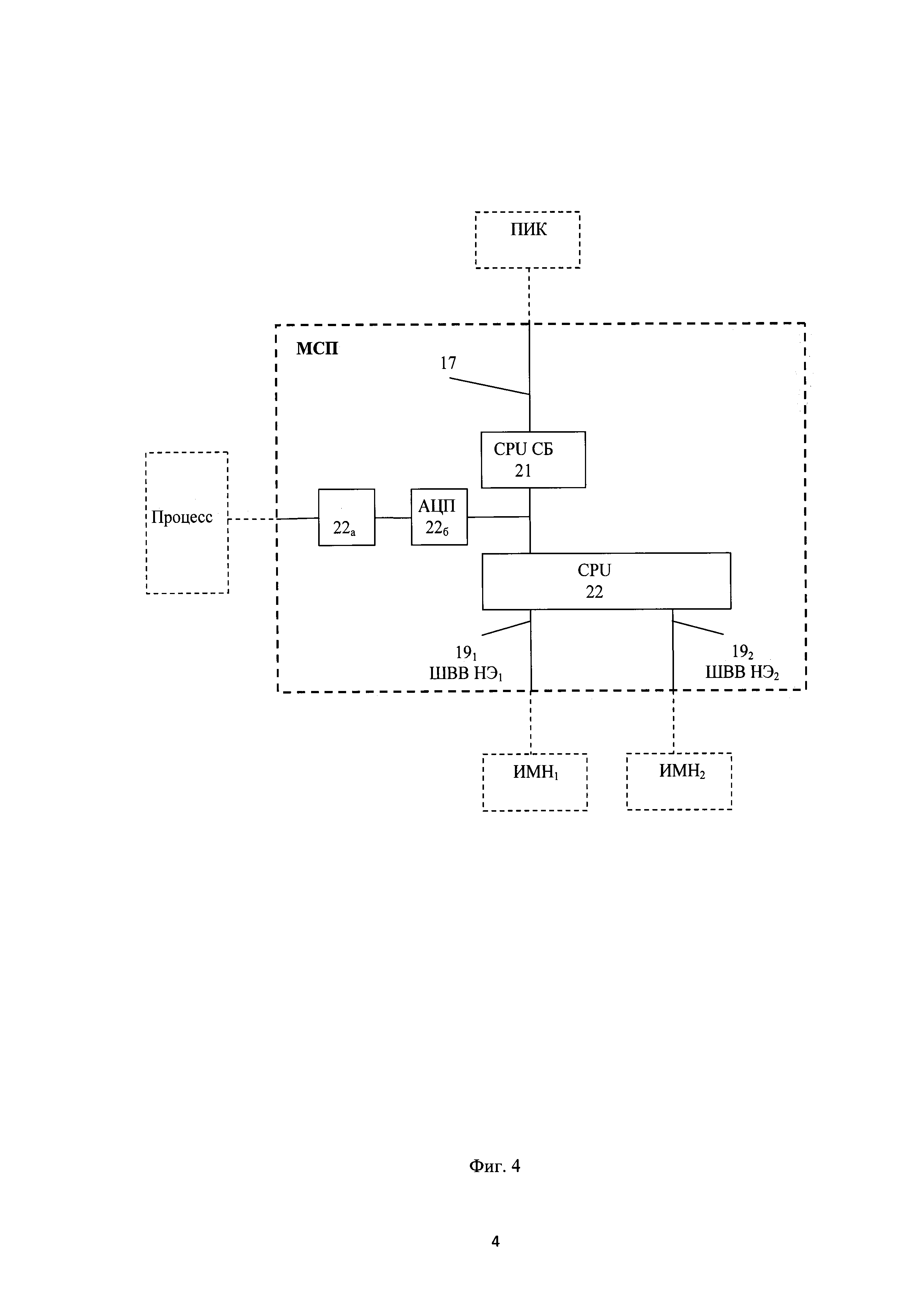
На фиг. 4 показана структурная схема модуля МСП ввода аналоговых сигналов, в которой: 17 - линия связи по шине ШВВ СБ процессора CPU СБ 21 с модулем ПИК; 19 (191, 192) - линии связи процессора CPU 22 нормальной эксплуатации с резервированными модулями ИМН1, ИМН2 по резервированной шине ШВВ НЭ (ШВВ НЭ1, ШВВ НЭ2); 21 - процессор средств безопасности CPU СБ; 22 - процессор CPU нормальной эксплуатации; 22а - входные цепи модуля МСП; 22б - аналого-цифровой преобразователь АЦП.

[23]

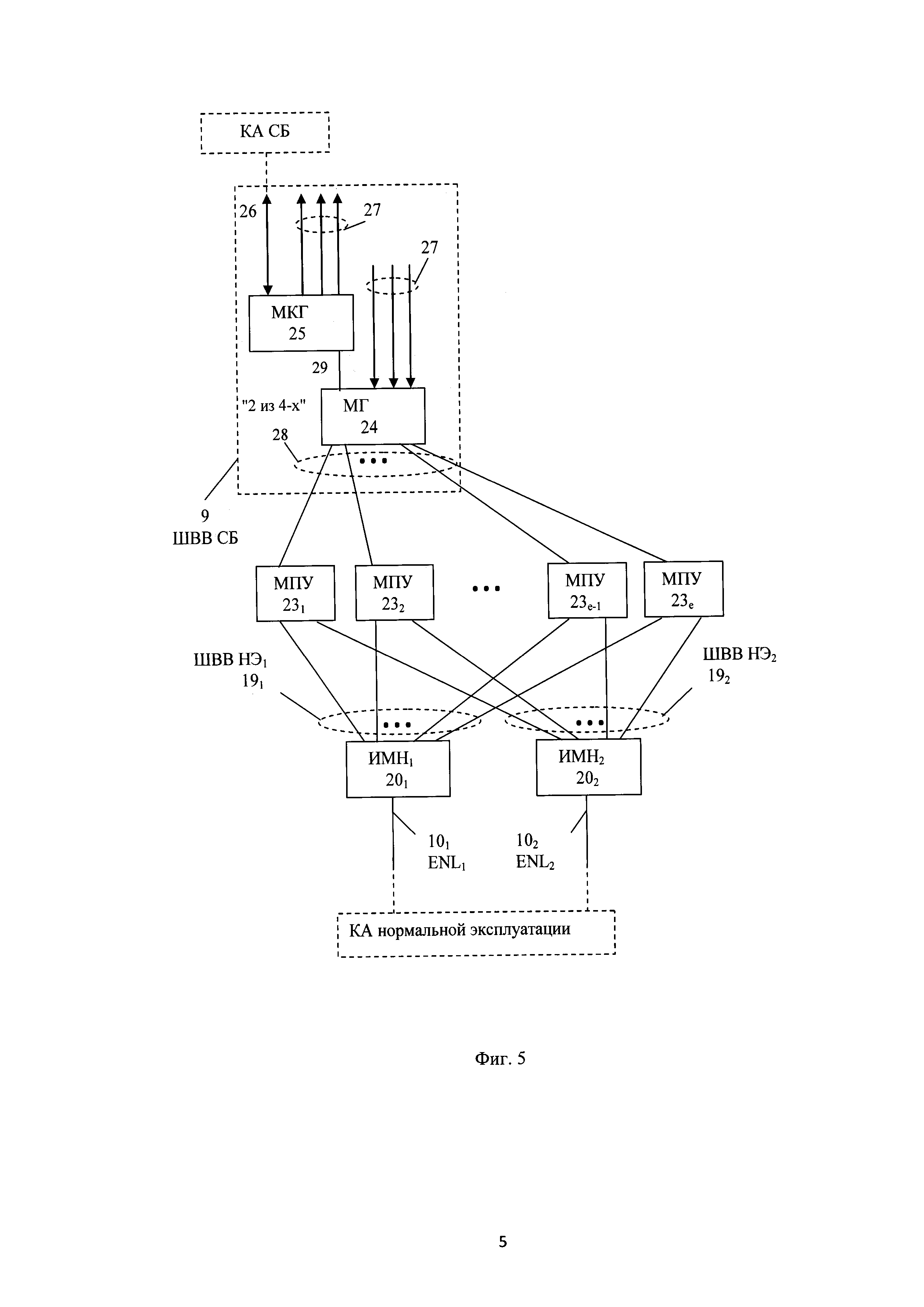
На фиг. 5 представлен вариант структурной схемы станции приоритетного управлениям СПУ (на примере станции СПУ, входящей в группу из 4-х станций связанных с КА СБ каждого из 4-х каналов по одной линии ШВВ СБ), в которой: 9 - фрагмент шины ввода-вывода ШВВ СБ; 10 (101, 102) - резервированная шина ENL (ENL1, ENL2); 19 (191, 192) - резервированная шина ввода-вывода нормальной эксплуатации ШВВ НЭ (ШВВ НЭ1, ШВВ НЭ2); 20 (201, 202) - резервированные интерфейсные модули ИМН (ИМН1, ИМН2) сопряжения шины ШВВ НЭ с шиной ENL; 231-23е - модули приоритетного управления МПУ, е - количество модулей МПУ в станции СПУ; 24 - коммуникационный модуль голосования по правилу "2 из 4-х" МГ; 25 - коммуникационный модуль МКГ; 26 - линия связи МКГ 25 с контроллером КА СБ своего или другого канала безопасности по шине ШВВ СБ 9; 27 - межстанционные линии связи модулей МКГ (МГ) станции СПУ группы станций СПУ1-4 с модулями МГ (МКГ) 3-х других станций группы по шине ШВВ СБ 9; 28 - линии связи модуля МГ 24 по шине ШВВ СБ 9 с модулями МПУ 231-23е, 29 - линия связи модуля МКГ 25 с модулем МГ 24 собственной станции СПУ.

[24]

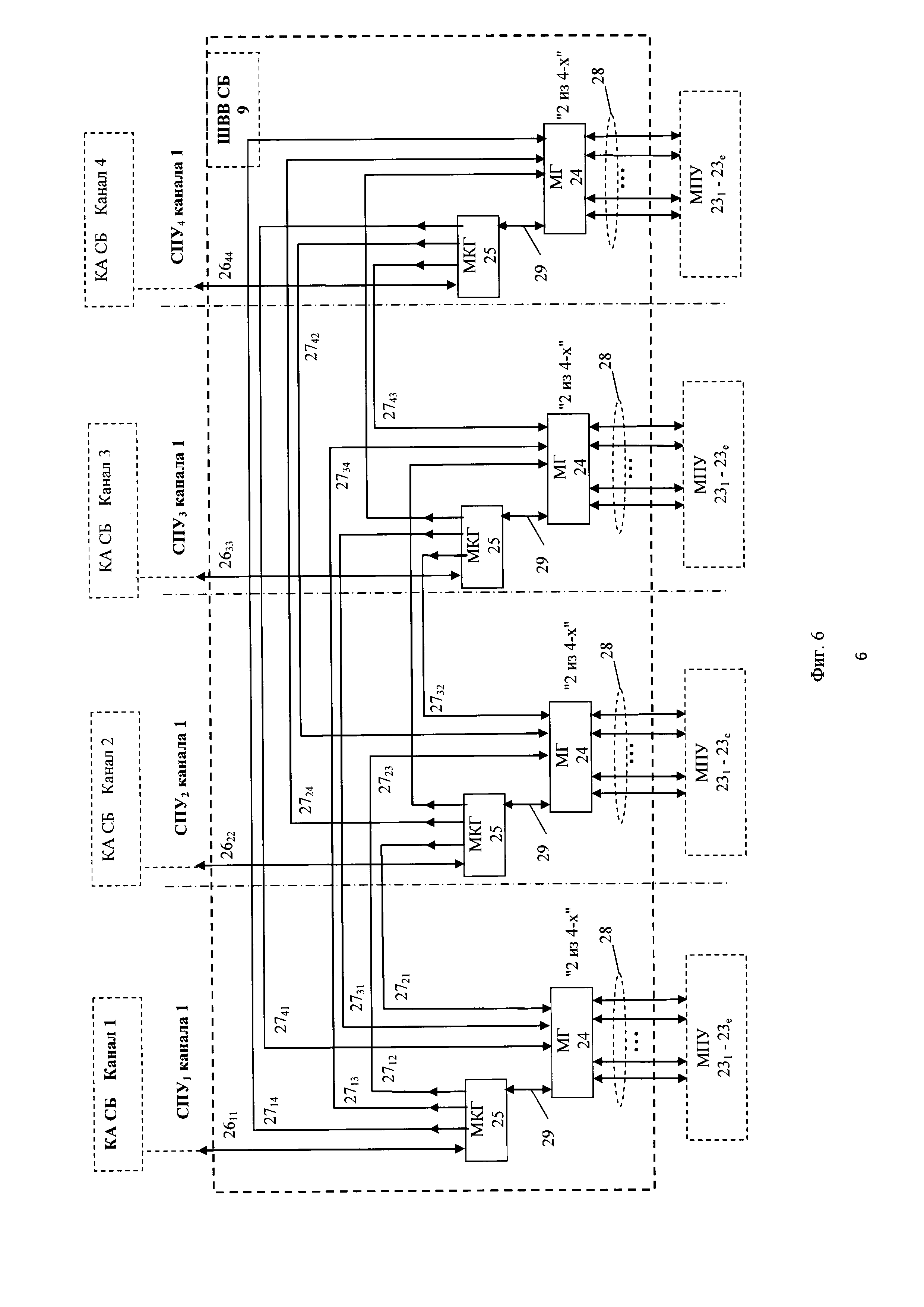
На фиг. 6 показана структура связей по шине ШВВ СБ группы из 4-х станций СПУ1-4 канала 1 безопасности со своим контроллером КА СБ и с контроллерами КА СБ 3-х других каналов безопасности, в которой: 9 - фрагмент шины ШВВ СБ; 24 - коммуникационный модуль голосования МГ; 25 - коммуникационный модуль МКГ; 26 (2611, 2622, 2633, 2644) - межканальные линии связи по шине ШВВ СБ модулей МКГ станций СПУ канала 1 с контроллерами КА СБ своего (канала 1) и 3-х других каналов безопасности; 27 (2712, 2713, 2714, 2721, 2723, 2724, 2731, 2732, 2734, 2741, 2742, 2743) - межстанционные линии связи модуля МКГ каждой станции СПУ1-4 с модулями МГ 3-х других станций по шине ШВВ СБ; 28 - линии связи модуля МГ 24 по шине ШВВ СБ 9 с модулями МПУ 231-23е; 29 - линия связи модуля МКГ 25 с модулем МГ 24 собственной станции СПУ.

[25]

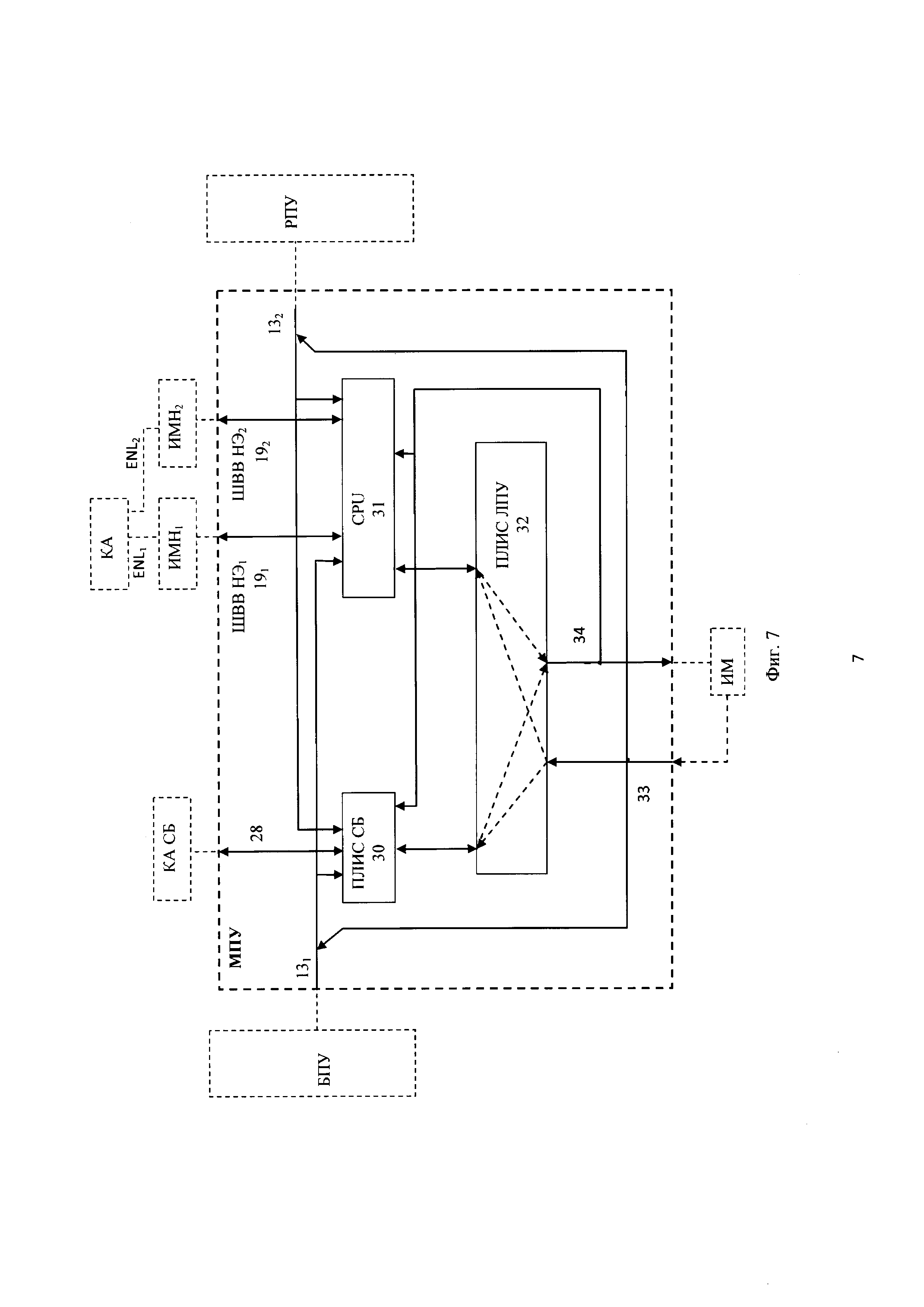
На фиг. 7 представлена структурная схема модуля приоритетного управления МПУ в которой: 131 - проводные линии дистанционного управления ИМ из БПУ; 132 - проводные линии дистанционного управления ИМ из РПУ; 191, 192 - линии связи резервированной шины ШВВ НЭ1, ШВВ НЭ2; 28 - линия связи шины ШВВ СБ; 30 - программируемая логическая схема ПЛИС СБ; 31 - процессор нормальной эксплуатации CPU; 32 - ПЛИС логики приоритетного управления - ПЛИС ЛПУ; 33 - связь ввода сигналов состояния ИМ; 34 - обратная связь опроса состояния команды управления, выдаваемой на ИМ.

[26]

На фиг. 8 представлена структурная схема контроллера автоматизации КА СБ на примере КА СБ канала 1, в которой: 51, 52 - резервированная шина EN нормальной эксплуатации; 812, 813, 814, - межпроцессорные интерфейсы МПИ связи КА СБ канала 1 с КА СБ каналов 2, 3, 4; 9 - фрагмент шины ШВВ СБ; 1411, 1421 - интерфейсы связи процессора автоматизации ПМА СБ 35 канала 1 по шинам МПИ1, МПИ2, соответственно, с БПУ и РПУ; 181, 182, 183, 184 - линии связи коммуникационного модуля МР-4 36р-1, соответственно, со станциями СВВ1, СВВ2, СВВ3, СВВ4 канала 1 по шине ШВВ СБ; 2611, 2612, 2613, 2614 - линии связи модуля МР-4 362 со станциями СПУ1-4, соответственно, каналов 1, 2, 3, 4 по шине ШВВ СБ; 35 - процессорный модуль автоматизации ПМА СБ; 361-36р - коммуникационные модули МР-4; 371-37р - линии связи ПМА СБ 35 с коммуникационными модулями МР-4 по шине ШВВ СБ.

[27]

Комплекс программно-аппаратных средств УСБ на примере 4-х канальной управляющей системы безопасности УСБ, схематично представленной на фиг. 1 и фиг. 2, работает следующим образом.

[28]

Станции ввода-вывода CBB1-n каждого канала безопасности принимают аналоговые и двоичные сигналы технологического процесса, преобразуют их в цифровую форму и передают по шине ввода-вывода безопасности ШВВ СБ 9 в контроллер автоматизации канала безопасности КА СБ 2. По командам контроллера КА СБ 2 станции СВВ формируют и выдают сигналы управления СУЗ.

[29]

Контроллер КА СБ 2 преобразует принятые цифровые значения аналоговых и двоичных сигналов в технологические параметры процесса, передает их по межпроцессорному интерфейсу МПИ 8 в контроллеры автоматизации КА СБ 2 других каналов безопасности, принимает параметры процесса от этих каналов безопасности и производит программный выбор параметров для дальнейшей обработки по мажоритарному правилу "2 из 4-х" на первом уровне межканального обмена и мажоритарного резервирования. Контроллер автоматизации КА СБ 2 сравнивает выбранные по мажоритарному правилу параметры процесса с заданными границами безопасной работы атомной станции. Дальнейшая обработка полученных параметров процесса производится на нескольких этапах выполнения алгоритмов защиты с промежуточным преобразованием результатов обработки, межканальным обменом по интерфейсам МПИ 8 и мажоритарной обработкой на каждом этапе.

[30]

Если контроллер КА СБ 2 обнаруживает в результате анализа входных параметров процесса аварийную ситуацию, он формирует и выдает по шине ШВВ СБ 9 защитные команды в станции приоритетного управления СПУ1-m 3 своего канала безопасности и в станции СПУ 3 других каналов безопасности на втором уровне межканального обмена.

[31]

Если аварийная ситуация требует останова реактора, то КА СБ 2 выдает по шине ШВВ СБ в соответствующие станции СВВ команды управления СУЗ.

[32]

Контроллер автоматизации КА СБ 2 в процессе работы формирует и передает на верхний уровень системы нормальной эксплуатации по шине EN 5 нормальной эксплуатации диагностическую информацию о выполнении функций защиты и состоянии КА СБ и станций СВВ и СПУ. Прием информации в КА СБ 2 по шине EN из системы нормальной эксплуатации блокируется.

[33]

Станции приоритетного управления СПУ1-m 3 принимают команды управления исполнительными устройствами от контроллера КА СБ 2 своего канала и от КА СБ 2 других каналов безопасности и аппаратно обрабатывают их по принципу резервирования "2 из 4-х" на втором уровне межканального обмена и мажоритарного резервирования.

[34]

Станции СПУ1-m 3 по выбранным в соответствие с мажоритарным правилом командам формируют сигналы управления исполнительными механизмами ИМ 11.

[35]

Станции СПУ1-m 3 канала безопасности получают также команды управления от других центров управления: блочного пункта управления БПУ, резервного пункта управления РПУ и системы нормальной эксплуатации и формируют сигналы управления ИМ 11 в соответствии с приоритетами центров управления.

[36]

БПУ и РПУ в соответствие с фиг. 2 подключаются непосредственно к станциям СПУ1-m 3 каждого канала безопасности по проводным связям, а также к контроллерам КА СБ 2 по линиям связи шин МПИ1 141, МПИ2 142 интерфейса Ethernet типа "точка-точка" со специальным коммуникационным протоколом уровня данных.

[37]

По проводным линиям связи 131, 132 из БПУ и РПУ передаются в СПУ1-m 3 двоичные сигналы управления, а из СПУ1-m 3 в БПУ и РПУ - аналоговые и двоичные сигналы, отображающие состояния станций приоритетного управления и ИМ 11 для вывода на индикаторы панелей безопасности.

[38]

По линиям связи МПИ1 141, МПИ2 142 из контроллера КА СБ 3 каналов безопасности передается в БПУ и РПУ диагностическая информация о выполнении алгоритмов защиты и расширенная диагностическая информация о состоянии исполнительных механизмов и модулей приоритетного управления.

[39]

Доступ к датчикам и исполнительным механизмам УСБ со стороны системы нормальной эксплуатации производится по резервированной шине EN 5 через контроллеры автоматизации нормальной эксплуатации KA1-s 4, фиг. 1, входящие в состав УСБ, и программно-аппаратные средства нормальной эксплуатации станций СВВ и СПУ.

[40]

Контроллеры автоматизации нормальной эксплуатации KA1-s 4 из состава УСБ соединены со станциями CBB1-n 1 и СПУ1-m 3 и, соответственно, с датчиками и исполнительными устройствами УСБ по резервированной шине ENL 10, аналогично соединению контроллеров КА, входящих в состав системы нормальной эксплуатации, со своими станциями и выполняют функции системы нормальной эксплуатации по обработке данных, поступающих с датчиков УСБ при отсутствии аварийной ситуации и функции сбора данных, необходимых для оценки состояния АЭС.

[41]

Контроллеры KA1-s 4 выявляют нарушения функционирования каналов безопасности путем сравнения определенного ими состояния АЭС на основе данных процесса, полученных от станций СВВ и СПУ по шине ENL, и состояния АЭС, полученного от контроллеров КА СБ 2 каналов безопасности по шине EN 5. Если в результате сравнения обнаруживается нарушение работы каналов безопасности, то принимаются меры по устранению неисправности и восстановлению функционирования каналов.

[42]

Контроллеры KA1-s 4 производят обмен данными с контроллерами КА, входящими в состав системы нормальной эксплуатации, в соответствии с прикладными программами системы нормальной эксплуатации и передают диагностическую информацию о выполнении функций нормальной эксплуатации и защиты и о состоянии аппаратуры нормальной эксплуатации в составе УСБ на верхний уровень управления по резервированной шине EN 5.

[43]

Контроллеры KA1-s 4 выполняют также дополнительные функции сбора, анализа и передачи на верхний уровень состояния двоичных сигналов неисправностей 7, формируемых встроенными средствами самоконтроля аппаратуры УСБ, включая составные части СВВ, СПУ, КА СБ, а также аппаратуры питания и коммуникаций. Эта диагностическая информация передается на верхний уровень даже в том случае, если само контролируемое устройство не может это выполнить функционально или из-за неисправности.

[44]

Контроллер КА СБ 2 связан со станциями CBB1-n 1 и СПУ1-m 3 по специализированной шине ввода-вывода ШВВ СБ 9.

[45]

Шина ШВВ СБ 9 выполнена на дуплексных последовательных интерфейсах типа "точка-точка" и имеет структуру типа "дерева", в верхнем корневом узле которого к шине подключен процессорный модуль автоматизации ПМА СБ, а в нижних узлах - модули МСП и МПУ. В промежуточных узлах структуры помещены коммуникационные модули контроллера автоматизации, станций ввода-вывода и станций приоритетного управления.

[46]

Шина имеет две группы линий связи типа "точка-точка": линий нисходящего потока команд и данных от процессорного модуля ПМА СБ к модулям ввода-вывода МСП и модулям приоритетного управления МПУ и линий восходящего потока данных от модулей МСП и МПУ к процессорному модулю ПМА СБ. Для нисходящего потока данных коммуникационный модуль выполняют функцию разветвления данных, поступающих по одной из линий "дерева" от верхнего узла шины, на несколько линий связи к нижним узлам шины, а для восходящего потока данных - функции концентрации данных, поступающих в модуль по нескольким линиям связи "дерева" от нижних узлов шины, на одну линию связи к верхним узлам шины. Коммуникационные модули МГ в станциях приоритетного управления СПУ выполняют также мажоритарную обработку по принципу "2 из N" команд и данных нисходящего потока от всех каналов безопасности на втором уровне межканального обмена.

[47]

Станция СВВ, структура которой представлена на фиг. 3 на примере станции CBB1 канала 1, содержит: коммуникационный модуль: ПИК 16 шины ШВВ СБ 9, модули связи с процессом МСП 151-15k. Модуль ПИК соединен по отдельным линиям связи ШВВ СБ 17 типа "точка-точка" последовательного дуплексного интерфейса с каждым модулем МСП 151-15k и по линии связи шины ШВВ СБ 181 - с контроллером автоматизации КА СБ.

[48]

Коммуникационный модуль ПИК 16 распределяет команды и данные, поступающие по линии 231 ШВВ СБ от контроллера КА СБ, на линии связи 17 ШВВ СБ с модулями МСП и концентрируют данные, поступающие по линиям 17 от модулей МСП, на линию связи 181 ШВВ СБ станции СВВ с КА СБ. По линии связи 181 осуществляется доступ к каждому модулю МСП станции ввода-вывода для передачи и приема данных со стороны КА СБ.

[49]

Станция СВВ дополнительно содержит независимые программно-аппаратные средства нормальной эксплуатации, обеспечивающие доступ к датчикам и исполнительным устройствам со стороны системы нормальной эксплуатации: встроенные в модули МСП процессоры нормальной эксплуатации, выполняющие предварительную обработку сигналов процесса в соответствие с алгоритмами нормальной эксплуатации, и средства связи их с контроллерами нормальной эксплуатации КА из состава УСБ.

[50]

Связь модулей МСП и, соответственно, встроенных в них процессоров нормальной эксплуатации с системой нормальной эксплуатации реализована с помощью резервированных интерфейсных модулей ИМН1 201, ИМН2 202 и резервированной шины ввода-вывода нормальной эксплуатации ШВВ НЭ1 191, ШВВ НЭ1 192. Шина ШВВ НЭ состоит из линий типа "точка-точка" последовательного дуплексного интерфейса, соединяющих каждый резервированный модуль ИМН1 201, ИМН2 202 с каждым модулем МСП 151-15k.

[51]

Резервированные модули ИМН1 201, ИМН2 202 выполняют функции сопряжения резервированной шины ENL1 101, ENL2 102 с внутристанционной резервированной шиной ввода-вывода ШВВ НЭ1 191, ШВВ НЭ2 192.

[52]

Модули связи с процессом МСП 151-15k выполняют функции приема и воспроизведения аналоговых и двоичных сигналов процесса, преобразования входных сигналов процесса в цифровую форму и цифровых значений выходных сигналов в аналоговую форму, предварительную обработку входных сигналов, связь с контроллерами КА СБ по линиям связи 17, 181 шины ШВВ СБ 9 и связь с контроллерами нормальной эксплуатации КА по резервированной шине ШВВ НЭ1, ШВВ НЭ2 и далее по резервированной шине ENL (ENL1, ENL2) 101, 102.

[53]

Структура модуля МСП ввода аналоговых сигналов представлена на фиг. 4.

[54]

Функции по вводу и обработке сигналов процесса по алгоритмам безопасности выполняет процессор средств безопасности CPU СБ 21.

[55]

Функции по вводу и обработке сигналов процесса по алгоритмам нормальной эксплуатации выполняет отдельный процессор нормальной эксплуатации 22, отвечающий требованиям разнообразия по отношению к процессору средств безопасности CPU СБ 21.

[56]

Сигнал технологического процесса поступает в модуле МСП ввода аналоговых сигналов через входные цепи 22а на вход аналого-цифрового преобразователя АЦП 22б, осуществляющего преобразование сигнала в цифровую форму. Процессор CPU СБ 21 получает цифровой сигнал с выхода АЦП 22б, выполняют его предварительную обработку по алгоритму безопасности и передает, соответственно, по линии связи 17 шины ШВВ СБ в коммуникационный модуль ПИК станции СВВ.

[57]

Процессор нормальной эксплуатации 22, выполняет обработку полученного с выхода АЦП 22б цифрового сигнала по алгоритму нормальной эксплуатации и передает результаты обработки по резервированной внутристанционной шине ШВВ НЭ1 191, ШВВ НЭ2 192 в резервированные интерфейсные модули ИМН1 201, ИМН2 202 для дальнейшей передачи по резервированной шине ENL1 101, ENL2 102 на фиг. 3 в контроллер КА нормальной эксплуатации.

[58]

По аналогичной схеме построены и работают модули ввода двоичных сигналов и модули вывода аналоговых и двоичных сигналов.

[59]

Структура станции приоритетного управления СПУ представлена на фиг. 5 на примере станции СПУ канала 1, входящей в группу из 4-х станций СПУ1-4, с которыми контроллер автоматизации КА СБ каждого канала осуществляет обмен данными по одной линии связи шины ШВВ СБ. Станция СВВ содержит: коммуникационный модуль МКГ 25, коммуникационный модуль голосования МГ 24, модули приоритетного управления МПУ 231-23е. Модуль МГ соединен: по отдельным линиям связи 28 ШВВ СБ 9 типа "точка-точка" последовательного дуплексного интерфейса с каждым модулем МПУ 231-23е; по 3-м линиям связи 27 шины ШВВ СБ 9 с коммуникационными модулями МКГ 25 3-х других станций СПУ.

[60]

Коммуникационный модуль голосования МГ 24 выполняет функции разветвления нисходящего потока команд и данных от КА СБ в модули МПУ 231-23е и концентрации восходящего потока данных от модулей МПУ 231-23е в КА СБ, а также функции аппаратного мажоритарного выбора команд и данных нисходящего потока от 4-х каналов безопасности, получаемых по линиям связи 29, 27 ШВВ СБ 9 по правилу мажоритарной обработки "2 из 4-х" для передачи в модули МПУ 231-23e.

[61]

Коммуникационный модуль МКГ 25 соединен: по линии связи 29 ШВВ СБ с коммуникационным модулем МГ 24 своей станции СПУ; по 3-м линиям связи 27 ШВВ СБ - с коммуникационными модулями МГ 3-х других станций канала безопасности 1; по линии связи 26 шины ШВВ СБ 9 в станции СПУ1 - с КА СБ собственного канала безопасности 1 и в 3-х других станциях СПУ с КА СБ 3-х других каналов безопасности.

[62]

Структура связей по шине ШВВ СБ группы из 4-х станций СПУ1-4 канала безопасности 1 с контроллером КА СБ этого канала безопасности и с контроллерами КА СБ 3-х других каналов безопасности показана на фиг. 6.

[63]

Связь модулей МПУ 231-23r с системой нормальной эксплуатации, фиг. 5, осуществляется с помощью резервированных интерфейсных модулей ИМН1 201, ИМН2 202, резервированной шины ШВВ НЭ1 191, ШВВ НЭ2 192 аналогично модулям МСП в станции СВВ и с помощью встроенных в модули МПУ отдельных программно-аппаратных средств нормальной эксплуатации.

[64]

Организация аппаратных средств безопасности, аппаратных средств нормальной эксплуатации и связи с центрами управления ИМ в модулях МПУ представлены на структурной схеме модуля МПУ, фиг. 7.

[65]

Модуль МПУ выполняет управление ИМ по командам инициирования от нескольких центров управления: от контроллера КА СБ по линии связи 28 шины ШВВ СБ; от контроллера нормальной эксплуатации КА по резервированным шинам ENL1 101, ENL2 102 и ШВВ НЭ1 191, ШВВ НЭ2 192, фиг. 5, фиг. 7; от БПУ по проводным связям 131 и от РПУ по проводным связям 132. По указанным связям производится также передача состояния МПУ и ИМ, соответственно, в КА СБ, КА, БПУ и РПУ.

[66]

Формирование команд управления ИМ производится: по командам инициирования от КА СБ, БПУ и РПУ в программируемой логической схеме средств безопасности ПЛИС СБ 30 и по командам инициирования от КА, БПУ и РПУ в процессоре нормальной эксплуатации CPU 31.

[67]

Команды управления ИМ от ПЛИС СБ 30, процессора CPU 31 поступают в ПЛИС логики приоритетного управления - ПЛИС ЛПУ 32, в которой производится формирование команды, выдаваемой на ИМ.

[68]

Процессор нормальной эксплуатации CPU 31 выполняет по командам от контроллера автоматизации нормальной эксплуатации КА и совместно с ним функции автоматического управления исполнительными механизмами в системе нормальной эксплуатации при отсутствии аварийной ситуации и функции контроля команд, выдаваемых на ИМ от КА СБ, приема данных о состоянии ИМ, управляемого от КА СБ, и передачи этих данных в контроллер КА нормальной эксплуатации по шинам ШВВ НЭ и ENL для оценки им состояния АЭС и каналов безопасности.

[69]

По линии обратной связи 34 с выхода ПЛИС ЛПУ, линии 28 шины ШВВ СБ и резервированной шине ШВВ НЭ1 191, ШВВ НЭ2 192, контроллеры, соответственно, КА СБ и КА производят опрос состояния команд выдаваемых на ИМ. При этом контроллер КА опрашивает состояние своих команд, выдаваемых на ИМ, и команд, выдаваемых на ИМ контроллером КА СБ.

[70]

По линии ввода 33 сигналы состояния ИМ поступают в БПУ, РПУ и через ПЛИС ЛПУ 32, ПЛИС СБ 30 и процессор CPU 31 - в контроллеры автоматизации, соответственно, КА СБ и КА. При этом контроллер КА принимает сигналы состояния ИМ как при выдаче на ИМ своих команд, так и при выдаче на ИМ команд контроллером КА СБ.

[71]

Структура контроллера автоматизации КА СБ на примере КА СБ канала 1 показана на фиг. 8. Процессорный модуль автоматизации ПМА СБ 35 контролера КА СБ принимает по шине ШВВ СБ 9 цифровые значения параметров процесса от модулей МСП станций CBB1-n своего канала безопасности, производит их обработку и при обнаружении аварийной ситуации в соответствии с алгоритмами безопасности формирует и выдает по шине ШВВ СБ 9 в модули МПУ станций СПУ1-m своего и других каналов безопасности команды управления защитными действиями. В процессе выполнения алгоритмов безопасности ПМА 35 проводит обмен данными с ПМА 2-го, 3-го и 4-го каналов безопасности, соответственно, по межпроцессорным интерфейсам МПИ 812, 813, 814 и производит мажоритарную обработку данных от всех каналов безопасности по правилу "2 из 4-х". По интерфейсам связи ПМА 1-го канала безопасности с БПУ - МПИ1 1411 и с РПУ - МПИ2 1421, процессорный модуль принимает команды дистанционного управления от БПУ и РПУ и передает в БПУ и РПУ диагностическую информацию о выполнении алгоритмов защиты и о состоянии аппаратуры приоритетного управления и исполнительных механизмов. По резервированной шине EN 51, 52 модуль ПМА передает диагностическую информацию системы безопасности в систему нормальной эксплуатации.

[72]

Прием данных от станций СВВ и станций СПУ и передачу команд и данных в станции СПУ процессорный модуль ПМА производит: по линиям связи шины ШВВ СБ 371-37р, соответственно, с коммуникационными модулями МР-4 А 361-36р, и далее по 4-м линиям связи модулей МР-4 со станциями СВВ и станциями СПУ. Каждый коммуникационный модуль МР-4 на фиг. 8 по 4-м линиям связи может быть соединен с группой из 4-х станций, например, станций CBB1-4 своего канала безопасности или с 4-мя группами из 4-х станций, например станций СПУ1-4, своего и 3-х других каналов безопасности. В качестве примера на фиг. 8 показаны подключения МР-4 36p-1 модуля ПМА 1-го канала безопасности к 4-м станциям CBB1-4 этого канала и подключения МР-4 362 1-го канала безопасности к группе станций СПУ1-4 этого канала и к группе станций СПУ1-4 каждого из 3-х других каналов безопасности.

[73]

Коммуникационный модуль МР-4 36p-1 по линии связи 181 подключается к CBB1, по линии связи 182 - к СВВ2, по линии связи 183 - к СВВ3 и по линии связи 184 - к СВВ4 своего (1-го) канала безопасности.

[74]

Коммуникационный модуль МР-4 362 по линии связи 2611 подключается к 4-м станциям СПУ1-4 своего, т.е. 1-го канала безопасности, по второй линии связи 2612 - к 4-м станциям СПУ1-4 2-го канала безопасности, по линии связи 2613 - к 4-м станциям СПУ1-4 3-го канала безопасности и по линии связи 2614 - к 4-м станциям СПУ1-4 4-го канала безопасности.

Как компенсировать расходы
на инновационную разработку
Похожие патенты