патент
№ RU 2599254
МПК C10G9/20

ТРУБЧАТАЯ ПЕЧЬ С ТЕПЛООБМЕННИКОМ

Авторы:
Королёв Пётр Васильевич Валуев Юрий Анатольевич Цветков Евгений Николаевич
Все (4)
Номер заявки
2015127658/04
Дата подачи заявки
09.07.2015
Опубликовано
10.10.2016
Страна
RU
Как управлять
интеллектуальной собственностью
Чертежи 
2
Реферат

Настоящее изобретение относится к трубчатой печи, которая может быть использована для нагрева нефти, нефтепродуктов и других углеводородных смесей. Печь содержит камеру сгорания с горелкой, сообщенную с камерой теплообмена, в которой размещены продуктовые трубы, и горелка включает газовые стволы и воздуховод. При этом концы газовых стволов размещены в камере сгорания вокруг выходного отверстия воздуховода, в камере сгорания установлен завихритель воздушного потока, продуктовые трубы представляют собой трубчатый теплообменник с поперечно обтекаемым пучком труб, а в коллекторах трубчатого теплообменника установлены перегородки с образованием последовательно-параллельной схемы соединения труб. Предлагаемая печь обладает высокой мощностью и эффективностью. 3 з.п. ф-лы, 4 ил.

Формула изобретения

1. Трубчатая печь, содержащая камеру сгорания с горелкой, сообщенную с камерой теплообмена, в которой размещены продуктовые трубы, отличающаяся тем, что горелка включает газовые стволы и воздуховод, при этом концы газовых стволов размещены в камере сгорания вокруг выходного отверстия воздуховода, в камере сгорания установлен завихритель воздушного потока, продуктовые трубы представляют собой трубчатый теплообменник с поперечно обтекаемым пучком труб, а в коллекторах трубчатого теплообменника установлены перегородки с образованием последовательно-параллельной схемы соединения труб.

2. Печь по п. 1, отличающаяся тем, что камера сгорания имеет цилиндрическую форму, а камера теплообмена в поперечном сечении имеет прямоугольную форму.

3. Печь по п. 2, отличающаяся тем, что оси газовых стволов параллельны оси воздуховода и камеры сгорания.

4. Печь по п. 1, отличающаяся тем, что завихритель представляет собой лопаточный завихритель, между лопатками которого расположены концы газовых стволов.

Описание

[1]

Изобретение относится к нагревательной технике и может быть использовано в области нефтепереработки и нефтехимии для нагрева нефти, нефтепродуктов и других углеводородных смесей.

[2]

Известны трубчатые печи, используемые в нефтеперабатывающей и нефтехимической промышленности, содержащие радиантную и конвективную камеры со змеевиками и установленный в нижней части радиантной камеры горелки (Евтус Н.Р., Шарихин В.В. Трубчатые печи в нефтеперабатывающей и нефтехимической промышленности. М.: Химия, 1987, с. 7-14; RU 2409610 С2, 20.01.2011; RU 2439125 C1, 10.01.2012).

[3]

Недостатком этих печей являются большие габариты радиантной камеры с большой радиационной поверхностью для нагрева труб змеевика, расположенных вблизи этой поверхности.

[4]

Наиболее близкой к предложенному устройству является трубчатая печь для нагрева нефтепродуктов, содержащая конвективную камеру коробчатой формы с двухрядным продуктовым змеевиком, в основании корпуса печи размещена камера сгорания циклонного типа с подводом воздуха от радиального вентилятора, а в торцевых стенах корпуса печи выполнены газоотводящие каналы (RU 43011 U1, 27.12.2004). Печь имеет несколько уменьшенные габариты (на 15-20% по сравнению с печами, имеющими радиантную камеру) за счет исключения из конструкции радиантной камеры.

[5]

В известной печи отсутствуют условия для полного сгорания топлива в камере сгорания, так как не полностью сгоревшие раскаленные дымовые газы (фактически, пламя) касаются холодных труб змеевика, остывают и не сгорают полностью. Это приводит к образованию оксида углерода СО. Несмотря на закрутку воздуха в камере сгорания циклонного типа интенсивного перемешивания с газом достичь не удастся, поскольку пламя выходит в конвективную камеру, и скорости перемешивания низкие из-за больших размеров этой камеры. Трубы змеевика имеют большой диаметр и расположены с большими зазорами, поэтому теплоотдача недостаточно велика.

[6]

Кроме того, так как не регулируется скорость движения продукта по змеевику, в более нагруженных трубах возможен процесс коксования на стенке труб.

[7]

Задачей изобретения является создание устройства для нагрева жидкостей высокой мощности и эффективности.

[8]

Задача решается тем, что трубчатая печь содержит камеру сгорания с горелкой, сообщенную с камерой теплообмена, в которой размещены продуктовые трубы, причем согласно изобретению горелка включает газовые стволы и воздуховод, при этом концы газовых стволов размещены в камере сгорания вокруг выходного отверстия воздуховода, в камере сгорания установлен завихритель воздушного потока, продуктовые трубы представляют собой трубчатый теплообменник с поперечно обтекаемым пучком труб, а в коллекторах трубчатого теплообменника установлены перегородки с образованием последовательно-параллельной схемы соединения труб.

[9]

Технический результат, достигаемый предложенным устройством, заключается в повышении полноты сгорания топлива в камере сгорания за счет интенсивного перемешивания газа и выходящего из воздуховода воздуха с помощью завихрителя, что в результате приводит к более интенсивному нагреву жидкости в теплообменнике и к увеличению мощности печи при малых габаритах и массе. Кроме того, использование трубчатого теплообменника с поперечно обтекаемым пучком труб позволяет увеличить число труб, уменьшить зазоры между ними и, в результате, увеличить поверхность теплоотдачи и эффективность теплообмена. При этом за счет последовательно- параллельной схемы прохождения продукта обеспечивается увеличение скорости движения продукта и предотвращение коксования в случае нагрева нефти или нефтепродуктов.

[10]

В предпочтительном варианте выполнения камера сгорания и воздуховод имеют цилиндрическую форму, а камера теплообмена в поперечном сечении имеет прямоугольную форму.

[11]

При этом оси газовых стволов параллельны оси воздуховода и камеры сгорания.

[12]

В частном случае завихритель может представлять собой лопаточный завихритель, обеспечивающий интенсивное перемешивание. При этом концы газовых стволов расположены между лопатками завихрителя.

[13]

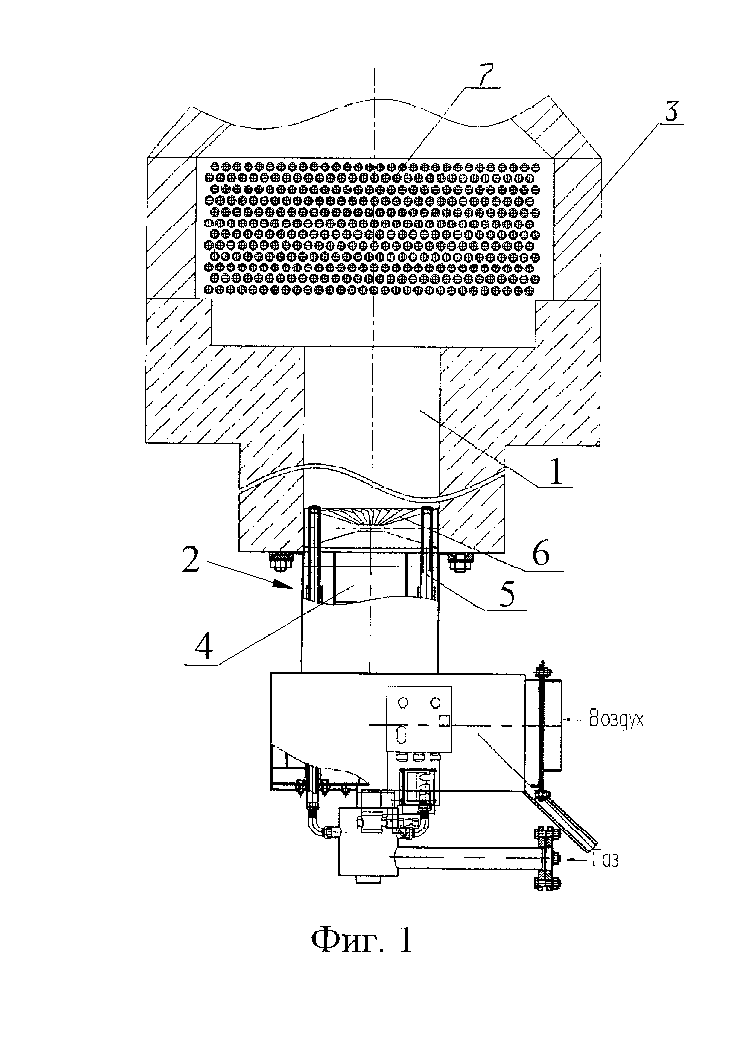
На фиг. 1 показана предложенная трубчатая печь, осевой разрез.

[14]

На фиг. 2 - теплообменник, вид сверху.

[15]

На фиг. 3 - теплообменник, вид сбоку.

[16]

На фиг. 4 - сечение А-А на фиг. 3.

[17]

Трубчатая печь содержит камеру 1 сгорания, с нижней частью которой соединена горелка 2. Камера 1 сгорания сообщена с камерой 3 теплообмена, в которой размещены продуктовые трубы. С камерой 1 сгорания соединен цилиндрический корпус горелки 2, в котором соосно расположен воздуховод 4, и по периферии корпуса вокруг воздуховода 4 размещены газовые стволы 5. Концы газовых стволов 5 расположены в камере 1 сгорания. Торцы газовых стволов 5 и воздуховода 4 с выходными отверстиями обращены в сторону камеры 3 теплообмена. Оси газовых стволов 5 параллельны оси воздуховода 4 и камеры 1 сгорания. Камера 1 сгорания и воздуховод 4 имеют цилиндрическую форму, а камера 3 теплообмена в поперечном сечении имеет прямоугольную форму. На выходе воздуховода 4 установлен завихритель 6 воздушного потока. В приведенном примере выполнения изобретения завихритель 6 может представлять собой лопаточный завихритель, обеспечивающий интенсивное перемешивание. Концы газовых стволов 5 расположены между лопатками завихрителя 6.

[18]

Продуктовые трубы представляют собой трубчатый теплообменник 7 с поперечно обтекаемым пучком труб, в коллекторах 8 и 9 которого могут быть установлены перегородки 10 с образованием последовательно-параллельной схемы прохождения теплоносителя.

[19]

Камера 1 сгорания представляет собой цилиндр диаметром в зависимости от мощности печи (для 2 МВт - 280 мм, для 70 МВт - 2 м) и высотой от 1 до 2 метров. Теплообмена в камере 1 сгорания нет. Продукты сгорания проходят через камеру 3 теплообмена и, благодаря совмещенному радиационному и конвективному теплообмену, полностью передают тепло трубкам теплообменника 7. КПД печи выбирается в зависимости от количества рядов теплообменника и может быть от 85 до 98%.

[20]

Конструкция теплообменника 7 с двумя камерами - коллекторами 8 и 9 позволяет варьировать скоростью теплоносителя, так как благодаря перегородкам 10 в камерах возможна последовательно-параллельная схема соединения. Наибольшая скорость потока при последовательном соединении труб теплообменника 7 и наименьшая скорость при параллельном. Таким образом, выбирая схему соединения и, следовательно, увеличивая скорость движения продукта, можно предотвращать коксование в случае нагрева нефти или нефтепродуктов.

[21]

В качестве горелки 2 может применяться модернизированная серийно выпускаемая горелка (можно типа ГКВД). Модернизация заключается в применении завихрителя 6 воздушного потока. Завихритель 6 лопаточный. Угол наклона лопаток составляет 15 градусов к горизонту. Газовые стволы 5 горелки проходят между лопатками завихрителя 6. Воздух к горелке 2 подается от воздуходувки по воздуховоду 4. Давление воздуха перед горелкой 2 - 200-300 мм в. ст.

[22]

Теплообменник 7 выполнен из стальных труб с расстоянием между ними от 5 до 12 мм. Камера 1 сгорания поставляется на монтажную площадку в готовом виде и собирается с теплообменником 7. Затем обвязывают печь по газу, продукту, подсоединяют дутьевой воздух к горелке 2 и запускают печь. Мощность печи не ограничена. На печи мощностью от 100 кВт до 70 МВт используется одна горелка.

[23]

Поток воздуха проходит через завихритель 6 и интенсивно перемешивается с газом, после чего попадает в камеру 1 сгорания. Чем выше скорость перемешивания, тем выше опережающим темпом скорость горения. Таким образом, в камере 1 происходит полное сгорание топлива без продуктов неполного горения, таких как СО, как при малых, так и при больших нагрузках.

[24]

Отношение мощности к массе предложенной печи составляет 2 Гкал на тонну, что в 5-10 раз меньше чем у известных трубчатых печей, имеющих радиантную камеру.

Как компенсировать расходы
на инновационную разработку
Похожие патенты