патент
№ RU 2569971
МПК F42B15/01

СПОСОБ ПОРАЖЕНИЯ ЦЕЛИ СВЕРХЗВУКОВОЙ КРЫЛАТОЙ РАКЕТОЙ И УСТРОЙСТВО ДЛЯ ЕГО ОСУЩЕСТВЛЕНИЯ

Авторы:
Измалкин Олег Сергеевич
Номер заявки
2014127576/11
Дата подачи заявки
08.07.2014
Опубликовано
10.12.2015
Страна
RU
Как управлять
интеллектуальной собственностью
Чертежи 
8
Реферат

Изобретение относится к военной технике и может быть использовано в сверхзвуковых крылатых ракетах. Сверхзвуковая крылатая ракета содержит планер, приборный отсек с блоками бортовой аппаратуры системы управления, сменную головку самонаведения, основное боевое снаряжение фугасного, проникающего, осколочно-фугасного типа, дополнительное боевое снаряжение с идентичными с головкой самонаведения массово-центровочными характеристиками. Формируют полетное задание с точкой прицеливания, параметрами траектории ракеты и типах поражаемых целей, выбирают ракету со сменной головкой самонаведения или взаимозаменяемой головкой самонаведения с дополнительным боевым снаряжением, вносят изменения в циклограмму полета в зависимости от типа цели, запускают и обеспечивают полет ракеты с участками пикирования в зависимости от типа цели в точку с заданными координатами в области расположения цели, подрывают боевое снаряжение с запрограммированным недолетом до геометрического центра области расположения площадной цели или по достижении цели. Изобретение позволяет повысить эффективность поражения цели. 2 н. и 3 з.п. ф-лы, 8 ил.

Формула изобретения

1. Способ поражения цели сверхзвуковой крылатой ракетой, оснащенной бортовой аппаратурой системы управления и боевым снаряжением, заключающийся в формировании полетного задания, содержащего точку прицеливания и параметры траектории ракеты, запуске и обеспечении полета ракеты в точку с заданными координатами, лежащую в области расположения цели, и подрыве боевого снаряжения по достижении цели, отличающийся тем, что при формировании полетного задании в бортовую аппаратуру системы управления вводят информацию о типах поражаемых целей, для поражения надводных кораблей и береговых радиоконтрастных целей из состава боекомплекта выбирают ракету, оснащенную сменной головкой самонаведения, а для поражения легкоуязвимых наземных или защищенных, в том числе заглубленных целей, выбирают ракету, оснащенную взаимозаменяемой головкой самонаведения с дополнительным боевым снаряжением, вносят изменения в циклограмму полета, причем при формировании полетного задания ракеты для поражения нескольких, распределенных на площади, легкоуязвимых наземных целей в качестве точки прицеливания выбирают координаты наиболее близкой к носителю цели, лежащей в плоскости стрельбы, а в траекторию полета ракеты вводят участок пикирования не более 15° к горизонту, осуществляют подрыв боевой части с запрограммированным недолетом до геометрического центра области расположения площадной легкоуязвимой цели, в то время как при формировании полетного задания для поражения прочных, в том числе заглубленных наземных целей, задают траектории с пикированием более 45° к горизонту.

2. Сверхзвуковая крылатая ракета, содержащая планер, в приборном отсеке которого размещены блоки бортовой аппаратуры системы управления, боевое снаряжение, головка самонаведения, отличающаяся тем, что головка самонаведения выполнена сменной с возможностью установки на посадочных местах передней части приборного отсека дополнительного боевого снаряжения в виде тонкостенного корпуса с размещенными в нем поражающими элементами или наконечника из материала с плотностью не ниже значения 5500 кг/м3, при этом дополнительное боевое снаряжение имеет идентичные с головкой самонаведения массово-центровочные характеристики, а основное боевое снаряжение выполнено фугасного типа.

3. Ракета по п. 1, отличающаяся тем, что дополнительное боевое снаряжение содержит взрывчатое вещество.

4. Ракета по п. 1, отличающаяся тем, что основное боевое снаряжение выполнено проникающего типа.

5. Ракета по п. 1, отличающаяся тем, что основное боевое снаряжение выполнено осколочно-фугасного типа.

Описание

[1]

Изобретение относится к ракетной технике, а именно к сверхзвуковым крылатым ракетам (СКР), предназначенным для поражения надводных и наземных целей, включая легкоуязвимые площадные наземные объекты, в том числе критичные по времени мобильные цели, такие как:

[2]

- боевая авиация на аэродромах базирования (на открытой стоянке или взлетно-посадочной полосе),

[3]

- пусковые установки, мобильные командные пункты и РЛС подвижных ракетных комплексов,

[4]

- небронированная или легкобронированная автомобильная техника и живая сила на марше или в районах сосредоточения;

[5]

- стационарные центры управления и связи, радиолокационные станции, топливонасыщенные объекты и другие цели;

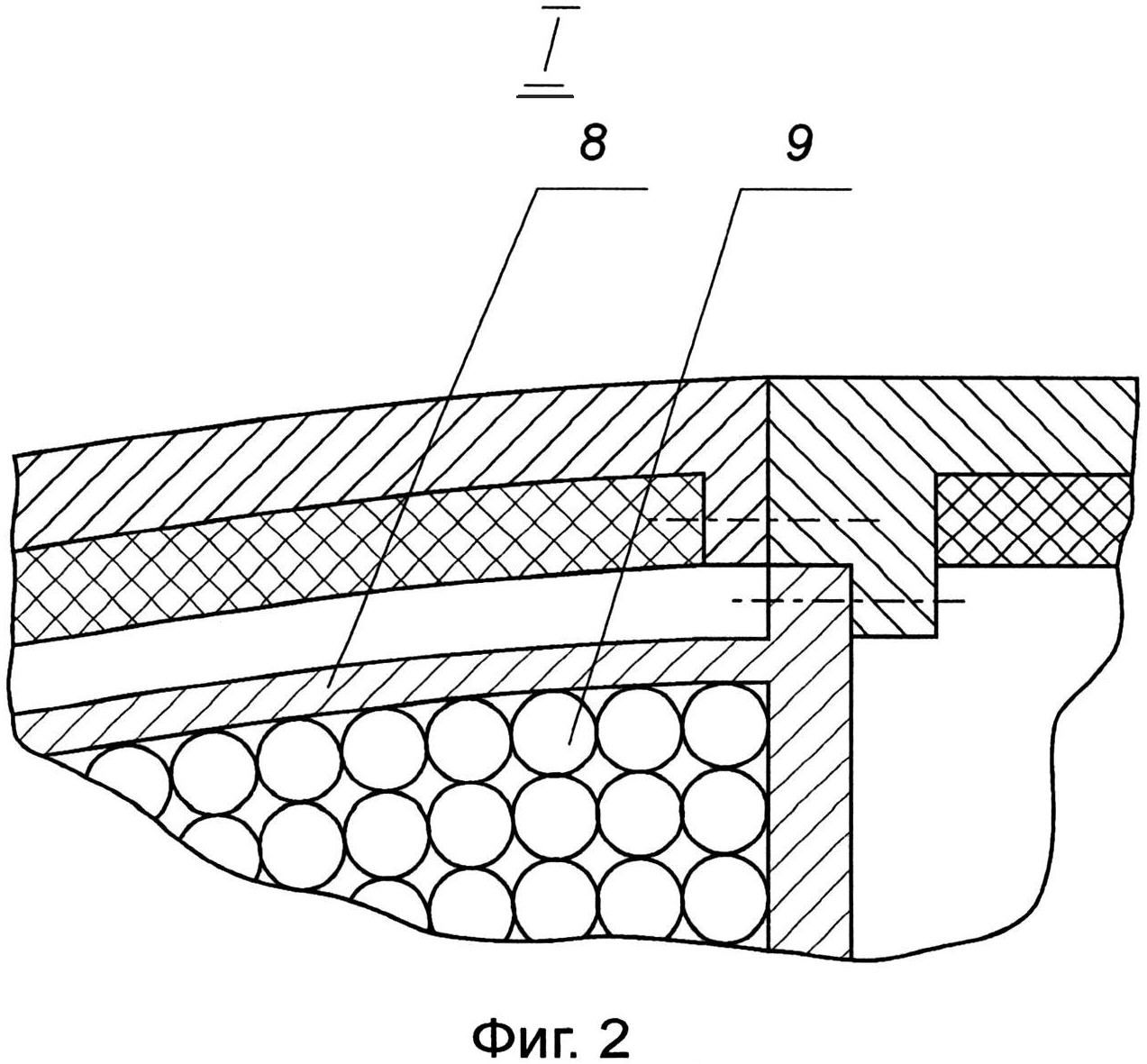
[6]

а также для поражения защищенных (заглубленных) целей.

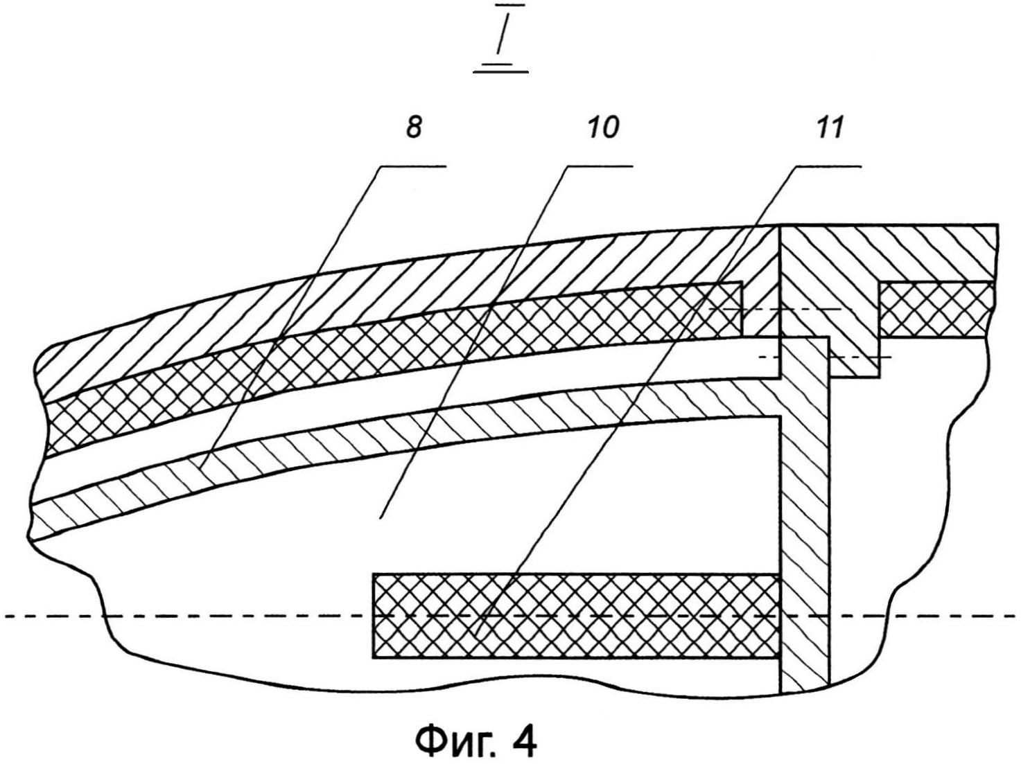
[7]

В настоящее время основным средством борьбы с такого рода целями, в большинстве своем относящимися к классу легкоуязвимых наземных целей, являются осколочные и осколочно-фугасные боеприпасы авиационных бомб, бомбовые кассеты с управляемым рассредоточением зарядов, позволяющие поразить большой участок площади, управляемые авиационные планирующие кассеты, запускаемые вне зоны ПВО объекта, и пр. Носителями большинства перечисленных средств являются самолеты тактической авиации, их боевое применение предполагает участие в выборе объекта поражения и наведении боеприпаса на цель летчика или оператора, находящегося на борту самолета, что в условиях противодействия противника может привести к потерям самолетов и их экипажей.

[8]

Изобретение описывает способ применения и устройство его осуществления, позволяющие расширить боевые возможности СКР, предназначенной для поражения указанных целей, при минимальном объеме переоборудования базового образца, разработанного для поражения преимущественно морских целей.

[9]

Известна крылатая ракета (КР) «Томагавк», конструкция которой основана на модульном принципе. Варианты исполнения ракеты в зависимости от решаемых задач могут комплектоваться различным целевым снаряжением, то есть совокупностью бортовой аппаратуры системы управления (БАСУ) и боевого снаряжения (боевой части (БЧ) и взрывного устройства (ВУ)).

[10]

Например:

[11]

- противокорабельный вариант КР (BGM-109B/E) оснащен БАСУ, основными элементами которой являются инерциальная навигационная система (ИНС) и активная радиолокационная головка самонаведения (ГСН) сантиметрового диапазона, а также боевым снаряжением в составе фугасной БЧ и ВУ «замедленного действия»;

[12]

- вариант КР, предназначенный для поражения точечных наземных целей (BGM-109C Blok III), оснащен БАСУ с высокоточной ИНС, корректируемой по данным спутниковой навигационной системы GPS;

[13]

(Известно также, что аппаратуру потребителей спутниковых навигационных систем (АПСН) используют и многие современные противокорабельные ракеты, например, - NSM (Jane′s Navy International, 2008, №6, p.5), 3M-14E (Armada International, 2008, №3 [June/July], p. 72) и пр.)

[14]

- вариант КР, предназначенный для вывода из строя взлетно-посадочных полос аэродромов (BGM-109D), снабжен кассетной БЧ (Родионов Б.И., Новичков Н.Н. Крылатые ракеты в морском бою, Воениздат, 1987, с.16).

[15]

При этом необходимо отметить, что установка различного по массе и габаритам целевого снаряжения КР «Томагавк» обеспечивается за счет возможности существенной трансформации конструкции приборного и топливного отсеков ракеты.

[16]

В то же время следует отметить, что вне зависимости от решаемых задач и условий применения все модификации КР «Томагавк» совершают маршевый полет к цели по типовой маловысотной (порядка нескольких десятков метров) траектории с невысокой (М~0,6÷0,7) дозвуковой скоростью. В этой связи «Томагавк» равно как и другие дозвуковые КР характеризуются значительным подлетным временем, что не позволяет рассматривать их в качестве средств борьбы с критичными по времени мобильными целями; также они уязвимы от средств современной ПВО, например истребительной авиации.

[17]

С другой стороны, известен ряд сверхзвуковых КР, в числе которых следует выделить ракеты, способные совершать полет как на малой (порядка нескольких десятков метров), так и большой высоте (10÷15 и более километров). Например, противокорабельная крылатая ракета (ПКР) «Яхонт», особенностью которой является использование комбинированной траектории полета, включающей высотный маршевый и маловысотный конечный участки, причем на всех участках траектории полета ракеты поддерживается высокая сверхзвуковая скорость («Яхонт» - противокорабельная ракета нового поколения», «Военный парад», №2, 1998, с. 22-24). Универсальность по носителям (морские, наземные, воздушные), набор гибких, адаптивных к условиям применения траекторий, минимальное подлетное время (в т.ч. время в пределах зон возможного перехвата), повышенная поражающая способность БЧ (за счет высокой кинетической энергии КР у цели) позволили существенно повысить показатели боевой эффективности ПКР «Яхонт» по надводным целям по сравнению с аналогами.

[18]

Способ применения и описанное ниже устройство противокорабельной крылатой ракеты (ПКР) «Яхонт» по технической сущности является наиболее близким к объекту изобретения и поэтому рассмотрено авторами как ближайший аналог.

[19]

Боевые свойства и потенциальные возможности современных СКР обусловили интерес разработчиков ракетного оружия к созданию на их основе универсальных средств поражения как надводных, так и широкого класса наземных целей.

[20]

Однако «радиолокационная наблюдаемость» абсолютного большинства таких целей существенно отличается от надводных кораблей (НК) и упомянутых выше единичных береговых объектов, которые обладают очень высокой радиоконтрастностью.

[21]

В общем случае отражение радиоволн от большинства наземных объектов на порядки меньше. Это существенно затрудняет решение задач по самонаведению КР на такие цели (особенно это касается головок самонаведения (ГСН) сантиметрового диапазона (см-диапазона), которые при всех достоинствах характеризуются низким азимутальным разрешением).

[22]

Также следует отметить, что при всех достоинствах, присущих сверхзвуковым КР, их конструкция по сравнению с дозвуковыми более консервативна, что выражается в относительной сложности их «переоснащения под решение новых задач». Применительно к ПКР «Яхонт», учитывая высокую степень интеграции элементов силовой установки и ракеты в целом, выражается в необходимости их существенной доработки, вплоть до перепроектирования. Учитывая также, что приборный отсек ПКР «Яхонт» представляет собой центральное тело лобового воздухозаборника прямоточного воздушно-реактивного двигателя (ПВРД), доступ к БЧ дополнительно затруднен, и при необходимости ее замены на боевое снаряжение «под новые цели» (например, осколочную БЧ для поражения площадных наземных целей) требует выполнения дополнительного объема сборно-разборных работ.

[23]

Становится очевидным, что при поражении КР наземных целей активная радиолокационная ГСН см-диапазона чаще всего является «балластом», тогда как достаточно точно (порядка десятков метров) поражение любых наземных целей может быть решено посредством аппаратуры потребителя спутниковых навигационных систем (АПСН) ГЛОНАС или GPS, которые получили широкое распространение на КР, в том числе на ПКР (например, норвежская ПКР NSN является потребителем навигационной системы GPS, Jane′s Navj International, 2008, 36, p. 5).

[24]

Вместе с тем необходимо отметить, что активные радиолокационные ГСН современных ПКР представляют собой весьма сложные в техническом плане системы. Масса их может составлять десятки килограмм, а себестоимость десятки и сотни тысяч долларов.

[25]

Однако исключение ГСН из конструкции по рассмотренной выше причине сделает КР (сверхзвуковую КР) статически неустойчивой.

[26]

Целью изобретения является расширение области применения КР, в особенности сверхзвуковых КР (в том числе в части поражения распределенных на площади наземных целей и защищенных, в том числе углубленных наземных целей) при минимальном объеме переоборудования базового образца ракеты и рациональном использовании освобождающегося ресурса объема и массы.

[27]

Указанная цель достигается тем, что в способе поражения цели сверхзвуковой крылатой ракетой, оснащенной бортовой аппаратурой системы управления и боевым снаряжением, заключающемся в формировании полетного задания, содержащего точку прицеливания и параметры траектории ракеты, запуске и обеспечении полета ракеты в точку с заданными координатами, лежащую в области расположения цели, и срабатывании боевого снаряжения по достижении цели, дополнительно введено следующее:

[28]

при формировании полетного задания в бортовую аппаратуру системы управления вводят информацию о типах поражаемых целей, для поражения надводных кораблей и береговых радиоконтрастных целей из состава боекомплекта выбирают ракету, оснащенную сменной головкой самонаведения, а для поражения легкоуязвимых наземных или защищенных, в том числе заглубленных целей, выбирают ракету, оснащенную взаимозаменяемой головкой самонаведения с дополнительным боевым снаряжением, вносят изменения в циклограмму полета, причем при формировании полетного задания ракеты для поражения нескольких, распределенных на площади, легкоуязвимых наземных целей в качестве точки прицеливания выбирают координаты наиболее близкой к носителю цели, лежащей в плоскости стрельбы, а в траекторию полета ракеты вводят участок пикирования не более 15° к горизонту, осуществляют подрыв боевой части с запрограммированным недолетом до геометрического центра области расположения площадной легкоуязвимой цели, в то время как при формировании полетного задания для поражения прочных, в том числе заглубленных наземных целей, задают траектории с пикированием более 45° к горизонту.

[29]

Указанная задача также достигается тем, что в устройстве для осуществления способа поражения цели сверхзвуковой крылатой ракетой, содержащей планер, в приборном отсеке которого размещены блоки бортовой аппаратуры системы управления, боевое снаряжение, головка самонаведения, дополнительно введено следующее: головка самонаведения выполнена сменной с возможностью установки на посадочных местах передней части приборного отсека дополнительного боевого снаряжения в виде тонкостенного корпуса с размещенными в нем поражающими элементами или наконечника из материала с плотностью не ниже значения 5500 кг/м3, при этом дополнительное боевое снаряжение имеет идентичные с головкой самонаведения массово-центровочные характеристики, а основное боевое снаряжение выполнено фугасного типа.

[30]

Кроме того, дополнительное боевое снаряжение может содержать взрывчатое вещество, а основное боевое снаряжение может быть выполнено проникающего типа или осколочно-фугасного типа.

[31]

Технический результат изобретения состоит в том, что при минимальном объеме переоборудования как материальной части, так и программного обеспечения системы управления сверхзвуковой крылатой ракеты, СКР, изначально будучи разработанной для решения задач поражения преимущественно надводных радиоконтрастных целей, приобретает возможность эффективно поражать распределенные на площади, критичные по времени наземные цели, а также повысить эффективность воздействия на прочные, в том числе заглубленные наземные объекты.

[32]

Положительный эффект изобретения обеспечивается за счет использования высокой кинетической энергии СКР: в одном варианте - для усиления осколочного действия штатной (фугасной) БЧ ракеты, в другом варианте - для усиления проникающего действия БЧ (в том числе проникающей БЧ) ракеты.

[33]

На фиг. 1 (позиция 7) схематично изображено место расположения сменной головки самонаведения или дополнительного боевого снаряжения.

[34]

Предлагаемое устройство для осуществления способа поражения легкоуязвимых или защищенных целей наземных целей или радиоконтрастных целей, выполненное, например, на базе схемного решения КР «Яхонт», можно воплотить следующим образом (фиг. 1, 2 и 3).

[35]

Сверхзвуковая КР (1) выполнена по нормальной аэродинамической схеме и оснащена боевой частью (2), двигательной установкой с ПВРД (3), имеющей лобовой осесимметричный воздухозаборник (4). Основными агрегатами фюзеляжа СКР (1) являются центральное тело воздухозаборника (4), в котором размещены: аппаратура системы управления (5), упомянутые боевая часть (2) и ПВРД (3), топливный бак (6) тороцилиндрической формы.

[36]

СКР (1) в комплектации, предназначенной для поражения радиоконтрастных целей, снабжена сменной головкой самонаведения, а в комплектации, предназначенной для поражения легкоуязвимых или защищенных наземных целей, снабжена дополнительным боевым снаряжением.

[37]

На фиг. 2 схематично показано размещение кинетического (не содержащей взрывчатых веществ) дополнительного боевого снаряжения, выполненного в виде тонкостенного корпуса (8) с размещенными внутри поражающими (9) элементами (например, стальными шариками массой порядка нескольких грамм).

[38]

На фиг. 3 схематично показано размещение кинетического (не содержащей взрывчатых веществ) дополнительного боевого снаряжения, выполненного в виде тонкостенного корпуса с размещенным внутри наконечником (10) из материала с высокой (не ниже 7500 кг/м3) плотностью, выполненного, например, из стали, вольфрама или обедненного урана.

[39]

На фиг. 4 схематично показано размещение дополнительного боевого снаряжения, выполненного в виде тонкостенного корпуса с размещенным внутри наконечником (10) из материала с высокой (не ниже 7500 кг/м3) плотностью и содержащего взрывчатое вещество (11).

[40]

Схемы боевого применения СКР (1) представлена на фиг. 5-8.

[41]

Как сказано выше, подготовка СКР к поражению цели начинается на этапе сборки. После определения типа поражаемой цели и предназначения СКР ее оснащают либо сменной головкой самонаведения, либо дополнительным боевым снаряжением. При этом в зависимости от цели и назначения СКР вносят изменения в циклограмму полета.

[42]

На фиг. 5 представлена схема поражения легкоуязвимой, в том числе распределенной на площади (например, авиационная техника на открытых стоянках) наземной цели сверхзвуковой КР (1), содержащей дополнительное боевое снаряжение, выполненное в виде тонкостенного корпуса с размещенными внутри поражающими элементами, например стальными шариками.

[43]

Схема предусматривает:

[44]

- полет СКР (1) с высокой сверхзвуковой скоростью в область назначенной цели;

[45]

- выбор координат точки прицеливания в зависимости от наличия наиболее близкой к носителю цели (12), лежащей в плоскости стрельбы;

[46]

- введение в траекторию полета СКР маловысотного конечного участка или участок пологого (угол θ до 15°) пикирования, где θ - угол между горизонтом и вектором скорости СКР;

[47]

- осуществление подрыва боевой части в точке (14) с запрограммированным недолетом L до геометрического центра (13) области расположения распределенной на площади легкоуязвимой цели.

[48]

На фиг. 6 представлена схема поражения прочных, в том числе заглубленных наземных целей, например капониров (15), сверхзвуковой КР (1), содержащей дополнительное боевое снаряжение, выполненное в виде тонкостенного корпуса с размещенным внутри наконечником из материала с плотностью не ниже значения 5500 кг/м3. Схема предусматривает:

[49]

- полет СКР (1) с высокой сверхзвуковой скоростью в область назначенной цели;

[50]

- выбор координат точки прицеливания (геометрического центра цели);

[51]

- введение в траекторию полета СКР траекторию с отвесным (угол θ свыше 45° к горизонту) пикированием;

[52]

- преодоление защищенного слоя укрепления;

[53]

- осуществление подрыва боевой части.

[54]

При этом существуют вариации. Если заблаговременно известно об усиленных свойствах защищенного слоя поражаемой цели, возможно использование СКР с дополнительным боевым снаряжением, содержащим взрывчатое вещество. В этом случае схема поражения прочных, в том числе

[55]

- заглубленных наземных целей, например капониров (15), сверхзвуковой КР (1), содержащей дополнительное боевое снаряжение, выполненное в виде тонкостенного корпуса с размещенным внутри наконечником из материала с плотностью не ниже значения 5500 кг/м3 и содержащее взрывчатое вещество, дополнительно предусматривает:

[56]

- преодоление части защищенного слоя укрепления с помощью наконечника;

[57]

- подрыв взрывчатого вещества дополнительного боевого снаряжения с целью частичного разрушения (16) защитного слоя для облегчения преодоления основным боевым снаряжением (например, проникающей БЧ) всего защитного слоя (17) укрепления;

[58]

- осуществление подрыва боевой части в точке нахождения цели (18).

[59]

Решение, представленное в заявке, может быть практически реализовано.

[60]

Предварительные расчеты подтверждают увеличение эффективности поражения различных целей (в том числе распределенных на площади наземных целей и защищенных, в том числе углубленных наземных целей) при одновременном снижении затрат на доработку базового образца ракеты (например ПКР «Яхонт») и снижении конечной стоимости сверхзвуковой КР, предназначенной для поражения указанных в целей.

Как компенсировать расходы
на инновационную разработку
Похожие патенты