патент
№ RU 2548644
МПК B64C1/14

ДВЕРЬ ДЛЯ САМОЛЕТА (ВАРИАНТЫ) И МЕХАНИЗМ НАВЕСКИ ДВЕРИ

Авторы:
Гречишко Александр Федорович Тузиков Виталий Николаевич Кабанов Николай Серапионович
Все (4)
Номер заявки
2014120319/11
Дата подачи заявки
21.05.2014
Опубликовано
20.04.2015
Страна
RU
Как управлять
интеллектуальной собственностью
Реферат

Изобретение относится к авиационной технике и касается конструкции пассажирских дверей. Дверь содержит дверное полотно и механизм навески, содержащий два поворотных рычага, соединенные друг с другом жестким элементом, управляющую тягу с роликом, и водило, шарнирно соединенное первым концом с управляющей тягой. Дверь также содержит две качалки, шарнирно соединенные первыми концами с дверным полотном, и траверсу механизма навески, шарнирно соединенную со вторыми концами качалок, с первыми концами поворотных рычагов и со вторым концом управляющей тяги. При этом оси шарнирных соединений качалок с дверным полотном и с траверсой параллельны друг другу и расположены горизонтально, оси шарнирных соединений траверсы механизма навески с первыми концами поворотных рычагов и со вторым концом управляющей тяги, ось ролика, оси элементов шарнирных соединений на вторых концах поворотных рычагов и на втором конце водила параллельны друг другу и расположены вертикально. Дверь также может содержать механизм стабилизации и весовой компенсации, исполнительный механизм, механизм рукояток, исполнительный механизм со стопорным устройством. Достигается простота конструкции двери и повышение надежности запирания. 5 н. и 9 з.п. ф-лы, 27 ил.

Формула изобретения

1. Дверь для самолета, содержащая дверное полотно и механизм навески, содержащий, по меньшей мере, два поворотных рычага с элементами для образования шарнирных соединений на концах, соединенные друг с другом жестким элементом, управляющую тягу с роликом, установленным на первом конце для взаимодействия с направляющей, и водило с элементами для образования шарнирных соединений на концах, шарнирно соединенное первым концом с управляющей тягой, отличающаяся тем, что содержит, по меньшей мере, две качалки, шарнирно соединенные первыми концами с дверным полотном, и траверсу механизма навески, шарнирно соединенную со вторыми концами качалок, с первыми концами поворотных рычагов и со вторым концом управляющей тяги, при этом оси шарнирных соединений качалок с дверным полотном и с траверсой параллельны друг другу и расположены горизонтально, оси шарнирных соединений траверсы механизма навески с первыми концами поворотных рычагов и со вторым концом управляющей тяги, ось ролика, оси элементов шарнирных соединений на вторых концах поворотных рычагов и на втором конце водила параллельны друг другу и расположены вертикально.

2. Дверь для самолета по п.1, отличающаяся тем, что в ней на боковых сторонах дверного полотна жестко закреплены упоры и расположенные горизонтально оси, на которых установлены ролики.

3. Дверь для самолета, содержащая дверное полотно и механизм навески, содержащий, по меньшей мере, два поворотных рычага с элементами для образования шарнирных соединений на концах, соединенные друг с другом жестким элементом, управляющую тягу с роликом, установленным на первом конце для взаимодействия с направляющей, и водило с элементами для образования шарнирных соединений на концах, шарнирно соединенное первым концом с управляющей тягой, отличающаяся тем, что содержит, по меньшей мере, две качалки, шарнирно соединенные первыми концами с дверным полотном, и траверсу механизма навески, шарнирно соединенную со вторыми концами качалок, с первыми концами поворотных рычагов и со вторым концом управляющей тяги, при этом оси шарнирных соединений качалок с дверным полотном и с траверсой параллельны друг другу и расположены горизонтально, оси шарнирных соединений траверсы механизма навески с первыми концами поворотных рычагов и со вторым концом управляющей тяги, ось ролика, оси элементов шарнирных соединений на вторых концах поворотных рычагов и на втором конце водила параллельны друг другу и расположены вертикально, дверь также содержит механизм стабилизации и весовой компенсации, содержащий стабилизирующий вал, установленный горизонтально с возможностью поворота в опорах на дверном полотне, два рычага одним концом жестко соединенные с концами стабилизирующего вала и содержащие на вторых концах ролики, оси которых ему параллельны, газовую пружину, одним концом шарнирно соединенную с качалкой, установленной на стабилизирующем валу, рычаг, шарнирно соединенный концами со вторым концом газовой пружины и с траверсой, а также с одним концом серьги, шарнирно соединенной вторым концом с дверным полотном.

4. Дверь для самолета по п.3, отличающаяся тем, что в ней на боковых сторонах дверного полотна жестко закреплены упоры и расположенные горизонтально оси, на которых установлены ролики.

5. Дверь для самолета по п.3 или 4, отличающаяся тем, что в ней качалка, установленная на стабилизирующем валу и связанная с концом газовой пружины, содержит упор, выполненный с возможностью ограничения поворота стабилизирующего вала.

6. Дверь для самолета, содержащая дверное полотно и механизм навески, содержащий, по меньшей мере, два поворотных рычага с элементами для образования шарнирных соединений на концах, соединенные друг с другом жестким элементом, управляющую тягу с роликом, установленным на первом конце для взаимодействия с направляющей, и водило с элементами для образования шарнирных соединений на концах, шарнирно соединенное первым концом с управляющей тягой, отличающаяся тем, что содержит, по меньшей мере, две качалки, шарнирно соединенные первыми концами с дверным полотном, и траверсу механизма навески, шарнирно соединенную со вторыми концами качалок, с первыми концами поворотных рычагов и со вторым концом управляющей тяги, при этом оси шарнирных соединений качалок с дверным полотном и с траверсой параллельны друг другу и расположены горизонтально, оси шарнирных соединений траверсы механизма навески с первыми концами поворотных рычагов и со вторым концом управляющей тяги, ось ролика, оси элементов шарнирных соединений на вторых концах поворотных рычагов и на втором конце водила параллельны друг другу и расположены вертикально, дверь также содержит исполнительный механизм, содержащий корпус, установленный на дверном полотне, с установленным в корпусе с возможностью поворота валом ведущей качалки с жестко установленными на нем ведущей качалкой и качалкой привода траверсы, механизм рукояток, содержащий корпус, установленный на дверном полотне, главный вал, установленный в корпусе с возможностью поворота и жестко установленную на главном валу главную качалку, при этом ведущая качалка исполнительного механизма шарнирно соединена тягой с главной качалкой механизма рукояток, и качалка привода траверсы шарнирно соединена тягой с траверсой.

7. Дверь для самолета по п.6, отличающаяся тем, что в ней на боковых сторонах дверного полотна жестко закреплены упоры и расположенные горизонтально оси, на которых установлены ролики.

8. Дверь для самолета по п.6, отличающаяся тем, что в ней механизм рукояток содержит устройство для стопорения двери в положении, смещенном по вертикали, содержащее: валик, установленный с возможностью поворота в опорах, жестко закрепленных на дверном полотне, рычаг, закрепленный на одном конце валика, с роликом, ось которого параллельна оси валика, стопор, закрепленный на втором конце валика, упругий элемент, образующий упругую связь между валиком и одной из опор, при этом главная качалка механизма рукояток выполнена с прорезью для размещения в ней стопора при блокировке.

9. Дверь для самолета по любому из пп.6, 7, 8, отличающаяся тем, что в ней в дверном полотне выполнено окно, закрытое декомпрессионной створкой, имеющей возможность поворота между закрытым и открытым положениями, при этом исполнительный механизм содержит качалку управления декомпрессионной створкой, жестко установленную на валу ведущей качалки, при этом качалка управления декомпрессионной створкой шарнирно соединена тягой с декомпрессионной створкой.

10. Дверь для самолета, содержащая дверное полотно и механизм навески, содержащий, по меньшей мере, два поворотных рычага с элементами для образования шарнирных соединений на концах, соединенные друг с другом жестким элементом, управляющую тягу с роликом, установленным на первом конце для взаимодействия с направляющей, и водило с элементами для образования шарнирных соединений на концах, шарнирно соединенное первым концом с управляющей тягой, отличающаяся тем, что содержит, по меньшей мере, две качалки, шарнирно соединенные первыми концами с дверным полотном, и траверсу механизма навески, шарнирно соединенную со вторыми концами качалок, с первыми концами поворотных рычагов и со вторым концом управляющей тяги, при этом оси шарнирных соединений качалок с дверным полотном и с траверсой параллельны друг другу и расположены горизонтально, оси шарнирных соединений траверсы механизма навески с первыми концами поворотных рычагов и со вторым концом управляющей тяги, ось ролика, оси элементов шарнирных соединений на вторых концах поворотных рычагов и на втором конце водила параллельны друг другу и расположены вертикально, дверь также содержит исполнительный механизм со стопорным устройством, содержащий корпус, установленный на дверном полотне, с установленным в нем с возможностью поворота валом ведущей качалки, жестко установленные на валу ведущей качалки ведущую качалку, выполненную с выступом, и качалку привода траверсы, при этом стопорное устройство содержит вал стопора, установленный в корпусе исполнительного механизма с возможностью поворота с жестко установленным на нем стопором, качалку блокировки, установленную с возможностью поворота на валу стопора, выполненную с упором, упругий элемент, образующий упругую связь между стопором и качалкой блокировки, при этом стопор содержит плечо с выступом для блокировки выступа ведущей качалки и выступ для образования контакта с упором качалки блокировки, механизм рукояток, содержащий корпус, установленный на дверном полотне, с установленным в нем с возможностью поворота главным валом, выполненным с выступом, установленные на главном валу с возможностью поворота, главную качалку с вырезом и качалку управления блокировкой с упором, а также упругий элемент для образования контакта упора качалки управления блокировкой с выступом главного вала, при этом при запертой двери упор качалки управления блокировкой находится в контакте с выступом главного вала, и выступ главного вала расположен в вырезе главной качалки с зазором, обеспечивающим возможность поворота главного вала относительно главной качалки в его пределах, при этом ведущая качалка исполнительного механизма шарнирно соединена тягой с главной качалкой механизма рукояток, качалка привода траверсы шарнирно соединена тягой с траверсой, и качалка блокировки шарнирно соединена тягой с качалкой управления блокировкой механизма рукояток.

11. Дверь для самолета по п.10, отличающаяся тем, что в ней на боковых сторонах дверного полотна жестко закреплены упоры и расположенные горизонтально оси, на которых установлены ролики.

12. Дверь для самолета по п.10, отличающаяся тем, что в ней механизм рукояток содержит устройство для стопорения двери в положении, смещенном по вертикали, содержащее: валик, установленный с возможностью поворота в опорах, жестко закрепленных на дверном полотне, рычаг, закрепленный на одном конце валика, с роликом, ось которого параллельна оси валика, стопор, закрепленный на втором конце валика, упругий элемент, образующий упругую связь между валиком и одной из опор, при этом главная качалка механизма рукояток выполнена с прорезью для размещения в ней стопора при блокировке.

13. Дверь для самолета по любому из пп.10, 11, 12, отличающаяся тем, что в ней в дверном полотне выполнено окно, закрытое декомпрессионной створкой, имеющей возможность поворота между закрытым и открытым положениями, при этом стопор стопорного устройства содержит второе плечо с выполненным в нем вырезом, исполнительный механизм содержит качалку управления декомпрессионной створкой, выполненную с двумя плечами, установленную на валу ведущей качалки с возможностью ограниченного поворота, при этом на втором плече качалки управления декомпрессионной створкой установлен штифт, с возможностью его захвата вырезом во втором плече стопора при открытой декомпрессионной створке, также исполнительный механизм содержит упругий элемент, образующий упругую связь между качалкой управления декомпрессионной створкой и качалкой привода траверсы, при этом первое плечо качалки управления декомпрессионной створкой шарнирно соединено тягой с декомпрессионной створкой.

14. Механизм навески двери содержащий, по меньшей мере, два поворотных рычага с элементами для образования шарнирных соединений на концах, соединенные друг с другом жестким элементом, управляющую тягу с роликом, установленным на первом конце для взаимодействия с направляющей, и водило с элементами для образования шарнирных соединений на концах, шарнирно соединенное первым концом с управляющей тягой, отличающийся тем, что содержит траверсу, шарнирно соединенную с первыми концами поворотных рычагов и со вторым концом управляющей тяги, при этом оси шарнирных соединений траверсы механизма навески с первыми концами поворотных рычагов и со вторым концом управляющей тяги, ось ролика, оси элементов шарнирных соединений на вторых концах поворотных рычагов и на втором конце водила параллельны друг другу.

Описание

[1]

Группа изобретений относится преимущественно к авиационной технике, но может быть также применена в других областях.

[2]

Уровень техники

[3]

Основным критерием, определяющим конструкцию пассажирской двери магистрального самолета, является надежность и безопасность. Это значит, что конструкция должна исключать возможность самопроизвольного открытия двери в полете под действием вибраций, перегрузок или перепада давлений между атмосферой и внутренним пространством фюзеляжа; должна обеспечивать легкость и надежность отпирания, открытия, закрытия и запирания в условиях нормальной эксплуатации; должна обеспечивать легкость и надежность отпирания и открытия как изнутри так и снаружи в аварийной обстановке для обеспечения эвакуации пассажиров и экипажа в ограниченный промежуток времени, определяемый «Нормами летной годности самолетов» (НЛГС).

[4]

В последние десятилетия развитие концепции пассажирской двери магистрального самолета идет в направлении создания открываемой наружу двери так называемого «пробкового типа», т е двери, удерживаемой от открытия внутренним давлением, упиранием периметра двери на периметр проема, или точечными упорами, равномерно распределенными по периметру двери и опирающимися на площадки на периметре проема.

[5]

Известна конструкция двери для самолета (патентный документ US 4854010 А, МПК Е05Д 15/30, опубл. 08.08.1989), которая содержит дверное полотно, связанное с механизмом навески. Габаритные размеры дверного полотна по ширине и высоте превышают размеры закрываемого им проема, запирание двери производится упором по периметру в контур проема изнутри фюзеляжа. Отпирание двери производится смещением дверного полотна внутрь фюзеляжа и в сторону навески и его поворотом в горизонтальной плоскости, достаточным для выхода дверного полотна через проем, ширина которого меньше ширины дверного полотна и при открытых клапанах в верхней и нижних частях дверного полотна для уменьшения габаритной высоты дверного полотна и открываемая поворотом дверного полотна наружу относительно вертикальной оси до полного открытия проема, обеспечиваемым механизмом навески.

[6]

Дверь также содержит механизм рукояток для открытия клапанов в верхней и нижней частях двери и ее смещения внутрь фюзеляжа с одновременным ее поворотом в горизонтальной плоскости посредством механизма навески. Запирание двери осуществляется с помощью исполнительного механизма и управляющего им механизма рукояток.

[7]

Клапаны также выполняют функцию декомпрессионной створки для исключения создания опасного перепада давлений между атмосферой и внутренним объемом фюзеляжа при открытии и закрытии двери.

[8]

Механизм навески указанной двери содержит короткие изогнутые рычаги (водила) с элементами для образования шарнирного соединения на концах, соединенные между собой жестким элементом, поворотные рычаги с элементами для образования шарнирного соединения на каждом конце, также соединенные между собой жестким элементом и, шарнирно соединенные первыми концами с дверным полотном, а вторыми со вторыми концами водил, управляющую тягу с роликом, установленным на одном конце, размещенным в “S”-образной направляющей, закрепленной на проеме фюзеляжа, с возможностью перемещения по траектории, обеспечиваемой этой направляющей, и шарнирно соединенную вторым концом с дверным полотном, при этом управляющая тяга шарнирно соединена с одним из водил элементом на его продолжении.

[9]

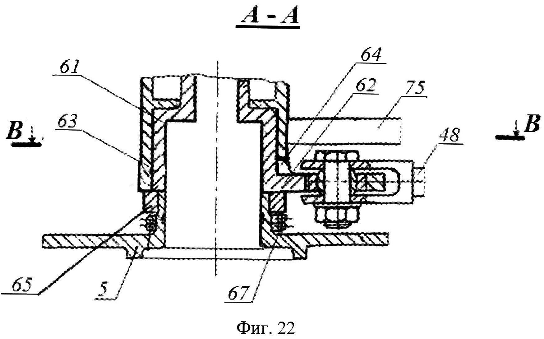
Недостатком представленной конструкции является ее сложность, - необходимость движения дверного полотна при открытии внутрь фюзеляжа, что может быть затруднено в аварийной ситуации, а также недостаточная надежность запирания двери.

[10]

Вышеуказанная дверь для самолета и ее механизм навески выбраны в качестве прототипа заявленной группы изобретений.

[11]

Известны также двери, сходные по схеме запирания и открытия и отличающиеся некоторыми деталями механизмов управления и навески (патенты GB 2128672, МПК В64С 1/14, опубл. 13.10.1982; US 4.180943, МПК В64С 1/14, опубл. 15.09.1978).

[12]

Также известна конструкция двери (патент US 4720065 кл. В64С 1/14, 19.01.1988), которая содержит дверное полотно, связанное с механизмом навески, запираемая и отпираемая вертикальным смещением дверного полотна относительно закрываемого им проема и открываемая его плоско-параллельным смещением.

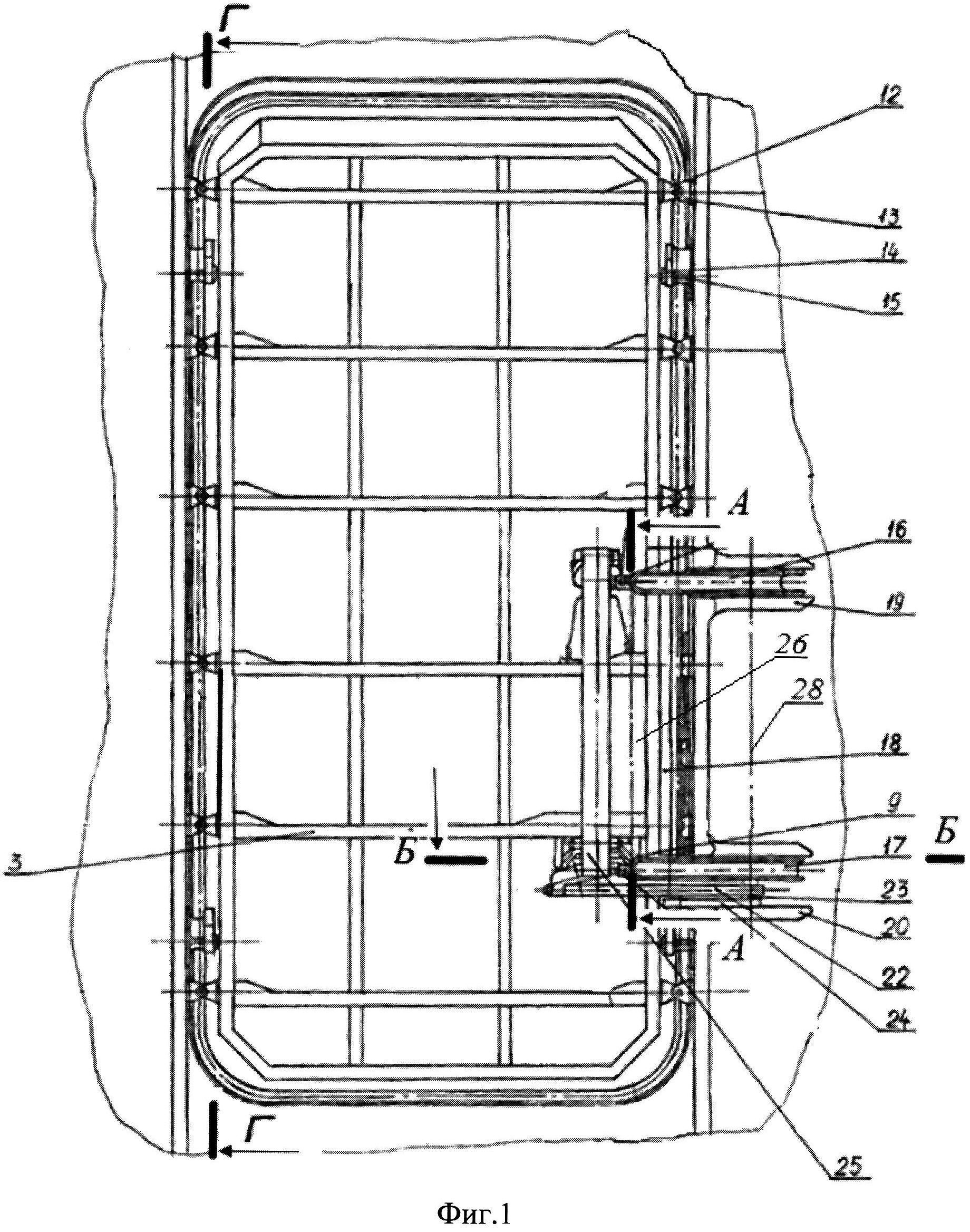
[13]

Дверь также содержит механизм рукояток для осуществления вертикального смещения дверного полотна и открытия створки на его верхней кромке для упрощения выхода верхней кромки двери из проема при подъеме. Эта створка также выполняет функции декомпрессионной. Дверь также содержит механизм стабилизации, предотвращающий ее перекос в проеме при вертикальном смещении, состоящий из вала, установленного в опорах дверного полотна, имеющего на концах ролики, которые могут перемещаться в ловителях, установленных в проеме фюзеляжа. Дверь также содержит силовой привод аварийного открытия двери, представляющий собой пневмоцилиндр, создающий усилие на поворот кулисы на открытие двери.

[14]

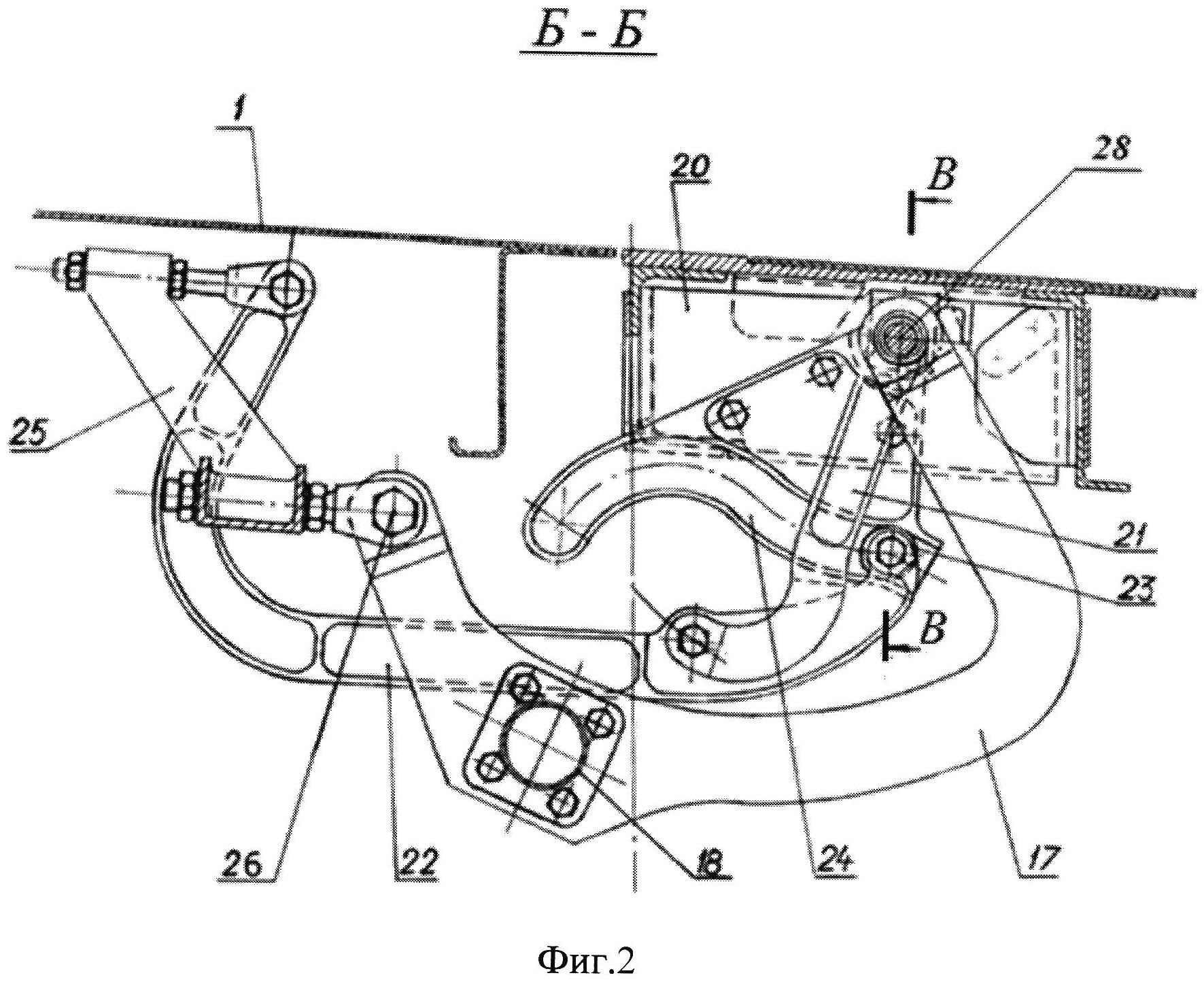
Механизм навески состоит из кулисы и системы рычагов и тяг, образующих с кулисой параллелограммный механизм, обеспечивающий плоско-параллельное движение дверного полотна при его выходе из проема после вертикального смещения, обеспечиваемого связью дверного полотна с кулисой посредством двух качалок.

[15]

Недостатком приведенной конструкции является ненадежность способа открытия двери плоско - параллельным смещением дверного полотна при возможных аварийных ситуациях без использования силового привода усложняющего конструкцию.

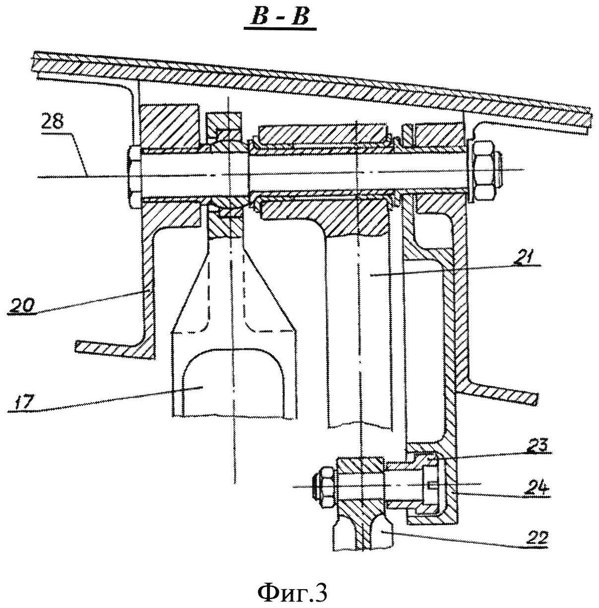
[16]

Раскрытие группы изобретений

[17]

Технической задачей, на решение которой направлена заявленная группа изобретений является создание вариантов двери для самолета и ее механизма навески, обладающих простотой конструкции, исключающих движение дверного полотна внутрь при открытии и повышающих надежность запирания.

[18]

Поставленная задача решается конструкцией двери для самолета, содержащей дверное полотно и механизм навески содержащий, по меньшей мере, два поворотных рычага с элементами для образования шарнирных соединений на каждом конце, соединенные друг с другом жестким элементом, управляющую тягу, с роликом, установленным на первом конце, для взаимодействия с направляющей, и водило с элементами для образования шарнирных соединений на каждом конце, шарнирно соединенное первым концом с управляющей тягой, при этом дверь содержит, по меньшей мере, две качалки шарнирно соединенные первыми концами с дверным полотном и траверсу механизма навески, шарнирно соединенную со вторыми концами качалок, с первыми концами поворотных рычагов и со вторым концом управляющей тяги, оси шарнирных соединений качалок с дверным полотном и с траверсой параллельны друг другу и расположены горизонтально, оси шарнирных соединений траверсы механизма навески с первыми концами поворотных рычагов и со вторым концом управляющей тяги, ось ролика, оси элементов шарнирных соединений на вторых концах поворотных рычагов и на втором конце водила параллельны друг другу и расположены вертикально.

[19]

Для взаимодействия дверного полотна с фюзеляжем при запирании дверь на боковых сторонах дверного полотна могут быть жестко закреплены упоры и расположенные горизонтально оси, на которых установлены ролики.

[20]

Для исключения перекосов дверного полотна и его весовой компенсации при вертикальном перемещении, дверь может содержать механизм стабилизации и весовой компенсации (2-й вариант изобретения), содержащий стабилизирующий вал, установленный горизонтально с возможностью поворота в опорах на дверном полотне, два рычага одним концом жестко соединенные с концами стабилизирующего вала и содержащие на вторых концах ролики, оси которых ему параллельны, газовую пружину, одним концом шарнирно соединенную с качалкой, установленный на стабилизирующем валу, рычаг шарнирно соединенный концами со вторым концом газовой пружины и с траверсой, а также с одним концом серьги, шарнирно соединенной вторым концом с дверным полотном, при этом качалка, установленная на стабилизирующем валу и связанная с концом газовой пружины, может содержать упор выполненный с возможностью ограничения поворота стабилизирующего вала.

[21]

Для осуществления подъема дверного полотна при отпирании дверь может содержать исполнительный механизм и управляющий им механизм рукояток (3-й вариант изобретения), при этом исполнительный механизм, содержит корпус, установленный на дверном полотне, с установленным в корпусе с возможностью поворота валом ведущей качалки с жестко установленными на нем ведущей качалкой и качалкой привода траверсы; механизм рукояток, содержит корпус, установленный на дверном полотне, главный вал установленный в корпусе с возможностью поворота и жестко установленную на главном валу главную качалку,

[22]

при этом ведущая качалка исполнительного механизма шарнирно соединена тягой с главной качалкой механизма рукояток и качалка привода траверсы шарнирно соединена тягой с траверсой.

[23]

Для фиксации дверного полотна в положении смещенном в верх, механизм рукояток содержит устройство для стопорения двери в положении смещенном по вертикали, содержащее валик, установленный с возможностью поворота в опорах, жестко закрепленных на дверном полотне, рычаг, закрепленный на одном конце валика, с роликом ось которого параллельна оси валика, стопор, закрепленный на втором конце валика, упругий элемент, образующий упругую связь между валиком и одной из опор, при этом главная качалка механизма рукояток содержит прорезь, для ее блокировки стопором.

[24]

Для исключения опасного перепада давлений между внутренним пространством фюзеляжа и атмосферой в момент открытия и закрытия в дверном полотне может быть выполнено окно, закрываемое декомпрессионной створкой имеющей возможность поворота между закрытым и открытым положениями, при этом исполнительный механизм содержит качалку управления декомпрессионной створкой, жестко установленную на валу ведущей качалки, при этом качалка управления декомпрессионной створкой шарнирно соединена тягой с декомпрессионной створкой.

[25]

Для осуществления подъема дверного полотна при отпирании и его блокировки в запертом положении дверь может содержать исполнительный механизм со стопорным устройством и управляющий им механизм рукояток (4-й вариант изобретения), при этом исполнительный механизм со стопорным устройством, содержит корпус, установленный на дверном полотне с установленным в нем с возможностью поворота валом ведущей качалки, жестко установленные на валу ведущей качалки ведущую качалку, выполненную с выступом и качалку привода траверсы, при этом стопорное устройство содержит вал стопора, установленный в корпусе исполнительного механизма с возможностью поворота с жестко установленным на нем стопором, качалку блокировки, установленную с возможностью поворота на валу стопора, выполненную с упором, упругий элемент, образующий упругую связь между стопором и качалкой блокировки, при этом стопор содержит плечо с выступом для блокировки выступа ведущей качалки, и выступ для образования контакта с упором качалки блокировки, механизм рукояток содержит корпус, установленный на дверном полотне с установленным в нем с возможностью поворота главным валом, выполненным с выступом, установленные на главном валу с возможностью поворота, главную качалку с вырезом и качалку управления блокировкой с упором, а также упругий элемент для образования контакта упора качалки управления блокировкой с выступом главного вала, при этом, при запертой двери, упор качалки управления блокировкой находится в контакте с выступом главного вала, и выступ главного вала расположен в вырезе главной качалки с зазором, обеспечивающим возможность поворота главного вала относительно главной качалки в его пределах, при этом ведущая качалка исполнительного механизма шарнирно соединена тягой с главной качалкой механизма рукояток, качалка привода траверсы шарнирно соединена тягой с траверсой, и качалка блокировки шарнирно соединена тягой с качалкой управления блокировкой механизма рукояток.

[26]

Для исключения опасного перепада давлений между внутренним пространством фюзеляжа и атмосферой в момент открытия и закрытия на дверном полотне может быть выполнено окно, закрываемое декомпрессионной створкой, имеющей возможность поворота между закрытым и открытым положениями, при этом может быть применена блокировка декомпрессионной створки в ее открытом положении при не запертой двери и разблокировка с полным закрытием створки после запирания двери одновременно с блокировкой дверного полотна при запертой двери, при этом стопор стопорного устройства содержит второе плечо с выполненным в нем вырезом, исполнительный механизм содержит качалку управления декомпрессионной створкой, выполненную с двумя плечами, установленную на валу ведущей качалки с возможностью ограниченного поворота, при этом на втором плече качалки управления декомпрессионной створкой установлен штифт, с возможностью его захвата вырезом во втором плече стопора при открытой декомпрессионной створке, также исполнительный механизм содержит упругий элемент, образующий упругую связь между качалкой управления декомпрессионной створкой и качалкой привода траверсы, при этом первое плечо качалки управления декомпрессионной створкой шарнирно соединено тягой с декомпрессионной створкой.

[27]

Во всех вариантах использован механизм навески двери, содержащий, по меньшей мере, два поворотных рычага с элементами для образования шарнирных соединений на каждом конце, соединенные друг с другом жестким элементом, управляющую тягу, с роликом, установленным на первом конце, для взаимодействия с направляющей, и водило с элементами для образования шарнирных соединений на каждом конце, шарнирно соединенное первым концом с управляющей тягой, траверсу шарнирно соединенную с первыми концами поворотных рычагов и со вторым концом управляющей тяги, при этом оси шарнирных соединений траверсы механизма навески с первыми концами поворотных рычагов и со вторым концом управляющей тяги, ось ролика, оси элементов шарнирных соединений на вторых концах поворотных рычагов и на втором конце водила параллельны друг другу.

[28]

Техническим результатом, достигаемым при использовании заявленной группы изобретений является простота конструкции двери для самолета и повышение надежности запирания.

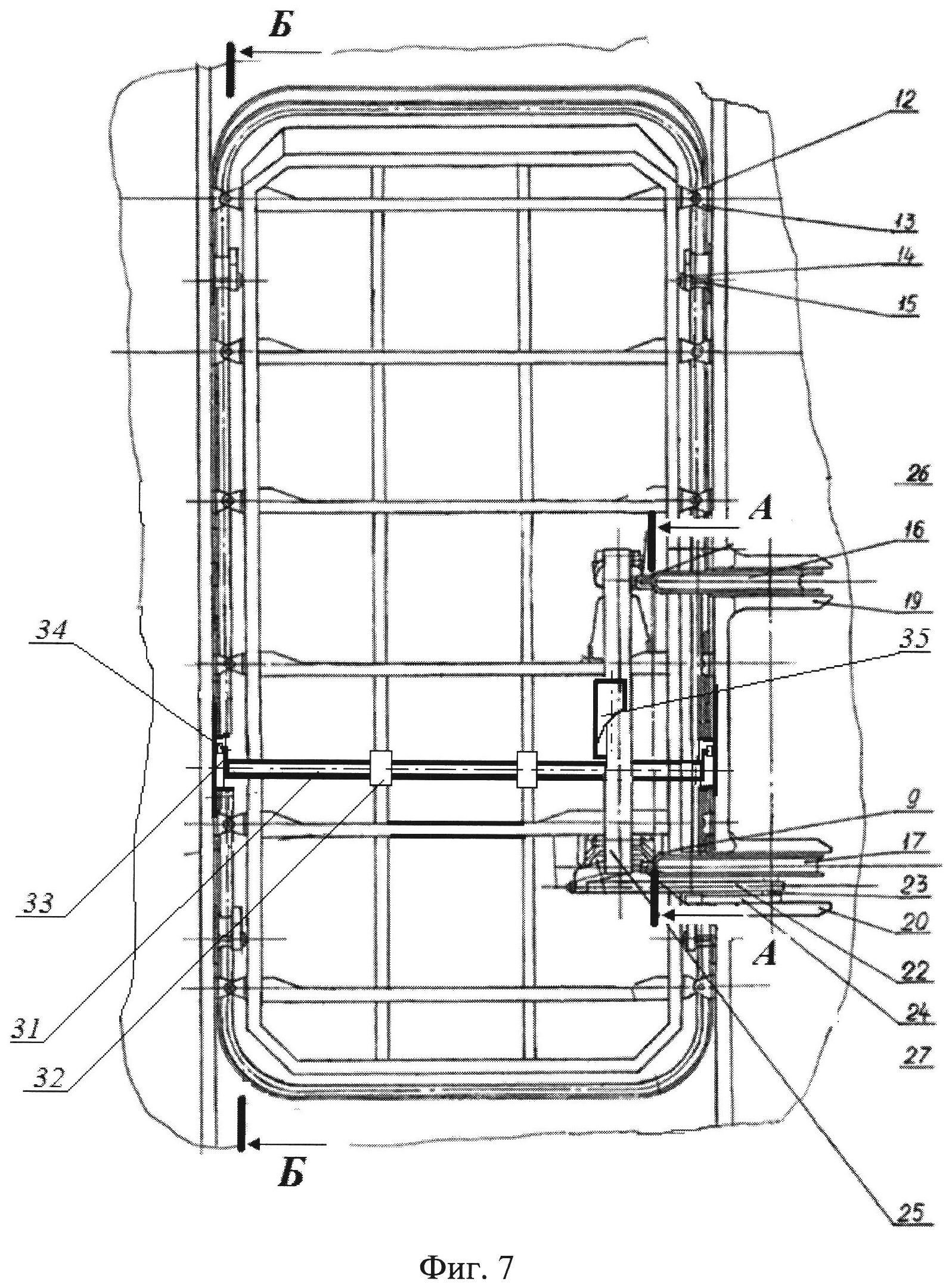
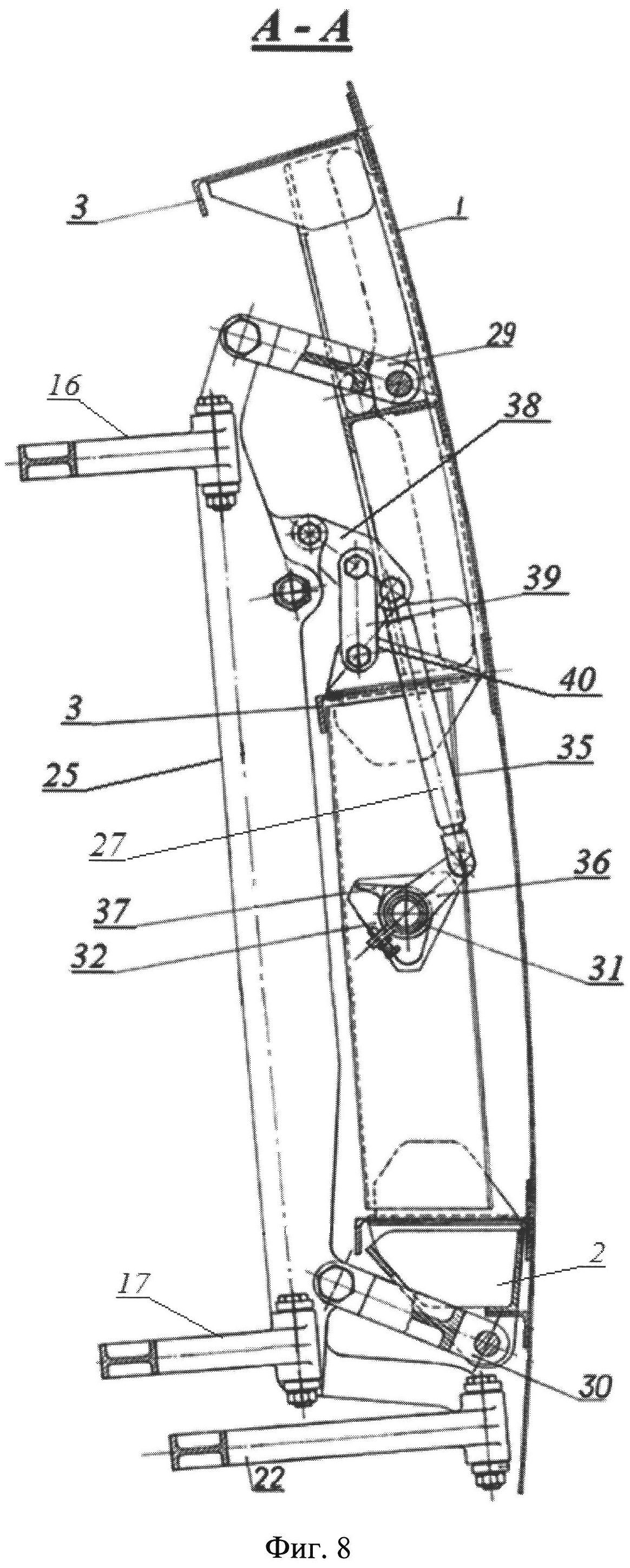
[29]

Краткое описание чертежей

[30]

Для пояснения сущности группы изобретений используются следующие графические материалы:

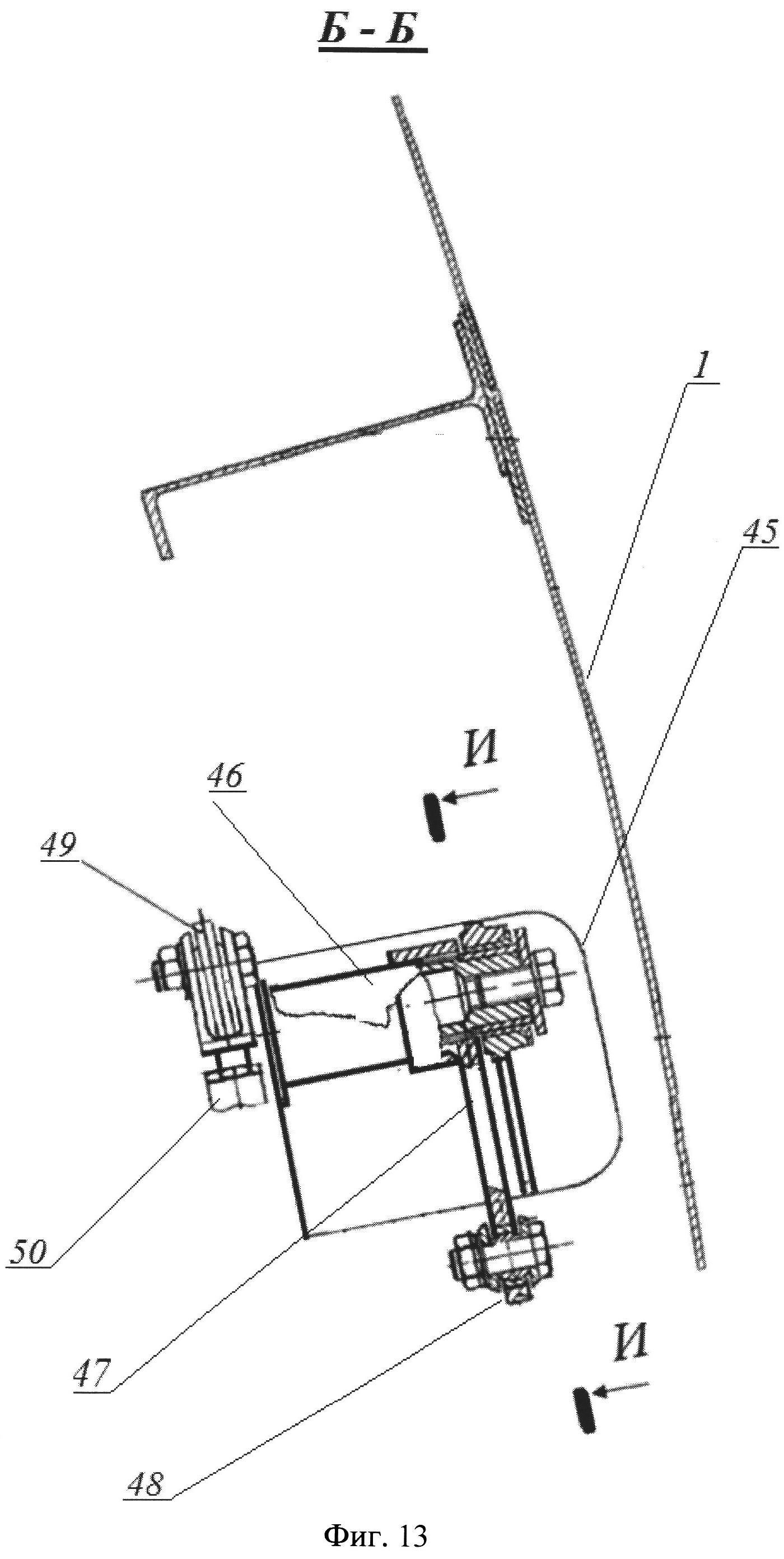
[31]

фиг. 1 Дверь, базовый вариант (вид изнутри фюзеляжа);

[32]

фиг. 2 Механизм навески (А-А фиг. 1);

[33]

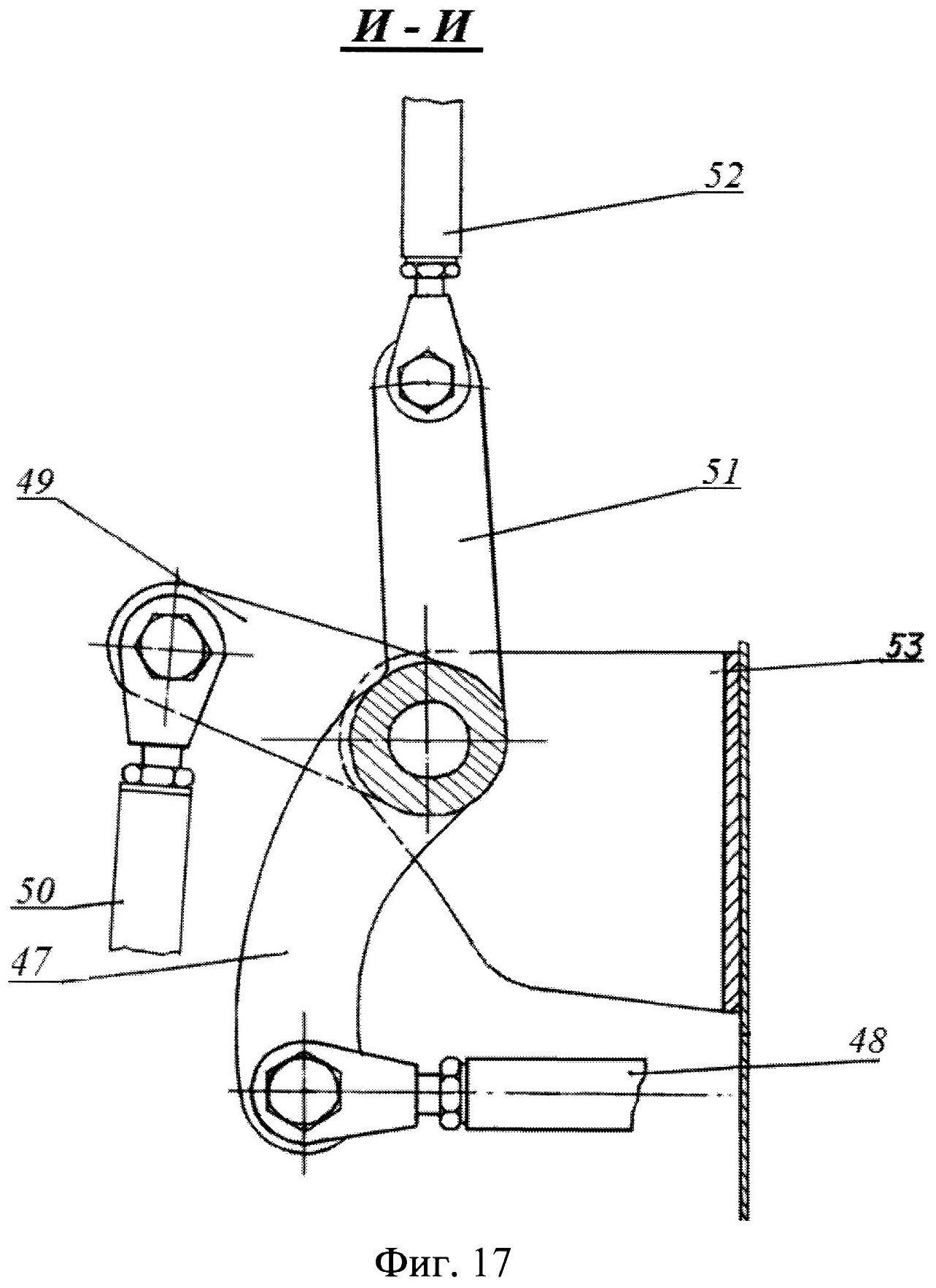
фиг. 3 Соединения элементов механизма навески с фюзеляжем (В-В фиг. 2);

[34]

фиг. 4 Соединение механизма навески с дверным полотном (А-А фиг. 1);

[35]

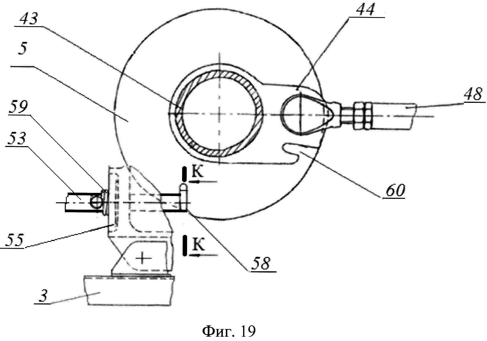
фиг. 5 Кинематическая схема механизма навески;

[36]

фиг. 6 Элементы взаимодействия дверного полотна с фюзеляжем (Г-Г фиг. 1);

[37]

фиг. 7 Дверь с механизмом стабилизации и весовой компенсации (вид изнутри фюзеляжа);

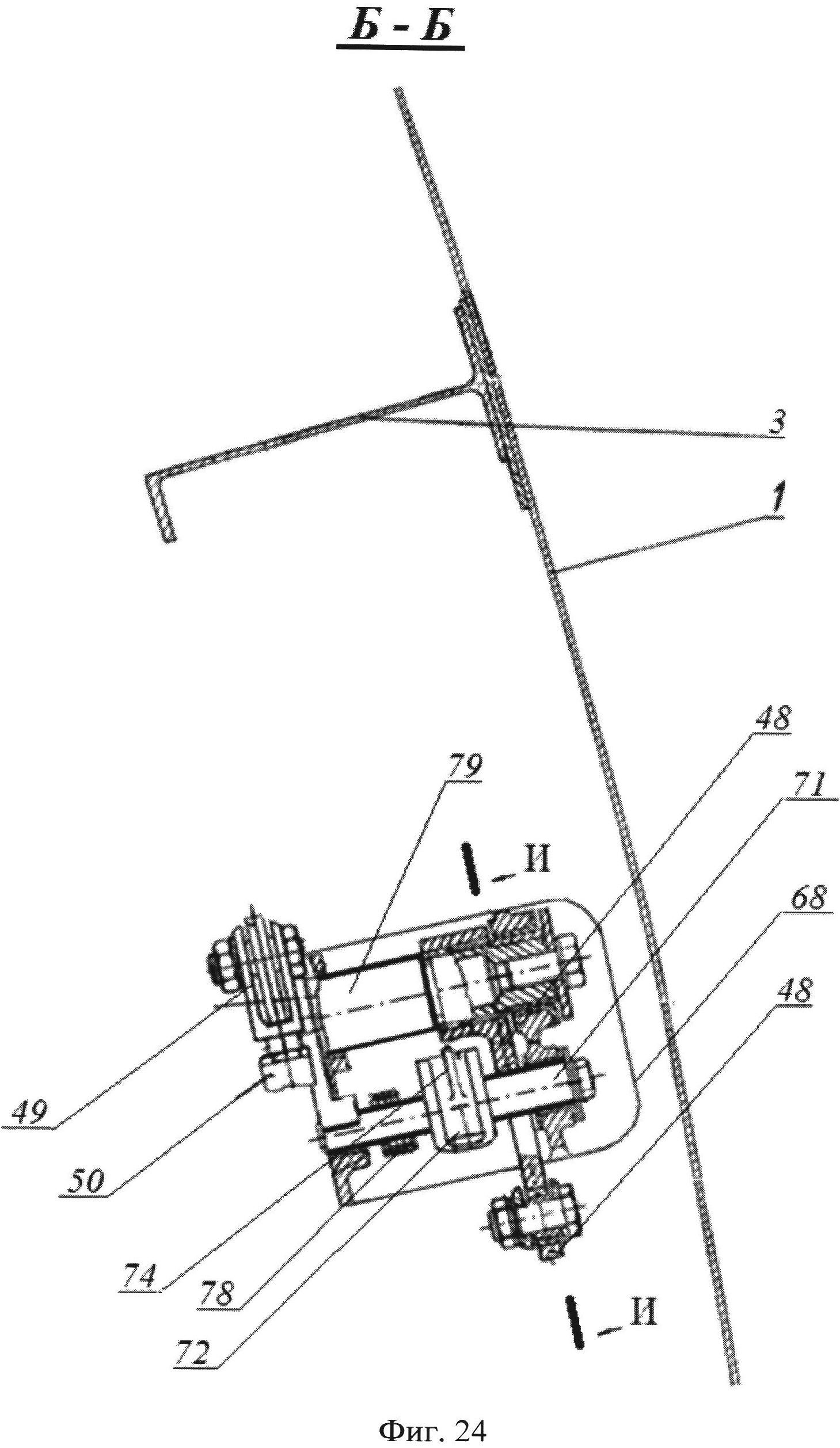
[38]

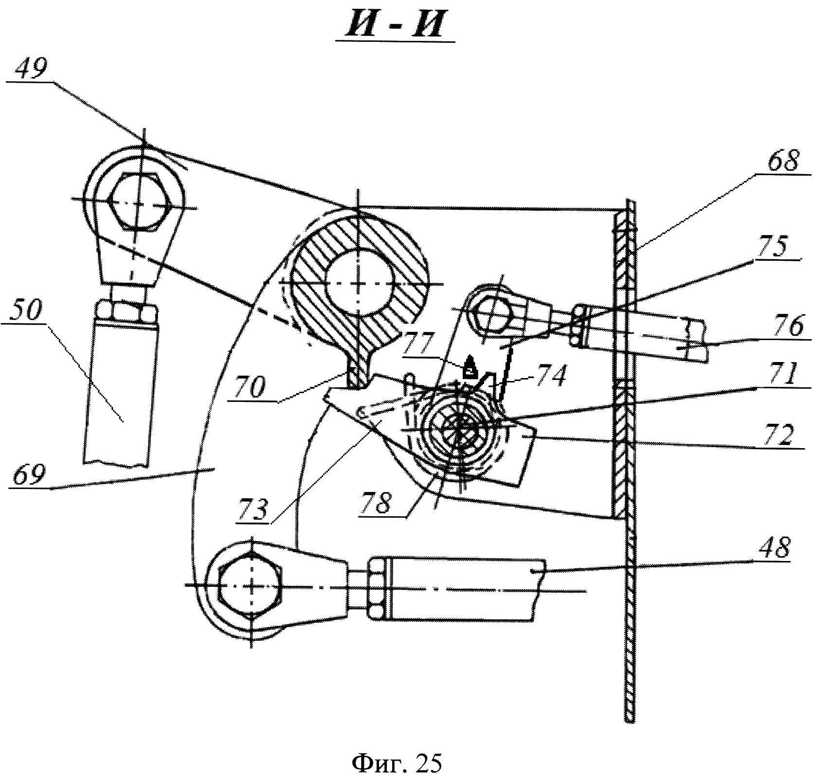
фиг. 8 Механизм стабилизации и весовой компенсации (А-А фиг. 7);

[39]

фиг. 9 Элементы взаимодействия механизма стабилизации и весовой компенсации с фюзеляжем (Б-Б фиг. 7);

[40]

фиг. 10 Дверь с исполнительным механизмом, и управляющим им механизмом рукояток для подъема дверного полотна при отпирании (вид изнутри фюзеляжа);

[41]

фиг. 11 Механизм рукояток (А-А фиг. 10);

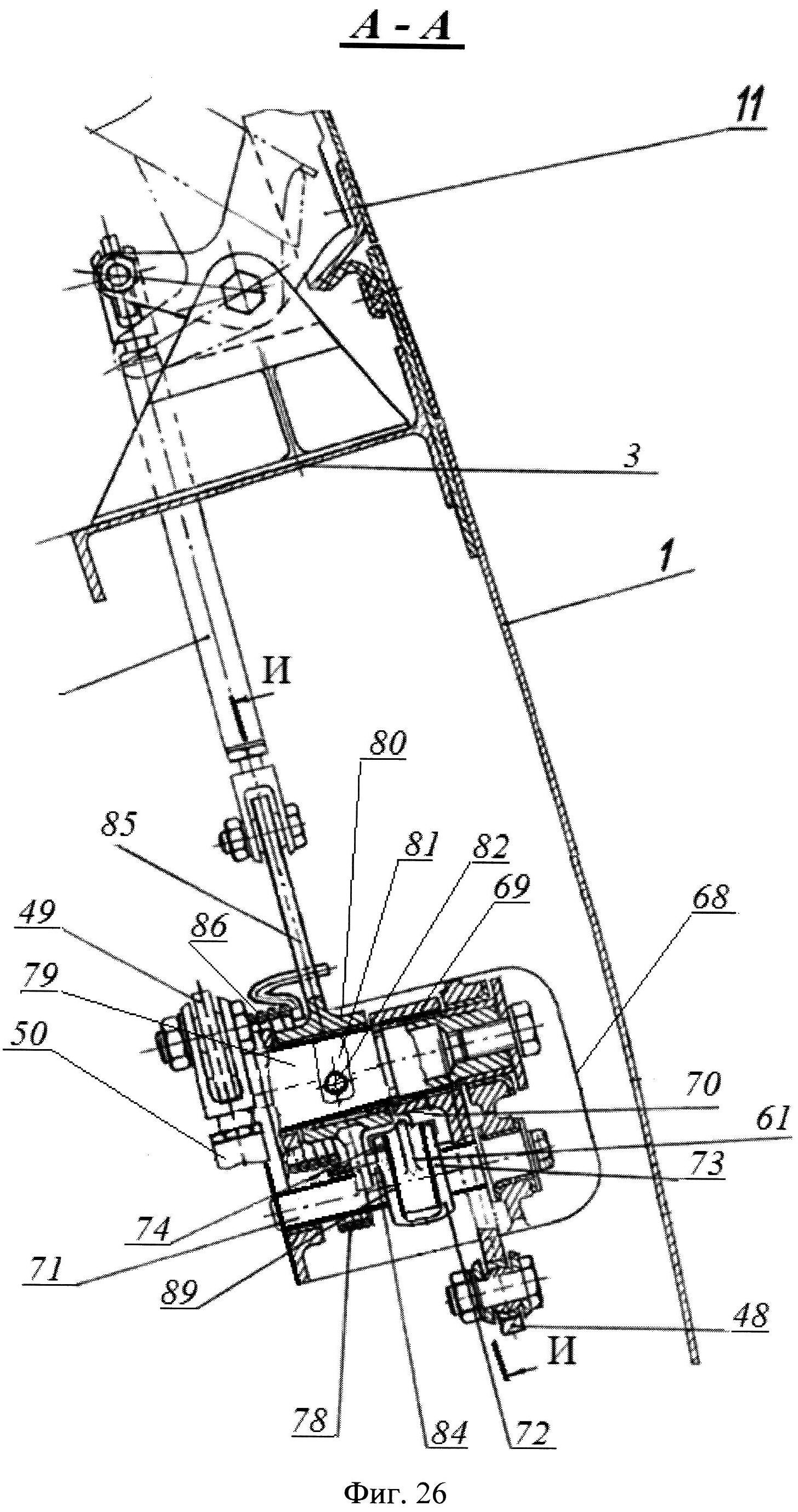
[42]

фиг. 12 В-В фиг. 11;

[43]

фиг. 13 Исполнительный механизм (Б-Б фиг. 10);

[44]

фиг. 14 И-И фиг. 13;

[45]

фиг. 15 Дверь с декомпрессионной створкой, исполнительным механизмом и управляющим им механизмом рукояток для подъема дверного полотна при отпирании (вид изнутри фюзеляжа);

[46]

фиг. 16 Исполнительный механизм ля управления подъемом двери и декомпрессионной створкой (А-А фиг. 15);

[47]

фиг. 17 И-И фиг. 16;

[48]

фиг. 18 Дверь с исполнительным механизмом и управляющим им механизмом рукояток содержащим устройство для стопорения дверного полотна в положении смещенным по вертикали, для подъема дверного полотна при отпирании (вид изнутри фюзеляжа);

[49]

фиг. 19 Механизм рукояток с устройством для стопорения дверного полотна в положении смещенном вверх;

[50]

фиг. 20 К-К фиг. 19 при застопоренном положении;

[51]

фиг. 21 Элементы взаимодействия с фюзеляжем устройства для стопорения дверного полотна в положении смещенным по вертикали (А-А фиг. 18);

[52]

фиг. 22 Механизм рукояток для управления подъемом дверного полотна, блокировки его в запертом положении и блокировки декомпрессионной створки в открытом положении при незапертой двери (А-А Фиг. 10);

[53]

фиг. 23 В-В фиг. 22;

[54]

фиг. 24 Исполнительный механизм со стопорным устройством для подъема двери и ее блокировки в запертом положении (Б-Б фиг. 10);

[55]

фиг. 25 И-И фиг. 24;

[56]

фиг. 26 Исполнительный механизм со стопорным устройством для подъема двери, ее блокировки в запертом положении и блокировки декомпрессионной створки в открытом положении при незапертой двери (А-А фиг. 15);

[57]

фиг. 27 И-И фиг. 26.

[58]

Осуществление группы изобретений

[59]

Единым техническим замыслом заявленной группы изобретений (базовым вариантом) является дверь, отпираемая вертикальным смещением дверного полотна (1) относительно закрываемого им проема фюзеляжа, открываемая его поворотом относительно двух осей - оси (28) соединения поворотных рычагов механизма навески (17, 19) с фюзеляжем и оси (26) шарнирного соединения поворотных рычагов механизма навески с дверным полотном, посредством траверсы (25), и качалок (29, 30) обеспечивающих ом вертикальное перемещение дверного полотна при отпирании и запирании.

[60]

Дверное полотно (1) содержит, по меньшей мере, два элемента шарнирных соединений (2), оси которых параллельны друг другу, для соединения с элементами механизма навески (5), балки (3) и диафрагмы (фиг. 1, 5).

[61]

Элементом шарнирного соединения является присоединенная деталь или часть конструкции в которой выполнено отверстие для образования шарнирного соединения с другим элементом шарнирного соединения, посредством пальца, с возможностью поворота.

[62]

Механизм навески содержит совокупность элементов, для осуществления кинематической связи между дверным полотном (1) и неподвижным проемом фюзеляжа (фиг. 1, 2, 3, 4, 5).

[63]

Механизма навески содержит поворотные рычаги (16, 17), соединенные жестким элементом (18), содержащие на первых и вторых концах элементы для создания шарнирных соединений, оси которых параллельны друг другу, управляющую тягу (22), содержащую ролик (23) на первом конце и элемент для создания шарнирного соединения на втором, при этом оси указанного элемента и ролика параллельны друг другу, водило (21) шарнирно соединенное одним концом с управляющей тягой (22) в промежутке между ее концами и содержащее на втором конце элемент цилиндрического шарнирного соединения ось которого совпадает с с осью соединения поворотных рычагов (16, 17) с фюзеляжем, и траверсу (25).

[64]

Траверса (25) шарнирно соединена с первыми концами поворотных рычагов (16, 17) и с первым концом управляющей тяги (22).

[65]

При соединении двери с проемом фюзеляжа (фиг. 2, 3) вторые концы поворотных рычагов (16, 17) шарнирно соединены с кронштейнами (19, 20), закрепленными на фюзеляже, (фиг. 3);второй конец водила (21) шарнирно соединен с кронштейном (20), закрепленным на фюзеляже, с возможностью поворота вокруг первой оси (28), независимо от о поворота поворотных рычагов (16, 17); ролик (23) управляющей тяги (22) для взаимодействия, установлен в криволинейную направляющую (24), закрепленную на фюзеляже, с возможностью перемещения ролика по криволинейной траектории, обеспечивающейся профилем направляющей.

[66]

Дверь также содержит качалки (29, 30), шарнирно соединенные первыми концами с элементами шарнирных соединения на дверном полотне (2), а вторыми с траверсой (25), что обеспечивает связь дверного полотна (1) с механизмом навески и возможность его вертикального перемещения относительно неподвижного механизма навески (фиг. 1, 4).

[67]

В описании изобретения под качалками подразумеваются элементы конструкции, совершающие возвратно-поворотное движение и содержащие элементы для создания шарнирных соединений.

[68]

Оси шарнирных соединений качалок с дверным полотном (6) и с траверсой (7) параллельны друг другу и расположены горизонтально.

[69]

Оси шарнирных соединений траверсы механизма навески с первыми концами поворотных рычагов (8) и со вторым концом управляющей тяги (9), ось ролика, оси элементов шарнирных соединений на вторых концах поворотных рычагов и на втором конце водила параллельны друг другу и расположены вертикально.

[70]

По кинематической схеме (фиг. 5) механизм навески (5) представляет собой четырехзвенный механизм, звеньями которого являются: траверса (25), жестко связанные между собой поворотные рычаги (16, 17), водило (21) и управляющая тяга (22), управляемая роликом (23), перемещающимся по криволинейной направляющей (24).

[71]

В проекции на плоскость, перпендикулярную осям элементов цилиндрических шарнирных соединений на концах поворотных рычагов (16, 17) отображаются:

[72]

- точка «О» - первая ось (28) вращения;

[73]

- точка «А» - вторая ось (26) вращения;

[74]

- точка «D» - проекция оси ролика (23) в положении соответствующем закрытой двери;

[75]

- точка «D1» - проекция оси ролика (23) в положении соответствующем открытой двери;

[76]

- прямая «АО» - поворотные рычаги (16, 17),

[77]

- прямая «ВО» - водило (21), где «В» - точка соединения с управляющей тягой;

[78]

- линия «CBD» - управляющая тяга (22);

[79]

- прямая «АС» - траверса (25), где «А» - точка соединения с рычагами(16, 17), «С» -с управляющей тягой (22);

[80]

- линия «D, E, D1». траектория проекции оси ролика (23) при его перемещении;

[81]

- линия «DE» - дуга постоянного радиуса (R=const) с центром в точке «О».

[82]

При движении проекции оси ролика (23), по дуге «DE», часть управляющей тяги (22) «BD», водило «ВО» и радиус дуги «R» образуют треугольник, длины сторон которого не изменяются в процессе перемещения ролика (23).

[83]

Таким образом, водило (21), управляющая тяга (22), а вместе с ними и рычаги (16, 17), траверса (25) и дверное полотно (1) являются единой жесткой системой, имеющей возможность поворота относительно точки «О» (первой оси вращения (28).

[84]

После прохождения проекцией оси ролика (23) точки «Е», расстояние между ней и первой осью вращения (28) увеличивается, что вызывает поворот управляющей тяги (24) относительно оси шарнирного соединения, соединяющего ее с водилом (21), что вызывает дополнительный поворот траверсы (25), а с ней и дверного полотна (1) вокруг второй оси вращения (26).

[85]

Таким образом, открытие двери происходит в две фазы: сначала поворот вокруг первой оси вращения (28) - выход наружу из проема фюзеляжа, затем одновременный поворот вокруг обеих осей до полного открытия.

[86]

Форма линии «E, D1» определяется методами конструкторского моделирования из условия не задевания боковой кромкой двери наружной поверхности фюзеляжа со стороны навески и ее поворота до полного открытия.

[87]

Использование заявленных вариантов двери для самолета исключает необходимость перемещения дверного полотна внутрь фюзеляжа, а приведенная форма направляющей в совокупности с элементами механизма навески реализует кинематическую схему такого перемещения.

[88]

Очевидно, что приведенная конструкция механизма навески и его связь с дверным полотном более проста, чем у выбранного прототипа и повышает надежность запирания,, поскольку для взаимодействия дверного полотна с фюзеляжем при запирании (фиг. 6), на боковых сторонах дверного полотна (1) могут быть жестко закреплены упоры (12) и оси роликов, параллельные горизонтальной плоскости с установленными на них роликами (14).

[89]

При запертой двери, упоры (12) опираются на площадки (13), неподвижно закрепленные на фюзеляже, а ролики (14) размещаются в направляющих желобах (15) проема фюзеляжа, с возможностью перемещения.

[90]

Отпирание двери осуществляется смещением дверного полотна (1) вверх относительно траверсы (25) до положения, при котором направляющие ролики (14) выходят из желобов (15), а упоры сходят с опорных площадок (13) и не препятствуют открыванию двери поворотом дверного полотна относительно первой (28) и второй (26) осей вращения.

[91]

Для исключения перекосов дверного полотна и его весовой компенсации при вертикальном перемещении, дверь может содержать механизм стабилизации и весовой компенсации (2-й вариант изобретения).

[92]

Механизм стабилизации и весовой компенсации (27), (фиг. 7, 8, 9), содержит стабилизирующий вал (31), установленный с возможностью поворота в опорах (32) на дверном полотне (1), два рычага (33), одним концом жестко соединенные с концами стабилизирующего вала (31), содержащие на вторых концах ролики (34), оси которых параллельны его осям, газовую пружину (35), одним концом шарнирно соединенную с качалкой (36), установленный на стабилизирующем валу (31) и содержащей, упор (37), для ограничения угла поворота стабилизирующего вала (31) при упоре в дверное полотно, рычаг (38) шарнирно соединенный концами со вторым концом газовой пружины и с траверсой (25), а также, в промежутке между концами (посередине), с одним концом серьги (39), шарнирно соединенной вторым концом с элементом шарнирного соединения на дверном полотне (40).

[93]

При запертой двери, ролики (34) размещаются в ловителях (41) устанавливаемых в проеме фюзеляжа, с возможностью перемещения. За счет газовой пружины (35) связь между траверсой и стабилизирующим валом является упругой, что исключает рассогласование перемещений дверного полотна (1) относительно траверсы (25) и относительно стабилизирующего вала (31).

[94]

При подъеме дверного полотна происходит частичное уравновешивание двери за счет усилия газовой пружины (35) и исключается возможность ее перекоса в проеме фюзеляжа за счет синхронного перемещения роликов (34) в ловителях фюзеляжа (41), обеспечиваемого крутильной жесткостью стабилизирующего вала (31).

[95]

Для осуществления подъема при отпирании дверь может содержать исполнительный механизм (10) и управляющий им механизм рукояток (4) (фиг. 10).

[96]

Исполнительный механизм (фиг. 13, 14) содержит корпус (45), установленный на дверном полотне (1), с установленным в корпусе с возможностью поворота валом ведущей качалки (46), ведущую качалку (44) жестко установленную на вал ведущей качалки.

[97]

Механизм рукояток (фиг. 11, 12) содержит корпус (5), установленный на дверном полотне, главный вал (43) установленный в нем с возможностью поворота и жестко установленную на главном валу (43), главную качалку (44).

[98]

Главная качалка (44) механизма рукояток шарнирно соединена тягой (48) с ведущей качалкой (47) исполнительного механизма, качалка (49) привода траверсы шарнирно соединена тягой (50) с траверсой (25).

[99]

При отпирании двери поворачивают главный вал (43) механизма рукояток внутренней рукояткой (5), при этом поворачивается главная качалка (44), посредством тяги (48) поворачивается ведущая качалка (46) исполнительного механизма, поворачивая вал ведущей качалки (46) и жестко установленную на нем качалку привода траверсы (49), которая перемещает тягу (50), соединяющую ее с траверсой (25), посредством чего происходит перемещение дверного полотна (1) вертикально, до положения, при котором возможно открытие двери поворотом, что соответствует ее отпертому положению.

[100]

Для исключения опасного перепада давлений между внутренним пространством фюзеляжа и атмосферой в момент открытия и закрытия предусматривается выполнение в дверном полотне окна, закрываемого декомпрессионной створкой (фиг. 15), имеющей возможность поворота между закрытым и открытым положениями.

[101]

При этом исполнительный механизм (фиг. 16, 17) содержит качалку управления декомпрессионной створкой (51) жестко установленную на валу ведущей качалки (46).

[102]

Качалка управления декомпрессионной створкой (51) шарнирно соединена тягой (52) с декомпрессионной створкой (11).

[103]

При отпирании, двери при повороте ведущей качалки (47), поворачивается качалка управления декомпрессионной створкой (51), которая перемещает тягу (52) и открывает декомпрессионную створку (11).

[104]

Для фиксации двери в положении смещенном вверх, механизм рукояток может содержать устройство для стопорения двери в этом положении (фиг. 18), содержащее: валик (53), установленный с возможностью поворота в опорах (54, 55), жестко закрепленных на дверном полотне (1), рычаг (56), закрепленный на одном конце валика (53), с роликом (57) при этом ось ролика параллельна оси валика (53), стопор (58) (фиг. 19), закрепленный на втором конце валика (53), упругий элемент (59), например пружину кручения, образующий упругую связь между валиком (53) и с одной из опор (55), при этом главная качалка механизма рукояток (44) содержит прорезь (60) для размещения в ней стопора (58) при блокировке.

[105]

Ролик (57) выполнен с возможностью свободного вращения и при запертой двери (до момента начала выхода двери из проема) опирается на площадку (61) в проеме фюзеляжа

[106]

При выходе двери из проема фюзеляжа, рычаг (56)с роликом (57) отходит от опорной площадки (61) на фюзеляже и, под действием упругого элемента (пружины кручения) (59) поворачивается вместе с валиком (53) и стопором (58), который входит в прорезь (60) главной качалки (44) и блокирует ее.

[107]

Таким образом, дверь оказывается смещенной по вертикали и застопоренной в этом положении до последующего контакта ролика (57) с площадкой (61) при введении двери в проем фюзеляжа и. главный вал (43) механизма рукояток не может быть повернут.

[108]

Для осуществления подъема двери при отпирании и ее блокировки в запертом положении она содержит исполнительный механизм со стопорным устройством и управляющий им механизм рукояток.

[109]

Механизм рукояток (фиг. 22, 23) содержит: корпус (5), установленный на дверном полотне, с установленным в нем с возможностью поворота главным валом (61) с выступом (62), установленные на главном валу (61) с возможностью поворота главную качалку (63) с вырезом (64) и качалку управления блокировкой (65) с упором (77).

[110]

Исполнительный механизм (фиг. 24, 25) содержит: корпус (68), установленный на дверном полотне, с установленным в нем с возможностью поворота валом ведущей качалки (79), жестко установленные на валу ведущей качалки (79) ведущую качалку (68), содержащую выступ (70) и качалку привода траверсы (49) стопорное устройство, содержащее вал стопора (71), установленный в корпусе (68) с возможностью поворота стопор (72), жестко установленный на валу стопора (71), качалку блокировки (75) с упором (77), установленную с возможностью поворота на валу стопора (71), упругий элемент (78), (пружину кручения) прижимающий (образующий упругую связь) качалку блокировки (75) упором (77) к выступу (74) стопора (72), при этом стопор (71) содержит плечо (73) для блокировки выступа (70) ведущей качалки (68).

[111]

Механизм рукояток (фиг. 22, 23) содержит корпус (5) установленный на дверном полотне (1) с установленным в нем с возможностью поворота главным валом (61), выполненным с выступом (62), установленные на главном валу (61) с возможностью поворота, главную качалку (63) с вырезом (64) и качалку управления блокировкой (65) с упором (66), а также упругий элемент (пружину кручения (69) для образования контакта упора (66) качалки управления блокировкой с выступом (62) главного вала. При запертой двери, упор (66) качалки управления блокировкой (65) находится в контакте с выступом (62) главного вала (61), и выступ главного вала расположен в вырезе (64) главной качалки с зазором, обеспечивающим возможность поворота главного вала (61) относительно главной качалки в пределах этого выреза.

[112]

Главная качалка (44) механизма рукояток, шарнирно соединена тягой (48) с ведущей качалкой (47), качалка привода траверсы (49) шарнирно соединена тягой (50) с траверсой (25), качалка управления блокировкой (65) механизма рукояток шарнирно соединена тягой (76) с качалкой блокировки (75).

[113]

Отпирание двери осуществляется поворотом главного вала (61) механизма рукояток, при этом выступ главного вала (62) движется в вырезе (64) главной качалки (63) до упора в край выреза при неподвижной главной качалке. При этом качалка управления блокировкой (65) через упор (66), упирающаяся в выступ (62) главного вала (61) и поджимаемая пружиной (67), поворачивается вместе с главным валом (61) и через тягу (76) поворачивает качалку блокировки (75) исполнительного механизма, упор (77) которой, освобождая выступ (74) стопора (63) позволяет стопору (71) под действием упругого элемента (78), освободить выступ (70) ведущей качалки (68), и, таким образом, разблокировать ее.

[114]

При дальнейшем повороте, выступ (62) главного вала (61) механизма рукояток, упертый в край выреза (64) главной качалки (63), увлекает за собой качалку (63), которая через тягу (48) поворачивает ведущую качалку (68) исполнительного механизма и жестко соединенную с ней качалку привода траверсы (49) и через тягу (50), соединенную с траверсой (25), перемещает дверное полотно, с установленными на нем механизмами, вверх относительно механизма навески.

[115]

Запирание двери осуществляется поворотом главного вала (61) механизма рукояток в обратную сторону, выступ (62) которого выбирает зазор с краем выреза (64) главной качалки (63) и поворачивает ее, и посредством тяги (48), поворачивает ведущую качалку (68) исполнительного механизма и жестко соединенную с ней качалку (49) привода траверсы (25). Дверь сдвигается вниз, ролики (14) двигаются по направляющим желобам (15), упоры (12) надвигаются на опорные площадки (13). Продолжая поворот, главный вал (61) выступом (62) упирается в упор (66) качалки блокировки (65) и далее поворачивается вместе с ней, преодолевая усилие упругого элемента (67). Посредством тяги (76) движение передается блокирующей качалке (61) стопорного устройства исполнительного механизма, которая преодолевая усилие упругого элемента (62) и воздействуя своим упором (77) на выступ (74) стопора (72), поворачивает его, блокируя выступ (70) ведущей качалки (68) исполнительного механизма.

[116]

Для исключения опасного перепада давлений между внутренним пространством фюзеляжа и атмосферой в момент открытия и закрытия на дверном полотне может быть выполнено окно, закрываемое декомпрессионной створкой (11). При этом может быть применена блокировка декомпрессионной створки (11) в ее открытом положении, при не запертой двери и разблокировка с полным закрытием после запирания двери с блокировкой, одновременно с блокировкой дверного полотна в запертом положении.

[117]

Исполнительный механизм (фиг. 26, 27) содержит качалку управления декомпрессионной створкой (80), выполненную с двумя плечами (83, 85), установленную на валу ведущей качалки (79), с возможностью ограниченного поворота, например посредством прорези (81), выполненной в ее ступице, и проходящим через нее пальцем (82), жестко соединенным с валом ведущей качалки, ограничивающим угол поворота качалки (80) управления декомпрессионной створкой в пределах указанной прорези (81). На втором плече (83) качалки (80) управления декомпрессионной створкой установлен штифт (84), упругий элемент (86) (пружину кручения) образующий упругую связь между качалкой (80) управления декомпрессионной створкой и качалкой (49) привода траверсы для обеспечения контакта края (торца) прорези (81) в ступице качалки привода декомпрессионной створки (81) с пальцем (82) при положении качалки управления декомпрессионной створкой (80) соответствующем закрытой декомпрессионной створке (11).

[118]

При этом, стопор (72) стопорного устройства содержит второе плечо (88) с выполненным в нем вырезом (89) для захвата штифта (84) на втором плече (83) качалки управления декомпрессионной створкой (80) при положении качалки управления декомпрессионной створкой (80) соответствующем открытой декомпрессионной створке (11).

[119]

Первое плечо качалки управления декомпрессионной створкой (85) и декомпрессионная створка (11) шарнирно соединены тягой (52).

[120]

При повороте вала ведущей качалки (79) на отпирание двери, качалка управления декомпрессионной створкой (80) через палец (82) установленный на валу ведущей качалки, упертый в край прорези (81), поворачивается вместе с качалками (69, 49) и через тягу (52) открывает декомпрессионную створку (11).

[121]

В конце хода ведущей качалки (69) исполнительного механизма на отпирание двери, штифт (84) качалки управления декомпрессионной створкой (80), преодолевая усилие пружины (78), отжимает второе плечо (88) стопора (72), и защелкивается им, блокируя качалку управления декомпрессионной створкой (80) в результате чего декомпрессионная створка (11) блокируется в открытом положении.

[122]

В начале поворота главного вала (61) механизма рукояток на запирание, его выступ (62) выбирает зазор с краем выреза (64) главной качалки (63) и увлекает ее за собой, при этом перемещается тяга (48), поворачивая ведущую качалку (69) исполнительного механизма, вал ведущей качалки (79) и жестко соединенную с ним качалку (49) привода траверсы. Заблокированная качалка (80) привода декомпрессионной створки остается неподвижной, а декомпрессионная створка (11) полностью открытой. Пружина (86) закручивается. Дверное полотно двигается вниз. В конце поворота главного вала (61) механизма рукояток, его выступ (62) упирается в упор (66) качалки управления блокировкой (65) и поворачивает ее, преодолевая сопротивление пружины (67). Качалка управления блокировкой (65) перемещает тягу (76), посредством чего поворачивается качалка блокировки (75) стопорного устройства, которая упором (77), контактирующим с выступом стопора (74), поворачивает стопор (72), преодолевая усилие пружины (78), при этом второе плечо стопора (72) освобождает штифт (84) на втором плече (83) качалки управления декомпрессионной створкой (80), упругий элемент (пружина кручения (86) раскручивается и поворачивает качалку управления декомпрессионной створкой (80) на ее закрытие, тяга (52) перемешается, закрывая створку (11).

[123]

Одновременно, выступ (74) плеча (73) стопора блокирует выступ (70) ведущей качалки (69). Дверь заперта и заблокирована.

[124]

Таким образом, исключается наддув в кабине самолета до небезопасного уровня, пока дверь не будет заперта.

[125]

Очевидно, что заявленный технический результат - простота конструкции двери, достигаемая механизмом навески и повышение надежности запирания, достигаемое совокупностью соединения механизма навески с дверным полотном, обеспечивается в любом из раскрытых вариантов конструкции.

[126]

Другие возможные варианты осуществления заявленного изобретения могут быть очевидными для специалистов в данной области техники и находятся в пределах технических решений раскрытых в заявленной группе изобретений.

Как компенсировать расходы
на инновационную разработку
Похожие патенты