патент
№ RU 2589850
МПК H04L27/00

СПОСОБ БЕСПРОВОДНОЙ СВЯЗИ В СИСТЕМЕ С РАСПРЕДЕЛЕННЫМИ ВХОДАМИ И РАСПРЕДЕЛЕННЫМИ ВЫХОДАМИ

Авторы:
Маркин Виктор Григорьевич
Номер заявки
2014143591/08
Дата подачи заявки
28.10.2014
Опубликовано
10.07.2016
Страна
RU
Как управлять
интеллектуальной собственностью
Чертежи 
2
Реферат

Изобретение относится к технике связи и может использоваться для создания систем беспроводной связи с распределенными входами и распределенными выходами, содержащих базовую станцию с M приемопередатчиками и N абонентских устройств, где N меньше или равно M. Технический результат - повышение отношения сигнал/шум при количестве работающих абонентских устройств, меньшем, чем число приемопередатчиков антенн базовой станции. Для этого при обработке сигналов на базовой станции используется решение системы из N уравнений с M неизвестными (N меньше или равно M) с использованием псевдообратной матрицы от прямоугольной характеристической матрицы канала, что позволило обеспечить формирование и разделение обрабатываемых сигналов. 7 ил.

Формула изобретения

Способ беспроводной связи в системе с распределенными входами и выходами, содержащий этапы на которых:
- при организации связи с каждого из Μ приемопередатчиков базовой станции через соответствующую антенну передают обучающий сигнал к каждой N антенне каждого приемопередатчика из N абонентских устройств;
- в каждом абонентском устройстве в блоке кодирования, модуляции и обработки сигналов обучающий сигнал оценивают, формируют набор из Μ параметров канала, определяющих характеристическую матрицу канала Н, и передают параметры канала на базовую станцию;
- в базовой станции в блоке формирования характеристической матрицы канала на основе полученных N наборов из Μ параметров канала формируют прямоугольную характеристическую матрицу канала связи Η размерностью ΜxΝ (Ν≤Μ):

где Aij (i=1, 2, …, M; j=1, 2, …, Ν) представляет собой комплексный параметр канала, полученный при приеме обучающего сигнала j-м абонентским устройством от i-го передатчика базовой станции;
- далее, в базовой станции в блоке расчета псевдообратной матрицы вычисляют псевдообратную матрицу с элементами h+ij:

где "т" - индекс транспонирования и комплексного сопряжения;
- после передачи параметров канала, посредством каждого из абонентских устройств осуществляют передачу информационных сигналов, которые, проходя через канал связи с характеристической матрицей Н, образуют на выходах приемопередатчиков базовой станции суммарные сигналы в виде системы уравнений:




где yi - отсчет сигнала на выходе i-го приемника (i=1, 2, …, М);
xj - сигнал, переданный j-м абонентским устройством (j=1, 2, …, Ν)
- далее полученные сигналы в базовой станции подвергают преобразованию:




посредством которого обеспечивают полное разделение сигналов, переданных абонентскими устройствами;
- при организации передачи в одной частотной полосе N информационных сигналов от базовой станции с Μ приемопередатчиками к N абонентским устройствам (Ν≤Μ) таким образом, чтобы i-e (i=1, 2, …, Ν) абонентское устройство получало только ему предназначенный сигнал, сигналы u1, u2, …, uN, поступающие с сетевого интерфейса базовой станции, подвергают преобразованию:




где где ν1, ν2, …, νM - сигналы на выходах блока кодирования, модуляции и обработки сигналов 5 базовой станции 1;
u1, u2, …, uN - сигналы на входе блока кодирования, модуляции и обработки сигналов 5 базовой станции;
- полученные сигналы ν1, ν2, …, νM через соответствующие приемопередатчики базовой станции передают в канал связи с характеристической матрицей канала Η и на выходе канала они преобразуются к виду:




где z1, z2, …, zN - сигналы, поступающие из канала связи на антенны 9.1-9.Ν абонентских устройств 2.1-2.Ν;
- что и обеспечивает раздельный прием сигналов соответствующими абонентскими устройствами.

Описание

[1]

Изобретение относится к технике связи и может применяться для создания систем беспроводной связи с распределенными входами и распределенными выходами, в которых используются методы пространственно-временного кодирования.

[2]

Известен способ связи по патенту RU 2387082 "Способ и устройство для передачи в многоантенной системе связи". Система содержит две многоантенные станции. В общем случае одна станция содержит N антенн, тогда как другая - M антенн.

[3]

Система предназначена для обеспечения многостанционным доступом множества пользователей, способна поддерживать абонентские аппараты, имеющие разные потребности, а также возможности. Эта система позволяет эффективно делить общую рабочую полосу частот между различными видами услуг, которые могут иметь сильно различающиеся скорости передачи данных, задержки и требования к качеству обслуживания.

[4]

Такие системы получили название системы с многими входами и многими выходами - ΜΙΜΟ (Multi Input Multi Output) [Банкет В.Л.. Токарь Μ.С. ΜΙΜΟ - новая технология многоантенной радиосвязи для систем беспроводного доступа. ЗВ′ЯЗОК, №3, 2010, 6-12 с.].

[5]

Технология ΜΙΜΟ основана на использовании пространственно распределенных антенн для создания параллельных пространственных потоков данных в общем частотном диапазоне.

[6]

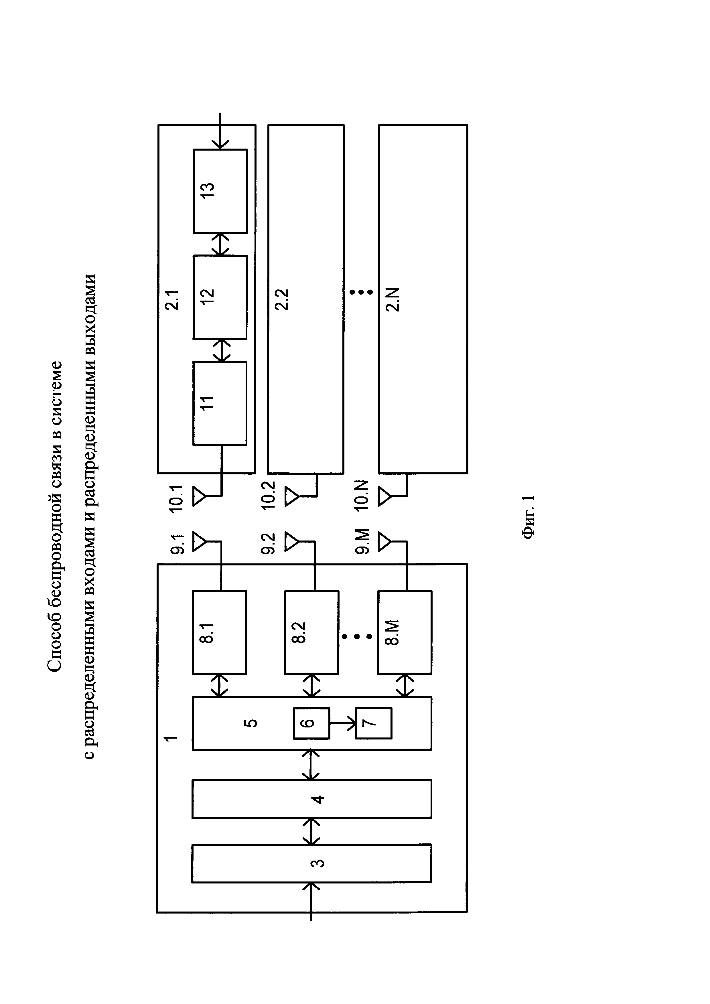
Однако применение нескольких антенн в абонентском терминале не практично, особенно в УКВ диапазоне и в более низких диапазонах частот. При более низких частотах физический размер устройства ΜΙΜΟ может стать громоздким. Предельный случай может быть в диапазоне ВЧ, при котором антенны устройств ΜΙΜΟ должны стоять друг от друга на 10 и более метров.

[7]

Наиболее близким по технической сущности к заявляемому является способ, описанный в патенте №2455779 "Система и способ беспроводной связи с распределенными входами и распределенными выходами" (DIDO - Distributed Inputs and Distributed Outputs) и принятый за прототип.

[8]

Способ-прототип состоит в следующем.

[9]

Перед тем как вести передачу, проводится оценка параметров канала. Это достигается передачей по нисходящей связи обучающего сигнала от каждого приемопередатчика через антенну базовой станции к антенне приемопередатчика каждого абонентского устройства. Обучающий сигнал генерируется блоком кодирования, модуляции и обработки сигналов базовой станции, преобразуется в аналоговую форму цифроаналоговым преобразователем, а затем преобразуется из основной полосы частот к высокой частоте по очереди каждым приемопередатчиком. Каждая антенна абонентского устройства, связанная со своим приемопередатчиком, принимает каждый обучающий сигнал. Сигнал основной полосы частот преобразуется к цифровому виду аналого-цифровым преобразователем (не показан), а блок кодирования, модуляции и обработки сигналов абонентского устройства оценивает обучающий сигнал, который может включать в себя много параметров, например, фазу и амплитуду по отношению к опорному сигналу, генерируемому в приемопередатчике, характеристики шума или иные факторы. Как правило, параметры каждого сигнала определяются в виде вектора, который содержит изменения фазы и амплитуды сигнала, передаваемого по каналу. Например, в сигнале с квадратурной амплитудной модуляцией (QAM) эти параметры могут быть вектором сдвигов по фазе и амплитуде для нескольких многолучевых образов сигнала. В сигнале с ортогональным частотным разделением (OFDM) это может быть вектор сдвигов по фазе и амплитуде для нескольких или всех отдельных подканалов в спектре (OFDM).

[10]

После того как все антенны базовой станции завершили передачи обучающих сигналов, блок кодирования, модуляции и обработки сигналов абонентских устройств формирует M наборов параметров каналов, определяющих характеристическую матрицу H, и передает данные через приемопередатчик и антенну в блок кодирования, модуляции и обработки сигналов базовой станции. Далее в блоке формирования характеристической матрицы канала базовой станции на основе полученных данных формируют квадратную характеристическую матрицу канала связи H0 размером M×M (1):

[11]

[12]

где каждый элемент hij матрицы H0 представляет собой комплексный параметр канала (амплитуда и фаза), полученный при передаче обучающего сигнала i-ой антенной базовой станции и принятого j-ой антенной абонентского устройства.

[13]

Зная характеристическую матрицу канала связи, можно разделить сигналы, принимаемые базовой станцией от абонентских устройств. Сигналы yi (i=1, 2, …, M), принятые антеннами базовой станции от абонентских устройств, записываются в виде системы уравнений (2):

[14]

[15]

где xi - сигнал, излученный i-м абонентским устройством;

[16]

yi - сигнал, принятый i-ой антенной базовой станции;

[17]

hij - комплексный коэффициент передачи тракта распространения сигнала, излучаемого j-ой антенной абонентского устройства и принимаемого i-ой антенной базовой станции;

[18]

ηi - отсчет комплексного гауссовского шума на входе i-го приемника базовой станции.

[19]

Инвертировав матрицу Н0, получаем обратную матрицу H01 с элементами hij (3):

[20]

[21]

где hij - элементы матрицы H01 (i=1, 2, …, M; j=1, 2, …, M).

[22]

Блок кодирования, модуляции и обработки сигналов базовой станции, решив систему уравнений (2) относительно hi, получает равенства для оценки сигналов от каждого абонентского устройства в каналах базовой станции в виде (4):

[23]

[24]

где ξi - отсчет шума на выходе i-го канала базовой станции.

[25]

Как правило, такая известная система является двунаправленной, и обратный тракт реализуется точно таким же образом.

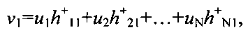
[26]

В данной системе организация связи включает этапы, на которых:

[27]

- от каждого приемопередатчика через антенны базовой станции передают обучающий сигнал к антенне каждого приемопередатчика абонентских устройств,

[28]

- блок кодирования, модуляции и обработки сигналов абонентских устройств формирует M наборов параметров канала, определяющих характеристическую матрицу H, и передает данные через приемопередатчик и антенну на базовую станцию,

[29]

- на базовой станции в блоке формирования характеристической матрицы канала на основе полученных данных вычисляют веса hij для взвешивания сигналов в каналах передачи (приема) данных, решают систему уравнений для разделения принятых сигналов.

[30]

При этом, так как в базовой станции принимаемые сигналы складываются синфазно, то при использовании в ней M антенн амплитуда выходного сигнала возрастает в M раз, а среднеквадратическое значение шума возрастет в раз. В результате, отношение сигнал/шум пропорционально . Таким образом, при наличии сигналов от M абонентских станций в базовой станции используется M антенн и отношение сигнал/шум возрастает в раз.

[31]

Недостатком устройства-прототипа является невозможность использования всех приемопередатчиков и антенн базовой станции для разделения сигналов, если количество работающих абонентских станций меньше числа приемопередатчиков и антенн базовой станции. Это связано с используемым методом решения системы уравнений (2), предполагающим равенство числа уравнений числу неизвестных.

[32]

При уменьшении количества работающих абонентских станций уменьшается число приемопередатчиков и антенн базовой станции, участвующих в приеме сигналов. Это не позволяет использовать имеющиеся возможности в увеличении соотношения сигнал/шум при приеме сигналов. Например, исходя из системы уравнений (2) при работе одной абонентской станции сигнал на базовой станции должен приниматься только одной антенной, и отношение сигнал/шум не растет, что отрицательно скажется на вероятности ошибочного приема и дальности связи.

[33]

Задачей изобретения является обеспечение возможности использования всех M антенн базовой станции для обработки сигналов от Ν≤Μ абонентских устройств.

[34]

Достигаемый технический результат - повышение отношения сигнал/шум при количестве работающих абонентских устройств N, меньшем, чем число M антенн приемопередатчиков базовой станции.

[35]

Указанный результат достигается тем, что в базовой станции вместо системы (2) из M уравнений с M неизвестными решается система с N неизвестными и M уравнениями (5):

[36]

[37]

Система уравнений (5) может быть представлена в матричном виде (6):

[38]

[39]

где - прямоугольная матрица размерностью Μ×Ν;

[40]

- вектор сигналов, излучаемых абонентскими устройствами;

[41]

- вектор сигналов, принятых антеннами базовой станции.

[42]

Решение системы (6) для определения переданных сигналов x1, x2, …, xN может быть найдено с помощью метода наименьших квадратов [Беклемишев Д.В. Дополнительные главы линейной алгебры. - М.: Наука. Главная редакция физико-математической литературы, 1983, 336 с.]. В этом методе решение отыскивается с применением аппарата псевдообратных матриц в следующем виде (7):

[43]

[44]

Если матрица H не выражена, т.е. имеет полный ранг, то псевдообратная матрица (7), определяется выражением (8):

[45]

[46]

где hij+ - элементы матрицы H+(i=1, 2, …, Ν; j=1, 2, …, M); Т - индекс транспонирования.

[47]

В развернутом виде с учетом (8) решение (7) выглядит следующим образом (9):

[48]

[49]

где hij+ - элементы матрицы Н+.

[50]

В соответствии с этим решением в базовой станции обеспечивается полное разделение сигналов абонентских терминалов при условии N≤M. То есть отличие от прототипа при данном способе обработки состоит в том, что на базовой станции используются все Μ антенн для обработки сигналов от N абонентов. При Ν=Μ способ, описанный в прототипе, представляет собой частный случай предлагаемого изобретения.

[51]

Предлагаемый способ реализуется с помощью системы беспроводной связи с распределенными входами и распределенными выходами, функциональная схема которой представлена на Фиг. 1, где введены следующие обозначения:

[52]

1 - базовая станция;

[53]

2.1-2.Ν - N абонентских устройств;

[54]

3 - сетевой интерфейс базовой станции;

[55]

4 - маршрутизатор базовой станции;

[56]

5 - блок кодирования, модуляции и обработки сигналов базовой станции;

[57]

6 - блок формирования характеристической матрицы канала базовой станции;

[58]

7 - блок расчета псевдообратной матрицы базовой станции;

[59]

8.1-8.М - Μ приемопередатчиков базовой станции;

[60]

9.1-9.М - Μ антенн базовой станции;

[61]

10.1-10.Ν - N антенн абонентских устройств;

[62]

11 - приемопередатчик абонентского устройства;

[63]

12 - блок кодирования, модуляции и обработки сигналов абонентского устройства;

[64]

13 - интерфейс абонентского устройства.

[65]

Способ беспроводной связи в системе с распределенными входами и распределенными выходами заключается в следующем. Перед тем, как вести передачу, проводится оценка параметров канала. Это достигается передачей по нисходящей связи обучающего сигнала от каждого приемопередатчика 8.1-8.Μ через антенны 9.1-9.Μ базовой станции 1 к антеннам 10.1-10.N и далее к приемопередатчикам 11 абонентских устройств 2.1-2.Ν.

[66]

Обучающий сигнал генерируется блоком кодирования, модуляции и обработки сигналов 5 базовой станции 1, преобразуется в аналоговую форму цифроаналоговым преобразователем (не показан), а затем преобразуется из основной полосы частот к высокой частоте по очереди каждым приемопередатчиком 8.1-8.Μ базовой станции 1. Далее обучающий сигнал передается от каждого приемопередатчика 8.1-8.М через антенну 9.1-9.М базовой станции 1 к антеннам 10.1-10.Ν абонентских устройств 2.1-2.Ν и далее к приемопередатчикам 11 абонентских устройств 2.1-2.Ν. Затем сигнал основной полосы частот преобразуется к цифровому виду в аналого-цифровом преобразователе (не показан), и поступает в блок кодирования, модуляции и обработки сигналов 12 абонентских устройств 2.1-2.Ν, который оценивает фазу и амплитуду обучающего сигнала.

[67]

После того как все антенны 9.1-9.М базовой станции 1 завершили передачи обучающих сигналов, блок кодирования, модуляции и обработки сигналов 12 абонентских устройств 2.1-2.Ν анализирует эти сигналы и формирует N наборов параметров канала, определяющих характеристическую матрицу Н, и передает данные через приемопередатчики 11 и антенны 10.1-10.Ν на базовую станцию 1 в блок кодирования, модуляции и обработки сигналов 5. Далее блок формирования характеристической матрицы канала 6 базовой станции 1 на основе полученных данных формирует прямоугольную характеристическую матрицу канала связи H размером Μ×Ν (10):

[68]

[69]

где каждый отдельный элемент hij (i=1, 2, …, M; j=1, 2, …, Ν) представляет собой комплексный параметр канала (амплитуда и фаза), полученный при передаче обучающего сигнала i-ой антенной 9.1-9.Μ базовой станции 1, принятого j-ой антенной 10.1-10.N соответствующего абонентского устройства 2.1-2.N.

[70]

Зная характеристическую матрицу канала связи, можно разделить сигналы, принимаемые базовой станцией 1 от абонентских устройств 2.1-2.N. Сигналы yi (i=1, 2, … M), принятые антеннами 9.1-9.М базовой станции 1 от абонентских устройств 2.1-2.N, записываются в виде системы из Μ уравнений для N неизвестных (Ν≤Μ) (11):

[71]

[72]

где yi - отсчет сигнала в i-й приемной ветви (i=1, 2, …, М);

[73]

xj - сигнал, переданный абонентским устройством 2.j (j=1, 2, …, N);

[74]

hij - комплексный коэффициент передачи тракта распространения сигнала, излучаемого j-ой антенной 10.j абонентского устройства 2.j и принимаемого i-ой антенной 9.i базовой станции 1.

[75]

Систему уравнений (11) перепишем в матричном виде (12):

[76]

[77]

где - оцениваемый вектор отсчетов входных сигналов переданных абонентскими устройствами 2.1-2.N;

[78]

вектор отсчетов сигналов, принятых приемопередатчиками 8.1-8.Μ базовой станции 1.

[79]

В блоке расчета псевдообратной матрицы 7 базовой станции 1 по известной характеристической матрице канала связи Н, рассчитывается псевдообратная матрица (8):

[80]

[81]

В блоке кодирования, модуляции и обработки сигналов 5 базовой станции 1 с помощью псевдообратной матрицы Н+ решается система (12). Это решение имеет вид (13):

[82]

[83]

В развернутом виде решение выглядит следующим образом (14):

[84]

[85]

где hij+ - элементы матрицы Н+.

[86]

В соответствии с этим решением в базовой станции 1 обеспечивается полное разделение сигналов абонентских устройств 2.1-2.N при условии N≤M. Разделение сигналов на базовой станции 1 формируется благодаря образованию N диаграмм направленностей (ДН), создаваемых антенной решеткой базовой станции 1 по одной диаграмме для каждой абонентской радиостанции. В соответствии с (14) сигнал от j-й абонентской радиостанции на выходе антенной решетки базовой станции представляется в виде (15):

[87]

[88]

где - вектор весовых коэффициентов, образующий j-ю диаграмму направленности;

[89]

- вектор сигналов в каналах антенной решетки.

[90]

В качестве примера на Фиг. 2 приведены расчетные диаграммы направленности кольцевой 6-элементной антенной решетки радиусом λ (λ - длина волны излучаемого сигнала) базовой станции 1 при приеме сигналов от различного числа абонентов. Абонентские устройства 2.1-2.Ν располагались вокруг базовой станции 1 и имели различные азимуты. В данном примере эти азимуты, соответственно, были равны 0°, 60°, 90°, 180°, 270°, 330°. В данном примере диаграммы направленности рассчитывались для абонентского устройства 2.1, расположенного в направлении 0°.

[91]

В Таблице 1 приведено соответствие номеров рисунка и вариантов расчета.

[92]

Таблица 1
Номер рисункаЧисло работающих абонентских устройствАзимутальные направления
100
46200, 600
300, 600, 900
400, 600, 900, 1800,
500, 600, 900, 1800, 2700
600, 600, 900, 1800, 2700, 3300

[93]

Из рисунков следует, что в направлении на абонентское устройство 2.1 с направлением 00 формируется луч ДН с коэффициентом усиления, близким к максимальному, а в направлениях на остальные устройства - глубокие провалы, что обеспечивает одновременную работу всех абонентов в одной полосе частот без взаимных помех.

[94]

Аналогичные свойства имеют диаграммы направленности антенной решетки для остальных абонентских устройств. Эти свойства позволяют решить и обратную задачу - задачу передачи в одной частотной полосе N сигналов с базовой станции 1 для N абонентских устройств 2.1-2.N таким образом, чтобы каждое абонентское устройство получало только ему предназначенный сигнал.

[95]

Допустим, что из сетевого интерфейса 3 (Фиг.1) через маршрутизатор 4 в блок кодирования, модуляции и обработки сигналов 5 базовой станции 1 поступают сигналы u1, u2, …, uN. В блоке кодирования, модуляции и обработки сигналов 5 базовой станции каждый из этих сигналов подвергают преобразованию (16):

[96]

[97]

где v1, v2, …, vM - сигналы на выходах блока кодирования, модуляции и обработки сигналов 5 базовой станции 1;

[98]

u1, u2, …, uN - сигналы на входе блока кодирования, модуляции и обработки сигналов 5 базовой станции.

[99]

Система уравнений (16) может быть представлена в матричном виде (17):

[100]

[101]

где - вектор сигналов на входе блока кодирования, модуляции и обработки сигналов 5 базовой станции 1;

[102]

- вектор сигналов на выходах блока кодирования, модуляции и обработки сигналов 5 базовой станции 1;

[103]

- транспонированная псевдообратная характеристическая матрица канала связи.

[104]

Полученные сигналы v1, v2, …, vΜ с выхода блока кодирования, модуляции и обработки сигналов 5 подают на соответствующие входы приемопередатчиков 8.1-8.М и далее через антенны 9.1-9.М базовой станции 1 поступают в канал связи (не показан), с характеристической матрицей канала (10):

[105]

[106]

где подвергаются преобразованию (18):

[107]

[108]

где z1, z2, …, zΝ - сигналы, поступающие из канала связи на антенны 10.1-10.Ν абонентских устройств 2.1-2.Ν.

[109]

Выражение (18) можно переписать в матричном виде (19):

[110]

[111]

где Z=[Z1, Z2, …, ZN]T - вектор, компонентами которого являются сигналы, находящиеся в антеннах 10.1-10.N абонентских устройств 2.1-2.N.

[112]

Подставляя в (19) выражение для V из (17), получим итоговый вектор Ζ с компонентами сигналов Z1, Z2, …, ZΜ, наводящихся в соответствующих антеннах 10.1-10.Ν абонентских устройств 2.1-2.Ν в виде (20):

[113]

[114]

Так как HTH+T=I - единичная матрица размерности Ν*Ν, то из (20) следует (21):

[115]

[116]

Из этого следует, что преобразование (16) сигналов базовой станции 1 при нисходящей связи обеспечивает их раздельный прием соответствующими абонентскими устройствами 2.1-2.N.

[117]

Предлагаемое техническое решение имеет изобретательский уровень, поскольку из опубликованных научных данных и известных технических решений явным образом не следует решение проблемы обеспечения возможности использования всех антенн базовой станции 1 системы с распределенными входами и распределенными выходами для обработки сигналов абонентских устройств 2.1-2.Ν, работающих в одной частотной полосе, независимо от их числа.

[118]

По сравнению с прототипом, технико-экономическая эффективность заявленного способа заключается в повышении отношения сигнал/шум при количестве абонентских станций 2.1-2.N, меньшем, чем число приемопередатчиков 8.1-8.М и антенн 9.1-9.М базовой станции 1 за счет обеспечения возможности использования всех приемопередатчиков 8.1-8.М и антенн 9.1-9.М базовой станции 1 для обработки сигналов абонентских устройств 2.1-2.N.

[119]

Предлагаемый способ технически эффективен, если количество одновременно работающих абонентских радиостанций 2.1-2.N не превышает числа приемопередатчиков 8.1-8.М и антенн 9.1-9.М базовой станции 1. На практике, при необходимости обеспечения связью большего числа абонентов, могут реализоваться следующие сценарии.

[120]

Абонентские устройства 2.1-2.N разбиваются на группы по N≤M устройств, базовая станция 1 циклически обходит группы абонентских устройств 2.1-2.N таким образом, что каждой группе выделяется одна и та же величина пропускной способности во времени.

[121]

Некоторым абонентским устройствам 2.1-2.N или группам устройств могут выделяться различные значения пропускной способности. Например, абонентским устройствам 2.1-2.N могут присваиваться приоритеты, так что устройствам с относительно более высоким приоритетом может быть гарантировано больше циклов связи (т.е. больше пропускной способности), чем устройствам с относительно более низким приоритетом.

[122]

Базовая станция 1 динамически может выделять пропускную способность на основе текущей загрузки, требуемой абонентским устройствам 2.1-2.N. Например, если одно абонентское устройство передает потоковое видео в реальном масштабе времени, а прочие устройства выполняют функции не в реальном масштабе времени, такие как электронная почта, тогда базовая станция 1 может предоставить большую пропускную способность абонентскому устройству, передающему потоковое видео.

[123]

Может возникнуть ситуация, когда два абонентских устройства, например 2.i и 2.j, могут находиться настолько близко друг к другу, что характеристики каналов для этих абонентов, по сути, одинаковы. В результате, базовая станция 1 не сможет создать пространственно распределенные сигналы для каждого абонентского устройства 2.i и 2.j. Поэтому в данном варианте реализации базовая станция 1 распределяет эти абонентские устройства в разные группы.

[124]

Обеспечение связью различных групп базовая станция 1 может производить с помощью известных методов мультиплексирования канала. Например, базовая станция 1 может применять методы мультиплексирования с разделением по времени, мультиплексирования с разделением по частоте или множественного доступа с кодовым разделением.

[125]

Хотя каждое абонентское устройство 2.1-2.N, описанное выше, снабжено одной антенной 10.1-10.N, предложенное изобретение может применяться для увеличения пропускной способности при использовании абонентских устройств 2.1-2.N со множеством антенн. Базовая станция 1 может применять циклический обход абонентских устройств 2.1-2.N с антеннами 10.1-10.N и распределять их в разные группы. При этом каждое абонентское устройство 2.1-2.N может рассматриваться как отдельный «абонент», и этому «абоненту» может выделяться пропускная способность, как это делалось бы любому другому абоненту.

Как компенсировать расходы
на инновационную разработку
Похожие патенты