Система воздушных сигналов вертолета содержит неподвижный многоканальный проточный аэрометрический приемник в виде разнесенных по высоте экранирующих дисков, трубки полного давления, кольцевые каналы с отверстиями, являющимися приемниками дросселированного статического давления, осесимметричный приемник, отверстие - приемники полного давления результирующего набегающего воздушного потока вихревой колонны, отверстия - приемники для забора давлений, определяющих положение вектора результирующей скорости набегающего воздушного потока, камеру статического давления, кожух, пневмопроводы, пневмометрические преобразователи, измерительные преобразователи температуры, электроизмерительную схему, мультиплексор, аналого-цифровой преобразователь, микропроцессор, коммутаторы, термоэлектрические нагревательные элементы, соединенные определенным образом. Обеспечивается повышение точности и стабильности измерения статического давления. 2 ил.
Система воздушных сигналов вертолета, содержащая неподвижный многоканальный проточный аэрометрический приемник в виде разнесенных по высоте экранирующих дисков, между которыми в азимутальной плоскости под одинаковыми углами расположены трубки полного давления, а на внутренних проточных профилированных поверхностях экранирующих дисков расположены отверстия, являющиеся приемниками дросселированного статического давления, пневмоэлектрические преобразователи, входы которых подключены к трубкам полного и приемнику дросселированного статического давления, выходы которых через последовательно соединенные мультиплексор и аналого-цифровой преобразователь подключены к микропроцессору, выход которого является выходом системы по высотно-скоростным параметрам вертолета, на внешней поверхности верхнего экранирующего диска неподвижного многоканального проточного аэрометрического приемника установлен осесимметричный приемник, на верхней поверхности которого, на оси симметрии, расположено отверстие, являющееся приемником для забора полного давления результирующего набегающего воздушного потока вихревой колонны несущего винта вертолета, симметрично оси симметрии осесимметричного приемника в плоскостях, параллельной оси симметрии вертолета и ортогональной ей, расположены отверстия, являющиеся приемниками для забора давлений, определяющих угловое положение вектора скорости результирующего набегающего воздушного потока вихревой колонны относительно оси симметрии осесимметричного приемника в указанных ортогональных друг другу плоскостях, при этом приемники для забора полного давления и давлений, определяющих угловое положение результирующего набегающего воздушного потока вихревой колонны, соединены с пневмоэлектрическими преобразователями, выходы которых через последовательно соединенные мультиплексор и аналого-цифровой преобразователь подключены к микропроцессору, отличающаяся тем, что неподвижный многоканальный проточный аэрометрический приемник содержит камеру статического давления с воздухопроницаемыми стенками с кожухом, в которой установлен пневмоэлектрический преобразователь, выход которого через последовательно соединенные мультиплексор и аналого-цифровой преобразователь подключен к микропроцессору, при этом на внутренней поверхности осесимметричного приемника, на нижнем и верхнем экранирующих дисках, установлены, по меньшей мере, по одному измерительному преобразователю температуры, выходы которых через последовательно соединенные мультиплексор и аналого-цифровой преобразователь подключены к микропроцессору, выходы которого соответственно подключены к управляющим входам коммутаторов, выходы которых соответственно соединены с термоэлектрическими нагревательными элементами, размещенными в полостях осесимметричного приемника, а также в полостях верхнего и нижнего экранирующих дисков, при этом пневмоэлектрические преобразователи, мультиплексор, аналого-цифровой преобразователь, микропроцессор и коммутаторы расположены в камере статического давления.
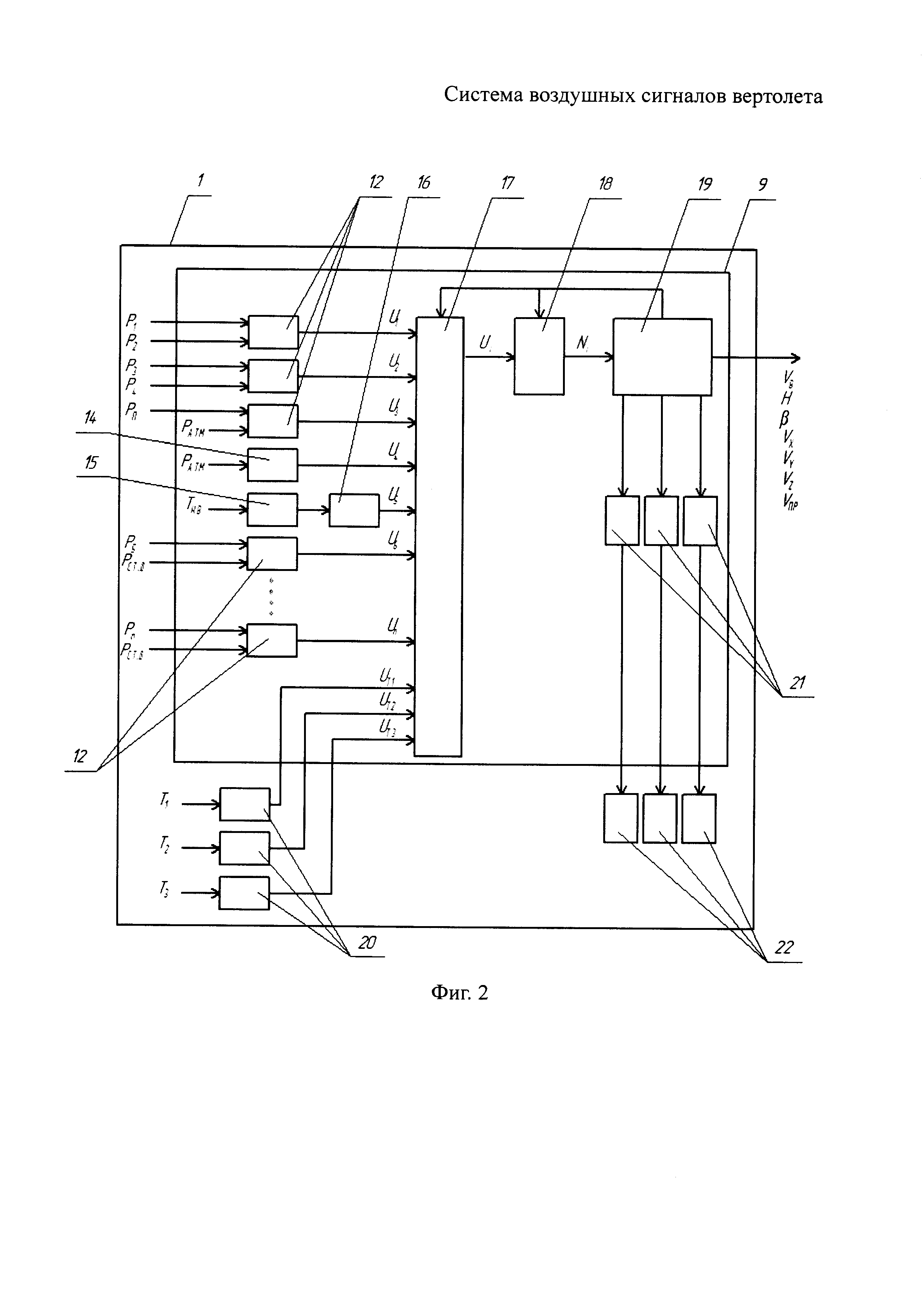
Изобретение относится к области приборостроения, в частности к устройствам для измерения высотно-скоростных параметров вертолета. Известен способ измерения воздушных сигналов вертолета и система для его обеспечения (Патент РФ №2307357, МПК G01P 5/16, опубл. 27.09.2007), где система измерения воздушных сигналов вертолета содержит проточный многоканальный аэрометрический приемник, полости дросселированного статического давления и трубок полного давления которого соединены с пневмоэлектрическими преобразователями, выходы электроизмерительных схем которых через мультиплексор и аналого-цифровой преобразователь подключены к микропроцессору, выход которого является выходом системы по высотно-скоростным параметрам вертолета, дополнительно введен второй проточный многоканальный аэрометрический приемник, расположенный ортогонально первому, полости дросселированного статического давления и трубок полного давления которого соединены с дополнительными пневмоэлектрическими преобразователями, выходы электроизмерительных схем которых через последовательно соединенные мультиплексор и аналого-цифровой преобразователь подключены к входам микропроцессора для определения в области малых скоростей полета углов скоса вихревой колонны несущего винта вертолета, вычисления составляющих вектора воздушной скорости и определения высотно-скоростных параметров вертолета. Недостатки аналога: - сложность конструкции; - сниженная надежность системы за счет отсутствия обогрева многоканального проточного аэрометрического приемника, что приведет к его обледенению и закупорке льдом полостей дросселированного статического давления и трубок полного давления и, как следствие, к отказу системы в целом; - повышенные массогабаритные характеристики проточных многоканальных аэрометрических приемников и системы в целом. Наиболее близким техническим решением (прототипом) является система воздушных сигналов вертолета (Патент РФ №2427844, МПК G01P 5/14, опубл. 27.08.2011), содержащая неподвижный многоканальный проточный аэрометрический приемник в виде разнесенных по высоте экранирующих дисков, между которыми в азимутальной плоскости под одинаковыми углами расположены трубки полного давления, а на внутренних проточных профилированных поверхностях экранирующих дисков расположены отверстия, являющиеся приемниками дросселированного статического давления, пневмоэлектрические преобразователи, входы которых подключены к трубкам полного и приемнику дросселированного статического давления, выходы которых через последовательно соединенные мультиплексор и аналого-цифровой преобразователь подключены к микропроцессору, выход которого является выходом системы по высотно-скоростным параметрам вертолета, на внешней поверхности верхнего экранирующего диска неподвижного многоканального проточного аэрометрического приемника установлен осесимметричный приемник, на верхней поверхности которого на оси симметрии расположено отверстие, являющееся приемником для забора полного давления результирующего набегающего воздушного потока вихревой колонны несущего винта вертолета, симметрично оси симметрии дополнительного осесимметричного приемника в плоскостях, параллельной оси симметрии вертолета и ортогональной ей, расположены отверстия, являющиеся приемниками для забора давлений, определяющих угловое положение вектора скорости результирующего набегающего воздушного потока вихревой колонны относительно оси симметрии дополнительного осесимметричного приемника в указанных ортогональных друг другу плоскостях, при этом на поверхности осесимметричного аэрометрического приемника в плоскости, ортогональной указанным плоскостям, расположены отверстия, являющиеся приемником для забора статического давления результирующего набегающего воздушного потока вихревой колонны, при этом приемники для забора полного и статического давлений и давлений, определяющих угловое положение результирующего набегающего воздушного потока вихревой колонны, соединены с пневмоэлектрическими преобразователями, выходы которых через последовательно соединенные мультиплексор и аналого-цифровой преобразователь подключены к микропроцессору, выход которого является выходом системы по высотно-скоростным параметрам вертолета. Недостатки прототипа: - сниженная точность и стабильность измерения статического давления, что вызвано использованием в качестве приемника статического давления отверстий, выполненных на поверхности осесимметричного приемника, за счет неравномерности распределения местного статического давления на поверхности осесимметричного приемника, а также наличия пульсаций статического давления на поверхности осесимметричного приемника; - сниженная надежность системы за счет отсутствия обогрева неподвижного многоканального проточного аэрометрического приемника; - повышенные массогабаритные характеристики системы за счет конструктивного разнесения функциональных элементов системы. Техническим результатом изобретения является повышение точности и стабильности измерения статического давления, повышение надежности системы, а также снижение массогабаритных характеристик системы. Техническая проблема, решаемая созданием заявленного изобретения, заключается в повышении безопасности полетов вертолетов за счет повышения точности и стабильности определения высотно-скоростных параметров вертолета и повышения надежности системы. Технический результат достигается тем, что система воздушных сигналов вертолета содержит неподвижный многоканальный проточный аэрометрический приемник в виде разнесенных по высоте экранирующих дисков, между которыми в азимутальной плоскости под одинаковыми углами расположены трубки полного давления, а на внутренних проточных профилированных поверхностях экранирующих дисков расположены отверстия, являющиеся приемниками дросселированного статического давления, пневмоэлектрические преобразователи, входы которых подключены к трубкам полного и приемнику дросселированного статического давления, выходы которых через последовательно соединенные мультиплексор и аналого-цифровой преобразователь подключены к микропроцессору, выход которого является выходом системы по высотно-скоростным параметрам вертолета, на внешней поверхности верхнего экранирующего диска неподвижного многоканального проточного аэрометрического приемника установлен осесимметричный приемник, на верхней поверхности которого на оси симметрии расположено отверстие, являющееся приемником для забора полного давления результирующего набегающего воздушного потока вихревой колонны несущего винта вертолета, симметрично оси симметрии осесимметричного приемника в плоскостях, параллельной оси симметрии вертолета и ортогональной ей, расположены отверстия, являющиеся приемниками для забора давлений, определяющих угловое положение вектора скорости результирующего набегающего воздушного потока вихревой колонны относительно оси симметрии осесимметричного приемника в указанных ортогональных друг другу плоскостях, при этом приемники для забора полного давления и давлений, определяющих угловое положение результирующего набегающего воздушного потока вихревой колонны, соединены с пневмоэлектрическими преобразователями, выходы которых через последовательно соединенные мультиплексор и аналого-цифровой преобразователь подключены к микропроцессору, неподвижный многоканальный проточный аэрометрический приемник содержит камеру статического давления с воздухопроницаемыми стенками с кожухом, в которой установлен пневмоэлектрический преобразователь, выход которого через последовательно соединенные мультиплексор и аналого-цифровой преобразователь подключен к микропроцессору, при этом на внутренней поверхности осесимметричного приемника, на нижнем и верхнем экранирующих дисках установлены, по меньшей мере, по одному измерительному преобразователю температуры, выходы которых через последовательно соединенные мультиплексор и аналого-цифровой преобразователь подключены к микропроцессору, выходы которого соответственно подключены к управляющим входам коммутаторов, выходы которых соответственно соединены с термоэлектрическими нагревательными элементами, размещенными в полостях осесимметричного приемника, а также в полостях верхнего и нижнего экранирующих дисков, при этом пневмоэлектрические преобразователи, мультиплексор, аналого-цифровой преобразователь, микропроцессор и коммутаторы расположены в камере статического давления. Существенными отличительными признаками заявляемого изобретения являются следующие признаки: - выполнение неподвижного многоканального проточного аэрометрического приемника с камерой статического давления с воздухопроницаемыми стенками с кожухом, в которой установлен пневмоэлектрический преобразователь, выход которого через последовательно соединенные мультиплексор и аналого-цифровой преобразователь подключены к микропроцессору; - выполнение на внутренней поверхности осесимметричного приемника, на нижнем и верхнем экранирующих дисках, по меньшей мере по одному измерительному преобразователю температуры, выходы которых через последовательно соединенные мультиплексор и аналого-цифровой преобразователь подключены к микропроцессору, выходы которого соответственно подключены к управляющим входам коммутаторов, выходы которых соответственно соединены с термоэлектрическими нагревательными элементами, размещенными в полостях осесимметричного приемника, а также в полостях верхнего и нижнего экранирующих дисков; - выполнение в камере статического давления пневмоэлектрических преобразователей, мультиплексора, аналого-цифрового преобразователя, микропроцессора и коммутаторов. В отличие от прототипа указанные отличительные существенные признаки заявленного технического решения наряду с известными из уровня техники признаками обеспечивают получение технического результата, заключающегося в повышении точности и стабильности измерения статического давления, повышении надежности, а также снижают массогабаритные характеристики системы. Сущность изобретения, его реализуемость и возможность промышленного применения поясняются чертежами, представленными на Фиг. 1, 2. На Фиг. 1 - конструктивное исполнение устройства (в аксонометрии). На Фиг. 2 - структурная схема устройства. На Фиг. 1 и Фиг. 2 выполнены следующие позиции: 1 - неподвижный многоканальный проточный аэрометрический приемник; 2, 3 - экранирующие диски; 4 - трубки полного давления; 5 - кольцевые каналы с отверстиями, являющимися приемниками дросселированного статического давления; 6 - осесимметричный приемник; 7 - отверстие, являющееся приемником полного давления результирующего набегающего воздушного потока вихревой колонны; 8 - отверстия, являющиеся приемниками для забора давлений, определяющих положение вектора результирующей скорости набегающего воздушного потока вихревой колонны; 9 - камера статического давления; 10 - кожух; 11 - пневмопроводы; 12 - пневмометрические преобразователи; 13 - монтажные платы; 14 - пневмометрический преобразователь; 15- измерительный преобразователь температуры; 16 - электроизмерительная схема; 17 - мультиплексор; 18 - аналого-цифровой преобразователь; 19 - микропроцессор; 20 - измерительные преобразователи температуры; 21 - коммутаторы; 22 - термоэлектрические нагревательные элементы. Система воздушных сигналов вертолета содержит неподвижный многоканальный проточный аэрометрический приемник 1 (Фиг. 1), содержащий два разнесенных по высоте экранирующих диска 2 и 3, между внутренними профилированными поверхностями которых в азимутальной плоскости под одинаковыми углами расположены трубки 4 полного давления, воспринимающие давления Р5-Рn, определяющих направление набегающего воздушного потока, возникающего при продольном движении вертолета. На внутренних поверхностях экранирующих дисков 2 и 3 расположены кольцевые каналы 5 с отверстиями, являющимися приемниками дросселированного статического давления РСТ.Д набегающего воздушного потока, возникающего при продольном движении вертолета. На наружной поверхности верхнего экранирующего диска 3 установлен осесимметричный приемник 6, выполненный в виде полусферы с диаметром, равным диаметру верхнего экранирующего диска 3, предназначенный для получения информации о высотно-скоростных параметрах вертолета в области малых и околонулевых скоростей полета. На верхней поверхности осесимметричного приемника 6, на оси симметрии, расположено отверстие 7, являющееся приемником полного давления РП результирующего набегающего воздушного потока вихревой колонны. В плоскости, параллельной плоскости симметрии вертолета, а также в плоскости, перпендикулярной плоскости симметрии вертолета, под одинаковыми углами к оси симметрии на поверхности осесимметричного приемника 6 расположены, как минимум, четыре отверстия 8, являющиеся приемниками давлений P1, Р2, P3 и P4, определяющих положение вектора результирующей скорости набегающего воздушного потока вихревой колонны в плоскости, параллельной плоскости симметрии вертолета, и в плоскости, перпендикулярной плоскости симметрии вертолета. Для получения информации о величинах атмосферного давления РАТМ и температуры ТНВ наружного воздуха в установочной части неподвижного многоканального проточного аэрометрического приемника 1 сформирована камера 9 статического давления, выполненная в виде полого цилиндра с просверленными в нем отверстиями. Камера 9 (Фиг. 1, 2) статического давления защищена кожухом 10 (Фиг. 2) от непосредственного влияния набегающего воздушного потока. Отверстие 7 (Фиг. 1), являющееся приемником полного давления РП результирующего набегающего воздушного потока вихревой колонны, отверстия 8, являющиеся приемниками давлений P1, P2, P3 и Р4, определяющих положение вектора результирующей скорости набегающего воздушного потока вихревой колонны, трубки 4 полного давления, воспринимающие давления Р5-Рn, а также кольцевые каналы 5 с отверстиями, являющимися приемниками дросселированного статического давления РСТ.Д посредством пневмопроводов 11 соединены с пневмометрическими преобразователями 12 (Фиг. 1, 2), расположенными на монтажных платах 13 (Фиг. 1) в камере 9 (Фиг. 1, 2) статического давления. Соединение пневмопроводов 11 (Фиг. 1) с пневмометрическими преобразователями 12 (Фиг. 1, 2) условно не показано. Также на монтажных платах 13 (Фиг. 1) в камере 9 (Фиг. 1, 2) статического давления расположены пневмометрический преобразователь 14, вход которого воспринимает статическое давление в объеме камеры 9 статического давления, измерительный преобразователь 15 температуры и электроизмерительная схема 16 (Фиг. 2). Выход измерительного преобразователя 15 (Фиг. 1, 2) температуры соединен со входом электроизмерительной схемы 16 (Фиг. 2). Выходы пневмометрических преобразователей 12 и 14 (Фиг. 1, 2), а также выход электроизмерительной схемы 16 (Фиг. 2) через последовательно соединенные мультиплексор 17 (Фиг. 1, 2) и аналого-цифровой преобразователь 18 подключены к микропроцессору 19 (Фиг. 2). Мультиплексор 17 (Фиг. 1, 2), аналого-цифровой преобразователь 18 и микропроцессор 19 (Фиг. 2) также расположены на монтажных платах 13 (Фиг. 1) в камере 9 (Фиг. 1, 2) статического давления. Выход микропроцессора 19 (Фиг. 2) является выходом системы воздушных сигналов по высотно-скоростным параметрам вертолета, в том числе и в области малых и околонулевых скоростей полета, когда неподвижный многоканальный проточный аэрометрический приемник 1 (Фиг. 1, 2) находится в зоне вихревой колонны несущего винта вертолета. На внутренней поверхности осесимметричного приемника 6 (Фиг. 1), на экранирующих дисках 2 и 3 установлены, по меньшей мере, по одному измерительному преобразователю температуры 20 (Фиг. 1, 2), выходы которых через последовательно соединенные мультиплексор 17 и аналого-цифровой преобразователь 18 подключены к микропроцессору 19 (Фиг. 2). Выходы микропроцессора 19 подключены к управляющим входам коммутаторов 21 (Фиг. 1, 2), выходы которых соответственно соединены с термоэлектрическими нагревательными элементами 22, размещенными в полостях осесимметричного приемника 6 (Фиг. 1), а также в полостях экранирующих дисков 2 и 3. Коммутаторы 21 (Фиг. 1, 2) размещены на монтажных платах 13 (Фиг. 1) в камере 9 (Фиг. 1, 2) статического давления. Система воздушных сигналов вертолета обеспечивает получение информации о высотно-скоростных параметрах вертолета при двух различных характерных режимах обтекания неподвижного многоканального проточного аэрометрического приемника 1: - при полете вертолета на малых или околонулевых скоростях, а также на висении, когда неподвижный многоканальный проточный аэрометрический приемник 1 находится в створе вихревой колонны несущего винта вертолета; - в остальных режимах полета, когда неподвижный многоканальный проточный аэрометрический приемник 1 находится вне створа вихревой колонны несущего винта вертолета. Система воздушных сигналов вертолета работает следующим образом. Неподвижный многоканальный проточный аэрометрический приемник 1 устанавливается на фюзеляже вертолета в зоне, обеспечивающей обтекание неподвижного многоканального проточного аэрометрического приемника 1 потоком вихревой колонны несущего винта при движении вертолета на малых скоростях и на висении. Ось осесимметричного приемника 6 направлена вверх. При малых скоростях полета, а также на висении осесимметричный приемник 6 находится в створе вихревой колонны несущего винта вертолета и воспринимает давления P1, Р2, Р3, Р4, РП посредством отверстий 8, являющихся приемниками для забора давлений, определяющих положение вектора результирующей скорости набегающего воздушного потока вихревой колонны, и отверстия 7, являющегося приемником полного давления результирующего набегающего воздушного потока вихревой колонны. Давления P1, Р2, Р3, Р4 посредством пневмопроводов 11 передаются на входы пневмометрических преобразователей 12, расположенных на монтажных платах 13 внутри камеры 9 статического давления. В процессе обтекания неподвижного многоканального проточного аэрометрического приемника 1 в камере 9 статического давления, пневматически связанной с атмосферой, формируется область невозмущенного статического давления, равного атмосферному давлению РATM, что обеспечивается наличием кожуха 10, защищающего внутренний объем камеры 9 статического давления от непосредственного влияния набегающего воздушного потока. Давление РАТМ поступает на вход пневмометрического преобразователя 14, а также на вход пневмометрического преобразователя 12, на другой вход которого посредством пневмопровода 11 поступает давление РП от отверстия 7, являющегося приемником полного давления результирующего набегающего воздушного потока вихревой колонны. Температура заторможенного потока воздуха ТНВ воспринимается измерительным преобразователем температуры 15, выходной сигнал которого преобразовывается электроизмерительной схемой 16 и, наряду с выходными сигналами пневмометрических преобразователей 12 и 14, последовательно поступает на вход мультиплексора 17, аналого-цифрового преобразователя 18 и микропроцессора 19. Таким образом, на вход микропроцессора 19 поступают первичные информативные сигналы, необходимые для определения высотно-скоростных параметров вертолета. Вычисление высотно-скоростных параметров производится микропроцессором 19 в соответствии с уравнениями, приведенными в прототипе. Там же в виде условия определен критерий нахождения неподвижного многоканального проточного аэрометрического приемника 1 в створе вихревой колонны несущего винта. Невыполнение этого условия свидетельствует о выходе неподвижного многоканального проточного аэрометрического приемника 1 из зоны вихревой колонны несущего винта вертолета. В этом случае для восприятия информации о параметрах вектора воздушной скорости вертолета с помощью двух экранирующих дисков 2 и 3 в набегающем воздушном потоке в плоскости рыскания выделяется плоскопараллельная воздушная струя, параметры которой зависят от величины и угла направления вектора истинной воздушной скорости вертолета в плоскости рыскания. С помощью расположенных между двумя экранирующими дисками 2 и 3 трубок 4 полного давления и кольцевых каналов 5 с отверстиями, являющимися приемниками дросселированного статического давления, воспринимаются давления Р5-Рn и РСТ.Д, пропорциональные величине вектора истинной воздушной скорости и его направлению. Давления Р5-Рn посредством пневмопроводов 11 передаются на входы пневмометрических преобразователей 12. Также на входы пневмометрических преобразователей 12 подается дросселированное статическое давление РСТ.Д. Выходные сигналы пневмометрических преобразователей 12 и 14, а также выходной сигнал электроизмерительной схемы 16 последовательно поступают на вход мультиплексора 17, аналого-цифрового преобразователя 18 и микропроцессора 19. Вычисление высотно-скоростных параметров производится микропроцессором 19 в соответствии с уравнениями, приведенными в аналоге. Вне зависимости от режима работы системы воздушных сигналов вертолета, определяемого характером обтекания неподвижного многоканального проточного аэрометрического приемника 1, система воздушных сигналов вертолета реализует функцию автоматического обогрева неподвижного многоканального проточного аэрометрического приемника 1. Выходные сигналы измерительных преобразователей температуры 20 последовательно поступают на вход мультиплексора 17, аналого-цифрового преобразователя 18 и микропроцессора 19. В микропроцессоре 19 проводится анализ значений поступивших информативных сигналов, после чего с выходов микропроцессора 19 подается сигнал управления на входы коммутаторов 21, осуществляющих замыкание термоэлектрических нагревательных элементов 22 с цепями питания. В отличие от прототипа, неподвижный многоканальный проточный аэрометрический приемник содержит камеру статического давления с воздухопроницаемыми стенками с кожухом, в которой установлен пневмоэлектрический преобразователь, выход которого через последовательно соединенные мультиплексор и аналого-цифровой преобразователь подключен к микропроцессору, что позволяет повысить стабильность и точность измерения статического давления, поскольку обеспечивает измерение давления во внутреннем объеме камеры статического давления, защищенной кожухом от непосредственного влияния набегающего воздушного потока и индуктивного потока несущего винта вертолета, которое может выражаться в пульсациях местного статического давления на поверхности неподвижного многоканального проточного аэрометрического приемника. В отличие от прототипа, на внутренней поверхности осесимметричного приемника, на нижнем и верхнем экранирующих дисках, установлены, по меньшей мере, по одному измерительному преобразователю температуры, выходы которых через последовательно соединенные мультиплексор и аналого-цифровой преобразователь подключены к микропроцессору, выходы которого соответственно подключены к управляющим входам коммутаторов, выходы которых соответственно соединены с термоэлектрическими нагревательными элементами, размещенными в полостях осесимметричного приемника, а также в полостях верхнего и нижнего экранирующих дисков, что обеспечивает реализацию автоматического обогрева неподвижного многоканального проточного аэрометрического приемника и позволяет избежать его обледенения и закупорку льдом полостей дросселированного статического давления, трубок полного давления и отверстий, являющихся приемниками давлений, соответственно повышается надежность заявленного устройства. В отличие от прототипа, пневмоэлектрические преобразователи, мультиплексор, аналого-цифровой преобразователь, микропроцессор и коммутаторы размещены в камере статического давления, что позволяет расположить все функциональные элементы системы в едином корпусе, а именно внутри неподвижного многоканального проточного аэрометрического приемника, что приводит к снижению массогабаритных характеристик заявленной системы. Устройство может быть реализовано приборостроительным предприятием с применением электронных компонентов, выпускаемых промышленностью. В качестве пневмометрических преобразователей могут быть использованы датчики давления серии AWM3000, датчики давления серии SSC производства компании Honeywell и датчики давления серии МРХ4115 производства компании Freescale. В качестве измерительных преобразователей температуры могут быть использованы микросхема серии 1019ЧТ3С по АЕЯР.431320.507 ТУ и терморезисторы серии СТ3-18 по ОЖО.468.031 ТУ. В качестве мультиплексора может быть использована микросхема серии К155КП1 по БКО.348.006 ТУ. В качестве аналого-цифрового преобразователя может быть использована микросхема серии 572ПВ1 по БКО.348.432-04 ТУ. В качестве микропроцессора может быть использована микросхема серии 1986 ВЕ1Т по АЕЯР.431296.008 ТУ. В качестве коммутаторов может быть использована микросхема серии 249КП1 по 1X3.438.000 ТУ. Термоэлектрические нагревательные элементы могут быть выполнены в виде полых металлических трубок с размещенными внутри проволочными резистивными элементами, изготовленными из материала с высоким удельным электрическим сопротивлением, например из нихрома. Заявленная техническая проблема повышения безопасности полетов вертолетов, которая не могла быть решена при осуществлении аналогов заявленного технического решения, решается при осуществлении и использовании заявленного изобретения, что достигается повышением точности и стабильности определения высотно-скоростных параметров вертолета и повышением надежности системы воздушных сигналов вертолета. Заявленное изобретение имеет отличия от наиболее близкого аналога, следовательно, заявленное техническое решение удовлетворяет условию патентоспособности «новизна». Заявленное техническое решение явным образом не следует из уровня техники; в процессе патентного поиска не выявлены технические решения, имеющие признаки, совпадающие с отличительными признаками заявленного изобретения, следовательно, оно удовлетворяет условию патентоспособности «изобретательский уровень». Предлагаемое изобретение технически осуществимо и промышленно реализуемо на приборостроительном предприятии, проведенные испытания подтверждают достижение заявленного технического результата. В связи с этим изобретение соответствует условию патентоспособности «промышленная применимость».