патент
№ RU 2602505
МПК A61B1/045

СПОСОБ ФОРМИРОВАНИЯ ТЕЛЕВИЗИОННОГО ИЗОБРАЖЕНИЯ В МУТНЫХ СРЕДАХ С ПРЕОБЛАДАЮЩИМ НАД ПОГЛОЩЕНИЕМ РАССЕЯНИЕМ (ВАРИАНТЫ) И УСТРОЙСТВО ДЛЯ ЕГО РЕАЛИЗАЦИИ

Авторы:
Гультяев Юрий Павлович Пан Валерий Игоревич Чиркунова Анастасия Анатольевна
Все (4)
Номер заявки
2015145038/07
Дата подачи заявки
20.10.2015
Опубликовано
20.11.2016
Страна
RU
Как управлять
интеллектуальной собственностью
Чертежи 
3
Реферат

Изобретение относится к цифровой фотографии для медицинских целей, в частности, такой как биологическая ткань, в ближней инфракрасной области спектра. Технический результат заключается в повышении контрастной чувствительности и отношения сигнал/шум видеосистемы для наблюдения малоконтрастных объектов, находящихся в мутной среде, упрощении устройства для формирования телевизионного изображения в мутных средах с преобладающим над поглощением рассеянием. Результат достигается непрерывным освещением наблюдаемой области 17 излучением 1 в диапазоне 400…470 нм и излучением 2 в диапазоне 810…900 нм. Отраженный от поверхности мутной среды свет проходит через оптическую систему, состоящую из дихроичного светофильтра 3 и объектива 4, и регистрируется цветной телевизионной камерой 5, которая преобразует его сигналы R, G и В, после чего сигнал канала В в блоке 8 низкочастотной фильтрации подвергают низкочастотной фильтрации и в блоке 9 преобразования сигналов вычитают из сигналов каналов G и R, полученные разности в блоке 10 накопления подвергают обработке, повышающей отношение сигнал/шум, в блоке 11 контрастирования повышают контраст и подают на устройство 7 отображения изображения в следующем порядке: на канал В - разность R-B, на канал G - разность G-B, на канал R - разность R-B. 3 н. и 2 з.п. ф-лы, 3 ил.

Формула изобретения

1. Способ формирования телевизионного изображения в мутных средах с преобладающим над поглощением рассеянием, включающий непрерывное освещение наблюдаемой области синим и ближним инфракрасным светом, отличающийся тем, что отраженный от поверхности и внутренних частиц мутной среды свет пропускают через дихроичный светофильтр, преобразуют телевизионной камерой в телевизионные сигналы каналов R, G, В, сигнал канала В подвергают низкочастотной фильтрации и вычитают из сигналов каналов G и R, после чего полученные разности подвергают обработке, повышающей отношение сигнал/шум, контрастируют и подают на устройство отображения изображения в следующем порядке: на канал В - разность R-B, на канал G - разность G-B, на канал R - разность R-B.

2. Способ формирования телевизионного изображения в мутных средах с преобладающим над поглощением рассеянием, включающий непрерывное освещение наблюдаемой области синим и ближним инфракрасным светом, отличающийся тем, что отраженный от поверхности и внутренних частиц мутной среды свет пропускают через дихроичный светофильтр, преобразуют телевизионной камерой в телевизионные сигналы каналов R, G, В, сигналы каналов R, G, В подвергают низкочастотной фильтрации, после которой из сигнала B1 вычитают полусумму сигналов каналов R и G, полученный сигнал В2, взятый с коэффициентом К1, лежащим в диапазоне 0…1, вычитают из полусуммы сигналов каналов R и G, а результирующий сигнал домножают на коэффициент масштабирования сигнала после компенсации К2, лежащий в диапазоне 1…7, после чего полученный сигнал накапливают, контрастируют и подают на устройство отображения изображения.

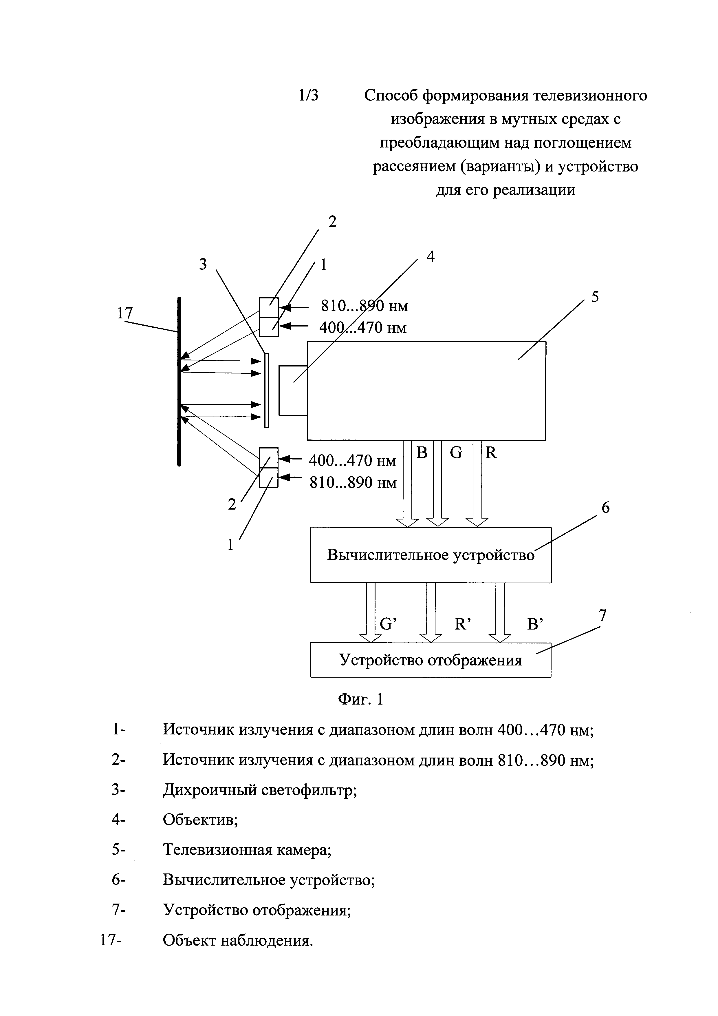
3. Устройство формирования телевизионного изображения в мутных средах с преобладающим над поглощением рассеянием, содержащее источник инфракрасного излучения ближнего диапазона с максимумом излучения в диапазоне 810…900 нм, оптическую систему для восприятия, фильтрации и фокусирования сигнала, телевизионную камеру, соединенную через вычислительное устройство, обрабатывающее видеосигнал, с устройством отображения, отличающееся тем, что введен второй источник излучения с максимумом длины волны излучения 400…470 нм в синей области спектра, телевизионная камера выполнена цветной, при этом оптическая система, выполненная из дихроичного светофильтра и объектива, преобразует только упомянутые длины волн.

4. Устройство по п. 3, отличающееся тем, что вычислительное устройство содержит блок низкочастотной фильтрации, блок преобразования сигнала, блок накопления, блок контрастирования и производящее обработку сигналов изображений.

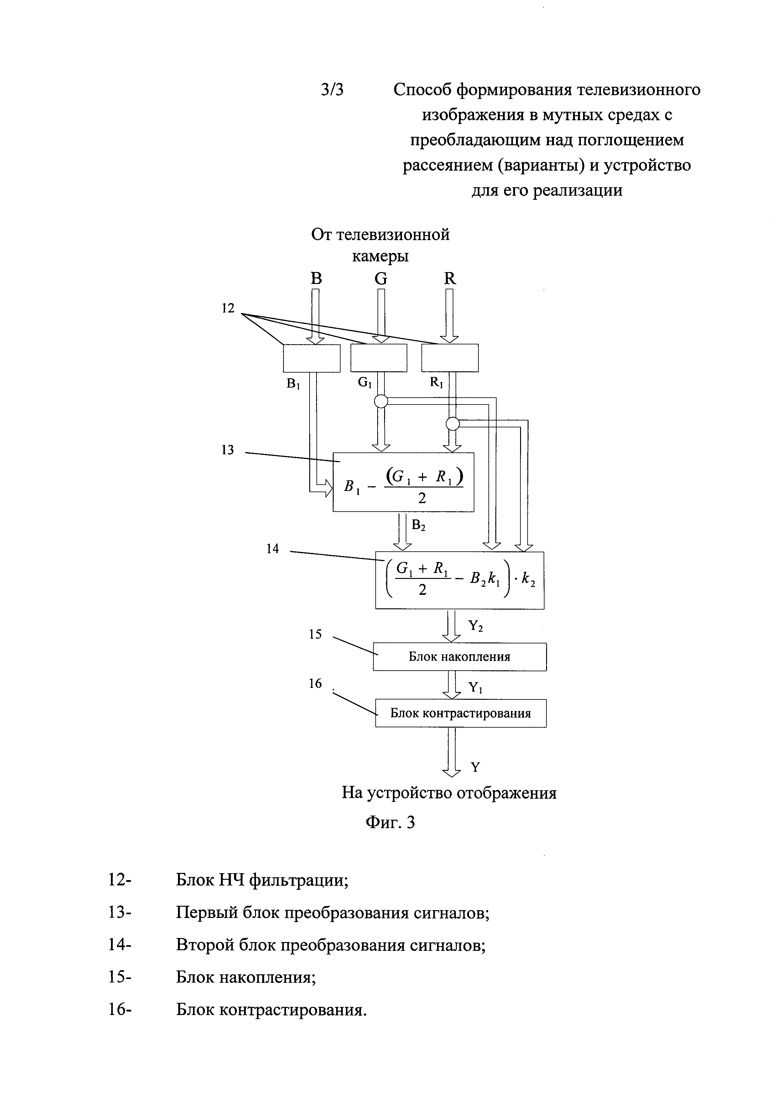
5. Устройство по п. 3, отличающееся тем, что вычислительное устройство содержит блок низкочастотной фильтрации, два блока преобразования сигнала, блок накопления, блок контрастирования и производящее обработку сигналов изображений.

Описание

[1]

Предлагаемое техническое решение относится к области телевидения и цифровой фотографии для медицинских целей и, в частности, к системам и способам получения изображений в мутных средах, таких как биологические ткани, в ближней инфракрасной области спектра, в частности, для диагностики в областях флебологии, дерматологии и косметологии.

[2]

Известно техническое решение, описанное в патенте на изобретение RU 2469637 C2 (опубл. 17.12.2007) «Способ для оптического формирования изображений внутренней области мутной среды, способ для восстановления изображения внутренней области мутной среды, устройство для формирования изображений внутренней области мутной среды, медицинское устройство получения изображений и компьютерные программные продукты для использования в упомянутых способах и устройствах», содержащее этапы, на которых: мутная среда помещается в приемную емкость, излучение от источника излучения вводится и выводится из приемной емкости и обнаруживается, после чего получается набор данных из обнаруженного излучения. Набор данных затем передается алгоритму восстановления изображений, и изображение внутренней области мутной среды восстанавливается на основе обнаруженного излучения. Согласно изобретению набор данных перед передачей набора данных алгоритму восстановления изображений превращается в дополнительный набор данных, причем дополнительный набор данных удовлетворяет входному предположению, лежащему в основе алгоритма восстановления изображений.

[3]

Устройство для формирования изображений внутренней области мутной среды содержит: приемную емкость для размещения мутной среды, источник излучения для формирования излучения, которое должно вводиться в приемную емкость, модуль фотодетектора для обнаружения излучения, исходящего из приемной емкости в результате введения излучения от источника излучения в приемную емкость, модуль восстановления изображений для восстановления изображения внутренней области мутной среды на основе обнаруженного излучения и модуль обработки данных для выполнения способа.

[4]

Недостатком данного способа и устройства является сложность введения излучения в мутную среду, т.к. требуется промежуточная флюоресцирующая среда, многоканальная система ввода изображения в приемную емкость, а также многоканальная система приема отраженного от поверхности мутной среды излучения.

[5]

Наиболее близким по своей технической сути к заявляемым способу и устройству является техническое решение, описанное в патенте на изобретение RU 2510235 C2 (опубл. 18.03.2009) «Система визуализации для получения комбинированного изображения из полноцветного изображения в отраженном свете и изображение в ближней инфракрасной области», содержащее этапы, на которых:

[6]

- непрерывно освещают наблюдаемую область синим/зеленым светом;

[7]

- освещают наблюдаемую область красным светом и светом ближней ИК-области спектра, при этом красный свет и/или свет ближней ИК-области спектра периодически включают и выключают;

[8]

- направляют синий отраженный свет, зеленый отраженный свет, а также суммарный красный отраженный свет и люминесцентное излучение в ближней ИК-области спектра на один или более формирователей сигналов изображения, выполненных с возможностью раздельного измерения отраженного синего света, отраженного зеленого света и суммарного отраженного красного света и люминесцентного излучения в ближней ИК-области спектра, при этом измеряют отраженный красный свет и люминесцентное излучение в ближней ИК-области спектра синхронно с переключением красного света и света ближней ИК-области спектра;

[9]

- определяют по отдельности спектральную составляющую отраженного красного света и спектральную составляющую люминесцентного излучения в ближней ИК-области спектра на основе сигналов изображения суммарного отраженного красного света и люминесцентного излучения в ближней ИК-области спектра;

[10]

- выводят на экран полноцветное изображение наблюдаемой области на основе синего отраженного света, зеленого отраженного света и отдельно определенной спектральной составляющей красного света;

[11]

- выводят на экран изображение в ближней ИК-области спектра на основе спектральной составляющей люминесцентного излучения в ближней ИК-области спектра.

[12]

Система содержит источник света, видеокамеру с формирователями сигнала, контроллер и дисплей. Использование изобретения позволяет улучшить разрешение полученного изображения в видимой и инфракрасной областях спектра и уменьшить количество артефактов, обусловленных движением.

[13]

Недостатком данного способа и устройства является сложность реализации, поскольку наличие светоделительной призмы, разделяющей излучение на три диапазона (В, G, R+IR), подразумевает необходимость установки трех фотоприемников для регистрации излучения в данных трех каналах.

[14]

Техническим результатом заявляемого способа и устройства является повышение контрастной чувствительности и увеличение отношения сигнал/шум видеосистемы для наблюдения малоконтрастных объектов, находящихся в мутной среде.

[15]

Другим техническим результатом является упрощение устройства для формирования телевизионного изображения в мутных средах с преобладающим над поглощением рассеянием.

[16]

Это достигается тем, что первый вариант способа формирования телевизионного изображения в мутных средах с преобладающим над поглощением рассеянием, включающий непрерывное освещение наблюдаемой области синим и ближним инфракрасным светом, отличается тем, что отраженный от поверхности и внутренних частиц мутной среды свет пропускают через дихроичный светофильтр, преобразуют телевизионной камерой в телевизионные сигналы каналов R, G, В, сигнал канала В подвергают низкочастотной фильтрации и вычитают из сигналов каналов G и R, после чего полученные разности подвергают обработке, повышающей отношение сигнал/шум, контрастируют и подают на устройство отображения изображения в следующем порядке: на канал В - разность R-B, на канал G - разность G-B, на канал R - разность R-B.

[17]

Второй вариант способа формирования телевизионного изображения в мутных средах с преобладающим над поглощением рассеянием, включающий непрерывное освещение наблюдаемой области синим и ближним инфракрасным светом, отличается тем, что отраженный от поверхности и внутренних частиц мутной среды свет пропускают через дихроичный светофильтр, преобразуют телевизионной камерой в телевизионные сигналы каналов R, G, В, сигналы каналов R, G, В подвергают низкочастотной фильтрации, поле которой из сигнала Β1 вычитают полусумму сигналов каналов R и G, полученный сигнал В2, взятый с коэффициентом К1, лежащим в диапазоне 0…1, вычитают из полусуммы сигналов каналов R и G, а результирующий сигнал домножают на коэффициент масштабирования сигнала после компенсации К2, лежащий в диапазоне 1…7, после чего полученный сигнал накапливают, контрастируют и подают на устройство отображения изображения.

[18]

Устройство формирования телевизионного изображения в мутных средах с преобладающим над поглощением рассеянием, содержащее источник инфракрасного излучения ближнего диапазона с максимумом излучения в диапазоне 810…900 нм, оптическую систему для восприятия, фильтрации и фокусирования сигнала, телевизионную камеру, соединенную через вычислительное устройство, обрабатывающее видеосигнал, с устройством отображения, отличается тем, что введен второй источник излучения с максимумом длины волны излучения 400…470 нм в синей области спектра, телевизионная камера выполнена цветной, при этом оптическая система, состоящая из дихроичного светофильтра и объектива, преобразует только упомянутые длины волн.

[19]

Конкретный вариант исполнения вычислительного устройства, преобразующего сигналы R, G, В в сигналы R3, G3, В3, содержит блок низкочастотной фильтрации, блок преобразования сигналов, блок контрастирования и блок накопления.

[20]

Другой конкретный вариант исполнения вычислительного устройства, преобразующего сигналы R, G, В в сигнал У, содержит блок низкочастотной фильтрации, два блока преобразования сигналов, блок контрастирования и блок накопления.

[21]

Представленные чертежи поясняют суть предлагаемого технического решения.

[22]

На Фиг. 1 изображена структурная схема устройства для реализации способа формирования телевизионного изображения в мутных средах с преобладающим над поглощением рассеиванием.

[23]

На Фиг. 2 и Фиг. 3 изображены два варианта структурных схем вычислительного устройства.

[24]

Устройство формирования телевизионного изображения в мутных средах с преобладающим над поглощением рассеянием (Фиг. 1) содержит источник 1 излучения с максимумом длины волны излучения 400…470 нм в синей области спектра и источник 2 излучения в ближнем инфракрасном диапазоне с максимумом излучения в диапазоне 810…900 нм, оптическую систему, состоящую из дихроичного светофильтра 3 и объектива 4 для восприятия, фильтрации и фокусирования сигнала, цветную телевизионную камеру 5, соединенную через вычислительное устройство 6, обрабатывающее видеосигнал, с устройством 7 отображения.

[25]

Первый вариант исполнения вычислительного устройства, преобразующего сигналы R, G, В в сигналы R3, G3, В3, содержит блок 8 низкочастотной фильтрации, блок 9 преобразования сигналов, блок 10 контрастирования и блок 11 накопления.

[26]

Другой вариант исполнения вычислительного устройства, преобразующего сигналы R, G, В в сигнал У, содержит блок 12 низкочастотной фильтрации, первый блок 13 преобразования сигналов, второй блок 14 преобразования сигналов, блок 15 контрастирования и блок 16 накопления.

[27]

Реализация заявленного способа объясняется следующим образом.

[28]

Первый вариант способа формирования телевизионного изображения в мутных средах с преобладающим над поглощением рассеиванием (Фиг. 1, Фиг. 2) включает в себя следующую последовательность формирования телевизионного изображения объекта, находящегося в мутной среде с преобладающим над поглощением рассеиванием:

[29]

- освещают поле зрения, содержащее объект 17 наблюдения, в непрерывном режиме источником 1 излучения в диапазоне 400…470 нм;

[30]

- освещают поле зрения, содержащее объект 17 наблюдения, в непрерывном режиме источником 2 излучения в диапазоне длин волн 810…900 нм;

[31]

- отраженный от поверхности и внутренних частиц мутной среды свет пропускают через дихроичный светофильтр 3, а затем объектив 4;

[32]

- свет регистрируют цветной ТВ камерой 5, преобразуют в сигналы R, G и В и подают на вычислительное устройство 6;

[33]

- сигнал канала В в блоке 8 низкочастотной фильтрации подвергают низкочастотной фильтрации;

[34]

- после этого сигнал B1 в блоке 9 преобразования сигналов вычитают из сигналов каналов R и G;

[35]

- производят в блоке 10 накопления накопление полученных сигналов;

[36]

- в блоке 11 контрастирования производят контрастирование сигналов;

[37]

- подают полученные сигналы G3, R3 и R3 на устройство 8 отображения изображения.

[38]

Второй вариант способа формирования телевизионного изображения в мутных средах с преобладающим над поглощением рассеиванием (Фиг. 1, Фиг. 3) включает в себя следующую последовательность формирования телевизионного изображения объекта, находящегося в мутной среде с преобладающим над поглощением рассеиванием:

[39]

- освещают поле зрения, содержащее объект 17 наблюдения, в непрерывном режиме источником 1 излучения в диапазоне длин волн 400…470 нм;

[40]

- освещают поле зрения, содержащее объект 17 наблюдения, в непрерывном режиме источником 2 излучения в диапазоне 810…900 нм;

[41]

- отраженный от поверхности и внутренних частиц мутной среды свет пропускают через дихроичный светофильтр 3, а затем объектив 4;

[42]

- свет регистрируют цветной телевизионной камерой 5, преобразуют в сигналы R, G и В и подают на вычислительное устройство 6;

[43]

- сигналы каналов В, G, R в блоке 12 низкочастотной фильтрации подвергают низкочастотной фильтрации;

[44]

- из сигнала B1 в первом блоке 13 преобразования сигналов вычитают полусумму сигналов каналов R и G;

[45]

- после этого из полусуммы сигналов каналов R и G во втором блоке 14 преобразования сигналов вычитают сигнал В2, взятый с коэффициентом К1 (коэффициент определяет долю сигнала В2), лежащим в диапазоне 0…1, а результирующий сигнал домножают на коэффициент К2 (коэффициент масштабирования сигнала после компенсации до требуемого уровня), лежащий в диапазоне 1…7;

[46]

- в блоке 15 накопления производят накопление полученного сигнала У2;

[47]

- в блоке 16 контрастирования производят контрастирование сигналов;

[48]

- подают полученный сигнал У на устройство 7 отображения изображения.

[49]

Таким образом, результатом работы устройства является повышение контрастной чувствительности и увеличение отношения сигнал/шум видеосистемы для наблюдения малоконтрастных объектов, находящихся в мутной среде. Испытания показали достижение заявленного результата.

Как компенсировать расходы
на инновационную разработку
Похожие патенты