патент
№ RU 2613205
МПК F41F3/052

УНИВЕРСАЛЬНЫЙ МОДУЛЬ ФИКСАЦИИ РАКЕТ В ПУСКОВОЙ УСТАНОВКЕ

Авторы:
Захаров Максим Геннадьевич
Номер заявки
2015130126
Дата подачи заявки
21.07.2015
Опубликовано
15.03.2017
Страна
RU
Как управлять
интеллектуальной собственностью
Чертежи 
5
Реферат

Изобретение относится к военной технике, в частности к устройствам удержания боеприпасов (ракет), и представляет собой универсальный модуль фиксации ракет в пусковой установке (УМФР). УМФР в пусковой установке (ПУ) состоит из металлического корпуса, выполненного из двух идентичных половин, шарнирно связанных между собой через ось в кронштейне и фиксируемых запорным устройством. Внутри корпуса установлена система приводов. Система приводов передает движение с рукоятки, расположенной на корпусе, на четыре фиксатора, имеющих подвижные лапки, позволяющие удерживать ракеты различных диаметров в ПУ. Фиксаторы выдвигаются из корпуса до диаметра укладываемой ракеты, соответствующего риске на втулке фиксатора. Техническим результатом изобретения является взаимозаменяемость средств крепления ракет различного диаметра в ПУ. 5 ил.

Формула изобретения

Универсальный модуль фиксации ракет в пусковой установке, состоящий из металлического корпуса, отличающийся тем, что в корпусе, выполненном из двух идентичных половин, шарнирно связанных между собой через ось в кронштейне и фиксируемых запорным устройством, установлена система приводов, передающая движение с рукоятки, расположенной на корпусе, на четыре фиксатора, имеющих подвижные лапки, которые выдвигаются из корпуса до диаметра устанавливаемой ракеты, соответствующего риске на втулке фиксатора.

Описание

[1]

Изобретение относится к военной технике, в частности к области удержания боеприпасов (ракет), и представляет собой универсальный модуль фиксации ракет (УМФР) в пусковой установке (ПУ).

[2]

Известны следующие системы и способы удержания боеприпасов:

[3]

1. Изобретение [1. Патент 2401408 RU, МПК F41F 3/06. Самолетная пусковая установка для запуска баллистических ракет космического назначения / Ю.С. Алдакушев, Е.Ю. Букрина, В.М. Денисов, В.И. Мурашев, А.П. Шальнев. - Опубл. 10.10.2010] относится к авиакосмической технике и может быть использовано для десантирования баллистических ракет из самолета. Самолетная пусковая установка для запуска баллистических ракет содержит установленный на грузовом полу самолета-носителя транспортно-пусковой контейнер (ТПК) с днищем и открытым торцом, ориентированным в хвост самолета. Для выталкивания ракеты из ТПК на его днище установлено энергетическое устройство. Направление ракеты при движении осуществляется опорно-ведущими поясами, закрепленными на ее корпусе. ТПК снабжен двумя ложементными опорами с боковыми горизонтальными платформами. Каждая из платформ шарнирно соединена с двумя парами кареток, установленных на рельсовые направляющие, закрепленные на грузовом полу самолета-носителя. Часть рельсовых направляющих выполнена облегченной и съемной. Направляющие под каретками закреплены стационарно на грузовом полу самолета-носителя и имеют силовые боковые стенки, на которых смонтированы устройства фиксации кареток в продольном и поперечном направлениях. Снижаются влияние деформаций грузового пола на ракету и уровень нагружения корпуса при десантировании.

[4]

Недостаток данного изобретения в части раскрепления ТПК заключается в том, что ложементные опоры предназначены для одного конкретного ТПК и не могут использоваться для ТПК, имеющего другой диаметр.

[5]

2. Изобретение [2. Патент 2353850 RU, МПК F16M 11/00; В60Р 3/11. Ложементная опора для транспортировки длинномерных нежестких и невибростойких грузов / Г.А. Павлов, В.И. Куприянов, М.В. Гаврилов. 27.04.2009] относится к средствам опирания длинномерных нежестких и невибростойких грузов при их транспортировке по автомобильным и железным дорогам. Опора выполнена в виде ложемента с упругой прокладкой под перевозимый груз, размещенный на опорном основании транспортного средства и связанный с последним пневмогидравлическими подрессоривающими опорами. Устройство для регулирования жесткости включает в себя источник давления газа, газораспределительное устройство, магистрали связи баллонов высокого и низкого давления с установленным в ней компрессором перекачки газа; разветвляющуюся магистраль связи источника давления с газовыми полостями баллонов с установленными в ней датчиком давления и нормально закрытым электропневмоклапаном. Блок управления связан с датчиком давления и управляет работой газораспределительного устройства, электропневмоклапана и компрессора. Устройство для регулирования демпфирования включает в себя два дроссельных устройства с регулируемым гидросопротивлением, установленных соответственно в гидравлических магистралях, и указанный блок управления работой дроссельных устройств, снимающий с них сигналы о текущих значениях гидросопротивления. Регулирование жесткости опоры осуществляется за счет повышения или уменьшения давления в газовых полостях газожидкостных баллонов, а демпфирование - за счет уменьшения или увеличения площади проходных сечений дроссельных устройств.

[6]

Недостаток данного изобретения заключается в том, что ложементы предназначены только для транспортирования и не могут применяться на ПУ. Также недостатком является то, что ложемент не универсален под грузы различных диаметров.

[7]

3. Изобретение [3. Патент 2455202 RU, МПК B64F 1/32. Устройство для транспортировки, подъема и подвески грузов на летательный аппарат / С.Е. Долганов, Г.А. Румянцев, С.С. Плющ. - Опубл. 10.07.2012] относится к средствам наземного обслуживания авиационной техники, в частности к средствам для транспортировки, подъема и подвески грузов на летательный аппарат. Устройство содержит тележку с рамой и разъемно установленное на тележке грузоподъемное устройство, которое снабжено универсальным ложементом и тросовой системой, соединенной с узлами подвески летательного аппарата и лебедкой. Тросовая система выполнена с выравнивающим балансиром, отклоняющими роликами и наконечниками для соединения с узлами подвески. Один из блоков тросовой системы, выполняющий функцию выравнивающего балансира, снабжен вмонтированным в него роликом, а второй блок установлен шарнирно на штанге лебедки и снабжен осью и роликом. Ложемент выполнен в виде дисков, шарнирно закрепленных в проушинах основания ложемента с возможностью их переустановки и фиксации. Диски выполнены с углублениями разных диаметров для обеспечения контакта с ними разных грузов соответствующих диаметров. Достигается обеспечение различных схем подъема в зависимости от требуемой грузоподъемности, возможность подвески грузов увеличенной массы и разного диаметра без замены ложемента, упрощение конструкции узлов подвески грузов.

[8]

Недостатками данного изобретения являются слабая система фиксации ракеты от поперечных перемещений и невозможность его использования на ПУ.

[9]

4. Наиболее близкой к заявляемому изобретению по совокупности существенных признаков является корабельная пусковая система [4. Патент 2529252 RU, МПК 2006.01 F41F 3/042. Корабельная пусковая система / В.И. Глазатов, В.Г. Долбенков, В.В. Никифоров, В.Ф. Потапов. - Опубл. 27.09.2014. Бюл. №27], содержащая пусковую установку в виде контейнера с крышкой и опорным фланцем, каркас с гнездами, нижние, верхние и промежуточные основания с ячейками, транспортно-пусковые стаканы (ТПС) (контейнеры), средства крепления ТПС, устройство герметизации, резинокордную оболочку, средства продольной и поперечной амортизации каркаса, нуль-установители, упоры, фундаменты контейнера, исполнительный гидроцилиндр, шток, рычажный механизм, тяги, направляющий стакан, амортизаторы из эластичного материала, опорные элементы, амортизирующее устройство, механизмы автоматической стыковки донных разъемов электрических соединителей ТПС, герметизирующее уплотнение, центрирующий направляющий элемент в виде штыря, элемент в виде ромбического пальца, защитный козырек, втулку с индивидуальным герметизирующим уплотнением.

[10]

Система крепления ракет в данном изобретении обладает следующими недостатками:

[11]

- может использоваться только в корабельных ПУ;

[12]

- для различных размеров ракет необходимо использовать дополнительные приспособления (переходные втулки);

[13]

- имеет громоздкую опорную конструкцию;

[14]

- размерами контейнера ограничено количество установленных ракет.

[15]

Целью изобретения является создание универсального модуля фиксации ракет (УМФР) различных диаметров в составе ПУ, как мобильных, так и стационарных, а также для модернизации ракетных комплексов, состоящих на вооружении.

[16]

Осуществление поставленной цели достигается установкой в УМФР четырех подвижных фиксаторов, позволяющих удерживать ракеты различных диаметров в ПУ от поперечных перемещений.

[17]

Универсальный модуль фиксации ракет в ПУ состоит из металлического корпуса, выполненного из двух идентичных половин, шарнирно связанных между собой через ось в кронштейне и фиксируемых запорным устройством. Внутри корпуса установлена система приводов, представляющая собой набор ведущего и двух ведомых валов, на которых установлены шестерни конической зубчатой передачи. Система приводов передает движение с рукоятки, расположенной на корпусе, на четыре фиксатора, имеющих подвижные лапки. Фиксаторы выдвигаются из корпуса до диаметра укладываемой ракеты, соответствующего риске на втулке фиксатора.

[18]

Изобретение поясняется чертежами:

[19]

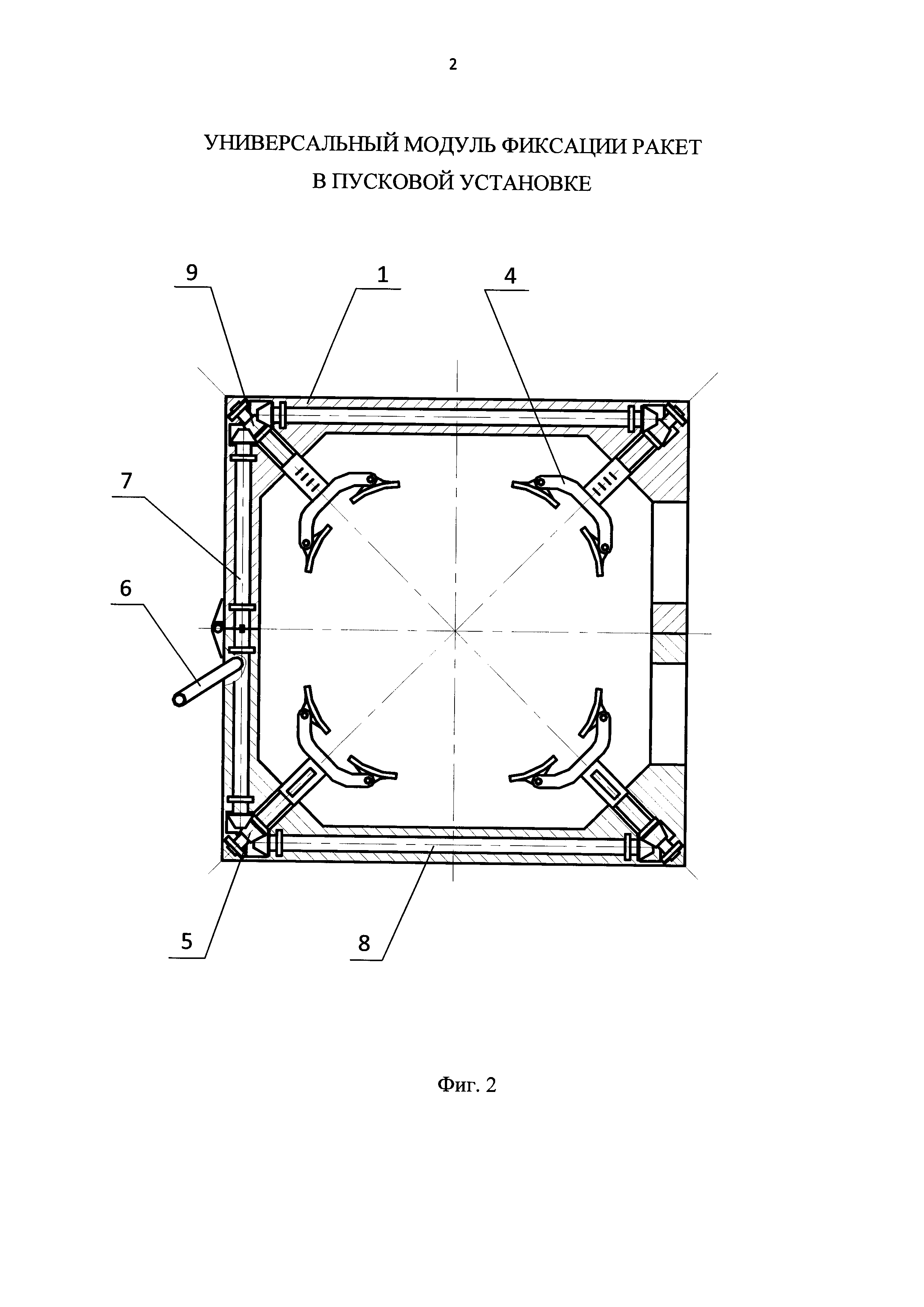
На Фиг. 1 показан УМФР в ПУ. УМФР представляет собой корпус 1, выполненный из двух идентичных половин, шарнирно связанных между собой через ось в кронштейне 2 и фиксируемых запорным устройством. Внутри корпуса 1 установлена система приводов 3 и смонтированы фиксаторы 4 с подвижными лапками.

[20]

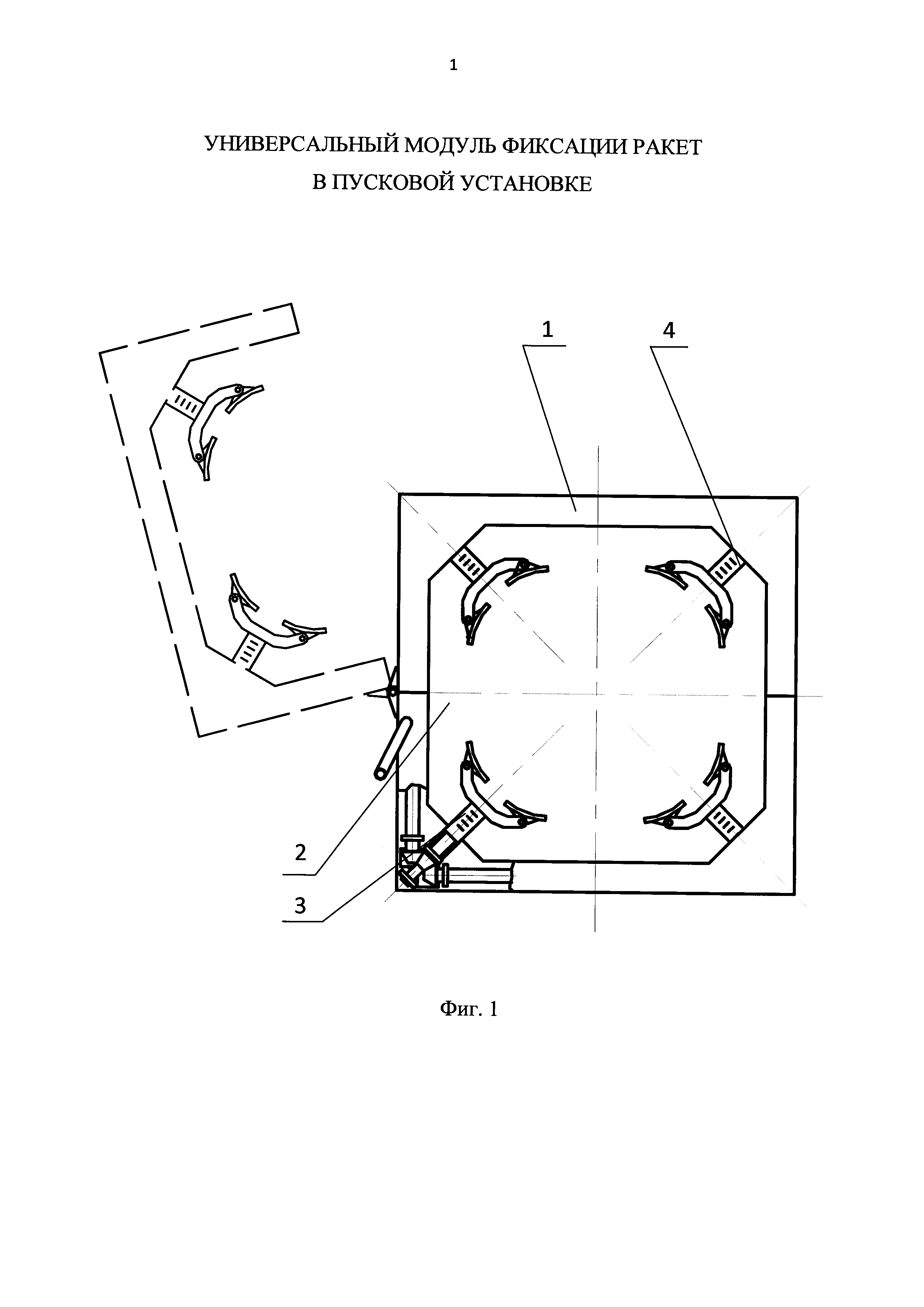
На Фиг. 2 показана система приводов, размещенная в корпусе 1 на подшипниках 5. Система состоит из: рукоятки 6, ведущего вала 7, двух ведомых валов 8 и четырех приводов 9 фиксаторов 4. Крутящий момент с рукоятки 6 на ведущий вал 7 передается за счет червячной передачи с ведущего вала на приводы 9 фиксаторов 4 и ведомые валы 8 посредством конической зубчатой передачи. Система приводов обеспечивает синхронное выдвижение фиксаторов 4 из корпуса 1. Также возможна замена рукоятки 6 на электропривод для передачи крутящего момента на ведущий вал.

[21]

На Фиг. 3 показаны конструкция и работа фиксатора 4, представляющего собой втулку 10 с упорной резьбой внутри и канавкой снаружи для предотвращения вращения фиксатора 4 относительно корпуса 1 (при вращении приводов фиксаторов). На втулке 10 смонтировано коромысло 11 с двумя подвижными лапками 12, необходимыми для обхватывания ракет различного диаметра. Для контроля выдвижения фиксатора 4 под нужный диаметр ракеты на втулке 10 нанесены риски с маркировкой 13. Фиксаторы выдвигаются из корпуса до диаметра укладываемой ракеты, соответствующего риске на втулке фиксатора. Для предотвращения повреждений ракеты в местах соприкосновения на лапки предполагается установка резиновых подушек.

[22]

На Фиг. 4 показана предполагаемая схема установки УМФР на самоходную ПУ с двумя ракетами в ТПК, имеющих одинаковые диаметры опорных поясов. УМФР в подвижной связи посредством ходовых валов 14 устанавливаются через опоры 15 на пол ПУ. Перед раскрытием верхней части корпуса 1 УМФР рукояткой 6 выдвигаются фиксаторы 4 до риски на втулке, соответствующей диаметру укладываемой ракеты, после чего верхняя часть корпуса фиксируется к нижней части.

[23]

На Фиг. 5 изображен вариант использования в составе ПУ двух ТПК, различных по диаметру и расстоянию между опорными поясами. УМФР смещаются по ходовым валам 14 на необходимое расстояние, и повторяется работа, описанная к Фиг. 4.

[24]

УМФР может использоваться в составе ПУ в связке по 2 или 3 модуля для одной ракеты в зависимости от количества ее опорных поясов посредством ходовых валов, обеспечивающих перемещение модулей по продольной оси внутри контейнера ПУ.

[25]

Благодаря особенности конструкции предлагаемого УМФР изобретение обеспечивает возможность создания перспективной ПУ, универсальной по типу и количеству ракет. Данная перспективная ПУ позволит в короткие сроки без дополнительного оборудования сменить тип ракет или одновременно использовать разные типы ракет, тем самым расширяя возможности ее боевого применения. Вместе с этим использование изобретения повышает потенциал модернизации перспективной ПУ и упрощает ее обслуживание.

[26]

Универсальный модуль может быть выполнен с использованием стандартного оборудования и материалов отечественного производства, что соответствует критерию «промышленная применимость».

[27]

Техническим результатом изобретения является взаимозаменяемость средств крепления ракет в ПУ различных ракетных комплексов.

[28]

Еще одним преимуществом данного изобретения является то, что оно может быть использовано для изготовления перспективных ПУ, как самоходных, так и стационарных, а также для модернизации состоящих на вооружении ракетных комплексов.

[29]

Источники информации

[30]

1. Патент 2401408 RU, МПК F41F 3/06. Самолетная пусковая установка для запуска баллистических ракет космического назначения / Ю.С. Алдакушев, Е.Ю. Букрина, В.М. Денисов, В.И. Мурашев, А.П. Шальнев. - Опубл. 10.10.2010.

[31]

2. Патент 2353850 RU, МПК F16M 11/00; В60Р 3/11. Ложементная опора для транспортировки длинномерных нежестких и невибростойких грузов / Г.А. Павлов, В.И. Куприянов, М.В. Гаврилов. 27.04.2009.

[32]

3. Патент 2455202 RU, МПК B64F 1/32. Устройство для транспортировки, подъема и подвески грузов на летательный аппарат / С.Е. Долганов, Г.А. Румянцев, С.С. Плющ. - Опубл. 10.07.2012.

[33]

4. Патент 2529252 RU, МПК 2006.01 F41F 3/042. Корабельная пусковая система / В.И. Глазатов, В.Г. Долбенков, В.В. Никифоров, В.Ф. Потапов. - Опубл. 27.09.2014. Бюл. №27].

[34]

5. Справочник технолога-машиностроителя. Т.2. 5-е изд., перераб. / Под ред. A.M. Дальского и др. - М.: Машиностроение, 2001. - С. 137-147.

Как компенсировать расходы
на инновационную разработку
Похожие патенты