патент
№ RU 2655328
МПК E21B47/01

УСТРОЙСТВО ДЛЯ КРЕПЛЕНИЯ АВТОНОМНЫХ ИЗМЕРИТЕЛЬНЫХ ПРИБОРОВ НА ЛИФТОВЫХ ТРУБАХ

Авторы:
Халимов Айрат Алмазович Исмагилова Алсу Ильдусовн Дульский Олег Александрович
Все (5)
Номер заявки
2017126816
Дата подачи заявки
25.07.2017
Опубликовано
25.05.2018
Страна
RU
Как управлять
интеллектуальной собственностью
Чертежи 
1
Реферат

Изобретение относится к области нефтегазовой промышленности и может быть использовано при исследовании скважин для получения информации о давлении и температуре жидкости в затрубном пространстве скважины с помощью автономных измерительных приборов, спускаемых на насосно-компрессорных трубах. Устройство включает насосно-компрессорные трубы и сектор трубы, закрепленный на насосно-компрессорную трубу. Сектор трубы закреплен на наружной поверхности насосно-компрессорной трубы с помощью двух комплектов хомутов. Дугообразная лента хомутов обхватывает насосно-компрессорную трубу напротив концов сектора трубы. На острых концах сектора трубы имеется плоская стенка, каждая из которой лежит в плоскости, перпендикулярной оси сектора трубы. На каждом хомуте на один конец дугообразной части ленты хомута приварена сваркой прилегающая к наружной стенке насосно-компрессорной трубы часть изогнутой в разные стороны пластины. Другая часть этих пластин согнута по радиусу сектора трубы, приставлена тонкой изогнутой стенкой к отдельной плоской стенке сектора трубы и приварена сваркой к этой стенке сектора трубы. Повышается надежность устройства. 5 ил.

Формула изобретения

Устройство для крепления автономных измерительных приборов на лифтовых трубах, включающее насосно-компрессорные трубы и сектор трубы, закрепленный на насосно-компрессорную трубу, отличающееся тем, что сектор трубы закреплен на наружной поверхности насосно-компрессорной трубы с помощью двух комплектов хомутов, дугообразная лента которых обхватывает насосно-компрессорную трубу напротив концов сектора трубы, причем на острых концах сектора трубы имеется плоская стенка, каждая из которой лежит в плоскости, перпендикулярной оси сектора трубы, причем на каждом хомуте на один конец дугообразной части ленты хомута приварена сваркой прилегающая к наружной стенке насосно-компрессорной трубы часть изогнутой в разные стороны пластины, причем другая часть этих пластин согнута по радиусу сектора трубы, приставлена тонкой изогнутой стенкой к отдельной плоской стенке сектора трубы и приварена сваркой к этой стенке сектора трубы.

Описание

[1]

Изобретение относится к области нефтегазовой промышленности и может быть использовано при исследовании скважин для получения информации о давлении и температуре жидкости в затрубном пространстве скважины с помощью автономных измерительных приборов, спускаемых на насосно-компрессорных трубах.

[2]

Известно устройство для крепления автономных измерительных приборов на лифтовых трубах (св. RU 22503, Е21B 47/01, опубл. 10.04.2002, бюл. 10). Устройство включает насосно-компрессорные трубы, цилиндрическую шайбу с элементом крепления прибора в узле свинчивания труб, две металлические продольные полосы, приваренные параллельно между собой на наружной поверхности трубы, на расстоянии, превышающем диаметр прибора, и имеющие на плоскости отверстия для установки крепежных элементов. Недостатком данного устройства является то, что автономные измерительные приборы не полностью защищены от повреждений во время спуска колонны насосно-компрессорных труб в скважину.

[3]

Наиболее близким к заявляемому изобретению является устройство для крепления автономных измерительных приборов на лифтовых трубах (патент на полез. модель RU 143484, Е21B 47/01, опубл. 20.07.2014), включающее насосно-компрессорные трубы и сектор трубы, закрепленный на насосно-компрессорную трубу. Недостатком прототипа является низкая надежность. Сектор трубы закреплен на наружной поверхности насосно-компрессорной трубы с помощью сварки. Из-за применения такого соединения снижается прочность вышеуказанной трубы и тем самым снижается надежность устройства. Также после сварки для предотвращения разрыва, насосно-компрессорную трубу испытывают опрессовкой на прочность, что требует дополнительных затрат.

[4]

Технической задачей предложенного изобретения является повышение надежности устройства.

[5]

Данная техническая задача решается тем, что в устройстве для крепления автономных измерительных приборов на лифтовых трубах, включающем насосно-компрессорные трубы и сектор трубы, закрепленный на насосно-компрессорную трубу, новым является то, что сектор трубы закреплен на наружной поверхности насосно-компрессорной трубы с помощью двух комплектов хомутов, дугообразная лента которых обхватывает насосно-компрессорную трубу напротив концов сектора трубы, причем на острых концах сектора трубы имеется плоская стенка, каждая из которой лежит в плоскости, перпендикулярной оси сектора трубы, причем на каждом хомуте на один конец дугообразной части ленты хомута приварена сваркой, прилегающей к наружной стенке насосно-компрессорной трубы, часть изогнутой в разные стороны пластины, причем другая часть этих пластин согнута по радиусу сектора трубы, приставлена тонкой изогнутой стенкой к отдельной плоской стенке сектора трубы и приварена сваркой к этой стенке сектора трубы. Предложенное устройство может быть установлено в любом месте по высоте компоновки насосно-компрессорных труб. Может устанавливаться на другие насосно-компрессорные трубы без использования сварочных работ, а только завертыванием или отворачиванием крепежных гаек двух хомутов.

[6]

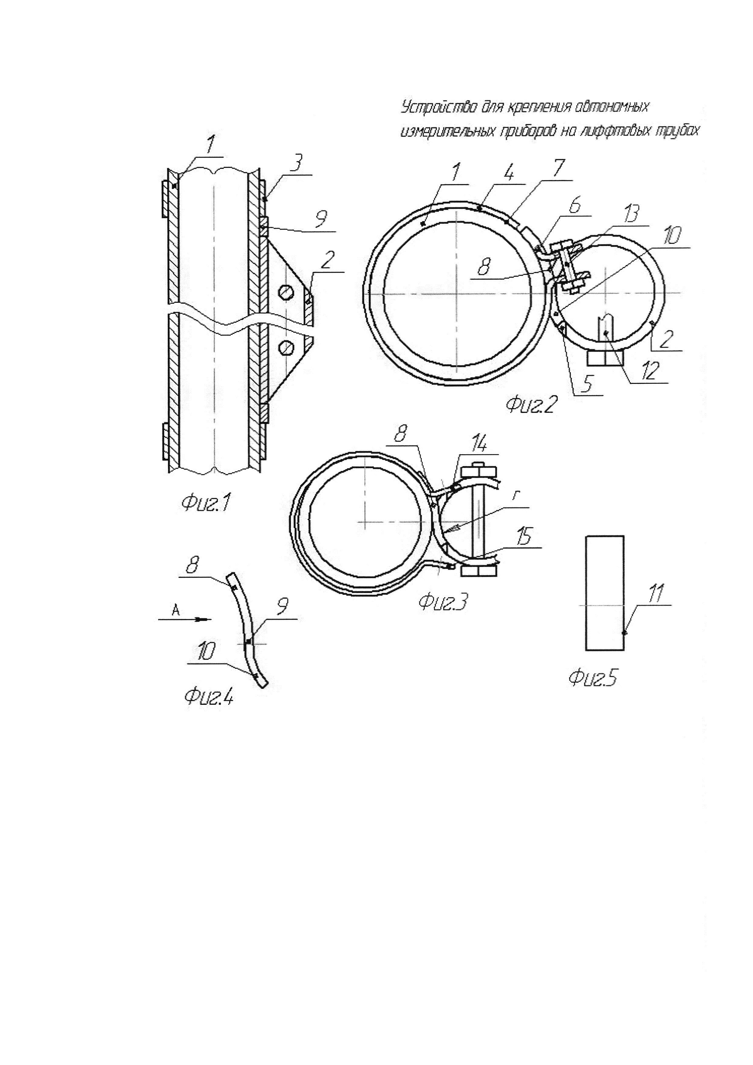
На фиг. 1 изображено устройство в продольном разрезе; на фиг. 2 изображен вид сверху на устройство; на фиг. 3 - вид сверху на устройство, поясняющий принцип работы; на фиг. 4 - вид сбоку на изогнутую пластину; на фиг. 5 - вид А фиг. 4.

[7]

Устройство для крепления автономных измерительных приборов на лифтовых трубах включает насосно-компрессорные трубы 1 (фиг. 1) и сектор трубы 2, закрепленный на насосно-компрессорную трубу. Сектор трубы 2 закреплен на наружной поверхности насосно-компрессорной трубы с помощью двух комплектов хомутов 3. Дугообразная лента 4 хомутов обхватывает насосно-компрессорную трубу 1 напротив концов сектора трубы 2. На острых концах сектора трубы 2 имеется плоская стенка 5, каждая из которой лежит в плоскости, перпендикулярной оси сектора трубы 2. На каждом хомуте 3 на один конец 6 дугообразной части ленты 4 хомута приварена сваркой прилегающая к наружной стенке 7 насосно-компрессорной трубы часть 8 изогнутой в разные стороны пластины 9. Другая часть 10 этих пластин 9 согнута по внутреннему радиусу г сектора трубы 2, приставлена тонкой изогнутой стенкой 11 к отдельной плоской стенке 5 сектора трубы и приварена сваркой к этой стенке сектора трубы.

[8]

Работает устройство следующим образом. При сборке устройства дугообразными лентами 4 хомутов 3 обхватывают насосно-компрессорную трубу 1. Затем устанавливают измерительный прибор в полость сектора трубы 2. Прибор сидит на нижнем болту 12 устройства. Далее болтами 13 и их гайками стягивают полки 14 и 15 обеих хомутов друг к другу. При этом дугообразные ленты 4 хомутов фиксируются на наружной боковой стенке трубы 1. Сектор трубы 2 вместе с прибором надежно удерживается на этой трубе 1, так как к его плоским стенкам 5 приварены сваркой изогнутые пластины 9, соединенные сваркой к хомутам. После установки на сектор трубы верхнего болта 12 колонну насосно-компрессорных труб вместе с прибором спускают в скважину на заданную глубину. После подъема колонны насосно-компрессорных труб из скважины разборку устройства производят в порядке, обратном сборке.

[9]

В предлагаемой конструкции устройства, по сравнению с прототипом, исключается сварочное соединение сектора трубы с насосно-компрессорной трубой. Поэтому в устройстве не нарушается структура металла насосно-компрессорной трубы, и тем самым повышается надежность устройства.

[10]

Перечень использованной информации

[11]

св. RU 22503, Е21В 47/01, опубл. 10.04.2002, бюл. 10; патент на полез. модель RU 143484, Е21В 47/01, опубл. 20.07.2014.

Как компенсировать расходы
на инновационную разработку
Похожие патенты