патент
№ RU 2693650
МПК H03H7/09

Фильтр гармоник радиопередатчика повышенной мощности

Авторы:
Зиновьев Алексей Григорьевич
Номер заявки
2018135353
Дата подачи заявки
05.10.2018
Опубликовано
03.07.2019
Страна
RU
Как управлять
интеллектуальной собственностью
Чертежи 
1
Реферат

Изобретение относится к фильтрам гармоник усилителей мощности широкодиапазонных радиопередатчиков. Технический результат заключается в уменьшении уровня гармонических составляющих третьего и более высоких порядков в спектре выходного сигнала радиопередатчика повышенной мощности. В фильтре, содержащем N фильтров нижних частот (ФНЧ), переключаемых для обеспечения гармоник радиопередатчика повышенной мощности, частотный диапазон которого разделен на N поддиапазонов, каждый ФНЧ содержит дополнительный конденсатор, подключенный между входом и выходом ФНЧ, а также первый, второй и третий конденсаторы, первые выводы которых подключены к выводам катушек индуктивности, а вторые выводы соединены с общей шиной через дополнительные первую, вторую и третью катушки индуктивности. 1 ил.

Формула изобретения

Фильтр гармоник радиопередатчика повышенной мощности, частотный диапазон которого разделен на N поддиапазонов, содержащий входной и выходной разъемы и N фильтров нижних частот, переключаемых по входу и выходу при помощи входных и выходных трехконтактных переключателей, при этом у каждого входного трехконтактного переключателя подвижный контакт соединен с входом соответствующего фильтра нижних частот и одновременно с первым неподвижным контактом, соединенным с общей шиной, а второй неподвижный контакт соединен с входной соединительной шиной, а у каждого выходного трехконтактного переключателя подвижный контакт соединен с выходом соответствующего фильтра нижних частот и одновременно с первым неподвижным контактом, соединенным с общей шиной, а второй неподвижный контакт соединен с выходной соединительной шиной, причем входная и выходная соединительные шины выполнены в виде длинных линий с волновым сопротивлением, равным номинальному волновому сопротивлению фильтров нижних частот, при этом вход входной длинной линии соединен с входным разъемом и одновременно с вторым неподвижным контактом входного переключателя фильтра нижних частот первого поддиапазона, а вход выходной длинной линии соединен с выходным разъемом и одновременно с вторым неподвижным контактом выходного переключателя фильтра нижних частот первого поддиапазона, при этом каждый фильтр нижних частот содержит первую и вторую катушки индуктивности, соединенные последовательно, связанные между собой индуктивной связью и размещенные на одном сердечнике, преимущественно тороидальной формы, причем магнитные потоки индуктивно связанных катушек индуктивности направлены навстречу друг другу, а также первый, второй и третий конденсаторы, первые выводы которых подключены к выводам первой и второй катушек индуктивности, отличающийся тем, что в каждый фильтр нижних частот введены дополнительный конденсатор, подключенный между входом и выходом фильтра нижних частот, и дополнительные первая, вторая и третья катушки индуктивности, включенные между вторыми выводами соответствующих первого, второго и третьего конденсаторов и общей шиной.

Описание

[1]

Изобретение относится к области радиотехники и может быть использовано в фильтрах гармоник усилителей мощности широкодиапазонных радиопередатчиков.

[2]

Для передачи высокочастотных сигналов с подавленными до требуемого уровня гармоническими составляющими в коротковолновых радиопередающих устройствах (РПДУ) применяются фильтры гармоник (ФГ), содержащие обычно шесть [1] и более фильтров нижних частот (ФНЧ) Кауэра, переключаемых по входу и выходу при помощи реле. Каждый поддиапазонный ФНЧ должен обеспечивать требуемое затухание в полосе задерживания на частотах высших гармоник передаваемого сигнала, начиная со второй гармоники, то есть с удвоенной минимальной частоты поддиапазона. При этом, чем меньше количество частотных поддиапазонов, тем больше их коэффициент перекрытия по частоте, тем меньше на амплитудно-частотной характеристике (АЧХ) переходная область между полосами пропускания и задерживания, тем сложнее поддиапазонные фильтры [2]. Как правило, из-за большого количества катушек индуктивности такие ФГ имеют увеличенные габаритные размеры и на их долю приходится значительная часть объема РПДУ. Данная проблема обостряется с увеличением мощности передаваемого сигнала, так как размеры катушек индуктивности тоже увеличиваются. ФГ усложняются и увеличиваются в размерах также из-за наличия экранирующих перегородок, разделяющих звенья каждого фильтра в составе ФГ и устраняющих нежелательные электромагнитные связи между ними.

[3]

Главными недостатками известных ФГ коротковолновых РПДУ являются их сложная конструкция, а также большие габаритные размеры и масса.

[4]

В [3] проблема увеличенных размеров и массы фильтра гармоник на основе переключаемых ФНЧ 5-го порядка решена следующим образом: каждый ФНЧ содержит две катушки индуктивности, соединенные последовательно, и конденсаторы, включенные между выводами катушек индуктивности и общей шиной, при этом катушки индуктивности выполнены индуктивно связанными между собой при помощи взаимоиндуктивности [4] М и размещены на одном сердечнике, преимущественно тороидальной формы, причем магнитные потоки индуктивно связанных катушек индуктивности направлены навстречу друг другу. В результате, по сравнению с исходными ФНЧ Чебышева без индуктивных связей, уровень гармонических составляющих сигнала на выходе фильтра гармоник снижается благодаря наличию полюса затухания, частота которого зависит от величины коэффициента связи между первой и второй катушками индуктивности в каждом ФНЧ. Снижаются также габаритные размеры и масса фильтра гармоник благодаря уменьшению в два раза количества тороидальных сердечников.

[5]

Фильтр гармоник коротковолнового передатчика, представленный в [3], можно выбрать в качестве прототипа, так как он является наиболее близким по технической сущности к заявляемому устройству.

[6]

Анализ прототипа показал, что он не обеспечивает радиопередатчику с повышенной мощностью передаваемого сигнала требуемого уровня гармонических составляющих в спектре этого сигнала. В соответствии с [5] для РПДУ мощностью от 300 до 30000 Вт уровень второй и третьей гармоник не должен превышать значения минус 65 дБ относительно уровня сигнала, а для остальных гармоник эта норма еще жестче - минус 75 дБ. С учетом того, что на выходе усилителя мощности (УМ), к которому подключен ФГ, уровень второй гармоники относительно уровня основного сигнала, как правило, не более минус 37 дБ, а уровень третьей гармоники - не более минус 13 дБ, ФГ должен обеспечить затухание на частотах этих гармоник не менее 28 и 52 дБ соответственно, плюс необходимый запас в 1-2 дБ. Кроме того, ФГ должен обеспечить затухание на частотах высших гармоник (прежде всего пятой и седьмой) не менее 53 дБ. Даже, если снижение уровня гармонической составляющей второго порядка выходного сигнала фильтра гармоник в составе передатчика повышенной мощности до необходимых значений осуществлять при помощи метода частотной инжекции [6], уровни высших гармоник, начиная с третьей, остаются неприемлемо высокими. Поэтому прототип может быть применен только в портативных передатчиках и радиостанциях с небольшой выходной мощностью сигнала, например, не более 100 Вт [7]. В этом случае уровень гармонических составляющих сигнала должен быть не более минус 40 дБ относительно уровня самого сигнала.

[7]

Задача изобретения - уменьшение уровня гармонических составляющих третьего и более высоких порядков в спектре выходного сигнала радиопередатчика повышенной мощности.

[8]

Указанная задача решается тем, что в фильтре гармоник радиопередатчика повышенной мощности, частотный диапазон которого разделен на N поддиапазонов, содержащем входной и выходной разъемы и N ФНЧ, переключаемых по входу и выходу при помощи входных и выходных трехконтактных переключателей, при этом у каждого входного трехконтактного переключателя подвижный контакт соединен с входом соответствующего фильтра нижних частот и одновременно с первым неподвижным контактом, соединенным с общей шиной, а второй неподвижный контакт соединен с входной соединительной шиной, а у каждого выходного трехконтактного переключателя подвижный контакт соединен с выходом соответствующего фильтра нижних частот и одновременно с первым неподвижным контактом, соединенным с общей шиной, а второй неподвижный контакт соединен с выходной соединительной шиной. Входная и выходная соединительные шины выполнены в виде длинных линий с волновым сопротивлением, равным номинальному волновому сопротивлению фильтров, при этом вход входной длинной линии соединен с входным разъемом и одновременно с вторым неподвижным контактом входного переключателя фильтра нижних частот первого поддиапазона, а вход выходной длинной линии соединен с выходным разъемом и одновременно с вторым неподвижным контактом выходного переключателя фильтра нижних частот первого поддиапазона. Каждый ФНЧ содержит первую и вторую катушки индуктивности, соединенные последовательно, связанные между собой индуктивной связью и размещенные на одном сердечнике, преимущественно тороидальной формы, причем магнитные потоки индуктивно связанных катушек индуктивности направлены навстречу друг другу. Каждый ФНЧ содержит дополнительный конденсатор, подключенный между входом и выходом ФНЧ, а также первый, второй и третий конденсаторы, первые выводы которых подключены к соответствующим выводам первой и второй катушек индуктивности, а вторые выводы соединены с общей шиной через дополнительные первую, вторую и третью катушки индуктивности.

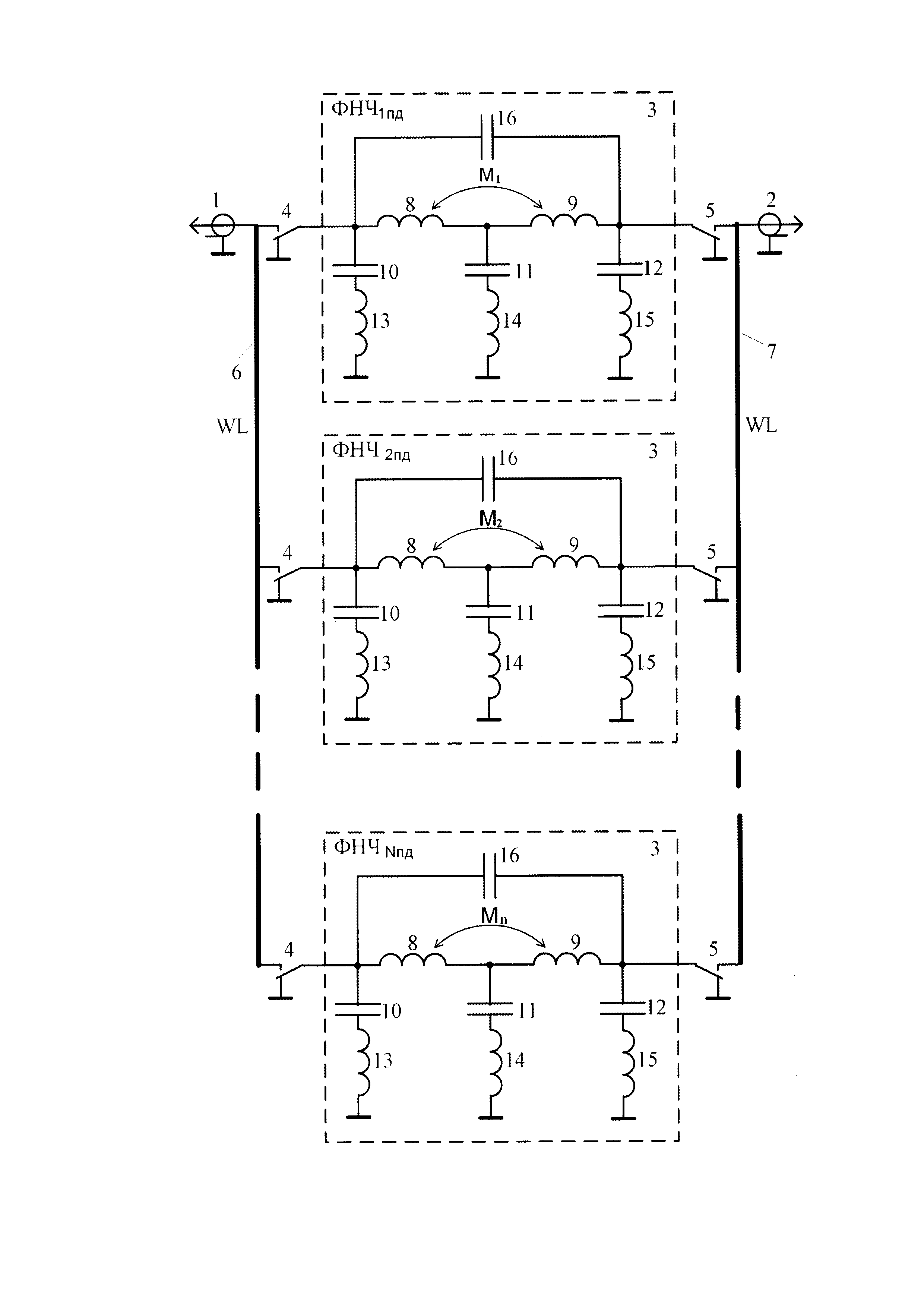
[9]

На фигуре приведена схема заявленного устройства в исходном состоянии. Фильтр гармоник радиопередатчика повышенной мощности, частотный диапазон которого разделен на N поддиапазонов, содержит входной 1 и выходной 2 разъемы и N ФНЧ 3, переключаемых по входу и выходу при помощи входных 4 и выходных 5 трехконтактных переключателей, при этом у каждого входного трехконтактного переключателя 4 подвижный контакт соединен с входом соответствующего ФНЧ 3 и одновременно с первым неподвижным контактом, соединенным с общей шиной, а второй неподвижный контакт соединен с входной соединительной шиной 6, а у каждого выходного трехконтактного переключателя подвижный контакт соединен с выходом соответствующего ФНЧ 3 и одновременно с первым неподвижным контактом, соединенным с общей шиной, а второй неподвижный контакт соединен с выходной соединительной шиной 7. Входная 6 и выходная 7 соединительные шины выполнены в виде длинных линий с волновым сопротивлением, равным номинальному волновому сопротивлению ФНЧ, при этом вход входной длинной линии соединен с входным разъемом и одновременно с вторым неподвижным контактом входного переключателя ФНЧ первого поддиапазона, а вход выходной длинной линии соединен с выходным разъемом и одновременно с вторым неподвижным контактом выходного переключателя ФНЧ первого поддиапазона. Каждый ФНЧ 3, содержит первую 8 и вторую 9 катушки индуктивности, соединенные последовательно друг с другом, индуктивно связанные между собой и размещенные на одном сердечнике, преимущественно тороидальной формы, причем магнитные потоки индуктивно связанных катушек индуктивности направлены навстречу друг другу, а также первый 10, второй 11 и третий 12 конденсаторы, первые выводы которых подключены к соответствующим выводам первой 8 и второй 9 катушек индуктивности, а между вторыми выводами и общей шиной включены первая 13, вторая 14 и третья 15 дополнительные катушки индуктивности. В каждом ФНЧ между входом и выходом фильтра включен дополнительный конденсатор 16, благодаря которому на АЧХ фильтра появляется дополнительный полюс затухания.

[10]

Дополнительные катушки индуктивности 13, 14 и 15 имеют малую величину индуктивности и могут быть выполнены в виде отрезков шины необходимой длины и формы, например, П-образной.

[11]

Фильтр гармоник представляет собой набор из N ФНЧ, каждый из которых содержит всего две катушки индуктивности, намотанные на одном сердечнике. При этом на АЧХ ФНЧ в полосе задерживания имеется несколько полюсов затухания, частота первого из которых зависит от величины взаимоиндуктивности М, то есть от величины коэффициента связи [4] между первой 8 и второй 9 катушками индуктивности и определяется расстоянием между катушками индуктивности и материалом сердечника. Первый полюс затухания на АЧХ ФНЧ возникает благодаря тому, что индуктивно связанные катушки индуктивности 8 и 9 имеют взаимно противоположное направление намотки, что и обеспечивает встречное направление их магнитных потоков. Частота первого полюса затухания зависит также от величины емкости второго конденсатора 11 и ее можно установить равной частоте третьей гармоники минимальной частоты соответствующего поддиапазона или немного больше. От емкости второго конденсатора 11 зависит также уровень коэффициента стоячей волны (КСВ) на входе фильтра гармоник в полосе рабочих частот соответствующего поддиапазона. Частота второго полюса затухания определяется емкостью дополнительного конденсатора 16, а частота третьего полюса затухания - собственной частотой последовательного контура, состоящего из первого конденсатора 10 и первой дополнительной катушки индуктивности 13, а также собственной частотой такого же последовательного контура, состоящего из третьего конденсатора 12 и третьей дополнительной катушки индуктивности 15. Вторая дополнительная катушка индуктивности 14 в образовании полюса затухания участия не принимает. При помощи этой катушки индуктивности 14 можно подстраивать величину индуктивной связи, то есть частоту первого полюса затухания.

[12]

Фильтр гармоник радиопередатчика повышенной мощности работает следующим образом.

[13]

Выходной сигнал усилителя мощности передатчика вместе с гармоническими составляющими сигнала поступают на входной разъем 1 фильтра гармоник и через входную соединительную шину 6, выполненную в виде согласованной длинной линии, на вход одного из предварительно включенного ФНЧ 3, в полосе рабочих частот которого находится частота основного сигнала, а частоты гармонических составляющих сигнала - за ее пределами. При этом включены соответствующие данному ФНЧ 3 входной 4 и выходной 5 трехконтактные переключатели, то есть их подвижные контакты соединяются с вторыми неподвижными контактами, соединенными с соответствующей соединительной шиной. В результате, с выхода включенного ФНЧ 3 на выходной разъем 2 фильтра гармоник через выходную соединительную шину 7, выполненную в виде согласованной длинной линии, поступает основной сигнал вместе с ослабленными до необходимого уровня гармоническими составляющими сигнала. При этом основной сигнал проходит на выходной разъем 2 фильтра гармоник с минимальными потерями, благодаря улучшенному согласованию и простой структуре ФНЧ.

[14]

Заявленный фильтр гармоник радиопередатчика повышенной мощности обеспечивает выполнение требований ГОСТ РВ 52226-2004 [5] для РПДУ мощностью более 300 Вт, но при этом имеет простую конструкцию и небольшие габаритные размеры, благодаря тому, что каждый ФНЧ содержит всего две катушки индуктивности, выполненные на одном сердечнике, а также благодаря отсутствию экранирующих перегородок между ФНЧ и внутри фильтров. Заявленный фильтр гармоник в каждом из N частотных поддиапазонов имеет на выходе очень низкий уровень гармонических составляющих сигнала третьего и более высоких порядков по сравнению с исходными ФНЧ Чебышева без индуктивных и емкостных связей, благодаря наличию в каждом ФНЧ трех полюсов затухания, частота которых зависит от величины коэффициента связи между первой и второй катушками индуктивности, от емкости дополнительного конденсатора и от величины индуктивности дополнительных катушек индуктивности в крайних поперечных ветвях каждого ФНЧ. В результате, как показали расчеты АЧХ фильтра гармоник для диапазона рабочих частот от 1,5 до 30 МГц при N=8, получено затухание на частотах гармонических составляющих сигнала третьего и более высоких порядков не менее 54 дБ, что, с учетом уровня гармоник на выходе усилителя мощности, вполне достаточно [5] для РПДУ с мощностью выходного сигнала более 300 Вт. Минимальное затухание на частоте второй гармоники сигнала, равное 7 дБ, полученное на выходе фильтра гармоник, можно считать небольшим вкладом в процесс снижения уровня гармонической составляющей второго порядка выходного сигнала фильтра гармоник в составе передатчика повышенной мощности до необходимых значений при помощи метода частотной инжекции [6]. Достаточно низкий уровень коэффициента стоячей волны (КСВ) на входе фильтра гармоник, не превышающий величины 1,08, получен в полосе рабочих частот каждого поддиапазона, а не во всей полосе пропускания соответствующего ФНЧ. Можно отметить, что такие параметры получены от ФНЧ Чебышева всего лишь пятого порядка (С 05 10 Т - по классификации [8]), который в исходном состоянии обеспечивал минимальное затухание на частоте третьей гармоники, равное 28 дБ, а максимальный КСВ во всей полосе пропускания фильтра, равный 1,22.

[15]

Источники информации:

[16]

1. Ред Э. Справочное пособие по высокочастотной схемотехнике: Схемы, блоки, 50-омная техника: Пер. с нем. - М.: 1990. - С. 100.

[17]

2. Радиопередающие устройства: Учебник для вузов / В.В. Шахгильдян, В.Б. Козырев, А.А. Ляховкин и др.; Под ред. В.В. Шахгильдяна - 3-е изд., перераб. и доп. - М.: Радио и связь, 2003. - С. 206, 207.

[18]

3. Патент RU 2601200, МПК Н03Н 7/09. Фильтр гармоник коротковолнового передатчика / А.Г. Зиновьев, А.В. Богданов. - Заявлено 27.03.2015; опубликовано 27.10.2016, Бюл. №30.

[19]

4. Справочник по радиотехнике: Под ред. Б.А. Смиренина. - М., Л.: Госэнергоиздат, 1950. - С. 54, 55.

[20]

5. ГОСТ РВ 52226-2004. Устройства радиопередающие. Требования к основным параметрам внеполосных и побочных радиоизлучений.

[21]

6. Кащенко И.Е., Кириченко И.В., Дощанов Е.Х. Подавление гармонической составляющей второго порядка выходного сигнала широкополосного усилителя мощности с помощью частотной инжекции // Техника радиосвязи. 2016. Вып. 2 (29). С. 27-33.

[22]

7. ГОСТ 22579-86. Радиостанции с однополосной модуляцией сухопутной подвижной службы. Типы, основные параметры, технические требования и методы измерений.

[23]

8. Зааль Р. Справочник по расчету фильтров: Пер. с нем. - М.: Радио и связь, 1983. - с. 185.

Как компенсировать расходы
на инновационную разработку
Похожие патенты