патент
№ RU 2614696
МПК B01D17/04

Установка для разделения водонефтяной эмульсии

Авторы:
Набиуллин Фахрас Галиуллович Исламова Чачка Салиховна Набиуллин Рустем Фахрасович
Все (5)
Номер заявки
2015153572
Дата подачи заявки
14.12.2015
Опубликовано
28.03.2017
Страна
RU
Как управлять
интеллектуальной собственностью
Чертежи 
3
Реферат

Изобретение относится к нефтедобывающей промышленности, в частности к установкам для сбора и подготовки нефти, воды, газа, и может быть использовано для разделения эмульсий. Установка для разделения водонефтяной эмульсии содержит вертикальную цилиндрическую емкость, распределитель эмульсии в виде горизонтально расположенного патрубка ввода эмульсии и сборники разделенных фаз, расположенные у противоположной от патрубка ввода эмульсии стенки емкости, вертикальную газоотводящую трубу, установленную по верхней образующей на патрубке ввода эмульсии. Внутри патрубка ввода эмульсии до газоотводящей трубы концентрично установлен полый цилиндр с жестко установленными на обоих концах заглушками, при этом полый цилиндр образует с патрубком ввода эмульсии ограниченное межтрубное пространство, причем полый цилиндр внутри снабжен конусами и рядами отверстий, при этом углы наклона конусов в полом цилиндре увеличиваются по направлению движения эмульсии, при этом в межколонном пространстве напротив рядов отверстий полого цилиндра установлены взаимообращенные конусам полого цилиндра усеченные конусы с рядами отверстий, выполненными в полом цилиндре, причем углы наклона усеченных конусов в межтрубном пространстве уменьшаются по направлению движения эмульсии, при этом из межколонного пространства по верхней образующей патрубка ввода эмульсии выполнены газоотводы, соединенные с газоотводящей трубой, а за газоотводящей трубой на расстоянии - Н от полого цилиндра в патрубке ввода эмульсии по центру ее поперечного сечения установлена продольная горизонтальная перегородка, выполненная в виде прямоугольной пластины, плавно свернутой по спирали, при этом ее кромка на выходе повернута на 180° по отношению к кромке на входе, причем в газоотводящей трубе установлен брызгоунос, выполненный в виде диаметрально противоположно расположенных наклонных круглых лопаток со скошенным сегментом. Изобретение обеспечивает повышение эффективности выделения газа из водонефтяной эмульсии, повышение интенсивности разрушения водонефтяной эмульсии, увеличение пропускной способности, а также исключение попадания брызг в сборник отвода газа по газоотводящей трубе. 5 ил.

Формула изобретения

Установка для разделения водонефтяной эмульсии, содержащая вертикальную цилиндрическую емкость, распределитель эмульсии в виде горизонтально расположенного патрубка ввода эмульсии и сборники разделенных фаз, расположенные у противоположной от патрубка ввода эмульсии стенки емкости, вертикальную газоотводящую трубу, установленную по верхней образующей на патрубке ввода эмульсии, отличающаяся тем, что внутри патрубка ввода эмульсии до газоотводящей трубы концентрично установлен полый цилиндр с жестко установленными на обоих концах заглушками, при этом полый цилиндр образует с патрубком ввода эмульсии ограниченное межтрубное пространство, причем полый цилиндр внутри снабжен конусами и рядами отверстий, при этом углы наклона конусов в полом цилиндре увеличиваются по направлению движения эмульсии, при этом в межколонном пространстве напротив рядов отверстий полого цилиндра установлены взаимообращенные конусам полого цилиндра усеченные конусы с рядами отверстий, выполненными в полом цилиндре, причем углы наклона усеченных конусов в межтрубном пространстве уменьшаются по направлению движения эмульсии, при этом из межколонного пространства по верхней образующей патрубка ввода эмульсии выполнены газоотводы, соединенные с газоотводящей трубой, а за газоотводящей трубой на расстоянии H от полого цилиндра в патрубке ввода эмульсии по центру ее поперечного сечения установлена продольная горизонтальная перегородка, выполненная в виде прямоугольной пластины, плавно свернутой по спирали, при этом ее кромка на выходе повернута на 180° по отношению к кромке на входе, причем в газоотводящей трубе установлен брызгоунос, выполненный в виде диаметрально противоположно расположенных наклонных круглых лопаток со скошенным сегментом.

Описание

[1]

Изобретение относится к нефтедобывающей промышленности, в частности к установкам для сбора и подготовки нефти, воды, газа, и может быть использовано для разделения эмульсий.

[2]

Известен аппарат для разделения водонефтяной эмульсии (патент RU №2009687, МПК B01D 17/04, опубл. 30.03.1994 г.), содержащий горизонтальную цилиндрическую емкость с распределителем эмульсии, сборником нефти и сборником воды, диск, установленный на торце распределителя эмульсии и обращенный к сборнику нефти, вертикальную кольцевую перегородку и осевую горизонтальную перфорированную перегородку, при этом осевая горизонтальная перфорированная перегородка выполнена из поперечных лотков с наклонными по ходу движения потока днищами, обращенными попеременно вверх и вниз, аппарат снабжен теплообменными элементами, размещенными между лотками, а перфорации выполнены в нижней части днищ лотков, обращенных вниз, и в верхней части днищ лотков, обращенных вверх, при этом теплообменные элементы выполнены в виде горизонтального трубчатого змеевика.

[3]

Недостатками данного устройства являются:

[4]

- во-первых, сложность конструкции и большая металлоемкость распределителя эмульсии (поперечные лотки, теплообменные элементы и т.д.);

[5]

- во-вторых, низкое качество нефти и воды на выходе из аппарата, ввиду ограниченной пропускной способности аппарата, так как в процессе работы аппарата водонефтяная эмульсия тонким слоем стекает по лоткам, поэтому при увеличении подачи водонефтяной эмульсии в аппарат резко снижается качество нефти и воды на выходе из аппарата;

[6]

- в-третьих, высокие энергетические затраты, связанные с нагреванием трубчатого змеевика в процессе разделения водонефтяной эмульсии.

[7]

Наиболее близким по технической сущности и достигаемому результату является отстойник для разделения эмульсии (патент RU №2242265, МПК B01D 17/04, опубл. 20.12.2004 г., бюл. №35), содержащий вертикальную цилиндрическую емкость, распределитель эмульсии, сборники разделенных фаз, расположенные у противоположной от распределителя эмульсии стенки емкости, при этом распределитель эмульсии выполнен в виде горизонтально расположенного патрубка ввода эмульсии и набора расположенных последовательно друг за другом соосно патрубку ввода эмульсии отбойников-направляющих, представляющих собой установленные с зазором относительно друг друга и патрубка ввода эмульсии полые усеченные конусы, жестко зафиксированные между собой и с патрубком ввода эмульсии и имеющие внутренние диаметры и углы раскрытия, уменьшающиеся по мере удаления от торцевой части патрубка ввода эмульсии, а последний отбойник-направляющий представляет собой полый конус, причем вершины конусов направлены в сторону патрубка ввода эмульсии, при этом на патрубке ввода эмульсии по верхней образующей установлена вертикальная газоотводящая труба, верхний конец которой расположен в газовой зоне отстойника.

[8]

Недостатками данного устройства являются:

[9]

- во-первых, низкая эффективность выделения газа из водонефтяной эмульсии (разгазирования эмульсии) и, как следствие, низкое качество на выходе нефти и воды. Это обусловлено тем, что газоотводная труба установлена в патрубке ввода эмульсии перед отбойниками-направляющими, т.е. до начала разделения водонефтяной эмульсии, поэтому выходит только свободный газ, выделившийся из эмульсии в подводящем трубопроводе;

[10]

- во-вторых, низкая интенсивность разрушения водонефтяной эмульсии из-за слабого закручивания потока водонефтяной эмульсии на выходе из патрубка ввода эмульсии с помощью отбойников-направляющих и соединительного элемента, что приводит к образованию промежуточного слоя в устройстве;

[11]

- в-третьих, ограниченная пропускная способность устройства, так как наличие промежуточного слоя требует более продолжительного времени для отстоя, т.е. гравитационного разделения водонефтяной эмульсии в устройстве;

[12]

- в-четвертых, низкое качество выделенного из жидкости газа, так как брызги по газоотводящей трубе свободно попадают в сборник отвода газа.

[13]

Технической задачей изобретения является повышение эффективности выделения газа из водонефтяной эмульсии, повышение интенсивности разрушения водонефтяной эмульсии и увеличение пропускной способности установки и исключение попадания брызг в сборник отвода газа по газоотводящей трубе.

[14]

Установка для разделения водонефтяной эмульсии, содержащая вертикальную цилиндрическую емкость, распределитель эмульсии в виде горизонтально расположенного патрубка ввода эмульсии и сборники разделенных фаз, расположенные у противоположной от патрубка ввода эмульсии стенки емкости, вертикальную газоотводящую трубу, установленную по верхней образующей на патрубке ввода эмульсии.

[15]

Новым является то, что внутри патрубка ввода эмульсии до газоотводящей трубы концентрично установлен полый цилиндр с жестко установленными на обоих концах заглушками, при этом полый цилиндр образует с патрубком ввода эмульсии ограниченное межтрубное пространство, причем полый цилиндр внутри снабжен конусами и рядами отверстий, при этом углы наклона конусов в полом цилиндре увеличиваются по направлению движения эмульсии, при этом в межколонном пространстве напротив рядов отверстий полого цилиндра установлены взаимообращенные конусам полого цилиндра усеченные конусы с рядами отверстий, выполненными в полом цилиндре, причем углы наклона усеченных конусов в межтрубном пространстве уменьшаются по направлению движения эмульсии, при этом из межколонного пространства по верхней образующей патрубка ввода эмульсии выполнены газоотводы, соединенные с газоотводящей трубой, а за газоотводящей трубой на расстоянии Н от полого цилиндра в патрубке ввода эмульсии по центру ее поперечного сечения установлена продольная горизонтальная перегородка, выполненная в виде прямоугольной пластины, плавно свернутой по спирали, при этом ее кромка на выходе повернута на 180° по отношению к кромке на входе, причем в газоотводящей трубе установлен брызгоунос, выполненный в виде диаметрально противоположно расположенных наклонных круглых лопаток со скошенным сегментом.

[16]

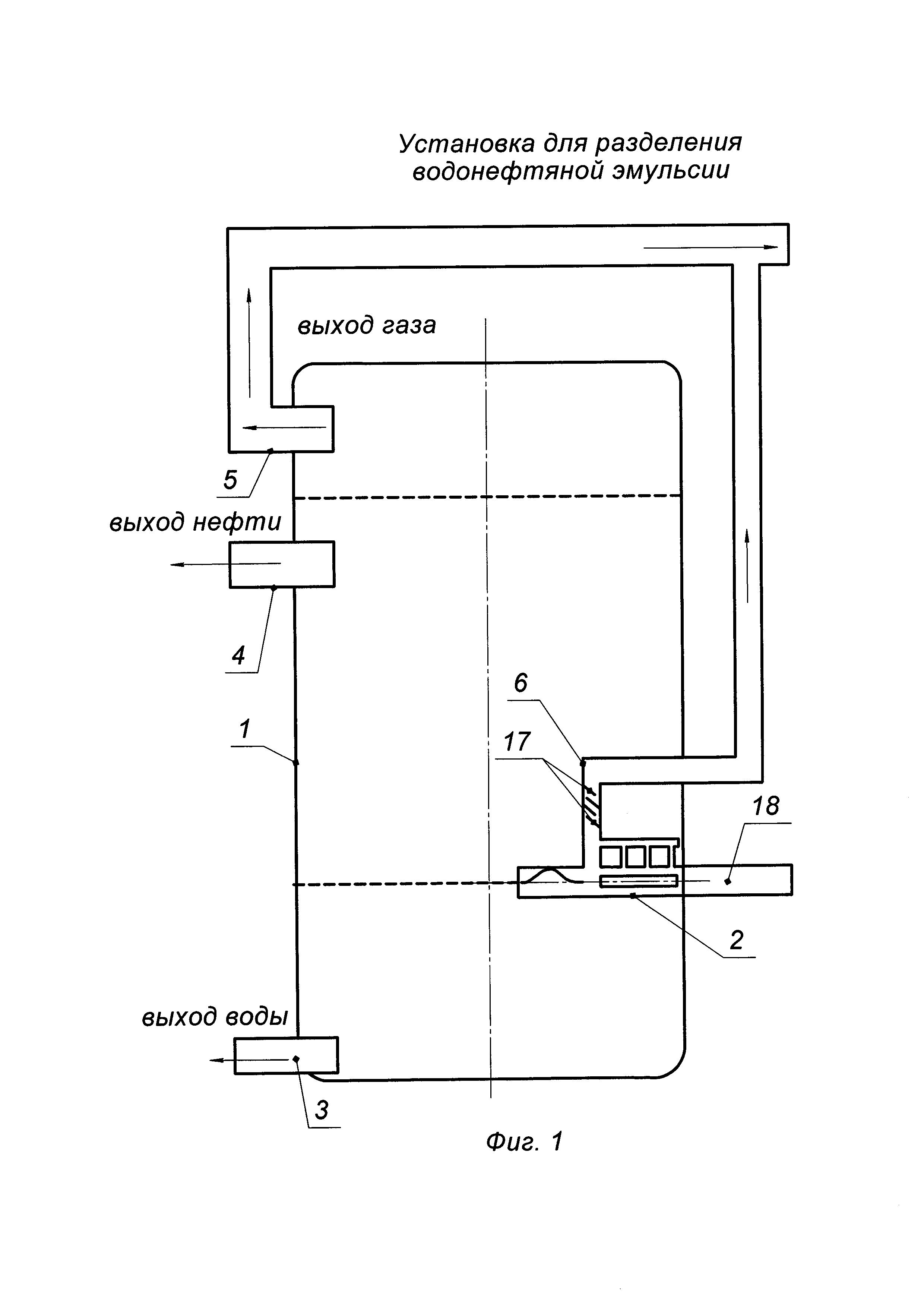
На фиг. 1 схематично изображена предлагаемая установка для разделения водонефтяной эмульсии.

[17]

На фиг. 2 схематично изображен патрубок ввода эмульсии предлагаемой установки для разделения водонефтяной эмульсии.

[18]

На фиг. 3, 4, 5 схематично изображены соответствующие разрезы А-А, Б-Б, В-В предлагаемой установки для разделения водонефтяной эмульсии.

[19]

Установка для разделения водонефтяной эмульсии содержит вертикальную цилиндрическую емкость 1 (см. фиг. 1), распределитель эмульсии в виде горизонтально расположенного патрубка ввода эмульсии 2 и сборники разделенных фаз (воды 3 нефти 4, газа 5), расположенные у противоположной от патрубка ввода эмульсии 2 стенки емкости 1. Также установка содержит вертикальную газоотводящую трубу 6, установленную по верхней образующей на патрубке ввода эмульсии 2.

[20]

Внутри патрубка ввода эмульсии 2 (см. фиг. 2) до газоотводящей трубы 6 концентрично установлен полый цилиндр 7 с жестко установленными на обоих концах заглушками 8 и 9. Полый цилиндр 7 образует с патрубком ввода эмульсии 2 ограниченное межтрубное пространство 10.

[21]

Полый цилиндр 7 внутри снабжен конусами, например тремя конусами 11', 11ʺ, 11''' и рядами отверстий, например тремя рядами 12', 12ʺ, 12''' отверстий.

[22]

Углы наклона α1; α2; α3 конусов 11', 11ʺ, 11''', соответственно, в полом цилиндре 7 увеличиваются по направлению движения эмульсии, например 30°, 45°, 60°, соответственно.

[23]

В межколонном пространстве 10 напротив рядов 12', 12ʺ, 12''' отверстий полого цилиндра 7 установлены взаимообращенные конусам 11', 11", 11''' полого цилиндра 7 усеченные конусы в таком же количестве (конусов 11', 11ʺ, 11'''), т.е. три усеченных конуса 13', 13ʺ, 13''' с рядами отверстий в таком же количестве (рядов 12', 12ʺ, 12''' отверстий), т.е. три ряда 14', 14ʺ, 14''' отверстий, выполненных в полом цилиндре 7.

[24]

Каждый из рядов 12', 12ʺ, 12''', 14', 14ʺ, 14''' состоит, например, из восьми отверстий, выполненных в полом цилиндре 7, под углом 45° по отношению друг к другу.

[25]

Площадь поперечного сечения каждого из рядов 12', 12ʺ, 12''', 14', 14ʺ, 14''' отверстий, выполненных в полом цилиндре 7, больше площади проходного сечения самого полого цилиндра 7. Выполнение данного условия исключает запирание потока водонефтяной эмульсии в полом цилиндре 7 и обеспечивает качественное разгазирование газа в межколонном пространстве 10.

[26]

Углы наклона β1; β2; β3 усеченных конусов 11', 11ʺ, 11''', соответственно, в межтрубном пространстве 10 уменьшаются по направлению движения эмульсии, например 30°, 45°, 60°, соответственно.

[27]

Из межколонного пространства 10 по верхней образующей патрубка ввода эмульсии 2 выполнены газоотводы 15', 15ʺ, 15''', соединенные с газоотводящей трубой 6.

[28]

За газоотводящей трубой 6 на расстоянии Н от полого цилиндра 7 в патрубке ввода эмульсии 2 по центру ее поперечного сечения установлена продольная горизонтальная перегородка 16 (см. фиг. 2, 3, 4 и 5), выполненная в виде прямоугольной пластины, плавно свернутой по спирали, при этом ее кромка на выходе повернута на 180° по отношению к кромке на входе.

[29]

На участке по фиг. 3 продольная горизонтальная перегородка 16 имеет горизонтальный профиль, и по мере удаления по ходу потока угол наклона ее к горизонту увеличивается и становится равным 90° (см. фиг. 4) и 180° (см. фиг. 5). Такой профиль продольной горизонтальной перегородки 16 позволяет перевести нижний слой потока в верхний и, наоборот.

[30]

Расстояние Н зависит от физико-химических свойств (плотности, вязкости и состава эмульгаторов, рН водной фазы) и определяется опытным путем, например, размещают продольную горизонтальную перегородку 16 в патрубке ввода эмульсии 2 на расстоянии Н=1,5 м от полого цилиндра 7.

[31]

В газоотводящей трубе 6 установлен брызгоунос, выполненный в виде диаметрально противоположно расположенных наклонных круглых лопаток 17 (на фиг. 1 показано условно) со скошенным сегментом.

[32]

Установка работает следующим образом.

[33]

По подводящему трубопроводу 18 (см. фиг. 1) водонефтяная эмульсия (далее эмульсия) поступает в патрубок ввода эмульсии 2 (см. фиг. 2), расположенный в вертикальной цилиндрической емкости 1.

[34]

При движении эмульсии по подводящему трубопроводу 18 происходит ее предварительное расслоение на свободный газ, эмульсию и свободную воду. При этом свободный газ и свободная вода движутся в подводящем трубопроводе 18 соответственно вдоль его верхней и нижней образующих.

[35]

В патрубке ввода эмульсии 2 поток эмульсии поступает внутрь полого цилиндра 7, где попадает на конус 11' с углом α1=30°, который направляет поток эмульсии через ряд радиальных отверстий 12' в межтрубное пространство 10 до взаимодействия потока эмульсии с усеченным конусом 13' с углом β1=60°, после чего поток эмульсии через ряд радиальных отверстий 14' попадает вновь внутрь полого цилиндра 7.

[36]

Далее поток эмульсии попадает на конус 11ʺ с углом α2=45°, который направляет поток эмульсии через ряд радиальных отверстий 12ʺ в межтрубное пространство 10 до взаимодействия потока эмульсии с усеченным конусом 13ʺ β2=45°, после чего поток эмульсии через ряд радиальных отверстий 14ʺ попадает вновь внутрь полого цилиндра 7.

[37]

Затем поток эмульсии попадает на конус 11''' с углом α3=60°, который направляет поток эмульсии через ряд радиальных отверстий 12''' в межтрубное пространство 10 до взаимодействия потока эмульсии с усеченным конусом 13''' β3=30°, после чего поток эмульсии через ряд радиальных отверстий 14"' попадает вновь внутрь полого цилиндра 7.

[38]

Выделившийся из потока эмульсии газ вместе со свободным газом, попавшим по подводящему трубопроводу через газоотводы 15', 15ʺ, 15''', соединенные с газоотводящей трубой 6, выводятся из межтрубного пространства 10, а остатки газа, выделившегося из эмульсии, до продольной перегородки 16 отводятся по газоотводной трубе 6.

[39]

Таким образом, при прохождении потока эмульсии по конусам 11', 11ʺ, 11''' в полом цилиндре 7 и усеченным конусам 13', 13ʺ, 13''' в межтрубном пространстве 10 происходит предварительное разделение (разрушение) водонефтяной эмульсии на воду и нефть, при этом происходит интенсивное выделение газа из жидкости. Таким образом, происходит окончательное разделение жидкой и газообразной фаз.

[40]

Повышается эффективность выделения газа из водонефтяной эмульсии (разгазирование эмульсии) и, как следствие, повышается качество на выходе нефти и воды, вследствие резкого изменения направления потока эмульсии на конусах 11', 11ʺ, 11''' полого цилиндра 7 с увеличивающимися по направлению движения эмульсии углами наклона α1=30°, α2=45°; α3=60° и на усеченных конусах 13', 13ʺ, 13''' в межтрубном пространстве 10. с уменьшающимися по направлению движения эмульсии углами наклона β1=30°, β2=45°; β3=60°.

[41]

Далее поток расслоенной эмульсии выходит из полого цилиндра 7 и, минуя расстояние Н, попадает на продольную горизонтальную перегородку 16.

[42]

После попадания водонефтяной эмульсии на продольную горизонтальную перегородку 16 верхний слой «а» (см. фиг. 2, 3, 4) разрушающегося потока водонефтяной эмульсии переходит в нижний, а нижний слой «б» потока переходит в верхний.

[43]

Таким образом, верхний слой «а» с мелкими каплями, преобладающими над крупными, переходит в нижний слой потока, а крупные капли воды, преобладающие над мелкими, и выделившаяся свободная вода из нижнего слоя «б» переходят в верхний слой потока. Крупные капли воды, оказавшиеся в верхнем слое, двигаясь в потоке по мере осаждения, захватывают мелкие капли из нижнего слоя и тем самым ускоряют процесс их оседания, вследствие чего повышается интенсивность разрушения водонефтяной эмульсии.

[44]

В сравнении с прототипом, где основную роль в разрушении водонефтяной эмульсии выполняют отбойники-направляющие, в предлагаемом устройстве водонефтяная эмульсия попадает на продольную горизонтальную перегородку 16 (см. фиг. 2) в стадии разрушения водонефтяной эмульсии благодаря конусам 11', 11ʺ, 11''' в полом цилиндре 7 и усеченным конусам 13', 13ʺ, 13''' в межтрубном пространстве 10, поэтому роль продольной горизонтальной перегородки 16 заключается в завершении разрушения водонефтяной эмульсии.

[45]

Таким образом, происходит интенсивное (ускоренное) взаимодействие мелких капель и свободной воды, что позволяет максимально эффективно производить разрушение эмульсии (обезвоживание), что не требует последующего гравитационного разделения водонефтяной эмульсии в вертикальной цилиндрической емкости 1. Таким образом, не происходит образования промежуточного слоя в вертикальной цилиндрической емкости 1, благодаря чему увеличивается пропускная способность установки по водонефтяной эмульсии.

[46]

Разделенная эмульсия через соответствующие сборники разделенных фаз: воды 3 нефти 4, газа 5 (см. фиг. 1) выводится из вертикальной цилиндрической емкости 1.

[47]

В случае поступления брызг вместе с газом в газоотводную трубу 6 в ней установлен брызгоунос, выполненный в виде диаметрально противоположно расположенных наклонных круглых лопаток 17 (на фиг. 1 показано условно) со скошенным сегментом.

[48]

Брызги разбиваются о лопатки 17 и через их скошенные снизу сегменты по газоотводящей трубе 6 стекают к нижней образующей патрубка ввода эмульсии 2, откуда попадают в вертикальную цилиндрическую емкость 1. В результате исключается попадание брызг по газоотводящей трубе 6 в сборник отвода газа и повышается качество выделенного из жидкости газа.

[49]

Установка для разделения водонефтяной эмульсии позволяет:

[50]

- повысить эффективность выделения газа из водонефтяной эмульсии;

[51]

- повысить интенсивность разрушения водонефтяной эмульсии;

[52]

- увеличить пропускную способность;

[53]

- исключить попадание брызг в сборник отвода газа по газоотводящей трубе.

Как компенсировать расходы
на инновационную разработку
Похожие патенты