Изобретение относится к области радиотехники и может быть использовано в синтезаторах частот, работающих вплоть до СВЧ диапазона. Технический результат изобретения заключается в уменьшении спектральной плотности фазовых флуктуаций генераторных устройств каскодного типа. Управляемый напряжением генератор содержит активный элемент, выполненный на первом и втором транзисторах, которые включены по схеме «общий эмиттер - общая база», делитель напряжения, образованный первым, вторым и третьим резисторами, а также эмиттерный резистор первого транзистора и коллекторный резистор второго транзистора, за счет чего обеспечиваются режимы работы транзисторов по постоянному току. Генератор содержит четыре разделительных конденсатора, три развязывающих элемента и блокировочную емкость. Кроме этого в состав генератора входят первая и вторая индуктивности, первый и второй конденсаторы, первый второй, третий и четвертый варикапы, которые являются частотозадающими элементами. 9 ил.
Управляемый напряжением каскодный генератор, содержащий активный элемент, выполненный на первом и втором транзисторах, которые соответственно включены по схеме «общий эмиттер - общая база», где эмиттер первого транзистора соединен с первым разделительным конденсатором, последовательно включенные первый, второй, третий и четвертый резисторы, в которых общая точка первого и второго резисторов подключена к базе второго транзистора и через первый конденсатор - к общей шине, общая точка второго и третьего резисторов соединена с базой первого транзистора, с первой обкладкой второго конденсатора и с первой индуктивностью, которая в свою очередь соединена последовательно со вторым разделительным конденсатором, а точка соединения третьего и четвертого резистора является отрицательной клеммой источника питания устройства, которое, кроме перечисленного, содержит первый, второй, третий и четвертый варикапы, причем катод первого варикапа соединен со второй индуктивностью, а также блокировочный конденсатор, присоединенный к общей шине, и третий и четвертый разделительные конденсаторы, отличающийся тем, что введен пятый нагрузочный резистор, который с одной стороны подключен к свободной обкладке блокировочного конденсатора и положительной клемме источника питания, вторая клемма которого соединена с общей шиной генератора, а с другой стороны - к первому резистору, к коллектору второго транзистора и через третий разделительный конденсатор - к общей точке соединения второй индуктивности и катода первого варикапа, анод которого подключен к общей шине, кроме того, для управления варикапами введен источник питания с первым, вторым и третьим развязывающими элементами, причем их общая точка является его положительной клеммой, а его вторая клемма соединена с общей шиной, причем второй вывод первого развязывающего элемента подключен через четвертый разделительный конденсатор - к выходу генератора, а также к свободному выводу второй индуктивности и к катоду второго варикапа, анод которого соединен с общей шиной, второй вывод второго развязывающего элемента подключен ко второму разделительному конденсатору и к катоду третьего варикапа, анод которого соединен с общей шиной, второй вывод третьего развязывающего элемента подключен к первому разделительному конденсатору и к катоду четвертого варикапа, анод которого соединен с общей шиной, кроме прочего к эмиттеру первого транзистора подключены второй вывод второго конденсатора и второй вывод четвертого резистора, а величины основных элементов генератора удовлетворяют следующему соотношению: где ƒ0 - частота генерации устройства, COC - емкость второго конденсатора, САС - эквивалентная емкость последовательного контура, образованного емкостями второго и четвертого варикапов и второй индуктивностью, LКК - эквивалентная индуктивность последовательного контура, образованного первой индуктивностью и емкостями первого и третьего варикапов, CБ - емкость первого конденсатора, CК - эквивалентная емкость контура, образованного емкостями первого, второго варикапов и второй индуктивностью, LЭ - эквивалентная индуктивность контура, образованного первой индуктивностью, емкостью первого конденсатора и емкостями третьего и четвертого варикапов.
,
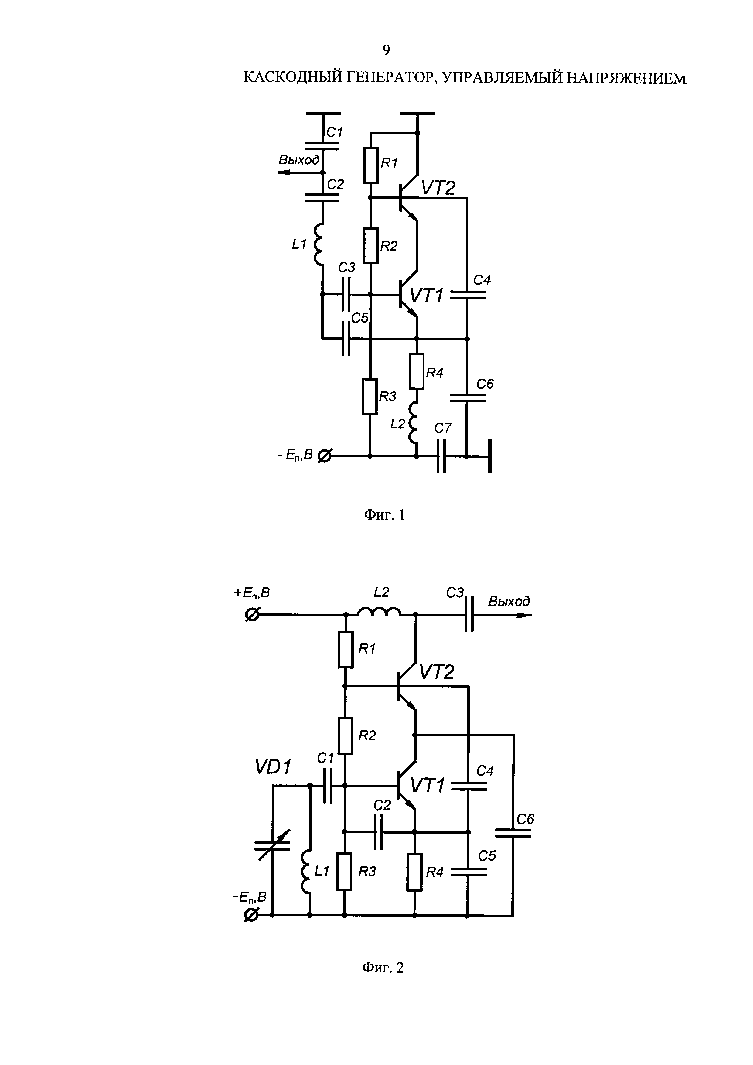
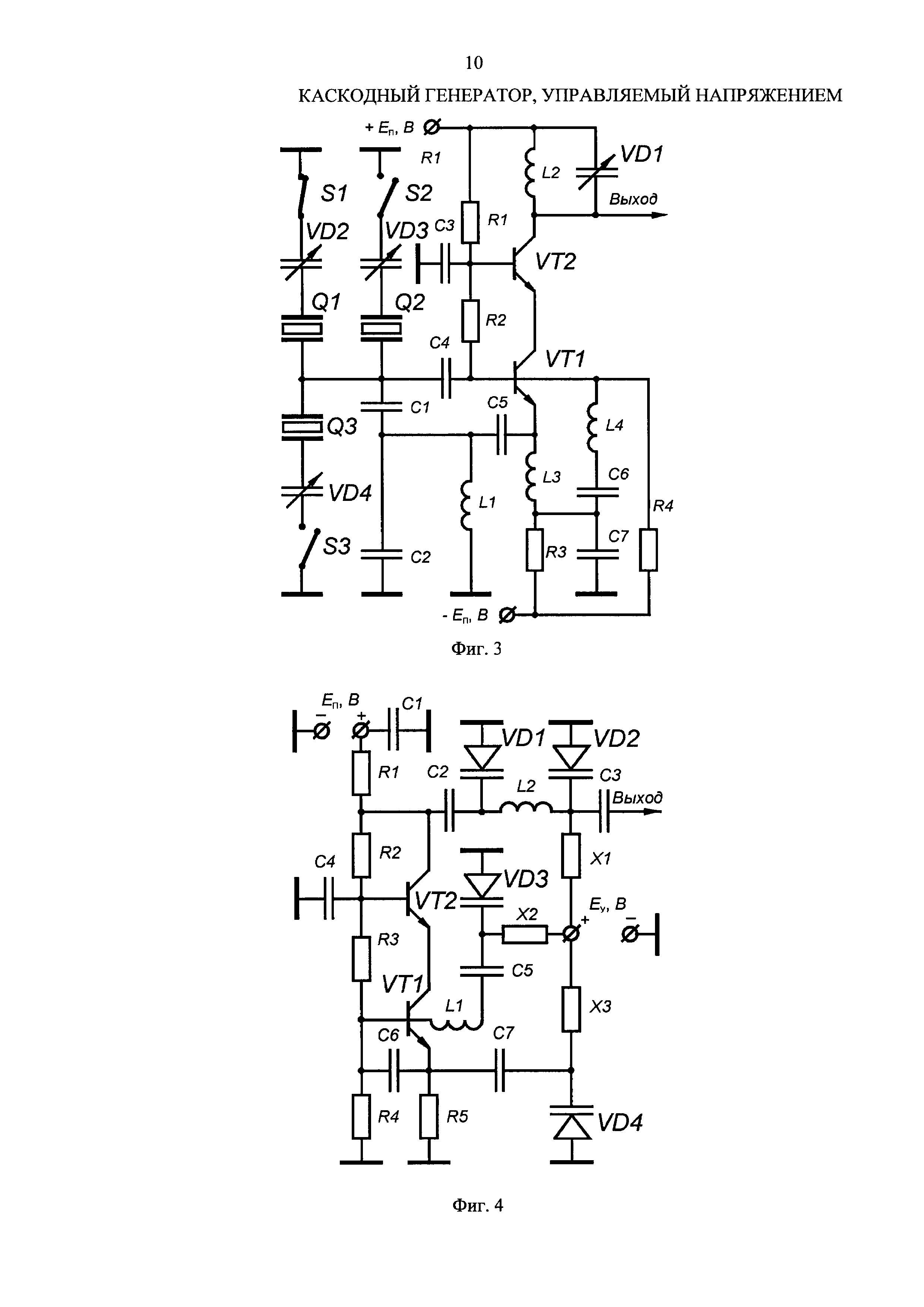
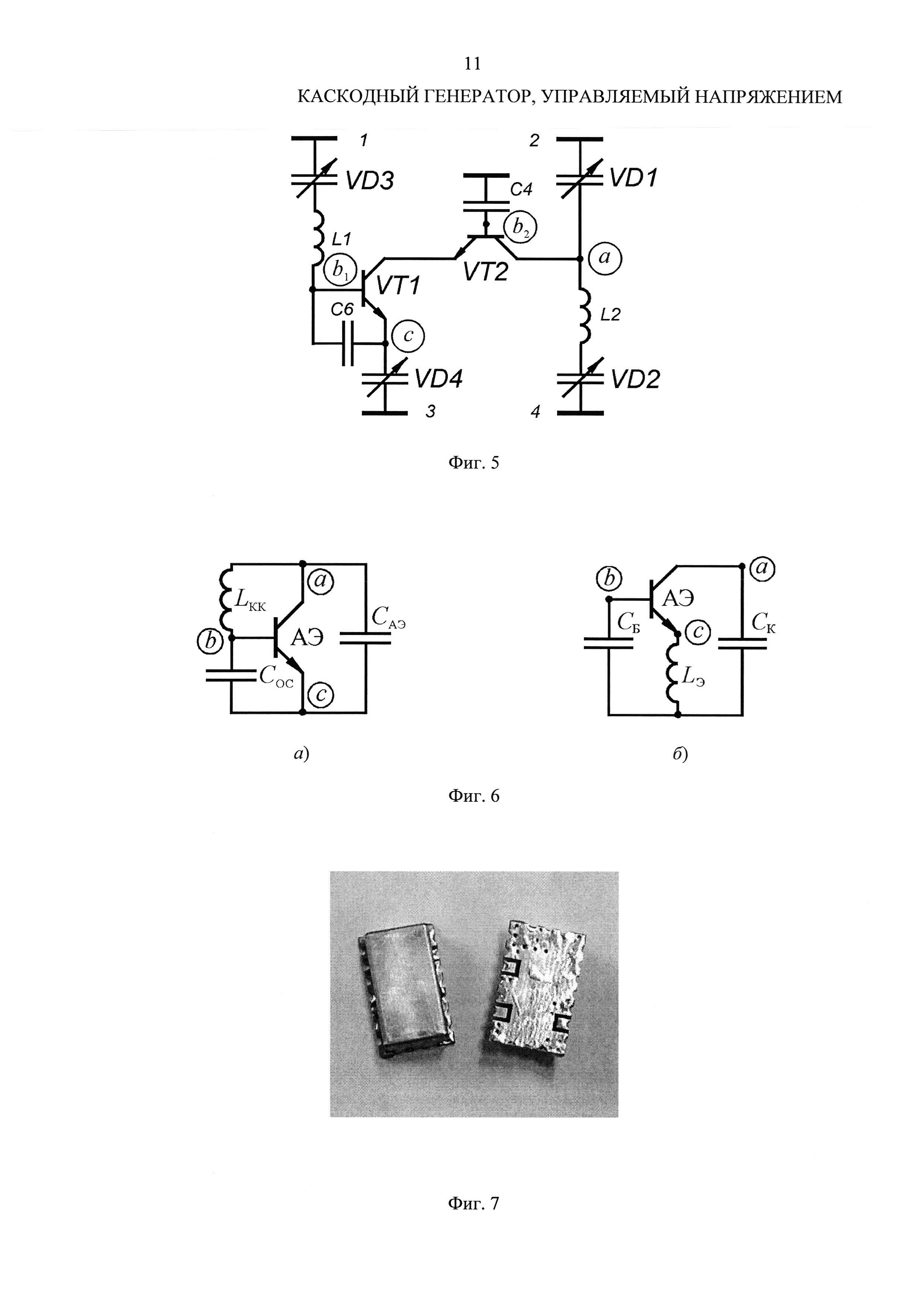
Предлагаемое устройство относится к области радиотехники и может быть использовано в синтезаторах частот, работающих вплоть до СВЧ диапазона. В частности, данное устройство относится к малошумящим генераторам, управляемым напряжением, (ГУН) на транзисторах, которые включены по каскодной схеме «общий эмиттер - общая база». Такая схема генератора обеспечивает расширение полосы перестройки частот при повышенной развязке между сопротивлениями выходной нагрузки и резонансной цепи. Известен автогенератор, использующий каскодное включение двух транзисторов по схеме «общий эмиттер - общая база» (ОЭ-ОБ) (См. Лучинин, А.С. Разработка малошумящих автогенераторов на биполярных транзисторах / А.С. Лучинин // Радиоэлектроника (Изв. высш. учеб. заведений). - 1987. - Т. 30. - №3. - С. 3-8). Автогенератор (см. фиг. 1) состоит из двух транзисторов VT1 и VT2, включенных по каскодной схеме, четырех резисторов R1-R4 с элементами L2 и С7, которые обеспечивают режим их работы по постоянному току, и элементов L1 и C1-С6, которые вместе с транзисторами образуют емкостную трехточку. В генераторах на одном транзисторе на высоких частотах обычно не удается обеспечить высокую добротность контура и их шумовые свойства получаются плохими. Включение второго транзистора по схеме с общей базой позволяет значительно увеличить выходное сопротивление активного элемента генератора без заметного ухудшения шумовых свойств, которые обеспечиваются первым транзистором. Если в данном генераторе с положительной (неэлектромагнитной) обратной связью трехточечного типа пренебречь неизохронностью, связанной с активным элементом или варикапами, то спектральная плотность мощности фазовых флуктуаций генератора Lϕ(ƒm) может быть описана с помощью простой модели [1] и выражена следующими формулами: где ƒm - частота анализа, ƒL=ƒ0/(2QН) - частота Лисона, ƒ0 - частота генерации, Lψ(ƒm) - спектральная плотность мощности фазовых шумов каскодного усилителя: Здесь ƒс - верхняя граничная частота области доминирования фликер-шума в спектральной плотности мощности шумов транзисторного усилителя (граничная фликерная частота), Lϕe(ƒm) - спектральная плотность мощности фазовых шумов усилителя, связанная с действием естественных шумов, которая находится из выражения: где Fϕe - коэффициент «естественного» фазового шума, зависящий от условий согласования транзисторного усилителя и уровня его сигнала, kТ=-174 дБм - термодинамический потенциал при 293 град K, Р В рассматриваемом автогенераторе предполагается, что ƒс<ƒm min и ƒL>fm max (ƒm min и fm max - минимальная и максимальная частоты анализа), поэтому здесь оптимизируется величина спектральной плотности мощности фазовых шумов: К сожалению, с помощью упрощенной модели [1] не всегда можно описать реальный спектр шумов генераторов, поскольку она часто приводит к неправильной оценке их уровня. Недостатком данного аналога является относительно высокий уровень спектра его фазовых шумов. Известен управляемый напряжением генератор (См. Phuc С. Pham Voltage controlled oscillator having cascaded output / Phuc C. Pham // Патент США US 5245298A. - Опубл. 14.09.1993). Устройство (см. фиг. 2) содержит каскад на транзисторе VT1, использующий для генерации колебаний технику создания отрицательного сопротивления на его входе, и буферный каскад усиления на транзисторе VT2, чтобы обеспечить развязку сопротивлений генератора и выходной нагрузки. Транзисторы включены по каскодной схеме, а режимы их работы по постоянному току обеспечиваются при помощи четырех резисторов R1-R4. Кроме того, в состав данного устройства входят согласующие элементы L2 и С3, а также элементы VD1, L1 и C1-С6, при помощи которых на входе транзистора VT1 реализуется отрицательное сопротивление. Недостатком рассмотренного аналога является высокий уровень спектра его фазовых шумов, который может ограничиваться выражением (4). Наиболее близким к предлагаемому техническим решением является генератор, управляемый напряжением (См. Claypool, Н. Low noise RF signal generator / H. Claypool, J. Nugent // Патент США US 3832653A. - Опубл. 27.08.1974). Устройство (см. фиг. 3) содержит две части: одна часть выполняет функцию генератора, вторая - усилительную функцию. Генераторная часть устройства содержит транзистор VT1, три кварцевых резонатора Q1-Q3, четыре варикапа VD1-VD4 и три ключа S1-S3. При помощи элементов L1, L3, L4 и С1, С2, С4-С7 на входе транзистора VT1 реализуется необходимое для генерации колебаний отрицательное сопротивление. Усилительная часть устройства состоит из транзистора VT2, цепи согласования сопротивлений усилителя и выходной нагрузки, образованной индуктивностью L2 и варикапом VD4, а также блокировочного конденсатора С3. Транзисторы VT1, VT2 включены по каскодной схеме, а режимы их работы по постоянному току обеспечиваются при помощи резисторов R1-R4. По сути, прототип можно представить транзисторным вариантом двухконтурного генератора Б.К. Шембеля [2], в котором для повышения стабильности частоты генератора используются два контура: внешний связанный с нагрузкой контур, а также внутренний контур для получения обратной связи и генерации колебаний с его собственной частотой. Недостатком устройства-прототипа является относительно высокий уровень спектра его фазовых шумов, ограничиваемый соотношением (4). Технический эффект, на достижение которого направлено предлагаемое решение, заключается в уменьшении спектральной плотности мощности фазовых флуктуаций генераторных устройств каскодного типа ОЭ-ОБ. Этот эффект достигается тем, что в управляемом напряжением генераторе, содержащем активный элемент, выполненный на первом и втором транзисторах, которые соответственно включены по схеме «общий эмиттер - общая база», где эмиттер первого транзистора соединен с первым разделительным конденсатором, последовательно включенные первый, второй, третий и четвертый резисторы, в которых общая точка первого и второго резисторов подключена к базе второго транзистора и через первый конденсатор - к общей шине, общая точка второго и третьего резисторов соединена с базой первого транзистора, с первой обкладкой второго конденсатора и с первой индуктивностью, которая в свою очередь соединена последовательно со вторым разделительным конденсатором, а точка соединения третьего и четвертого резистора является отрицательной клеммой источника питания устройства, которое кроме перечисленного содержит первый, второй, третий и четвертый варикапы, причем катод первого варикапа соединен со второй индуктивностью, а также блокировочный конденсатор, присоединенный к общей шине, и третий и четвертый разделительные конденсаторы, согласно изобретению введен пятый нагрузочный резистор, который с одной стороны подключен к свободной обкладке блокировочного конденсатора и положительной клемме источника питания, вторая клемма которого соединена с общей шиной генератора, а с другой стороны - к первому резистору, к коллектору второго транзистора и через третий разделительный конденсатор - к общей точке соединения второй индуктивности и катода первого варикапа, анод которого подключен к общей шине, кроме того, для управления варикапами введен источник питания с первым, вторым и третьим развязывающими элементами, причем их общая точка является его положительной клеммой, а его вторая клемма соединена с общей шиной, причем второй вывод первого развязывающего элемента подключен через четвертый разделительный конденсатор - к выходу генератора, а также к свободному выводу второй индуктивности и к катоду второго варикапа, анод которого соединен с общей шиной, второй вывод второго развязывающего элемента подключен ко второму разделительному конденсатору и к катоду третьего варикапа, анод которого соединен с общей шиной, второй вывод третьего развязывающего элемента подключен к первому разделительному конденсатору и к катоду четвертого варикапа, анод которого соединен с общей шиной, кроме прочего к эмиттеру первого транзистора подключены второй вывод второго конденсатора и второй вывод четвертого резистора, а величины основных элементов генератора удовлетворяют следующему соотношению: где ƒ0 - частота генерации устройства, COC - емкость второго конденсатора, САС - эквивалентная емкость последовательного контура, образованного емкостями второго и четвертого варикапов и второй индуктивностью, LКК - эквивалентная индуктивность последовательного контура, образованного первой индуктивностью и емкостями первого и третьего варикапов, CБ - емкость первого конденсатора, СК - эквивалентная емкость контура, образованного емкостями первого, второго варикапов и второй индуктивностью, LЭ - эквивалентная индуктивность контура, образованного первой индуктивностью, емкостью первого конденсатора и емкостями третьего и четвертого варикапов. Принципиальная схема предложенного устройства представлена на фиг. 4. Генератор, управляемый напряжением, состоит из двух транзисторов VT1 и VT2, включенных по каскодной схеме, пяти резисторов R1-R5, при помощи которых обеспечивается режим их работы по постоянному току. Конденсатор С1 является блокировочной емкостью, конденсаторы С2, С3, С5, С7 - разделительными элементами, а Х1-Х3 представляют собой элементы развязки ВЧ цепей по питанию. Сопротивления элементов X1-Х3 носят или индуктивный или чисто активный характер, а их величины должны быть много больше сопротивления выходной нагрузки. Кроме этого устройство на фиг. 4 содержит индуктивности L1 и L2, конденсаторы С4 и С6, а также четыре варикапа VD1-VD4, которые являются основными частотозадающими элементами. Предложенное устройство работает следующим образом. Поясним работу данного генератора, используя упрощенную схему, которая приведена на фиг. 5. В упрощенной модели генератора выделяются две трехточечные схемы: треугольная и звездообразная. В последней схеме в качестве центральной точки звезды используется корпус прибора. В работе [3] на основе общих взаимных условий эквивалентных преобразований треугольника сопротивлений в звезду и наоборот - преобразования сопротивлений звезды в треугольник показано, что емкостной трехточечной схеме построения автогенераторов (см. фиг. 6а)) можно поставить в соответствие трехточечную схему генератора с последовательной обратной связью, которая изображена на фиг. 6б). Приведенные эквивалентные схемы являются обобщенными, так как они справедливы для любых транзисторов и различных вариантов их включения. Трехточечная схема генератора на фиг. 5, в котором точки обозначены буквами а, в1 и с, соответствует эквивалентной схеме на фиг. 6а), если считать, что СОС - емкость конденсатора С6, СAC - эквивалентная емкость последовательного контура, содержащего индуктивность L2 и емкости варикапов VD2 и VD4, a LКК - эквивалентная индуктивность последовательного контура, образованного индуктивностью L1 и емкостями варикапов VD1 и VD3. С другой стороны, трехточечная схема генератора на фиг. 5, в котором точки обозначены буквами а, в2 и с, соответствует эквивалентной схеме на фиг. 6б), если считать, что СБ - емкость конденсатора С4, CК - эквивалентная емкость контура, содержащего индуктивность L2 и емкости варикапов VD1 и VD2, LЭ - эквивалентная индуктивность контура, образованного индуктивностью L1, емкостью конденсатора С6 и емкостями варикапов VD3, VD4. В первом случае частота генерации находится из условия ХАС+ХОС+ХКК=0, где ХКК=2Πƒ0LКК, Используя результаты работы [3], для звездообразной трехточечной схемы генератора получим уравнение: ХКХЭ+ХЭХБ+XКXБ=0, где XЭ=2πƒ0LЭ, XК=-1/(2πƒ0СК), ХБ=-1/(2πƒ0СБ). В этом случае частота генерации f0 вычисляется по формуле: Таким образом, при выборе номиналов частотозадающих элементов в соответствии с формулами (5) и (6) предлагаемое устройство представляет собой систему двух взаимосвязанных генераторов, работающих на одной частоте и на одну общую нагрузку - резистор R1. При этом в обоих генераторах используется один и тот же активный элемент, образованный двумя транзисторами VT1 и VT2. Следует отметить, что за исключением одного элемента - конденсатора С4, остальные частотозадающие элементы используются в двух генераторах одновременно (см. фиг. 5). При соблюдении условий (5) и (6) все это свидетельствует о полной взаимосвязи данных генераторов. Если генераторы работают на высоких частотах, то для соблюдения соотношений (5) и (6) необходимо выполнить дополнительные условия, при которых точки подключения к корпусу 1 и 2, а также 3, 4 должны быть расположены как можно ближе друг к другу. В противном случае конструктивные индуктивности, которые имеют место между указанными точками, должны быть учтены при расчетах величин индуктивностей L1 и L2. Наиболее точное соблюдение соотношений (5) и (6) достигается при помощи второго источника питания путем дополнительной регулировки напряжений на варикапах. При этом полученный диапазон регулировки частот, где выполняются условия (5), (6), как правило, оказывается меньшим по сравнению с общим диапазоном перестройки частот генератора. Известно, что уменьшение общего фазового шума при взаимной синхронизации N генераторов описывается следующей формулой [4]: где Таким образом, по сравнению с известными аналогами и прототипом, поскольку в формуле (7) N-2,b предлагаемом устройстве спектральная плотность мощности фазовых флуктуаций теоретически ниже на 3 дБ. Пример конкретного выполнения устройства. Управляемый напряжением генератор выполнен на транзисторах типа КТ 3202А9 и варикапах типа КВ174 В9 (VD1, VD2) и КВ174Ж9 (VD3, VD4). Устройство генерирует колебания мощностью 2-4 дБм на частотах от 550 до 950 МГц при напряжении питания +12 В и токе потребления ~15 мА. В качестве пассивных элементов здесь используются чип-элементы для поверхностного монтажа с типоразмером 0603. ГУН выполнен на мягкой подложке из стеклотекстолита FR-4 в корпусе ВК377, который является стандартным для генераторов, производимых фирмой Mini-Circuits (США). Макет устройства представлен на фиг. 7. При помощи анализатора спектра FSUP-26 (ROHDE&SCHWARZ) измерены спектральные плотности мощности фазовых флуктуаций данного макета - Lϕ(ƒm) на частоте 600 МГц при управляющем напряжении +2.5 В (см. фиг. 8 кривая 1) и аналогичные шумовые характеристики на частоте 850 МГц при управляющем напряжении +7.5 В (см. фиг. 9, кривая 1). Чтобы устранить взаимную связь двух генераторов, из которых состоит предлагаемое устройство, изменим в 100 раз номинал емкости С4 по сравнению с ее расчетной величиной. В этом случае взаимная синхронизация пропадает, а параметры величин в формулах (1) - (4), от которых зависит уровень фазовых шумов, остаются практически неизменными. Для измененного таким способом макета генератора на тех же частотах и при тех же напряжениях на варикапах получены аналогичные характеристики Lϕ(ƒm) (см. кривые 2 на фиг. 8 и 9). Приведенные на фиг.8 и 9 экспериментальные зависимости подтверждают наличие положительного эффекта величиной 5-7 дБ на частоте 600 МГц и величиной 3-5 дБ на частоте 850 МГц. Положительный эффект здесь несколько выше теоретически установленного в 3 дБ. Дополнительная разница в уровнях спектра фазовых шумов может быть связана с тем, что при увеличении емкости С4 в 100 раз меняется вид АЧХ усилителя на транзисторе VT2 с общей базой. Обычно при изменении емкости на базе в таком резонансном усилителе его коэффициент усиления несколько уменьшается, а полоса рабочих частот расширяется [5]. В формулах (3) и (4) эти изменения приводят к уменьшению каждой из величин Р Таким образом, данный пример конкретной реализации каскодного генератора, управляемого напряжением, подтверждает возможность получения более низких уровней спектра фазовых флуктуаций. Сравнение шумовых характеристик аналогов, прототипа и других подобных им устройств [6] с уровнем спектра фазовых шумов предложенного генератора доказывает, что в предложенном генераторе уровни спектра фазовых шумов теоретически ниже на 3 дБ, а практически - на 3-7 дБ. Источники информации 1. Leeson, D. A simple model of feedback oscillator noise spectrum / D. Leeson // Proceedings of the IEEE. - 1966. - Vol. 54. -N 2. - P. 329-332. 2. Бетин, Б.М. Радиопередающие устройства / Б.М. Бетин. – М.: Высшая школа, 1972, издание 4. - 352 с. 3. Баранов, А.В. Частные и обобщенные эквивалентные трехточечные схемы СВЧ автогенераторов / А.В. Баранов // Электронная техника. Сер. 1. Электроника СВЧ. - 2017. - Вып. 1(532). - С. 18-25. 4. Heng-Chia Chang Phase noise in coupled oscillators: Theory and experiment / Heng-Chia Chang, Xudong Cao, Umesh K. Mishra and Robert A. York // IEEE Trans, on Microwave Theory and Techniques. - 1997. - Vol. 45. - N 5. - P. 604-615. 5. Баранов, А.В. Термостабилизация резонансных СВЧ усилителей мощности / А.В. Баранов, Ю.А. Булин, И.Г. Минкин // - Радиотехника. - 1990. - №1. - С. 82-84. 6. Grebennikov, A. RF and microwave transistor oscillator design / A. Grebennikov. - John Wiley & Sons, 2007. - 441 p.



,
,
, и равна:


- общий фазовый шум для N глобально связанных между собой генераторов,
- фазовый шум отдельного генератора. Соотношение (7) справедливо и для цепочки N генераторов, ближайшие из соседей которых обладают двусторонней связью. Оно справедливо также и для другой формы записи - через спектральные плотности мощности фазовых флуктуаций отдельного и совокупного генераторов.
на 1-2 дБ, что и объясняет при ƒ0=600 МГц дополнительное увеличение уровня Lϕ(ƒm) на 2-4 дБ.