патент
№ RU 2232069
МПК B23K9/16

УСТРОЙСТВО ДЛЯ ГАЗОВОЙ ЗАЩИТЫ СВАРНОГО ШВА

Авторы:
Астафьев А.Г.
Номер заявки
2002134118/02
Дата подачи заявки
18.12.2002
Опубликовано
10.07.2004
Страна
RU
Как управлять
интеллектуальной собственностью
Чертежи 
1
Реферат

[22]

Изобретение относится к сварочной технике, в частности к устройствам для автоматической сварки в среде защитных газов листовых конструкций из активных металлов. Устройство выполнено в виде защитного козырька, свободно устанавливаемого за горелкой. Защитный козырек цепляется за горелку с помощью захватов и представляет собой камеру, состоящую из двух корпусов. Основание внутреннего корпуса выступает из основания наружного корпуса. Теплоотводящие прижимные пластины выполнены с горизонтальными уступами для установки на них основания внутреннего корпуса. Они образуют совместно с боковыми поверхностями корпусов козырька и зазорами между ними лабиринтное газовое уплотнение. Зазоры между корпусами, расположенные в торцах защитного козырька, обеспечивают газовую завесу. Предложенное защитное устройство позволяет исключить подсосы атмосферного воздуха в зону сварочной ванны и остывающего шва, что обеспечивает качественную защиту сварного соединения при сварке активных металлов в обычных производственных помещениях в любое время года при наличии различных колебаний воздушных потоков окружающей среды. 1 з.п. ф-лы, 2 ил.

[23]

Формула изобретения

1. Устройство для газовой защиты сварного шва при автоматической сварке изделий из активных металлов, состоящее из защитного козырька для подачи и распределения защитного газового потока, закрепленного на горелке сварочного автомата, и теплоотводящих прижимных пластин, отличающееся тем, что защитный козырек выполнен в виде камеры, состоящей из 2-х корпусов, расположенных один в другом с образованием зазоров по периметру, основание внутреннего корпуса выступает из основания наружного корпуса, наружный корпус имеет узел для крепления козырька к горелке с возможностью свободного ее перемещения в вертикальной плоскости, а теплоотводящие прижимные пластины выполнены с горизонтальными уступами для установки на них основания внутреннего корпуса, образующими совместно с боковыми поверхностями корпусов козырька и зазорами между ними лабиринтное газовое уплотнение, при этом зазоры между корпусами, расположенные в торцах защитного козырька, обеспечивают газовую завесу.

2. Устройство по п.1, отличающееся тем, что узел для крепления козырька к горелке выполнен в виде крючкообразных захватов.

Описание

[1]

Предлагаемая конструкция защитного устройства может использоваться в сварочной технике: при автоматической сварке в среде защитных газов листовых конструкций из активных металлов, в частности при изготовлении изделий из титановых сплавов.

[2]

Известно защитное устройство для подачи защитного газа в зону сварки, состоящее из сопла с защитным козырьком. (Актуальные проблемы сварки цветных металлов. Докл. II Всесоюз. конфер. / Ред. кол.: С.М.Гуревич и др. - Киев: Наукова Думка, 1985, с.184-185).

[3]

Недостатком конструкции данного устройства является совместное выполнение козырька и сопла горелки. В результате при установке положения сопла и регулировке длины дуги относительно сварного шва меняется расстояние от защитного козырька до зоны сварки, что ведет к нарушению ламинарности защитного газового потока и подсосам атмосферного воздуха в зону сварки.

[4]

Наиболее близким, принятым за прототип, является устройство для защиты остывающих участков сварного шва от взаимодействия с газами атмосферы, выполненное в виде козырька, закрепляемого на горелке с помощью хомута и съемных медных теплоотводящих прижимных накладок. Подача защитного газа осуществляется через патрубок, имеющий ряд мелких отверстий для обеспечения ламинарности газового потока. (Технология производства титановых самолетных конструкции. А.Г.Братухин и др. - М.: Машиностроение, 1995, с.213-219, 297).

[5]

Недостатком данного устройства является то, что защитный козырек закреплен с соплом горелки неподвижно, и в процессе сварки при прямолинейном движении горелки над поверхностью свариваемого изделия и ее вертикальном перемещении вверх и вниз, при ручной или автоматической регулировке длины дуги, меняется зазор между защитным козырьком и медными прижимными накладками, над которыми располагается козырек. Это приводит к изменению условий защиты газовым потоком, исходящим из-под козырька, и не исключаются подсосы атмосферного воздуха в зону сварочной ванны и сварного шва, особенно при изменении воздушных потоков окружающей среды (сквозняки, потоки воздуха от калорифера и т.п.). Подсосы воздуха через зазоры между основанием козырька и медными прижимными накладками приводят к ухудшению механических свойств сварного шва из-за насыщения его водородом и другими газами.

[6]

Целью данного изобретения является создание устройства для газовой защиты сварного шва, позволяющего улучшить качество сварных швов изделий из активных металлов при сварке в среде защитных газов.

[7]

Для осуществления этой цели предлагаемое устройство выполнено в виде защитного козырька, свободно устанавливаемого за горелкой на горизонтальную поверхность уступов теплоотводящих прижимных пластин. Защитный козырек цепляется за горелку с помощью захватов и представляет собой камеру, состоящую из двух корпусов, наружный из которых обеспечивает ламинарность потока защитного газа, защитную газовую завесу в передней и задней частях камеры, и совместно с прямоугольными уступами, выполненными на боковой поверхности теплоотводящих прижимных пластин, лабиринтное газовое уплотнение вдоль всей камеры. Внутренний корпус нижней частью выступает из камеры и служит ее опорой, располагается на уступах теплоотводящих прижимных пластин. Одновременно конструкция внутреннего корпуса обеспечивает ламинарность защитного газового потока, направленного на остывающий участок сварного шва. Свободная установка защитного козырька на горелке обеспечивает необходимую регулировку и установку длины дуги без изменения условий защиты сварного соединения газовым потоком, а свободным перемещением козырька за горелкой по уступам теплоотводящих прижимных пластин достигается исключение образования участков с разрежением и подсосов воздуха в зону сварного шва.

[8]

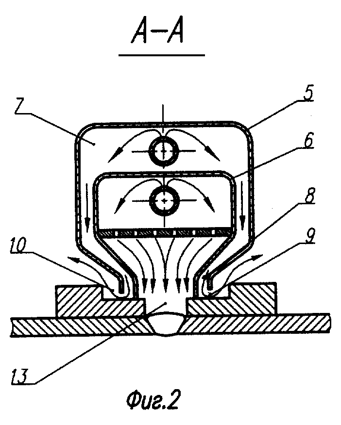
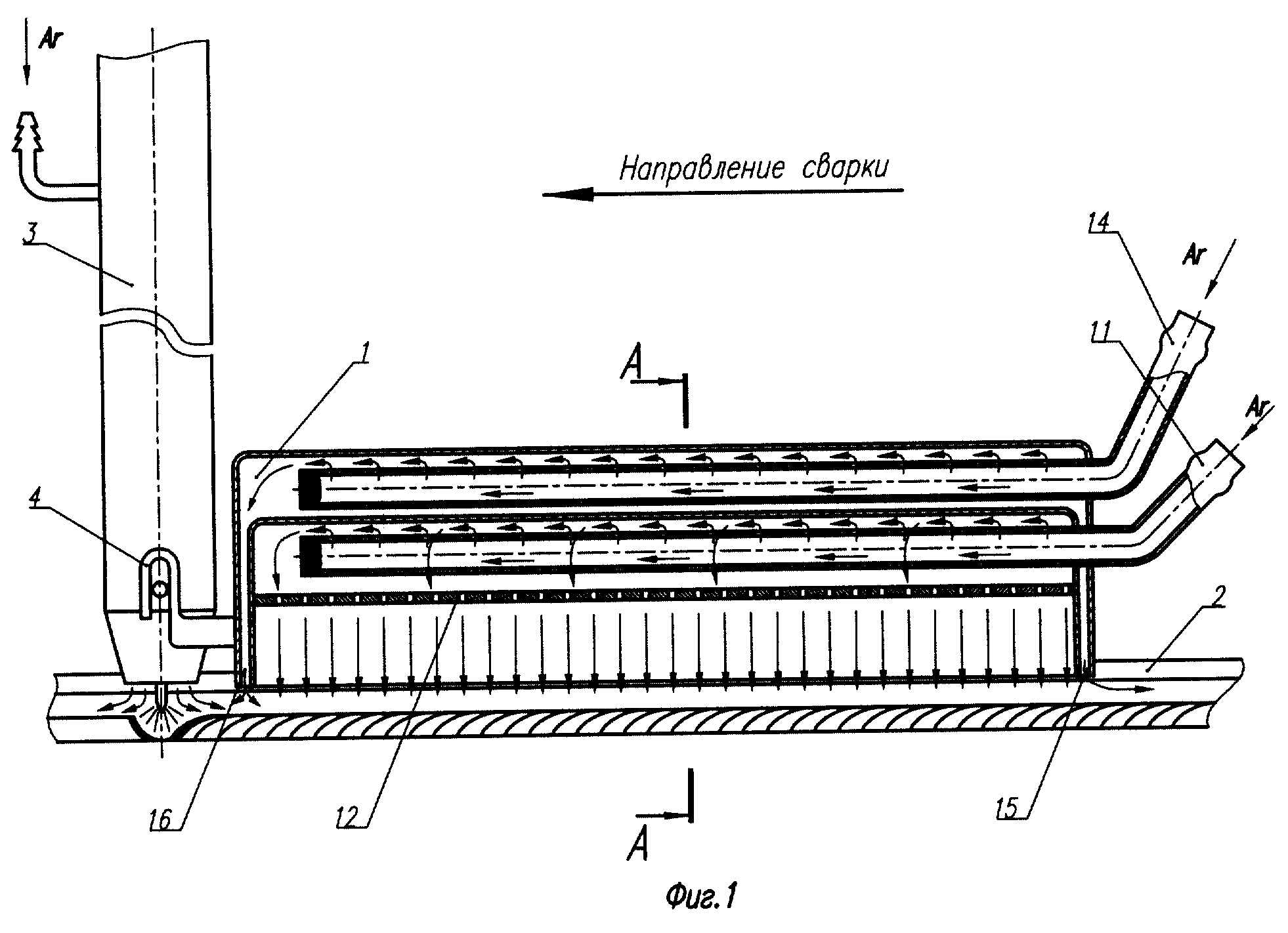
На фиг.1 изображено предлагаемое устройство; на фиг.2 - разрез устройства.

[9]

Устройство состоит из козырька для местной защиты 1, представляющего собой камеру, и теплоотводящих прижимных пластин 2, имеющих форму прямоугольника, на боковой поверхности которого выполнен уступ.Камера для местной защиты 1 свободно цепляется за горелку 3 с помощью узла крепления в виде захватов 4. Камера 1 состоит из двух корпусов: наружного 5 и внутреннего 6, образующих между собой полость 7 и зазор 8. Основание внутреннего корпуса 6 выступает из основания наружного корпуса 5 и устанавливается на горизонтальную поверхность уступов теплоотводящих секционных прижимных пластин 2, служащих ему основанием, обеспечивая зазор 9 между основанием наружного корпуса 5 и горизонтальной поверхностью уступов, и зазор 10 между вертикальной поверхностью уступов теллоотводящих прижимных пластин и боковыми поверхностями наружного корпуса 5 камеры 1. Камера 1 снабжена двумя патрубками 11 и 14. Внутри корпуса 6 установлена перфорированная перегородка (сетка) 12. Полость 13 образована свариваемым металлом, теплоотводяпщми пластинами 2 и защитной камерой 1. В передней и задней частях камеры 1 имеются зазоры 15 и 16, образованные торцевыми стенками корпусов 5 и 6.

[10]

Предложенная конструкция защитного устройства работает следующим образом. Свариваемые детали устанавливаются в сварочный стенд на медную формирующую проплав подкладку (не показана). На детали, в околошовной зоне, на определенном расстоянии от стыка устанавливаются медные прижимные теплоотводящие пластины 2 и с помощью клавишного прижимного механизма (не показан) прижимаются вместе с деталью к медной формирующей проплав подкладке. Сварочный автомат устанавливается на месте начала сварочного шва (не показан). Камера 1 цепляется за горелку 3 с помощью узла крепления - захватов 4 и свободно укладывается в паз, образующийся между прижимными теплоотводящими пластинами 2, на внутренние уступы этих пластин. В сопло сварочной горелки 3 и камеру 1 подается требуемое количество защитного газа (аргона или гелия). По патрубку 11 газ подается к сварному шву в полость 13, где проходит через перфорированную перегородку (сетку) 12. Защитный газ, подаваемый через патрубок 14, подается в полость 7 и выходит из нее через боковые зазоры 8 между внутренним 6 и наружным корпусом 5, зазоры 9 и 10 между корпусом 5 и горизонтальной и вертикальной поверхностями уступов теплоотводящих прижимных пластин 2, образуя лабиринтное газовое уплотнение, а также через зазоры 15 и 16 в передней и задней частях камеры 1, образуя газовые завесы. Защитный газ вытесняет воздух из зоны сварного шва под соплом горелки 3 и камерой 1. После предварительной продувки включается источник нагрева (сварочная дуга, лазер и т.п.) и начинается процесс сварки, при котором автомат начинает движение; защитный газ, подаваемый в горелку 3, защищает сварочную ванну, а защитный газ, подаваемый в камеру 1 через патрубки 11 и 14, защищает остывающий сварной шов.

[11]

Пример практического использования защитного устройства реализован в производственных условиях ОАО ИАПО при изготовлении ребристых панелей из титановых сплавов ВТ-20 и ОТ4-1 толщиной 1,8-2,5 мм стыковых и тавровых, выполненных сквозным проплавлением, соединениях на установке УСП 2.6, выполняя сварку в режимах:

[12]

сварочный ток 270-300 А;

[13]

скорость сварки 100-130 мм/мин;

[14]

электрод - вольфрам итрированный диаметром 3 мм;

[15]

присадочная проволока ВТ 1-00 диаметром 1,6 мм;

[16]

защитный газ - аргон:

[17]

расход в горелку - 6-8 л/мин

[18]

расход в камеру - 4-5 л/мин

[19]

расход на обратную сторону - 2-3 л/мин.

[20]

Примечание: в зимнее время для обогрева помещения использовались калориферы, в летнее время не исключены условия для сквозняков. В результате применения вышеописанного устройства для газовой защиты сварного шва дефекты в виде пор, раковин в сварных швах отсутствуют. Содержание водорода в шве менее 0,1%, что ниже нормативного значения (0,15%). Механические свойства сварного соединения соответствуют стандартным значениям.

[21]

Таким образом, предложенное защитное устройство позволяет исключить подсосы атмосферного воздуха в зону сварочной ванны и остывающего шва, и обеспечить качественную защиту сварного шва при сварке активных металлов в обычных производственных помещениях в любое время года при наличии различных колебаний воздушных потоков окружающей среды.

Как компенсировать расходы
на инновационную разработку
Похожие патенты