патент
№ RU 2299155
МПК B64C3/50

МЕХАНИЗМ УПРАВЛЕНИЯ АЭРОДИНАМИЧЕСКИМИ ПОВЕРХНОСТЯМИ САМОЛЕТА

Авторы:
Шаповал Владимир Григорьевич
Номер заявки
2004138780/11
Дата подачи заявки
30.12.2004
Опубликовано
20.05.2007
Страна
RU
Как управлять
интеллектуальной собственностью
Чертежи 
3
Реферат

[17]

Изобретение относится к авиастроению, в частности к конструкции механизма управления аэродинамическими поверхностями самолета. Механизм управления аэродинамическими поверхностями самолета содержит узлы и агрегаты, связанные с аэродинамическими поверхностями посредством шарнирных узлов, включающих болтовое соединение, которое содержит гайку 11, болт 10 со сквозным продольным отверстием. Со стороны торцовой поверхности гайки и со стороны резьбовой части болта выполнены пазы, в которые при совмещении в затянутом положении устанавливается зуб, выполненный на плоскости шайбы 12. Шайба зафиксирована размещенным в полом болте дополнительным болтом 14, затянутым самоконтрящейся гайкой 15. Болт 14 дополнительно закреплен проволокой 16 через отверстие в головке болта к лепесткам шайбы 17, установленной под гайкой 11, навернутой на полый болт. Изобретение повышает надежность механизма управления аэродинамическими поверхностями самолета. 3 з.п. ф-лы, 4 ил.

Формула изобретения

1. Механизм управления аэродинамическими поверхностями самолета, узлы и агрегаты которого связаны с аэродинамическими поверхностями посредством шарнирных узлов, включающих болтовое соединение, отличающийся тем, что со стороны торцевой поверхности гайки и со стороны резьбовой части болта со сквозным продольным отверстием выполнены пазы, в которые при совмещении в затянутом положении установлен зуб, выполненный на плоскости шайбы, зафиксированной размещенным в полом болте дополнительным болтом, затянутым самоконтрящейся гайкой и, кроме того, закрепленным проволокой через отверстие в головке к лепесткам шайбы, установленной под гайкой полого болта.

2. Механизм управления по п.1, отличающийся тем, что на торцовой поверхности полого болта выполнено, по меньшей мере, пять равномерно расположенных пазов.

3. Механизм управления по любому из пп.1 и 2, отличающийся тем, что на торцовой поверхности гайки выполнено, по меньшей мере, шесть равномерно расположенных пазов.

4. Механизм управления по п.1, отличающийся тем, что зуб на шайбе, пазы полого болта и гайки выполнены прямоугольного сечения.

Описание

[1]

Изобретение относится к авиастроению, в частности к конструкции механизма управления аэродинамическими поверхностями самолета, например закрылками.

[2]

Основы конструирования в авиастроении, являясь общими с основами конструирования в целом, включают особый подход к конструированию с учетом повышенных требований к уровню надежности для обеспечения безопасности полетов. Уровень надежности самолетов интегрирован из многих составляющих, в том числе из надежности применяемого стопорения крепежных деталей. (П.И.Орлов "Основы конструирования", т.2, М., Машиностроение, с.137-173, ОСТ 39502-77 "Стопорение болтов, винтов, шпилек, штифтов и гаек"). В изобретениях, касающихся механизмов управления аэродинамическими поверхностями самолетов, обязательным элементом конструкции является шарнирная связка узлов механизма с управляемыми поверхностями (SU 1497916 А1, МКИ 4В64С 13/34, ЕР 1426290, SU 1830844 A1, RU 96108425 А (прототип), МПК 6 В64С 13/28).

[3]

Однако в известных устройствах указанного назначения, в том числе по прототипу, уязвимым элементом конструктивного решения шарнирного узла является резьбовое соединение ввиду недостаточной надежности его стопорения из-за вероятности рассоединения механизма с аэродинамической поверхностью.

[4]

Задача изобретения - повышение уровня надежности механизма управления аэродинамическими поверхностями самолета.

[5]

Для решения задачи в механизме управления аэродинамическими поверхностями самолета, например закрылками, узлы и агрегаты которого связаны с аэродинамическими поверхностями посредством шарнирных узлов, включающих болтовое соединение, в отличие от прототипа на торцовой поверхности гайки и болта со сквозным продольным отверстием выполнены пазы, в которые при одном совмещении в затянутом положении устанавливается зуб, выполненный на плоскости шайбы. Шайба зафиксирована размещенным в полом болте дополнительным болтом, затянутым самоконтрящейся гайкой и, кроме того, закрепленным проволокой через отверстие в головке к лепесткам шайбы, установленной под гайкой полого болта.

[6]

Указанная задача достигается также тем, что:

[7]

- на торцовой поверхности полого болта выполнено, по меньшей мере, пять равномерно расположенных пазов;

[8]

- на торцовой поверхности гайки выполнено, по меньшей мере, шесть равномерно расположенных пазов;

[9]

- зуб на шайбе, пазы полого болта и гайки выполнены прямоугольного сечения.

[10]

Заявляемая конструкция механизма представлена на чертежах.

[11]

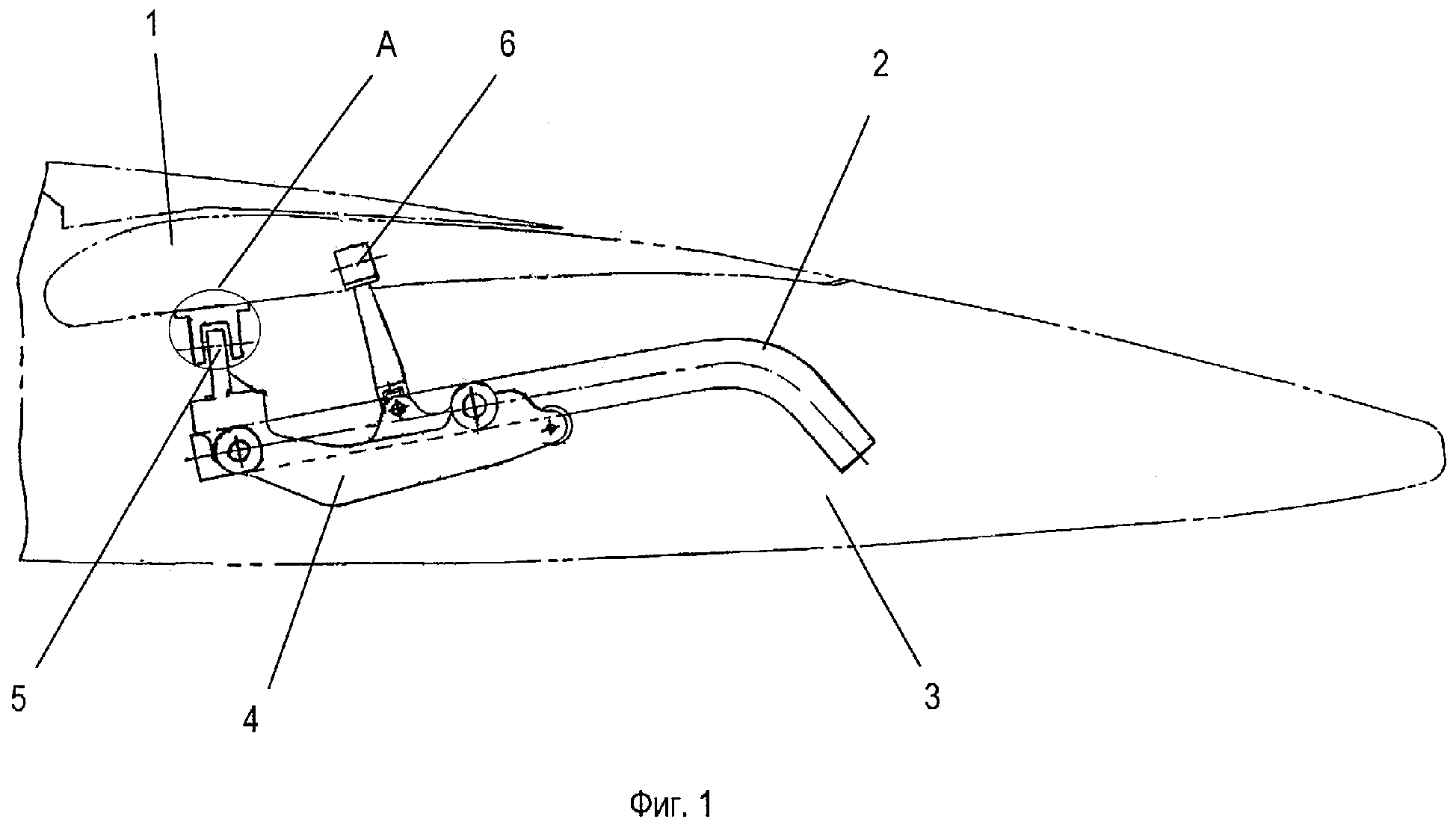
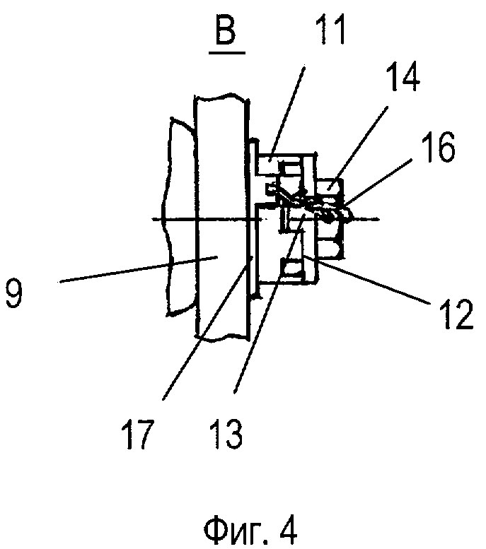
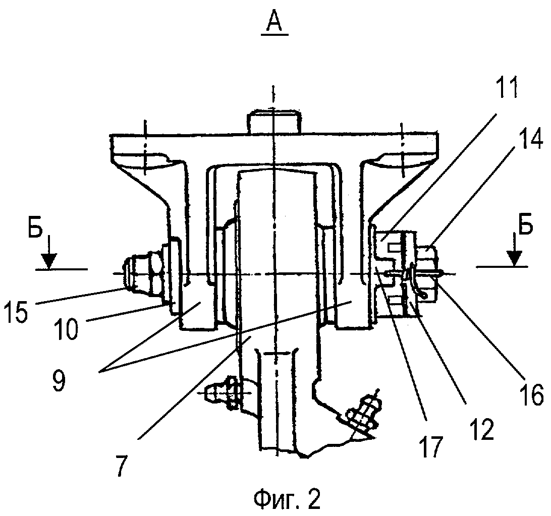
На фиг.1 представлен общий вид механизма, установленного на крыле самолета; на фиг.2 - узел А на фиг.1; на фиг.3 - сечение Б-Б на фиг.2; на фиг.4 - вид В на фиг.3.

[12]

Механизм управления аэродинамическими поверхностями самолета, например закрылками 1, содержит рельсы 2, закрепленные в подкрыльевой балке 3, каретку 4, связанную с закрылком шарнирными узлами соединения 5 и 6. Каждый узел содержит проушину 7 со сферическим шарнирным подшипником 8 и кронштейн 9 закрылка, соединенные между собой полым болтом 10 с пазами, выполненными в количестве не менее четырех на торцовой поверхности со стороны резьбовой части. Полый болт затянут гайкой 11 с пазами, выполненными в количестве не менее пяти на торцовой поверхности со стороны торцовой части. Гайка затянута до совмещения одного из ее пазов с одним из пазов полого болта. На плоскости стопорной шайбы 12, установленной на гайку 11, выполнен зуб 13, например прямоугольной формы в сечении, который входит в совмещенные пазы гайки и полого болта. Шайба 12 зафиксирована болтом 14, установленным в отверстие полого болта и затянутым самоконтрящейся гайкой 15. Болт через отверстие в головке дополнительно прикреплен проволокой 16 к лепесткам шайбы 17, установленной под гайкой 11, навернутой на полом болте 10.

[13]

Стопорение резьбового соединения шарнирного узла механизма управления аэродинамическими поверхностями самолета осуществляется следующим образом.

[14]

Установка зуба 13 шайбы 12 в совмещенные один из пазов гайки 11 с одним из пазов полого болта 10 при затянутом положении фиксирует гайку от поворота относительно полого болта. Болт 14, установленный в полости болта 10 и зафиксированный самоконтрящейся гайкой 15, удерживает шайбу 12 от осевого перемещения. На случай непроизвольного отворачивания самоконтрящейся гайки 15 и исключения осевого перемещения болта 14, он дополнительно зафиксирован посредством проволоки 16 к лепесткам шайбы 17.

[15]

Выполнение пазов на торцовой поверхности полого болта гайки и со стороны резьбовой части позволяет дополнительно зафиксировать соединение от непроизвольного отворачивания гайки путем установки зуба шайбы в совмещенные в затянутом положении пазы гайки с одним из пазов болта. Прямоугольная форма сечения зуба имеет технологические преимущества. Заявленное соотношением количества пазов на соединяемых деталях является оптимальным, позволяющим обеспечить совпадение пары пазов в затянутом положении гайки при сохранении прочностных свойств деталей. В свою очередь данное соединение также продублировано стопорными элементами: поскольку болт с пазами выполнен полым, это позволяет установить в него дополнительный болт с отверстием в головке и застопорить его с одной стороны гайкой, а с другой - закрепить проволокой к лепесткам шайбы под гайкой с пазами. В этом случае практически исключено осевое перемещение болта и самопроизвольное отворачивание самоконтрящейся гайки.

[16]

При реализации устройства заявленная совокупность существенных признаков обеспечивает технический результат - дублированное стопорение резьбового соединения шарнирного узла, что практически исключает вероятность рассоединения узлов, связывающих механизм управления с аэродинамическими поверхностями самолета. Таким образом достигнуто гарантированное стопорение узлов крепления шарнирных узлов, решающее задачу повышения надежности в целом всего механизма управления аэродинамическими поверхностями самолета, что было подтверждено при испытании опытных изделий.

Как компенсировать расходы
на инновационную разработку
Похожие патенты