Группа изобретений относится к методам и средствам защиты космических объектов от высокоскоростных метеоритных или техногенных частиц. Способ осуществляют устройством в виде набора акустических датчиков (АКД), подключенных к измерительно-расчетному блоку, и высокочастотных антенн. Последние размещены вблизи поверхности гермоотсека, а АКД - в его объеме. При пробое корпуса объекта фиксируют моменты прихода к АКД звуковой волны, а по электромагнитным сигналам антенн - момент пробоя гермоотсека. Координаты места пробоя находят, исходя из системы уравнений, выражающих расстояния места пробоя от АКД, определяемые по указанным моментам времени. Из множества АКД выбирают четвёрки с миним. временами прихода звуковой волны. Технический результат группы изобретений направлен на уменьшение погрешности определения координат места пробоя при ограничении количества АКД. 2 н.п. ф-лы, 1 ил.
1. Способ определения координат места пробоя корпуса гермоотсека космического объекта частицей природного или техногенного происхождения, заключающийся в определении и запоминании координат акустических датчиков в заданной системе координат, отличающийся тем, что по сигналам, принимаемым высокочастотными антеннами, расположенными вблизи поверхности гермоотсека, определяют время пробоя гермоотсека, а по сигналам с акустических датчиков - момент прихода звуковой волны к каждому из них, после чего вычисляют координаты места пробоя из решения системы уравнений: 2. Устройство для реализации способа по п.1, содержащее набор акустических датчиков, размещенных в объеме гермоотсека по заданной схеме, отличающееся тем, что внутри гермоотсека и на его наружной поверхности расположены антенны, выполненные в виде соленоидов с каркасом из диэлектрического материала, обмотки которых связаны с высокочастотным аналого-цифровым преобразователем, подключенным к регистрационно-расчетному блоку, при этом антенны установлены внутри гермоотсека и на его поверхности равномерно. 
где с - скорость звука в воздухе;
t0 - время испускания электромагнитного импульса, фиксируемое антеннами;
i - целые; i=1,…, 4; k - целые;
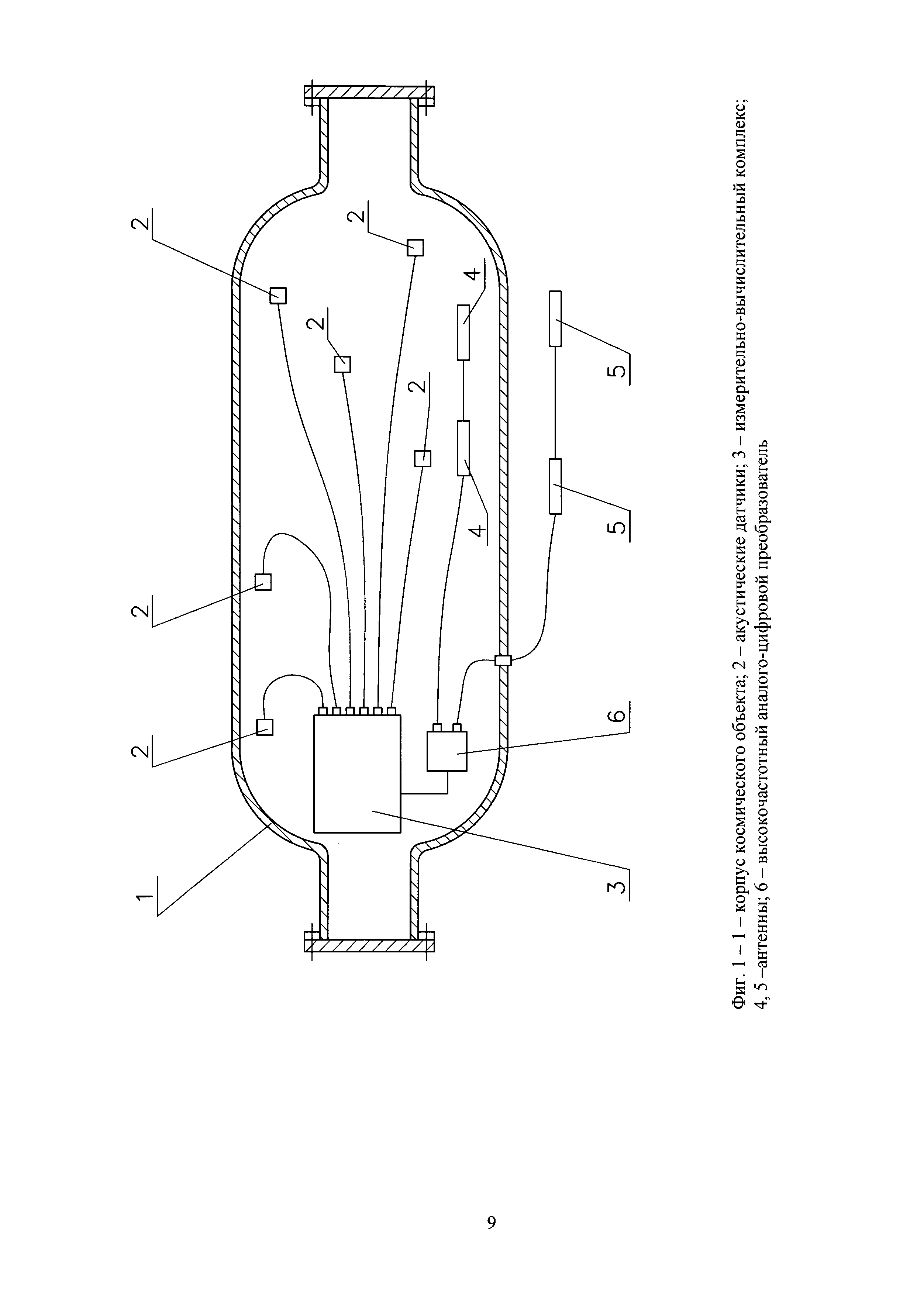
Изобретение относится к области космической техники и предназначено для определения места пробоя корпуса гермоотсека космического объекта высокоскоростными частицами природного или техногенного происхождения. Пробой корпуса гермоотсека космического объекта (КО) сопровождается потерей давления внутренней атмосферы гермоотсека (скорость потери определяется размерами пробойного отверстия) и возникновением акустической волны взрывного типа в атмосфере гермоотсека, вырождающейся в звуковую при удалении от места пробоя. Интенсивность акустической волны определяется величиной энергии, выделившейся в зоне пробоя или удара. Известны и широко применяются на борту КО системы измерения давления, состоящие из одного и более датчиков давления, размещенных в гермообъеме КО (В. Истомин. Хроника полета экипажа МКС-1. Новости космонавтики, 2001 г.) - (Д1), предназначенные для определения факта пробоя за счет измерения постоянной составляющей давления бортовой атмосферы. Датчики давления обеспечивают надежную регистрацию падения давления при внезапной разгерметизации гермоотсека КО. Устройство внедрено на борту Служебного модуля Международной космической станции (СМ МКС). К недостаткам этого технического решения относится невозможность определения координат места пробоя. Известны применяемые на борту КО течеискатели (В.В. Борисов и др. Перспективы применения дистанционных средств для обнаружения мест негерметичности конструкции Международной космической станции и контроля ее состояния. - Космонавтика и ракетостроение, №4 (49), 2007 г., патент №2348909) - (Д2), состоящие из ультразвукового датчика давления и преобразователя высокочастотных колебаний в звуковой диапазон, слышимый для человека. Течеискатели обеспечивают обнаружение места пробоя за счет повышенных уровней ультразвуковых колебаний вблизи пробойного отверстия. Недостаток устройства - отсутствие оперативности, необходимость обследования всего корпуса гермоотсека. Известно устройство определения координат места пробоя гермооболочки космического объекта, содержащее 6 акустических датчиков, размещенных по заданной схеме в гермоотсеке КО и соединенных с измерительно-расчетным блоком, патент РФ №2387966 - (Д3). В патенте используется способ определения координат места пробоя, основанный на измерении и запоминании координат акустических датчиков в заданной системе координат, фиксированием времен прихода акустической волны к каждому датчику и определением места пробоя решением системы уравнений, описывающих движение сферических виртуальных звуковых волн, исходящих от каждого датчика с учетом измеренных сдвигов времени прихода реальной акустической волны к датчикам. Решение системы уравнений определяет точку пересечения виртуальных звуковых волн, с определенной точностью совпадающей с реальной точкой пробоя. Известное устройство принято за прототип. Недостатками прототипа является недостаточная точность определения координат точки пробоя в условиях загромождения гермоотсека оборудованием и элементами интерьера, что приводит к дифракционному размытию фронта звуковой волны и неопределенности момента прихода волны к датчику, а также наличием особых точек неопределенности при решении используемой системы линейных уравнений, приводящих к большим ошибкам в определении искомых координат в некоторых участках гермоотсека. Целями предлагаемого изобретения являются: - минимизация погрешности определения координат места пробоя при загромождении гермообъема космического объекта; - уменьшение количества акустических датчиков. Указанные цели достигаются тем, что согласно предлагаемому способу акустические датчики давления размещают в гермообъеме КО вблизи противоположных стенок при максимальном удалении датчиков друг от друга и таким образом, чтобы плоскости, в которых лежат любые по три из четырех датчиков, пересекались под максимально большими углами. Координаты акустических датчиков давления в заданной системе координат, связанной с КО, определяют с максимально возможной точностью и запоминают. При пробое корпуса гермоотсека КО высокоскоростными частицами регистрируют электромагнитный сигнал (импульс), вызванный разделением и последующей рекомбинацией зарядов в высокотемпературной плазме, образованной из продуктов испаренного материала корпуса и ударяющей частицы, а также электризацией зоны пробоя при разрыве материалов противометеоритной защиты и корпуса КО (трибоэлектризация). Указанный электромагнитный импульс превышает по мощности электромагнитный фон в КО и может быть зарегистрирован высокочастотными антеннами. При фиксировании антенной электромагнитного импульса и акустическими датчиками момента прохождения фронта звуковой волны, на персональном компьютере (ПК) производится расчет координат места пробоя из системы уравнений: где с - скорость звука в воздухе; t0 - время испускания электромагнитного импульса, фиксируемое антеннами; i - целые; i=1,…, 4; k - целые; Решение находят из 3-х уравнений системы, однако, оно не будет единственным. Для выбора единственного решения используют 4-е уравнение системы. Система уравнений составляется для 4-х датчиков, имеющих минимальные времена прихода звуковой волны Сущность предлагаемого устройства заключается в том, что в нем наряду с акустическими датчиками используются высокочастотные, высокочувствительные антенны, что и позволяет существенно повысить точность и упростить математическую задачу определения координат места пробоя. Предлагаемое устройство содержит минимум четыре акустических датчика давления и антенны внутри и вне корпуса гермоотсека КО. Акустические датчики давления подключены к измерительно-расчетному блоку, содержащему аналого-цифровой преобразователь (АЦП) и персональный компьютер. Антенны выполнены в виде соленоидов, намотанных на неферромагнитных диэлектрических каркасах, представляющих собою «пояс Роговского», патент РФ №2353937 - (Д4), развернутый из кольца в цилиндр. Антенны размещены равномерно по объему корпуса внутри и снаружи КО и подключены к дополнительному высокочастотному АЦП, включенному в измерительно-расчетный блок. При больших размерах КО и наличии акустически изолированных отсеков в каждом отсеке или удаленном участке КО размещают не менее чем четыре акустических датчика. Техническими результатами изобретения являются: - повышение точности определения координат места пробоя при загромождении гермообъема космического объекта; - снижение необходимого количества акустических датчиков. На Фиг. 1 приведен чертеж конструкции устройства. Устройство определения места пробоя гермооболочки пилотируемого космического объекта содержит набор акустических датчиков 2, размещаемых внутри ПКО по определенной схеме, комплект антенн 4-5, размещаемых внутри гермоотсека и на его наружной поверхности, выполненных в виде соленоидов с каркасом из диэлектрического материала. Акустические датчики подключены к измерительно-расчетному блоку 3, содержащему аналого-цифровой преобразователь и персональный компьютер. Антенны подключены к дополнительному высокочастотному АЦП 6, соединенному с измерительно-расчетным блоком 3. Устройство работает следующим образом. В момент пробоя высокоскоростной микрометеороидной или техногенной частицей гермооболочки КО в области пробоя возникает электромагнитный импульс, амплитуда сигнала которого существенно превышает электромагнитный фон в КО. Момент времени электромагнитного импульса фиксируется антеннами, сигнал с которых непрерывно опрашивается посредством высокочастотного аналого-цифрового преобразователя (АЦП), подсоединенного к ПК. В воздушной среде гермообъема в месте пробоя возникает ударная волна, которая на некотором расстоянии от этого места вырождается в звуковую волну и распространяется далее с известной скоростью звука. Момент времени достижения фронтом звуковой волны с амплитудой, превышающей на заданную величину фоновый шум работающего на борту КО оборудования, фиксируется акустическими датчиками и регистрируется с помощью многоканального АЦП, подсоединенного к ПК. Пороговые уровни фоновых электромагнитных шумов и фоновых акустических шумов работающего оборудования по каждому каналу, относительно уровня которых происходит фиксация амплитуд электромагнитной и звуковых волн, заранее задаются. Измерительно-расчетный блок обрабатывает полученную информацию и определяет координаты места пробоя.