патент
№ RU 2609671
МПК H01Q1/00

ПОДЪЕМНО-МАЧТОВОЕ УСТРОЙСТВО

Авторы:
Масленников Александр Борисович
Номер заявки
2015125200
Дата подачи заявки
25.06.2015
Опубликовано
02.02.2017
Страна
RU
Как управлять
интеллектуальной собственностью
Чертежи 
2
Реферат

Изобретение относится к антенной технике, в частности к стационарной, и может быть использовано в подъемно-мачтовых устройствах (ПМУ), устанавливаемых на фундамент бетонный, свайный или свайно-винтовой, для подъема оборудования на заданную высоту, с лебедкой в комплекте для подъема мачты с плоскопараллельным поворотом верхней площадки, и опускания для обслуживания, ремонта и при наступлении форс-мажорных обстоятельств. Технический результат заключается в упрощении конструкции ПМУ при сохранении ее надежности. Поставленная задача достигается тем, что в подъемно-мачтовом устройстве, содержащем основание, секционную мачту с закрепленной на ней верхней монтажной площадкой для антенной системы, согласно изобретению дополнительно введен шарнирный параллелограмм, позволяющий при подъеме секционной мачты верхней монтажной площадке сохранять горизонтальное положение. 2 ил.

Формула изобретения

Подъемно-мачтовое устройство, содержащее основание, секционную мачту с закрепленной на ней верхней монтажной площадкой для антенной системы, отличающееся тем, что дополнительно введен шарнирный параллелограмм, позволяющий при подъеме секционной мачты верхней монтажной площадке сохранять горизонтальное положение.

Описание

[1]

Изобретение относится к антенной технике, в частности к стационарной, и может быть использовано в подъемно-мачтовых устройствах (ПМУ), устанавливаемых на фундамент бетонный, свайный или свайно-винтовой, для подъема оборудования на заданную высоту, с лебедкой в комплекте для подъема мачты с плоскопараллельным поворотом верхней площадки, и опускания для обслуживания, ремонта и при наступлении форс-мажорных обстоятельств.

[2]

Изобретение предназначено для подъема различного крупногабаритного массивного оборудования при необходимости с поворотным редуктором.

[3]

В качестве прототипа выбрана мобильная вышка преимущественно для антенных систем [1]. Мобильная вышка содержит смонтированное на транспортном средстве основание, на котором поворотно закреплена снабженная гидроцилиндрами поворота подъемная телескопическая мачта (ТМ) и снабженные гидродомкратами передние и задние опоры, устанавливаемые с возможностью контактирования с грунтом. ТМ включает наружную базовую и выдвигаемые промежуточную и переднюю секции. На передней секции ТМ со стороны торца последней закреплена опорная платформа для антенной системы с возможностью поворота относительно горизонтальной оси, расположенной перпендикулярно плоскости поворота ТМ. Мобильная вышка снабжена приводом поворота опорной платформы, тремя раскладными составными растяжками с возможностью раскрепления ТМ в рабочих положениях в развернутом состоянии мобильной вышки и приводом установки и натяжения растяжек.

[4]

К недостаткам прототипа относится необходимость в многочисленном дополнительном оборудовании для развертывания-свертывания мобильной вышки.

[5]

Задача изобретения - упрощение конструкции ПМУ при сохранении ее надежности.

[6]

Поставленная задача достигается тем, что в подъемно-мачтовом устройстве, содержащем основание, секционную мачту с закрепленной на ней верхней монтажной площадкой для антенной системы, согласно изобретению дополнительно введен шарнирный параллелограмм, позволяющий при подъеме секционной мачты верхней монтажной площадке сохранять горизонтальное положение.

[7]

Достигаемым техническим результатом заявленного изобретения является:

[8]

1) создание конструкции ПМУ с монтажом различного крупногабаритного оборудования на верхней площадке, последующим подъемом и опусканием мачты без применения крановых работ, специальных машин при монтаже, ремонте оборудования и возникновении форс-мажорных обстоятельств;

[9]

2) создание ПМУ с поворотной верхней монтажной площадкой, сохраняющей горизонтальное положение площадки независимо от угла наклона при подъеме мачты.

[10]

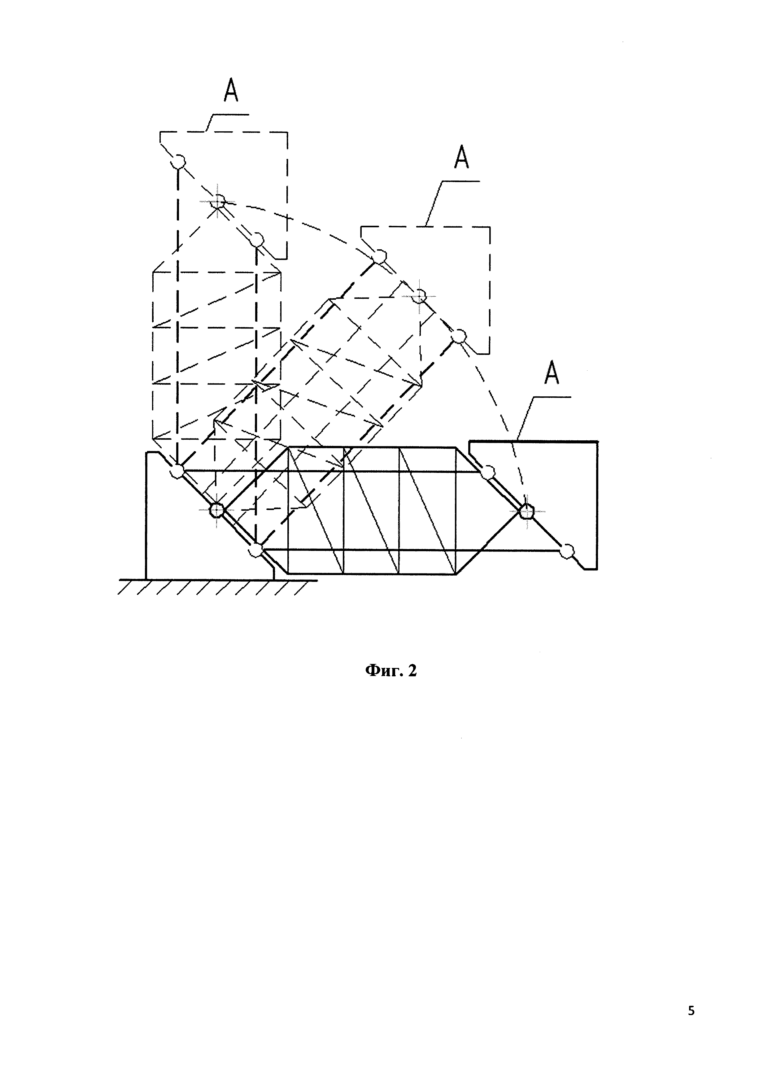
Сущность изобретения поясняется графическими материалами, на которых на фиг. 1 изображена конструкция ПМУ, ПМУ состоит из нижнего основания 1 и верхней монтажной площадки 2, посредством шести шарниров 5 соединенных со стволом мачты 3 и подвижными сторонами параллелограмма 4, и плоскости А площадки 2 для установки антенного оборудования. На фиг. 2 - положения ПМУ при работе: горизонтальное, при угле наклона 45 градусов, вертикальное положение. ПМУ представляет собой секционную мачту с креплением на верхней площадке антенного оборудования 9 непосредственно или с поворотным редуктором. Поднятие может осуществляться любым методом, например с помощью применения падающей стрелы 6 посредством натяжения каната 7 лебедкой 8. В рабочем положении мачта фиксируется оттяжками.

[11]

Предлагаемое ПМУ работает следующим образом. Монтаж антенного крупногабаритного оборудования производится на плоскости А при горизонтальном положении ПМУ (фиг. 1). Оборудование монтируется на плоскость А, когда она находится на высоте до 0,5 м от уровня фундамента основания 1, без применения высотных работ.

[12]

При последующем подъеме ствола мачты 3 до вертикального положения, что показано на фиг. 2, положение плоскости А остается горизонтальным за весь период подъема.

[13]

Горизонтальное положение плоскости А обеспечивается перемещением подвижных сторон параллелограмма 4, закрепленных шарнирно к основанию 1 и площадке 2.

[14]

Благодаря горизонтальному положению плоскости А крупногабаритное антенное оборудование не касается земли, мачты, оттяжек за весь период монтажа и подъема.

[15]

Данный способ монтажа и установки ПМУ с шарнирным параллелограммом исключает высотные работы и применение крановых работ.

[16]

Источники информации

[17]

1. Патент РФ №2469445, 10.12.2012 г.

Как компенсировать расходы
на инновационную разработку
Похожие патенты