патент
№ RU 2578729
МПК H01P1/26

СВЧ-АТТЕНЮАТОР

Авторы:
Андросов Александр Владимирович Власюк Марина Николаевна Петров Сергей Александрович
Все (4)
Номер заявки
2014154068/28
Дата подачи заявки
29.12.2014
Опубликовано
27.03.2016
Страна
RU
Как управлять
интеллектуальной собственностью
Чертежи 
5
Реферат

Использование: для использования аттенюатор с фиксированным затуханием при измерениях в волноводных трактах с высоким уровнем мощности. Сущность изобретения заключается в том, что СВЧ-аттенюатор содержит металлический прямоугольный волновод, поглотитель и экран, при этом волновод выполнен с высотой b узкой стенки и шириной а широкой стенки, в котором образованы два сопряженных друг с другом идентичных плавных перехода длиной L переменной высоты, уменьшающейся до b, поглощающая поверхность каждого перехода совмещена с поглощающей поверхностью поглотителя шириной s, расположенной на одной из широких стенок волновода, а отражающая поверхность перехода расположена на противоположной широкой стенке, при условии s<a, α=arctg((b-b)/L), где α - угол наклона перехода. Технический результат: обеспечение возможности уменьшения КСВН и неравномерности коэффициента передачи в полосе частот волновода, плавного изменения электрической прочности и настройки затухания в небольших пределах при конструктивном и технологическом упрощении. 2 з.п. ф-лы, 6 ил.

Формула изобретения

1. СВЧ-аттенюатор, содержащий металлический прямоугольный волновод, поглотитель и экран, отличающийся тем, что волновод выполнен с высотой b узкой стенки и шириной а широкой стенки, в котором образованы два сопряженных друг с другом идентичных плавных перехода длиной L переменной высоты, уменьшающейся до b2, поглощающая поверхность каждого перехода совмещена с поглощающей поверхностью поглотителя шириной s, расположенной на одной из широких стенок волновода, а отражающая поверхность перехода расположена на противоположной широкой стенке, при условии s<a, α=arctg((b-b2)/L), где α - угол наклона перехода.

2. СВЧ-аттенюатор по п. 1, отличающийся тем, что поглощающая поверхность поглотителя выполнена в виде прямоугольника, причем его ширина s находится в пределах 0.6а≤s≤0.7а.

3. СВЧ-аттенюатор по п. 1, отличающийся тем, что все стенки одного из плавных переходов металлизированы.

Описание

[1]

Изобретение относится к технике СВЧ и может быть использовано как аттенюатор с фиксированным затуханием при измерениях в волноводных трактах с высоким уровнем мощности.

[2]

Известны фиксированные поглощающие аттенюаторы [1] для волноводов с объемным поглощающим сопротивлением. Аттенюатор представляет отрезок волноводной трубы с фланцами, внутри которой установлено поглощающее сопротивление.

[3]

Недостатками их конструкции являются:

[4]

- сложная форма поглотителя, требующая для своего изготовления не менее сложную оправку, что приводит к увеличению затрат на ее производство;

[5]

- наличие клеевых или воздушных зазоров между поглотителем и волноводом, увеличивающих переходное тепловое сопротивление;

[6]

- неуказанные электрические характеристики: КСВН и неравномерность коэффициента передачи в диапазоне частот волновода.

[7]

Наиболее близким к заявленному техническому решению является волноводный аттенюатор [2], принятый за прототип, содержащий отрезок прямоугольного волновода и объемное поглощающее сопротивление, отличающийся тем, что объемное поглощающее сопротивление выполнено в виде основной прямоугольной призмы, плоскость основания которой сопряжена с плоскостью одной из широких стенок прямоугольного волновода, ширина основания равна ширине прямоугольного волновода, а высота меньше высоты прямоугольного волновода, при этом основная призма хотя бы с одной из сторон, параллельной поперечному сечению прямоугольного волновода, сопряжена с согласующим элементом в виде дополнительной прямоугольной призмы, конструктивно объединенным с основной призмой и выполненным из материала основной призмы, при этом плоскость основания дополнительной призмы совпадает с плоскостью сопряжения основной призмы с волноводом, ширина основания равна ширине прямоугольного волновода, а высота дополнительной призмы меньше высоты основной призмы.

[8]

Недостатками данной конструкции являются:

[9]

- технологические сложности при изготовлении профиля поглотителя;

[10]

- необходимость дополнительной обработки поглотителя при настройке на фиксированное затухание.

[11]

Техническим результатом заявляемого СВЧ-аттенюатора является уменьшение КСВН и неравномерности коэффициента передачи в полосе частот волновода, плавное изменение электрической прочности, а также возможность настройки затухания в небольших пределах при конструктивном и технологическом упрощении.

[12]

Технический результат достигается тем, что СВЧ-аттенюатор содержит металлический прямоугольный волновод, поглотитель и экран. Волновод выполнен с высотой b узкой стенки и шириной а широкой стенки, в котором образованы два сопряженных друг с другом идентичных плавных перехода длиной L переменной высоты, уменьшающейся до b2. Поглощающая поверхность каждого перехода совмещена с поглощающей поверхностью поглотителя шириной s, расположенной на одной из широких стенок волновода, а отражающая поверхность перехода расположена на противоположной широкой стенке, при условии s<a, α=arctg((b-b2)/L), где α угол наклона перехода. Поглощающая поверхность поглотителя может быть выполнена в виде прямоугольника, причем его ширина s находится в пределах 0.6а≤s≤0.7а.

[13]

Для уменьшения КСВН все стенки одного из плавных переходов могут быть металлизированы, но при этом длина топологии аттенюатора увеличится вдвое.

[14]

Два идентичных плавных перехода позволяют плавно изменять электрическую прочность аттенюатора и упростить его изготовление.

[15]

Высота b2 плавных переходов определяет начальное затухание аттенюатора до настройки.

[16]

При настройке затухания фрезеруют место сопряжения плавных переходов, увеличивая высоту b2, что позволяет уменьшить начальное затухание до требуемого.

[17]

Угол наклона α=arctg((b-b2)/L) перехода влияет на КСВН аттенюатора. Для получения КСВН<1.1 угол α может находиться в пределах 0°≤α≤6°. При α=0° наклонная поверхность перехода становится плоской, а сам переход вырождается в прямоугольный волновод.

[18]

Для простоты изготовления поглощающая поверхность перехода расположена на плоской широкой стенке волновода и совмещена с поглощающей поверхностью поглотителя, что позволяет использовать поглотитель простой формы: прямоугольный параллелограмм, и выбирать ширину s поглотителя без жесткой привязки к ширине а широкой стенки волновода.

[19]

Для получения минимальной неравномерности коэффициента передачи и равномерного распределения СВЧ-энергии в объеме поглотителя ширина s поглощающей поверхности поглотителя должна находиться в пределах 0.6а≤s≤0.7а в зависимости от параметров материала поглотителя: диэлектрической проницаемости ε и тангенса угла диэлектрических потерь tgδ.

[20]

Предлагаемая конструкция СВЧ-аттенюатора поясняется чертежами.

[21]

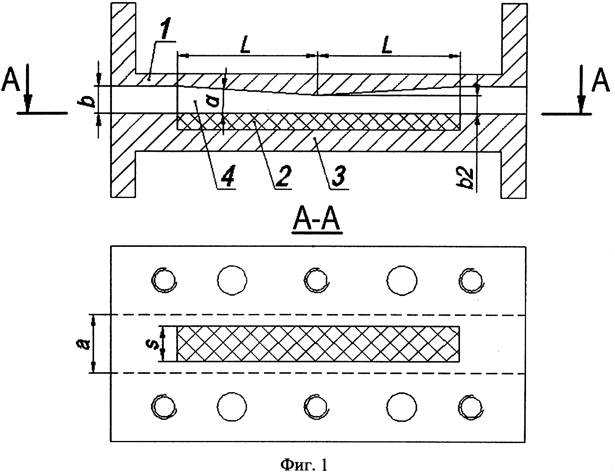
На фиг. 1 представлена конструкция предлагаемого СВЧ-аттенюатора, где: металлический волновод - 1, поглотитель - 2, экран - 3, плавный переход - 4.

[22]

На фиг. 2 представлена конструкция предлагаемого СВЧ-аттенюатора по п. 3.

[23]

На фиг. 3 представлены оптимизированные топологии 10 дБ СВЧ-аттенюаторов с фиксированной длиной поглотителя: а - конструкция фиг. 1, б - конструкция фиг. 2.

[24]

На фиг. 4 представлены графики КСВН в диапазоне частот 26-40 ГГц для топологий фиг. 3.

[25]

На фиг. 5 представлены графики коэффициента передачи S21 в диапазоне частот 26-40 ГГц для топологий фиг. 3.

[26]

На фиг. 6 представлены зависимости коэффициента передачи S21 от высоты b2 плавного перехода на частоте 35 ГГц для топологий фиг. 3.

[27]

Пример

[28]

Волновод 1 выполнен из меди прямоугольным. Корпус волновода 1 выполнен из двух частей, разделенных по широкой стенке и соединенных винтами. Высота узкой стенки b=3.4 мм, ширина широкой стенки а=7.2 мм. В корпусе выполнены два сопряженных друг с другом идентичных плавных перехода 4. Каждый плавный переход 4 имеет длину L=17 мм, высота уменьшается до b2=2.26 мм, а угол наклона α≈3.8°. На плоской широкой стенке перехода расположен поглотитель 2 так, что его поглощающая поверхность совмещена с плоскостью широкой стенки. Поглотитель 2 выполнен в форме прямоугольного параллелограмма из корундо-титанатной керамической пластины КТ-30 длиной 2L=34 мм и высотой 2 мм. Ширина поглощающей поверхности поглотителя 2 s=4.5 мм. Поглотитель 2 помещен в экран 3, выполненный из меди, и закреплен в нем электропроводным клеем или пайкой. Пример соответствует топологии фиг. 3а.

[29]

Предлагаемый СВЧ-аттенюатор работает следующим образом.

[30]

Электромагнитная волна, распространяясь в прямоугольном волноводе 1, попадает в канал первого плавного перехода 4 переменной высоты. Падая на поглощающую поверхность поглотителя 2, электромагнитная волна затухает, преобразуясь в тепловую энергию, которая отводится через экран 3 на систему охлаждения. Непоглощенная часть энергии электромагнитной волны попадает в канал второго плавного перехода 4 переменной высоты, где процесс ее поглощения и преобразования в тепловую энергию с отводом тепла происходит так же, как и в первом переходе 4.

[31]

Возможность реализации предлагаемого изобретения проверена расчетным путем на топологиях СВЧ-аттенюаторов, представленных на фиг. 3, с фиксированной длиной L и шириной s поглотителя.

[32]

Графики КСВН (фиг. 4) топологий СВЧ-аттенюаторов показывают, что конструкция фиг. 3б имеет лучшее согласование (КСВН<1,02) по сравнению с конструкцией фиг. 3а, но достигается этот результат вдвое большей длиной топологии аттенюатора. Однако увеличение длины аттенюатора может оказаться удобным для монтажа габаритной системы охлаждения.

[33]

Графики коэффициента передачи S21 (фиг. 5) топологий СВЧ-аттенюаторов показывают низкий уровень его неравномерности (ΔS21=0,15…0,2 дБ) в полосе частот волновода, что говорит о широкополосности аттенюатора.

[34]

Графики зависимости коэффициента передачи S21 от высоты b2 плавного перехода на частоте 35 ГГц (фиг. 6) показывают возможность настройки S21 в диапазоне более 10 дБ.

[35]

Экспериментальные 10-дБ СВЧ-аттенюаторы с волноводным каналом [7.2×3.4] общей длиной 5 см, у которых в качестве поглотителя использовалась корундо-титанатная керамическая пластина КТ-30 высотой 2 мм, позволили получить КСВН менее 1,1.

[36]

Применяя поглотители, выполненные из других поглощающих материалов, и корректируя ширину s поглощающей поверхности поглотителя и высоту перехода b2, можно использовать СВЧ-аттенюатор на низкий, средний и высокий уровни мощности.

[37]

Источники информации

[38]

1. И.П. Бушминский. Изготовление элементов конструкций СВЧ. Волноводы и волноводные устройства. - М.: Высшая школа, 1974 г., с. 182, рис. 3.6.

[39]

2. Заявка №2012147432/08 РФ, МПК Н01Р 1/26. Волноводный аттенюатор. - Заявл. 07.11.12; опубл. 20.05.14, Бюл. №14.

Как компенсировать расходы
на инновационную разработку
Похожие патенты