патент
№ RU 2353828
МПК F15B15/16

ГИДРОЦИЛИНДР

Авторы:
Аухадиев Альфред Лукманович
Номер заявки
2007143575/06
Дата подачи заявки
27.11.2007
Опубликовано
27.04.2009
Страна
RU
Как управлять
интеллектуальной собственностью
Чертежи 
3
Реферат

Изобретение относится к гидроцилиндрам возвратно-поступательного типа и может быть использовано в летательных аппаратах, например в механизмах управления створками, опорами шасси. Гидроцилиндр состоит из неподвижного наружного корпуса, внутри которого выполнена полость для подачи рабочей жидкости, по меньшей мере, одного телескопического гидроцилиндра, внутри которого также выполнена полость для подачи рабочей жидкости, являющегося поршнем для неподвижного наружного корпуса, поршня, штуцеров для подачи и отвода рабочей жидкости и приводного гидравлического устройства. Устройство подвода рабочей жидкости в полости гидроцилиндра выполнено в виде шарнирно соединенных между собой посредством полых подвижных и неподвижных осей звеньев, в которых выполнены внутренние каналы для подачи рабочей жидкости, при этом неподвижные оси расположены в нижней части неподвижного наружного корпуса и телескопического гидроцилиндра. Полости неподвижных осей гидравлически связаны с полостями для подачи рабочей жидкости. Технический результат - повышение надежности. 4 ил.

Формула изобретения

Гидроцилиндр, состоящий из неподвижного наружного корпуса, внутри которого выполнена полость для подачи рабочей жидкости, по меньшей мере, одного телескопического гидроцилиндра, внутри которого также выполнена полость для подачи рабочей жидкости, являющегося поршнем для неподвижного наружного корпуса, поршня, штуцеров для подачи и отвода рабочей жидкости и приводного гидравлического устройства, отличающийся тем, что приводное гидравлическое устройство выполнено в виде шарнирно соединенных между собой посредством полых подвижных и неподвижных осей звеньев, в которых выполнены внутренние каналы для подачи рабочей жидкости, при этом неподвижные оси расположены в нижней части неподвижного наружного корпуса и телескопического гидроцилиндра, а их полости гидравлически связаны с полостями для подачи рабочей жидкости.

Описание

[1]

Настоящее изобретение относится к гидроцилиндрам возвратно-поступательного типа и может быть использовано в летательных аппаратах, например в механизмах управления створками, опорами шасси.

[2]

Известен гидроцилиндр, состоящий из неподвижного наружного корпуса, внутри которого выполнена полость для подачи рабочей жидкости, по меньшей мере, одного телескопического гидроцилиндра, внутри которого также выполнена полость для подачи рабочей жидкости, являющегося поршнем для неподвижного наружного корпуса, поршня, штуцеров для подачи и отвода рабочей жидкости и приводного гидравлического устройства (патент КНР №2799990 от 26.07.06 г., МПК F16J 10/00).

[3]

Недостатком известного гидроцилиндра является использование для осуществления обратного хода поршней гибких рукавов, которые имеют значительные габариты и массу, а также ограниченный срок службы.

[4]

Технической задачей изобретения является повышение надежности гидроцилиндра, уменьшение габаритов и снижение его массы, а также увеличение срока его службы.

[5]

Поставленная задача решается тем, что в гидроцилиндре, состоящем из неподвижного наружного корпуса, внутри которого выполнена полость для подачи рабочей жидкости, по меньшей мере, одного телескопического гидроцилиндра, внутри которого также выполнена полость для подачи рабочей жидкости, являющегося поршнем для неподвижного наружного корпуса, поршня, штуцеров для подачи и отвода рабочей жидкости и приводного гидравлического устройства, приводное гидравлическое устройство выполнено в виде шарнирно соединенных между собой посредством полых подвижных и неподвижных осей звеньев, в которых выполнены внутренние каналы для подачи рабочей жидкости, при этом неподвижные оси расположены в нижней части неподвижного наружного корпуса и телескопического гидроцилиндра, а их полости гидравлически связаны с полостями для подачи рабочей жидкости.

[6]

Изобретение иллюстрируется чертежами.

[7]

На фиг. 1 представлен общий вид гидроцилиндра.

[8]

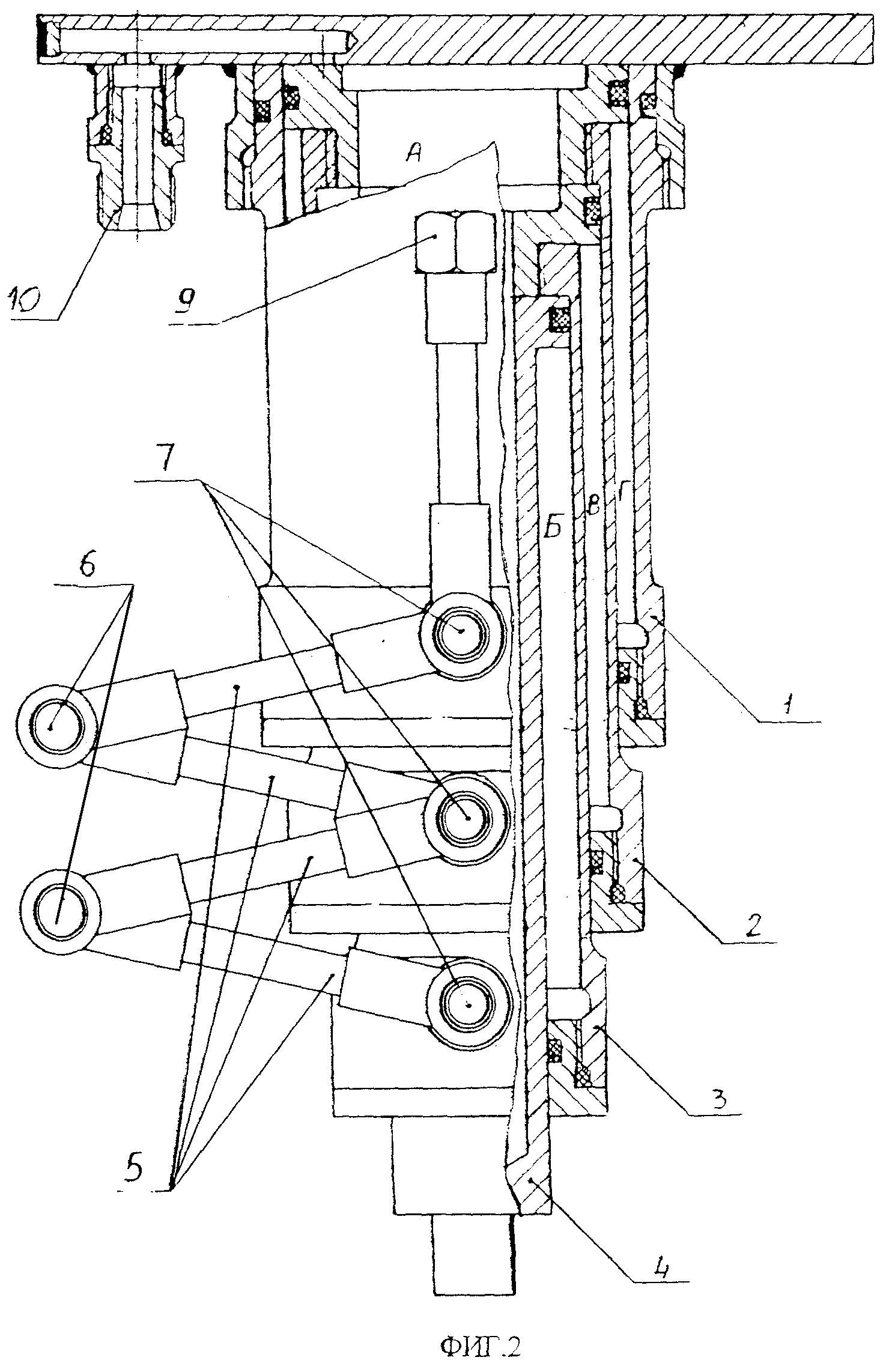
На фиг 2 показан гидроцилиндр в сложенном положении.

[9]

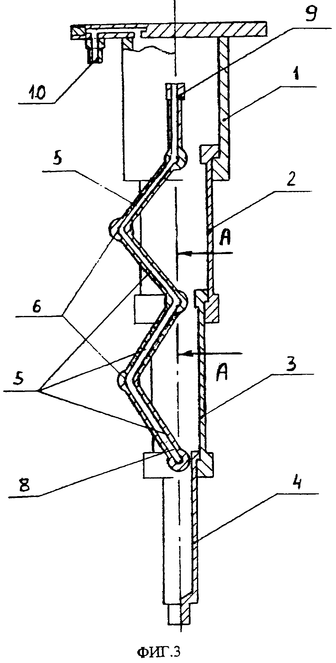
На фиг.3 - гидроцилиндр в развернутом положении.

[10]

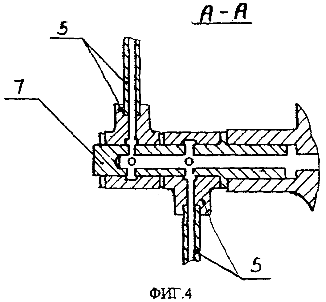
На фиг.4 показано сечение А-А фиг.3.

[11]

Гидроцилиндр состоит из неподвижного наружного корпуса 1, среднего телескопического цилиндра 2 и внутреннего телескопического цилиндра 3, каждый из которых является поршнем для неподвижного корпуса, и среднего цилиндра, соответственно. Гидроцилиндр также содержит поршень 4 и приводное гидравлическое устройство 5. Приводное гидравлическое устройство 5 состоит из шарнирно соединенных между собой посредством полых подвижных 6 и неподвижных 7 осей звеньев, в которых выполнены внутренние каналы для подачи рабочей жидкости. Неподвижные оси 7 расположены в нижней части неподвижного наружного корпуса 1 и телескопического гидроцилиндра 2, а их полости гидравлически связаны с полостями для подачи рабочей жидкости.

[12]

Для подачи рабочей жидкости предусмотрен штуцер 9. Слив рабочей жидкости осуществляется через штуцер 10. В неподвижном наружном корпусе 1 выполнена полость А для подачи рабочей жидкости. В среднем и внутреннем телескопических гидроцилиндрах выполнены полости Б, В и Г для подачи рабочей жидкости, которые гидравлически связаны с внутренними каналами 8.

[13]

Гидроцилиндр работает следующим образом.

[14]

Для выпуска поршней рабочая жидкость под давлением подается через штуцер 9 неподвижного наружного корпуса 1 в полость А. Под давлением рабочей жидкости средний телескопический гидроцилиндр 2, внутренний телескопический гидроцилиндр 3 и поршень 4 выдвигаются. Одновременно шарнирные звенья 5, поворачиваясь вокруг своих осей 6 и 7, следуют за телескопическими гидроцилиндрами 2, 3 и поршнем 4. Рабочая жидкость из полостей Б, В и Г по полостям осей 6 и 7 через полые шарнирные звенья 5 и штуцер 10 неподвижного наружного корпуса поступает на слив.

[15]

Для возврата поршней в исходное положение рабочая жидкость под давлением подается через штуцер 10 неподвижного корпуса, шарнирные звенья 5 и каналы осей 6, 7 в нижние полости поршней. При этом шарнирные звенья 5, пропуская рабочую жидкость под давлением в полости Б, В, Г и поворачиваясь вокруг своих осей, складываются, и рабочая жидкость из полости А через штуцер 10 неподвижного корпуса поступает на слив.

[16]

Изобретение позволяет повысить надежность гидроцилиндра за счет использования металлических шарнирных звеньев для возврата поршней, уменьшить габариты и массу его ввиду отказа от гибких рукавов.

Как компенсировать расходы
на инновационную разработку
Похожие патенты