патент
№ RU 2679004
МПК E21B33/03

УСТРОЙСТВО ДЛЯ ОПРЕССОВКИ ПРЕВЕНТОРА В СКВАЖИНЕ

Авторы:
Вафин Ильдус Закеевич
Номер заявки
2018110997
Дата подачи заявки
27.03.2018
Опубликовано
05.02.2019
Страна
RU
Как управлять
интеллектуальной собственностью
Чертежи 
1
Реферат

Изобретение относится к нефтедобывающей промышленности и предназначено для опрессовки превентора на скважине. Устройство для опрессовки превентора на скважине включает опорную трубу, проходящую через корпус превентора и выполненную с конической с наружной резьбой, куда завернута муфта. Также устройство включает две резиновые манжеты с шайбой между ними и с опорной и зажимной тарелками, заглушку с внутренней резьбой, установленный в опорной трубе шток, предназначенный для сжатия резиновых манжет. На верхнем торце зажимной тарелки имеется цилиндрическая выборка. Новым является то, что шток выполнен из трубы, имеющей на верхнем конце наружную коническую резьбу, а на нижнем - наружную цилиндрическую резьбу. При этом на коническую резьбу штока завернута двухступенчатая втулка с внутренней конической резьбой на нижнем конце. Нижняя часть этой втулки с малым диаметром расположена с возможностью поворота в цилиндрической выборке, выполненной на верхней части муфты, завернутой в опорную трубу. Опорная тарелка расположена сверху резиновых манжет и посажена прессовой посадкой на опорную трубу. Зажимная тарелка расположена снизу резиновых манжет и выполнена с внутренней резьбой, куда завернута нижняя резьбовая часть штока. Верхний торец зажимной тарелки выполнен плоским. Опорная труба выполнена с возможностью входа нижнего конца в цилиндрическую выборку зажимной тарелки при увеличении резиновых манжет в диаметре. Заглушка завернута в цилиндрическую резьбу штока. На шайбе, опорной и зажимной тарелке выполнены сквозные отверстия. В отверстия опорной и зажимной тарелок запрессованы штифты, выполненные с острыми коническими выступами на одном конце. В отверстие шайбы запрессован штифт, выполненный с острым коническим выступом на обеих концах. При этом острые конические выступы штифтов входят в слой резиновых манжет. В предложенном устройстве упрощается конструкция. 4 ил.

Формула изобретения

Устройство для опрессовки превентора на скважине, включающее опорную трубу, проходящую через корпус превентора и выполненную с конической наружной резьбой, куда завернута муфта, две резиновые манжеты с шайбой между ними и с опорной и зажимной тарелками, заглушку с внутренней резьбой, установленный в опорной трубе шток, предназначенный для сжатия резиновых манжет, причем на верхнем торце зажимной тарелки имеется цилиндрическая выборка, отличающееся тем, что шток выполнен из трубы, имеющей на верхнем конце наружную коническую резьбу, а на нижнем - наружную цилиндрическую резьбу, при этом на коническую резьбу штока завернута двухступенчатая втулка с внутренней конической резьбой на нижнем конце, причем нижняя часть этой втулки с малым диаметром расположена с возможностью поворота в цилиндрической выборке, выполненной на верхней части муфты, завернутой в опорную трубу, причем опорная тарелка расположена сверху резиновых манжет и посажена прессовой посадкой на опорную трубу, а зажимная тарелка расположена снизу резиновых манжет и выполнена с внутренней резьбой, куда завернута нижняя резьбовая часть штока, причем верхний торец зажимной тарелки выполнен плоским, а опорная труба выполнена с возможностью входа нижнего конца в цилиндрическую выборку зажимной тарелки при увеличении резиновых манжет в диаметре, причем заглушка завернута в цилиндрическую резьбу штока, причем на шайбе, опорной и зажимной тарелке выполнены сквозные отверстия, причем в отверстия опорной и зажимной тарелок запрессованы штифты, выполненные с острыми коническими выступами на одном конце, а в отверстие шайбы запрессован штифт, выполненный с острым коническим выступом на обеих концах, при этом острые конические выступы штифтов входят в слой резиновых манжет.

Описание

[1]

Изобретение относится к нефтедобывающей промышленности и предназначено для опрессовки превентора на скважине.

[2]

Известен превентор (Патент RU 2264528, МПК Е21В 33/06, опубл. 20.11.2005), который содержит корпус с осевым каналом для прохода труб с технологическим оборудованием в скважину, плашки трубные с поршневым гидроприводом, смонтированным на боковых крышках, и плашки глухие с поршневым гидроприводом, смонтированным на боковых крышках, гидроцилиндры, соединенные попарно каналами сообщения для подачи рабочей жидкости. Каждый канал сообщения гидроцилиндра с линией нагнетания рабочей жидкости снабжен отсечным клапаном. Часть отсечного клапана расположена в корпусе, а часть - в боковой крышке. При сомкнутом положении корпуса с боковой крышкой перепускной клапан находится в положении "открыто", а при демонтаже боковой крышки для замены плашек перепускной клапан имеет возможность перекрытия канала сообщения гидроцилиндра с линией нагнетания рабочей жидкости для обеспечения герметичности системы гидропривода, при которой рабочая жидкость из полости гидроцилиндров не вытекает. В конструкции известного превентора не предусмотрено опрессовка его в скважине.

[3]

Наиболее близким к предлагаемому является устройство для опрессовки превентора на скважине, описанное в патенте RU 2364701, МПК Е21В 33/03, опубл. 20.08.2009, и включающее опорную трубу, проходящую через корпус превентора, и выполненную с конической наружной резьбой, куда завернута муфта, две резиновые манжеты с шайбой между ними, и с опорной и зажимной тарелками, заглушку с внутренней резьбой, установленный в опорной трубе шток, предназначенный для сжатия резиновых манжет, причем на верхнем торце зажимной тарелки имеется цилиндрическая выборка. Недостаток прототипа состоит в том, что он имеет сложную конструкцию. При опрессовке превентора усилие для сжатия резиновых манжет передается при повороте болта, завернутого на гайку, которая неподвижно завернута на муфту опорной трубы. Болт взаимодействует на шток, который перемещает вниз толкатель, расположенный в выборке зажимной тарелки. При этом толкатель проходит через продольный сквозной паз опорной трубы. При перемещении вниз зажимная тарелка давит сверху на резиновые манжеты и увеличивает их в диаметре для изоляции нижней части ствола скважины. Выполнение продольного сквозного паза на длинной опорной трубе и толкателя прямоугольного сечения, а также наличие толкателя, болта и гайки усложняют конструкцию прототипа.

[4]

Задачей заявляемого технического решения является упрощение конструкции. Поставленная техническая задача решается тем, что в устройстве для опрессовки превентора, включающем опорную трубу, проходящую через корпус превентора, и выполненную с конической наружной резьбой, куда завернута муфта, две резиновые манжеты с шайбой между ними, и с опорной и зажимной тарелками, заглушку с внутренней резьбой, установленный в опорной трубе шток, предназначенный для сжатия резиновых манжет, причем на верхнем торце зажимной тарелки имеется цилиндрическая выборка, новым является то, что шток выполнен из трубы, имеющего на верхнем конце наружную коническую резьбу, а на нижнем - наружную цилиндрическую резьбу, при этом на коническую резьбу штока завернута двухступенчатая втулка с внутренней конической резьбой на нижнем конце, причем нижняя часть этой втулки с малым диаметром расположена с возможностью поворота в цилиндрической выборке, выполненной на верхней части муфты, завернутой в опорную трубу, причем опорная тарелка расположена сверху резиновых манжет и посажена прессовой посадкой на опорную трубу, а зажимная тарелка расположена снизу резиновых манжет и выполнена с внутренней резьбой, куда завернута нижняя резьбовая часть штока, причем верхний торец зажимной тарелки выполнен плоским, а опорная труба выполнена с возможностью входа нижнего конца в цилиндрическую выборку зажимной тарелки при увеличении резиновых манжет в диаметре, причем заглушка завернута в цилиндрическую резьбу штока, причем на шайбе, опорной и зажимной тарелке выполнены сквозные отверстия, причем в отверстия опорной и зажимной тарелок запрессованы штифты, выполненные с острыми коническими выступами на одном конце, а в отверстие шайбы запрессован штифт, выполненный с острым коническим выступом на обеих концах, при этом острые конические выступы штифтов входят в слой резиновых манжет.

[5]

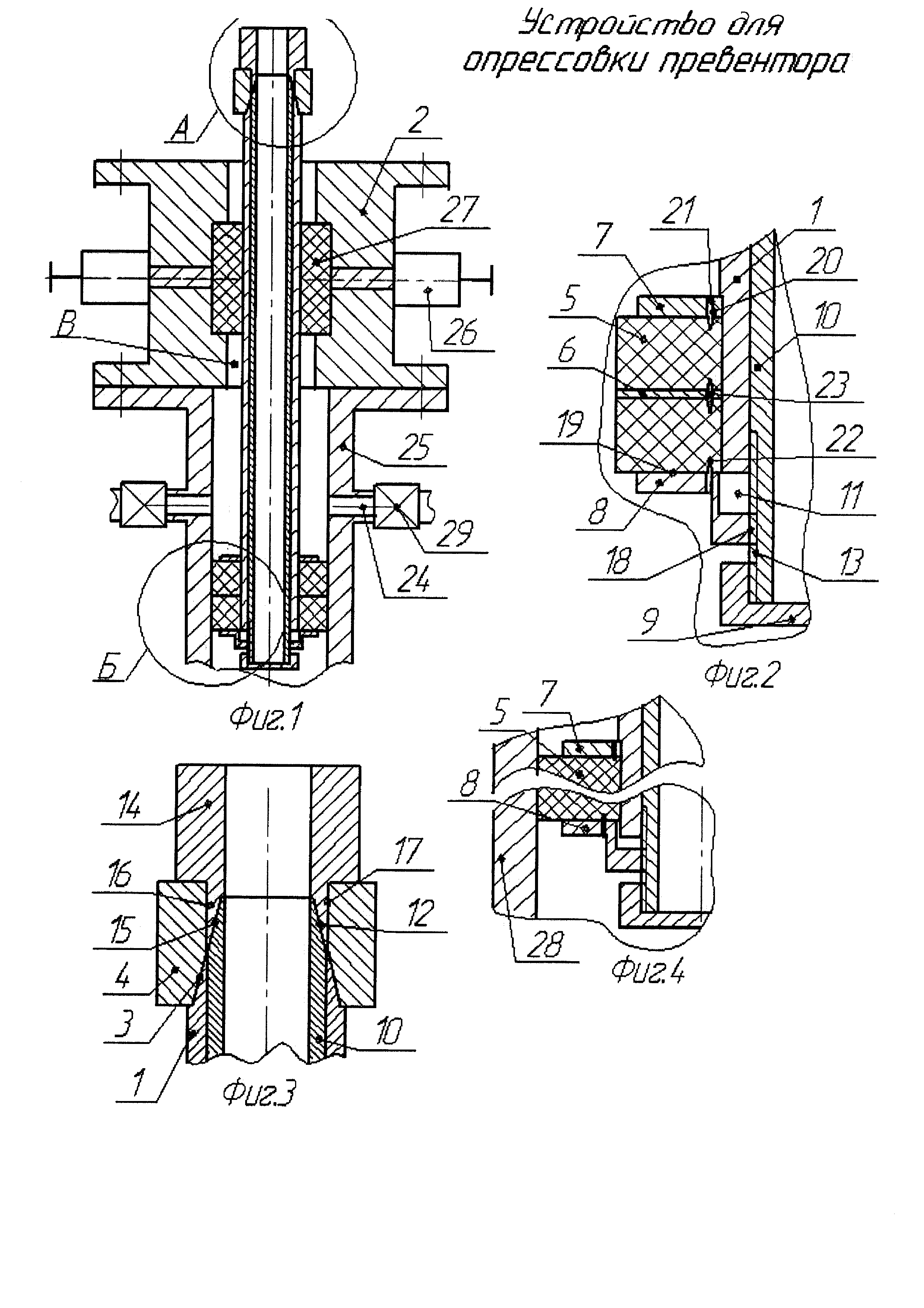
Сущность заявляемого технического решения поясняется фигурами. На фиг. 1 изображено устройство для опрессовки превентора на скважине в разрезе; на фиг. 2 изображен вид Б фиг. 1; на фиг. 3 - вид А фиг. 1; на фиг. 4 - вид Б фиг. 1, поясняющий принцип работы устройства. Устройство для опрессовки превентора на скважине включает опорную трубу 1, проходящую через корпус превентора 2, и выполненную с конической наружной резьбой 3, куда завернута муфта 4. Также устройство включает две резиновые манжеты 5 с шайбой 6 между ними, и с опорной 7 и зажимной 8 тарелками, заглушку 9 с внутренней резьбой, установленный в опорной трубе 1 шток 10, предназначенный для сжатия резиновых манжет 5. На верхнем торце зажимной тарелки 8 имеется цилиндрическая выборка 11. Шток 10 выполнен из трубы, имеющего на верхнем конце наружную коническую резьбу 12, а на нижнем - наружную цилиндрическую резьбу 13. При выполнении штока из трубы снижается его металлоемкость. На коническую резьбу 12 штока завернута двухступенчатая втулка 14 с внутренней конической резьбой 15 на нижнем конце. Нижняя часть 16 этой втулки с малым диаметром расположена с возможностью поворота в цилиндрической выборке 17, выполненной на верхней части муфты 4, завернутой в опорную трубу 1. Опорная тарелка 7 расположена сверху резиновых манжет 5 и посажена прессовой посадкой на опорную трубу 1. Зажимная тарелка 8 расположена снизу резиновых манжет 5 и выполнена с внутренней резьбой 18, куда завернута нижняя резьбовая часть штока 10. Верхний торец 19 зажимной тарелки 8 выполнен плоским, чтобы этот торец плотно прилегал к торцу нижней резиновой манжеты 5. Опорная труба 1 выполнена с возможностью входа нижнего конца в цилиндрическую выборку 11 зажимной тарелки 8 при увеличении резиновых манжет в диаметре. Для этого длина опорной трубы 1 выбрана такой, чтобы нижний торец этой трубы 1 находился в плоскости, проходящей по нижнему торцу нижней резиновой манжеты 5. Заглушка 9 завернута в цилиндрическую резьбу 13 штока 10. На шайбе 6, опорной тарелке 7 и зажимной тарелке 8 выполнены сквозные отверстия 20. В отверстия 20 опорной и зажимной тарелок запрессованы штифты 21, выполненные с острыми коническими выступами 22 на одном конце. В отверстие 20 шайбы 6 запрессован штифт 23, выполненный с острым коническим выступом 22 на обеих концах. При этом острые конические выступы 22 штифтов 21 и 23 входят в слой резиновых манжет 5.

[6]

Устройство для опрессовки превентора на скважине работает следующим образом. Устройство спускают вниз через корпус превентора 2 до расположения резиновых манжет 5 под патрубки 24 колонной головки 25. Приводом 26 двигают плашки 27 превентора друг к другу. Они герметично обжимают опорную трубу 1. Далее за втулку 14 поворачивают шток 10 по часовой стрелки. При этом зажимная тарелка 8, связанная своей резьбой 18 с резьбой 13 штока 10, поднимается вверх относительно опорной трубы 1. При подъеме вверх зажимная тарелка 8 не поворачивается, так как она коническими выступами 22 штифтов 21 и 23 через нижний и верхний резиновые манжеты 5 соединена с неподвижной, посаженной прессовой посадкой на опорную трубу 1, опорной тарелкой 7. При подъеме зажимной тарелки 8 нижний конец опорной трубы 1 входит в цилиндрическую выборку 11 этой тарелки 8, а резиновые манжеты 5 увеличиваются в диаметре и герметичного перекрывает кольцевое пространство между стенкой трубы 28 обсадной колонны и этими манжетами 5. Приводом 26 двигают плашки 27 превентора в сторону друг от друга и полость корпуса превентора над резиновыми манжетами 5 заполняют технологическую жидкость. После этого плашки 27 превентора двигают друг к другу. Через патрубок 24 колонной головки 25, открыв задвижку 29, от насосного агрегата в плоскость В превентора 2 подают под давлением технологическую жидкость для опрессовки. Таким образом определяют герметичность превентора на скважине.

[7]

В предложенном устройстве, по сравнению с прототипом, на деталях незначительных размеров - шайбе, опорной и зажимной тарелке просверлены отверстия, куда запрессованы штифты. На концах штока нарезана резьба, куда завернута втулка, зажимная тарелка и заглушка. Однако в предложенном устройстве отсутствуют: продольный сквозной паз на длинной опорной трубе, болт, гайка и толкатель прямоугольного сечения (не тело вращения). Из сравнительного анализа вытекает, что в предложенном устройстве упрощается конструкция.

[8]

Перечень использованной информации

[9]

1. Патент RU 2264528, МПК Е21В 33/06, опубл. 20.11.2005.

[10]

2. Патент RU 2364701, МПК Е21В 33/03, опубл. 20.08.2009.

Как компенсировать расходы
на инновационную разработку
Похожие патенты