патент
№ RU 2605797
МПК B64C13/36

ГИДРАВЛИЧЕСКАЯ СИСТЕМА ЛЕТАТЕЛЬНОГО АППАРАТА

Авторы:
Шестаков Сергей Александрович Дергачёв Александр Анатольевич Ефремов Герберт Александрович
Все (5)
Номер заявки
2015137557/11
Дата подачи заявки
03.09.2015
Опубликовано
27.12.2016
Страна
RU
Как управлять
интеллектуальной собственностью
Чертежи 
2
Реферат

Изобретение относится к ракетной и авиационной технике и может найти применение в конструкциях гидросистем, реализующих несколько режимов управления. Гидравлическая система летательного аппарата содержит электроприводной насос (7) с регулируемой подачей, исполнительный двигатель (8), представленный в виде гидроцилиндров с поступательными движениями поршней, магистраль (10), соединяющую исполнительный двигатель (8) с электроприводным насосом (7). Система снабжена гидравлическим баком (1), внутри которого установлен с возможностью продольного перемещения поршень с подпружиненными демпферами, разделяющий гидравлический бак (1) на высоконапорную и низконапорную полости. Вход электроприводного насоса (7) соединен с низконапорной полостью гидравлического бака, а выход его соединен с высоконапорной полостью гидравлического бака и с входом в исполнительный двигатель (8), при этом электроприводной насос (7) и исполнительный двигатель (8) соединены с системой управления ракеты (12). Технический результат: уменьшение суммарного тепловыделения, габаритов и массы путем потребного увеличения мощности гидравлической системы в периоды программных маневров летательного аппарата с гидравлическим баком. 2 ил.

Формула изобретения

Гидравлическая система летательного аппарата, содержащая электроприводной насос с регулируемой подачей, исполнительный двигатель, представленный в виде гидроцилиндров с поступательными движениями поршней, магистраль, соединяющую исполнительный двигатель с электроприводным насосом, отличающаяся тем, что система снабжена гидравлическим баком, внутри которого установлен с возможностью продольного перемещения поршень с подпружиненными демпферами, разделяющий гидравлический бак на высоконапорную и низконапорную полости, вход электроприводного насоса соединен с низконапорной полостью гидравлического бака, а выход его соединен с высоконапорной полостью гидравлического бака и с входом в исполнительный двигатель, при этом электроприводной насос и исполнительный двигатель соединены с системой управления ракеты.

Описание

[1]

Изобретение относится к ракетной и авиационной технике и может найти преимущественное применение в конструкциях гидросистем, реализующих несколько режимов управления, например, в гиперзвуковых ракетах.

[2]

Известна гидросистема (см. Д.П. Попов «Механика гидро- и пневмоприводов», издательство МГТУ им. Баумана, 2002 г., стр. 18, рис. 1.2), которая имеет насос с регулируемой подачей, исполнительный двигатель, представленный в виде гидроцилиндров с поступательными движениями поршней, магистраль, соединяющую исполнительный двигатель с электроприводным насосом. Данная система реализует однорежимный тип управления. Однако для реализации нескольких режимов управления полета, отличающихся по потребной мощности в несколько раз в начале полета и на маршевом участке траектории в плотных слоях атмосферы, данную систему использовать нецелесообразно. В связи с тем что объем гидравлического аккумулятора ограничен, для обеспечения увеличения мощности гидросистемы в несколько раз приходится увеличивать располагаемую мощность гидронасоса, что приводит к увеличению массы и габаритов гидросистемы, а также увеличивает тепловыделение и объем рабочей жидкости.

[3]

Целью настоящего изобретения является уменьшение суммарного тепловыделения, габаритов и массы путем потребного увеличения мощности гидравлической системы в периоды программных маневров летательного аппарата с гидравлическим баком.

[4]

Указанная цель достигается тем, что гидравлическая система летательного аппарата содержит электроприводной насос с регулируемой подачей, исполнительный двигатель, представленный в виде гидроцилиндров с поступательными движениями поршней, магистраль, соединяющую исполнительный двигатель с электроприводным насосом. Гидравлическая система снабжена гидравлическим баком, внутри которого установлен с возможностью продольного перемещения поршень с подпружиненными демпферами, разделяющий гидравлический бак на высоконапорную и низконапорную полости. Вход электроприводного насоса соединен с низконапорной полостью гидравлического бака, а выход его соединен с высоконапорной полостью гидравлического бака и с входом в исполнительный двигатель (рулевыми агрегатами), при этом электроприводной насос и исполнительный двигатель соединены с системой управления (СУ) ракеты.

[5]

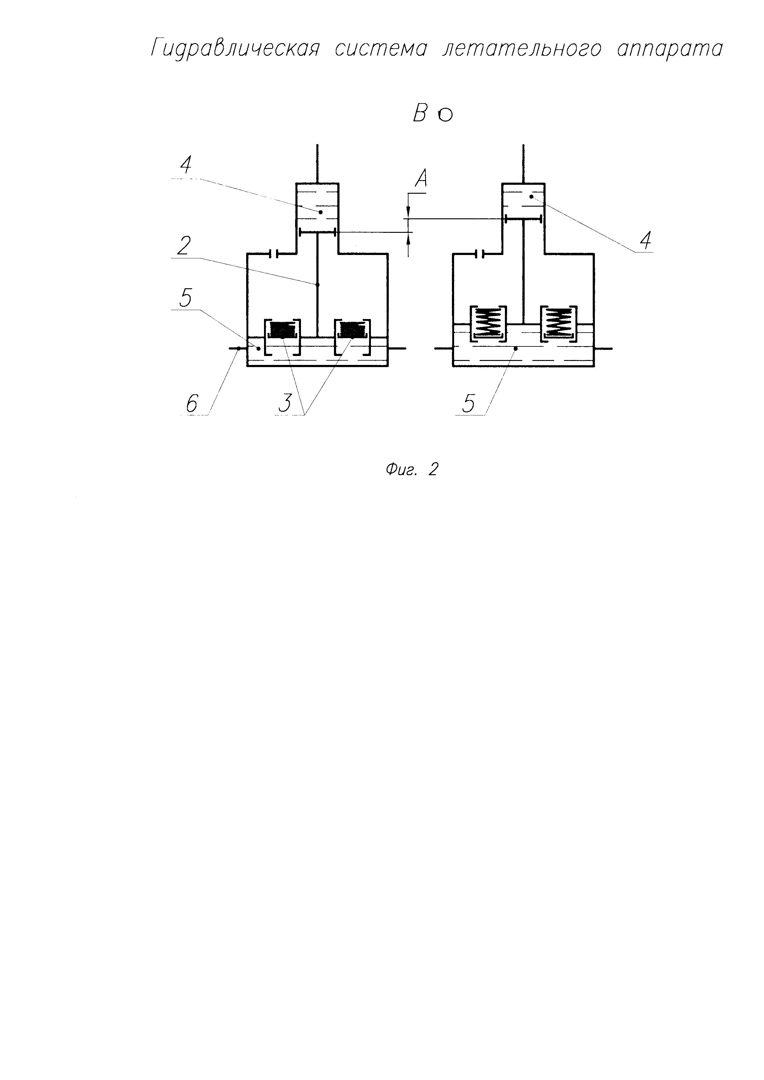
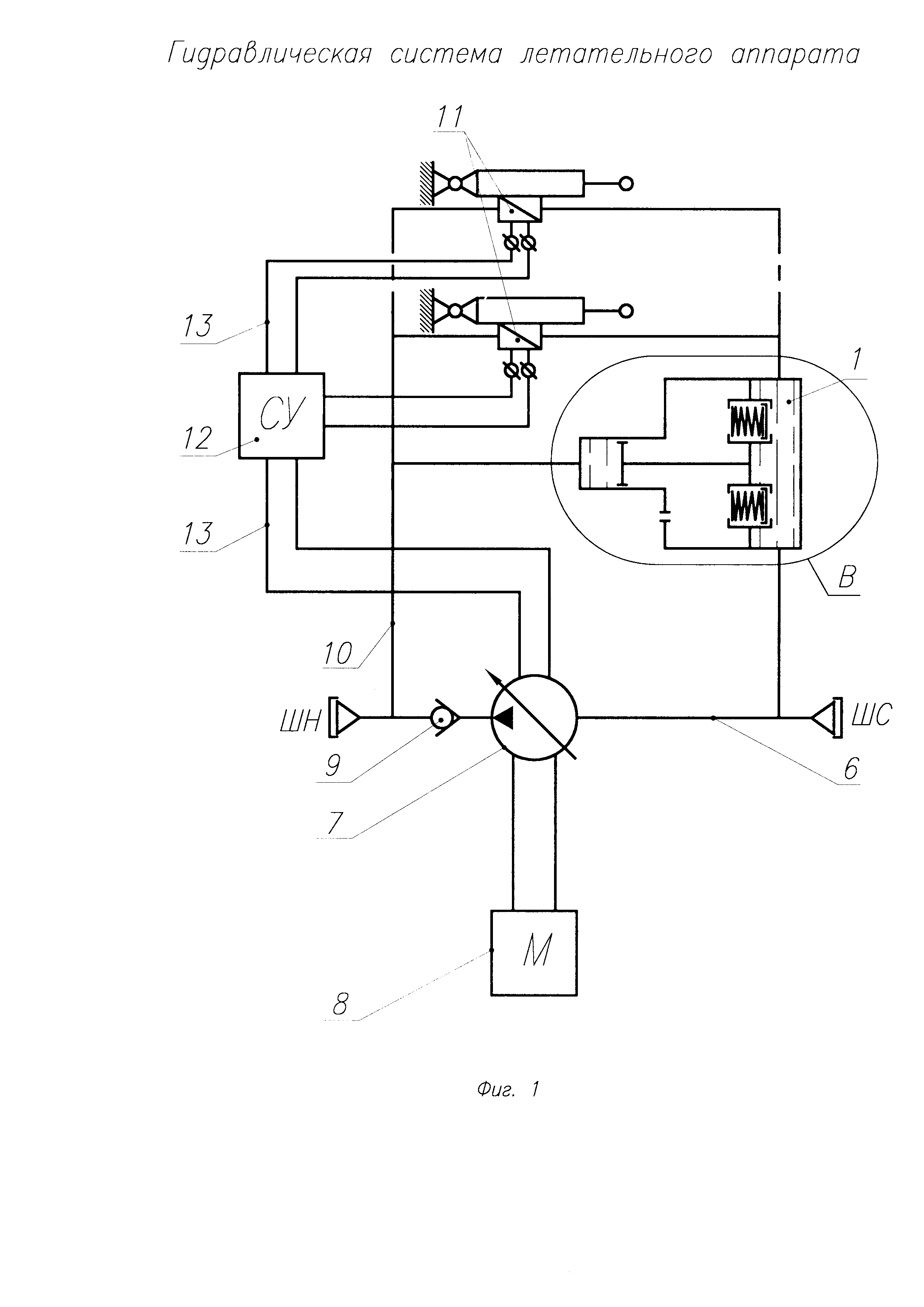
Изобретение поясняется чертежами, где на фиг. 1 изображена схема гидравлической системы летательного аппарата, на фиг. 2 изображен фрагмент системы в процессе работы: слева показан фрагмент гидравлической системы в установившемся первом режиме работы, справа - фрагмент гидравлической системы во втором режиме - режиме гидроаккумулятора за счет вытесненной рабочей жидкости из высоконапорной полости.

[6]

На фиг. 1-4 указаны позиции в следующем порядке:

[7]

1 - гидравлический бак;

[8]

2 - дифференциальный поршень;

[9]

3 - демпфер;

[10]

4 - высоконапорная полость;

[11]

5 - низконапорная полость;

[12]

6 - трубопровод;

[13]

7 - электроприводной гидронасос;

[14]

8 - приводной электродвигатель;

[15]

9 - обратный клапан;

[16]

10 - напорная магистраль;

[17]

11 - рулевые агрегаты;

[18]

12 - система управления;

[19]

13 - электрический кабель.

[20]

Гидравлическая система летательного аппарата содержит гидравлический бак 1, разделенный дифференциальным поршнем 2 с подпружиненными демпферами 3 на высоконапорную 4 и низконапорную 5 полости, соединенный трубопроводом 6 с двухрежимным электроприводным гидронасосом 7. Выход гидронасоса 7 соединен через обратный клапан 9 с напорной магистралью 10 и далее с рулевыми агрегатами 11. При этом гидронасос 7 и рулевые агрегаты 11 связаны с системой управления 12 летательного аппарата при помощи электрических кабелей 13.

[21]

Работа гидравлической системы происходит следующим образом.

[22]

На первом режиме работы запускается электроприводной гидронасос 7. Рабочая жидкость через обратный клапан 9 по напорной магистрали 10 поступает в рулевые агрегаты 11 и одновременно в высоконапорную полость 4 гидравлического бака 1, создавая через поршень 2 давление, необходимое для нормальной бескавитационной работы гидронасоса 7. При этом полости подпружиненных демпферов 3, размещенных в дифференциальном поршне 2, заполняются рабочей жидкостью и гидравлическая система работает в режиме минимальной мощности системы, соответствующей расходу утечек через рулевые агрегаты 11.

[23]

Для обеспечения стабилизации летательного аппарата гидравлическая система работает на втором режиме с максимальной мощностью. Система управления 12 через электрические кабели 13 выдает команду на подачу через обратный клапан 9 рабочей жидкости по трубопроводу 6 в высоконапорную полость 4 гидравлического бака 1 и в рулевые агрегаты 11, воспринимающие в это время большие аэродинамические нагрузки. При этом обратный клапан 9 закрывает выход гидронасоса 7, снижая мощность, потребляемую электродвигателем 8.

[24]

При окончании работы на втором режиме гидронасос 7 постепенно останавливается и поток рабочей жидкости поступает к рулевым агрегатам 11 при работе гидравлической системы с потреблением обычного режима мощности. При возникновении в гидравлической системе пиковых расходов (на любых режимах) давление в напорной магистрали 10 снижается и под действием перепада давлений, определяемого соотношением площадей, подпружиненные демпферы 3 разряжаются. Дифференциальный поршень 2 перемещается на величину А, вытесняя, как гидроаккумулятор, недостающий объем рабочей жидкости.

[25]

Таким образом, предложенное техническое решение позволило реализовать гидравлическую систему с уменьшенным суммарным тепловыделением и уменьшить габариты и массу путем потребного увеличения мощности гидравлической системы в периоды программных маневров летательного аппарата.

Как компенсировать расходы
на инновационную разработку
Похожие патенты