патент
№ RU 2676030
МПК G06Q30/00

АВТОМАТИЗИРОВАННАЯ СИСТЕМА УПРАВЛЕНИЯ РАЗВИТИЕМ УСТРОЙСТВ САМООБСЛУЖИВАНИЯ

Авторы:
Липанчиков Виталий Сергеевич
Номер заявки
2017142546
Дата подачи заявки
06.12.2017
Опубликовано
25.12.2018
Страна
RU
Как управлять
интеллектуальной собственностью
Чертежи 
3
Реферат

Изобретение относится к информационным системам обработки цифровых информационных потоков. Технический результат заключается в расширении арсенала средств того же назначения. Автоматизированная система управления сетью устройств самообслуживания (УС), содержащая модули обработки данных, включает модуль планирования, осуществляющий обработку данных УС для автоматизированного генерирования бизнес-планов развития сети УС и контроль выполнения бизнес-планов, модуль геомоделирования сети УС, обеспечивающий обработку данных и анализ географических местоположений для размещений УС, модуль аудита, модуль управления активами, модуль формирования отчетности, модуль администрирования, выполняющий обработку процессов доступа к системе, модуль управления закупками УС, осуществляющий обработку информации по договорам поставщиков, модуль ведения ключевых показателей эффективности (КПЭ), осуществляющий ведение реестра КПЭ, формирование на основании показателей КПЭ матрицы КПЭ для отчетных периодов, отслеживание достижения КПЭ, модуль управления справочниками, осуществляющий реализацию механизма защиты целостности данных. 5 з.п. ф-лы, 4 ил.

Формула изобретения

1. Автоматизированная система управления сетью устройств самообслуживания (УС), содержащая модули обработки данных, которые включают в себя:

- модуль планирования, осуществляющий обработку данных УС для автоматизированного генерирования бизнес-планов развития сети УС и контроль выполнения бизнес-планов;

- модуль геомоделирования сети УС, обеспечивающий обработку данных и анализ географических местоположений для размещений УС, а также выполненный с возможностью отображения на цифровой карте информации об УС, включающей по меньшей мере данные месторасположения УС и идентифицирующую информацию УС;

- модуль аудита, выполняющий мониторинг действий пользователя системы и ведения на основании фиксируемой информации системного журнала;

- модуль управления активами, осуществляющий формирование заявок на выполнение работ и контроль их исполнения, контроль эксплуатации и сопровождения УС, мониторинг состояния активов;

- модуль формирования отчетности, обеспечивающий генерирование отчетов на основании шаблонов отчетов и обеспечивающий функционал по настройке структуры формирующих отчетов;

- модуль администрирования, выполняющий обработку процессов доступа к системе, в частности политик доступа пользователей системы и параметров системы;

- модуль управления закупками УС, осуществляющий обработку информации по договорам поставщиков, данных, относящихся к закупке УС, контроль исполнения поставок УС;

- модуль ведения ключевых показателей эффективности (КПЭ), осуществляющий ведение реестра КПЭ, формирование на основании показателей КПЭ матрицы КПЭ для отчетных периодов, отслеживание достижения КПЭ;

- модуль управления справочниками, осуществляющий реализацию механизма защиты целостности данных.

2. Система по п. 1, характеризующаяся тем, что модуль планирования дополнительно осуществляет в онлайн режиме контроль расходования бюджета при реализации бизнес-планов на основании данных эксплуатации УС.

3. Система по п. 2, характеризующаяся тем, что модуль планирования выполнен с возможностью в реальном времени отслеживать и классифицировать расходы, а также вычислять общую стоимость владения.

4. Система по п. 1, характеризующаяся тем, что модули располагаются в едином вычислительном устройстве и объединены единой шиной.

5. Система по п. 1, характеризующаяся тем, что по меньшей мере два модуля располагаются на различных вычислительных устройствах и объединены между собой каналами передачи данных.

6. Система по любому из пп. 4, 5, характеризующаяся тем, что вычислительное устройство представляет собой персональный компьютер, сервер или мейнфрейм.

Описание

[1]

ОБЛАСТЬ ТЕХНИКИ

[2]

[1] Заявленное техническое решение, в общем, относится к информационным системам, предназначенным для обработки цифровых информационных потоков, в частности к системе автоматизированного управления развитием устройств самообслуживания (УС).

[3]

УРОВЕНЬ ТЕХНИКИ

[4]

[2] В настоящее время управление жизненным циклом парка технических устройств является актуальной и трудоемкой задачей, что обуславливается множеством информационных потоков, которые необходимо обрабатывать в кратчайшие сроки для своевременного принятия управленческих решений и полноценного функционирования технических объектов. Автоматизация обработки такого рода процессов является первостепенной задачей для централизованного автоматизированного администрирования входящей информации и сокращения времени для осуществления необходимых действий.

[5]

[3] Из уровня техники известно техническое решение компании SmartServiceDesk (http://smartservicedesk.ru). которое направлено на управление ИТ-инфраструктурой, содержащей множество технических объектов, их активами и т.п. Недостатками данного решения является недостаточное функциональное обеспечение системы, которое лишено ряда необходимых функций для полноценного сопровождения и управления жизненным циклом таких объектов как УС, например, банкоматы или терминалы для выполнения финансовых транзакций.

[6]

[4] Также из уровня техники известна система мониторинга сети банкоматов компании Inline (http://in-line.ru/solutions/it/monitoring_atm/). которая обеспечивает мониторинг бизнес-процессов в канале банкоматов и реагирование на возникновение проблем технического характера, например, разрывы связи, поломки и т.п.

[7]

[5] Данная система также имеет достаточно ограниченный функционал, который не позволяет обеспечить широкий спектр обработки информационных потоков для управления жизненным циклом банкомата.

[8]

РАСКРЫТИЕ ИЗОБРЕТЕНИЯ

[9]

[6] Для решения существующих технических проблем в данной области, предлагается реализация автоматизированной системы для управления развитием УС, обладающей широким функционалом, обеспечивающим автоматизированную обработку множества данных по управлению и развитию сети УС.

[10]

[7] Техническим результатом является реализация многофункциональной автоматизированной системы, обеспечивающей повышение эффективности управления сетью УС.

[11]

[8] Дополнительным техническим результатом, достигающимся при реализации технического решения, является повышение оперативности учета УС, позволяющее отслеживать развитие сети УС.

[12]

[9] Дополнительно при осуществлении системы достигаются следующие преимущества:

[13]

сокращается срок простоя УС на складе с момента поставки до момента ввода УС в эксплуатацию;

[14]

сокращается срок подключения и ввода УС в эксплуатацию с момента установки УС на место эксплуатации;

[15]

повышается эффективность сети УС;

[16]

осуществляется перераспределение УС в зависимости от транзакционной нагрузки;

[17]

повышается качество парка УС за счет своевременного списания УС, не соответствующих требованиям.

[18]

[10] Заявленная автоматизированная система управления развитием УС содержит объединенные единой информационной шиной модули обработки данных, которые включают в себя:

[19]

модуль планирования, осуществляющий обработку данных УС для автоматизированного генерирования бизнес-планов развития сети УС;

[20]

модуль геомоделирования сети УС, обеспечивающий обработку данных и анализ географических местоположений для размещений УС;

[21]

модуль аудита, выполняющий мониторинг действий пользователя системы и ведения на основании фиксируемой информации системного журнала;

[22]

модуль управления активами, осуществляющий формирование заявок на выполнение работ и контролю их исполнения, контроль эксплуатации и сопровождения УС, мониторинг состояния активов;

[23]

модуль формирования отчетности, обеспечивающий генерирование отчетов на основании шаблонов отчетов и обеспечивающий функционал по настройке структуры формирующих отчетов;

[24]

модуль администрирования, выполняющий обработку процессов доступа к системе, в частности политик доступа пользователей системы и параметров системы;

[25]

модуль управления закупками УС, осуществляющий обработку информации по договорам поставщиков, данных, относящихся к закупке УС, контроль исполнения поставок УС;

[26]

модуль ведения ключевых показателей эффективности (КПЭ), осуществляющий ведение реестра КПЭ, формирование на основании показателей КПЭ матрицы КПЭ для отчетных периодов, отслеживание достижения КПЭ;

[27]

модуль управления справочниками, осуществляющий реализацию механизма защиты целостности данных.

[28]

[11] В частном примере осуществления модуль планирования дополнительно осуществляет в онлайн режиме контроль расходования бюджета при реализации бизнес-планов на основании данных эксплуатации УС.

[29]

[12] В частном примере осуществления модуль планирования выполнен с возможностью в реальном времени отслеживать и классифицировать расходы, а также вычислять общую стоимость владения.

[30]

[13] В частном примере осуществления модули располагаются в едином вычислительном устройстве и объединены единой шиной.

[31]

[14] В частном примере осуществления по меньшей мере два модуля располагаются на различных вычислительных устройствах и объединены между собой каналами передачи данных.

[32]

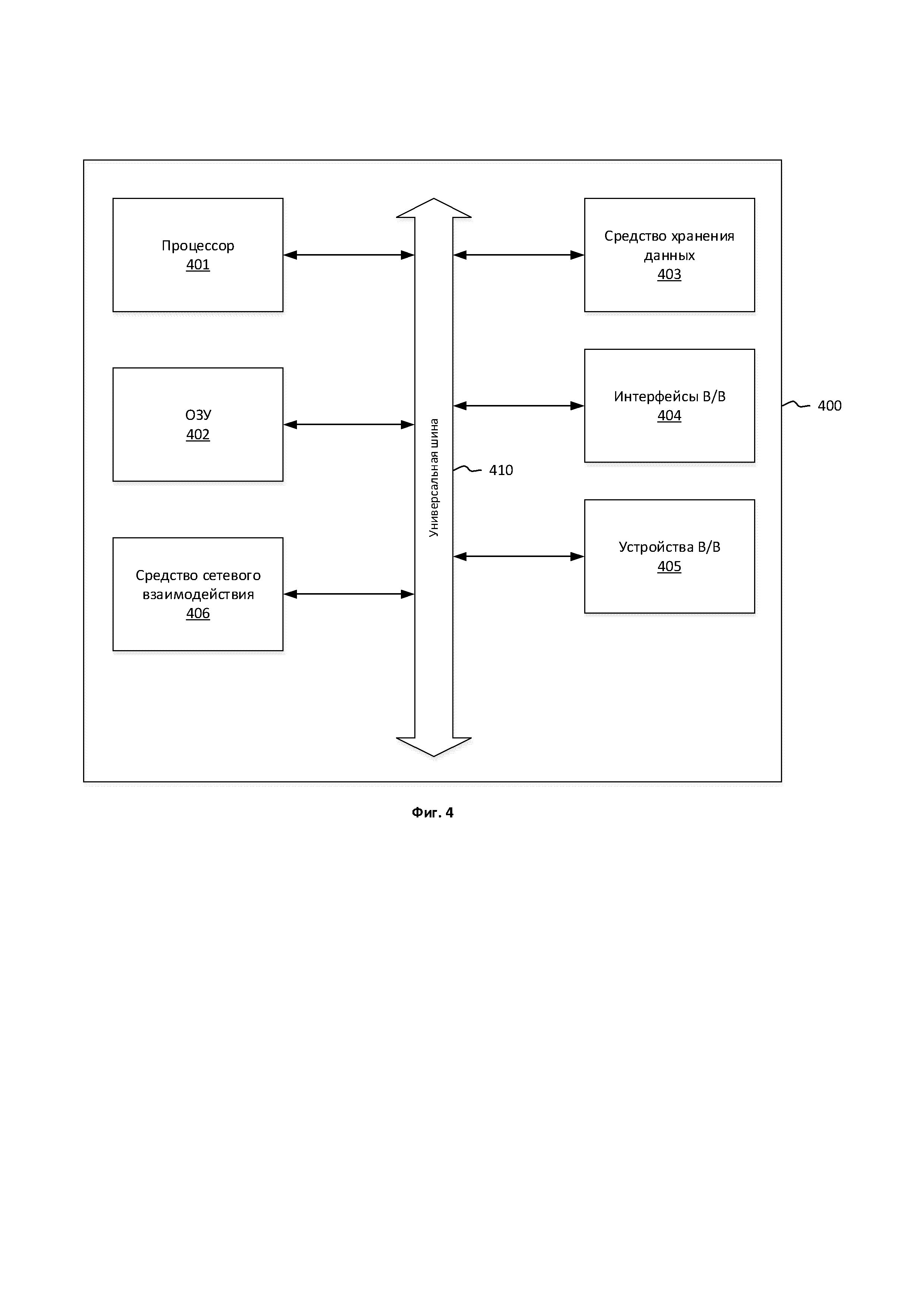
[15] В частном примере осуществления вычислительное устройство представляет собой персональный компьютер, сервер или мейнфрейм.

[33]

КРАТКОЕ ОПИСАНИЕ ЧЕРТЕЖЕЙ

[34]

[16] Фиг. 1 иллюстрирует общую схему заявленной системы.

[35]

[17] Фиг. 2 иллюстрирует систему при взаимодействии с пользователями системы и УС.

[36]

[18] Фиг. 3 иллюстрирует пример отображения УС на карте.

[37]

[19] Фиг. 4 иллюстрирует аппаратную платформу для реализации заявленной системы.

[38]

ПОДРОБНОЕ ОПИСАНИЕ ТЕХНИЧЕСКОГО РЕШЕНИЯ

[39]

[20] Ниже будут описаны термины и понятия, необходимые для осуществления настоящего технического решения.

[40]

[21] Данное техническое решение может быть реализовано на компьютере, в виде автоматизированной системы (АС) или машиночитаемого носителя.

[41]

[22] Техническое решение может быть реализовано в виде распределенной компьютерной системы.

[42]

[23] В данном решении под системой подразумевается компьютерная система, ЭВМ (электронно-вычислительная машина), ЧПУ (числовое программное управление), ПЛК (программируемый логический контроллер), компьютеризированная система управления и любые другие устройства, способные выполнять заданную, четко определенную последовательность вычислительных операций (действий, инструкций).

[43]

[24] Под устройством обработки команд подразумевается электронный блок либо интегральная схема (микропроцессор), исполняющая машинные инструкции (программы).

[44]

[25] Устройство обработки команд считывает и выполняет машинные инструкции (программы) с одного или более устройства хранения данных. В роли устройства хранения данных могут выступать, но, не ограничиваясь, жесткие диски (HDD), флеш-память, ПЗУ (постоянное запоминающее устройство), твердотельные накопители (SSD), оптические приводы.

[45]

[26] Программа - последовательность инструкций, предназначенных для исполнения устройством управления вычислительной машины или устройством обработки команд.

[46]

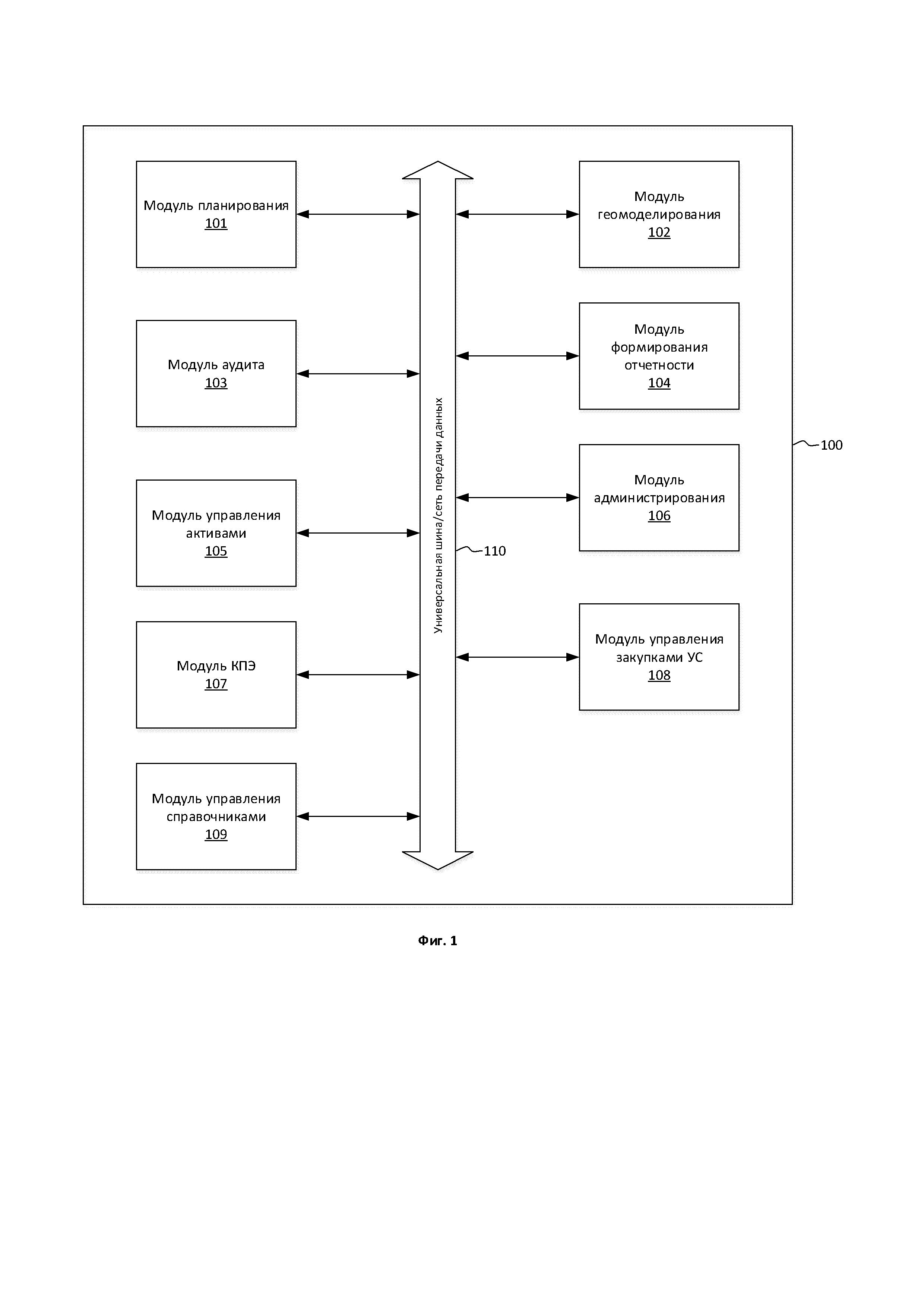
[27] На Фиг. 1 представлен общий вид заявленной системы (100). Система (100) принимает потоки информации, которые генерируются пользователями (200), а также получает отклик от УС (300) (Фиг. 2). Информация, поступающая в систему (100) распределяется по соответствующим модулям, ответственным за их обработку в автоматизированном режиме. Система (100) содержит набор из взаимосвязанных модулей обработки данных.

[47]

[28] Модуль (101) планирования предназначен для обработки данных на основе поступающих информационных потоков от пользователей (200) и УС (300). Модуль (101) может обеспечивать в онлайн режиме контроль расходования бюджета при реализации бизнес-планов на основании данных эксплуатации УС, которые формируются пользователями (200) на основании информации по управлению существующим парком УС (300) или при прогнозировании введения в эксплуатацию новых УС (300). Функционал модуля (101) позволяет в реальном времени отслеживать и классифицировать расходы, прогнозировать финансовые показатели, а также вычислять общую стоимость владения УС (300), а также генерировать на основе данной информации бизнес-планы развития сети УС (300) и передачи данной информации в модули системы (100) для последующей обработки. В некоторых вариантах осуществления технического решения модуль (101) осуществляет контроль исполнения бизнес-плана развития сети УС. Модуль (101), например, может определять эффективность УС за предыдущий месяц или за 6 месяцев на основании заранее заданных требований к эффективности УС или порогового значения. Например, если итоговая фактическая транзакционная нагрузка УС больше 10000 в месяц, то данное устройство эффективно. В зависимости от порогового значения могут вводить численные показатели эффективности, которые могут быть проранжированы. В случае неэффективности данного УС модуль (101) направляет об этом информацию в систему (100) и/или формирует план развития и повышения эффективности УС.

[48]

[29] Информация, обработанная в модуле (101), может далее использоваться в модуле (108) управления закупками УС. Модуль (108) осуществляет обработку информации по договорам поставщиков, данных, относящихся к закупке УС, а также осуществляет контроль исполнения поставок УС. Информация, как было указано выше, для модуля (108) может обеспечиваться входными потоками данных, обработанных модулем (101), в частности данными, сформированными в рамках сгенерированного бизнес-плана, например, УС (300) подлежащие закупке, данные по договорам поставки, ответственный лица, временной диапазон реализации бизнес-плана и т.п.

[49]

[30] При поступлении в модуль (108) информации по договору поставки, система (100) генерирует контрольную информацию для его исполнения в рамках, указанных в бизнес-плане модуля (101), а также дополнительные сопутствующие данные для его реализации.

[50]

[31] Связь данных между модулями (101) и (108) выполняется на базе идентификаторов, формирующих необходимые данные для осуществления поставки оборудования. К таким параметрам, в частности, относятся идентификаторы договора, формируемые системой (100), с помощью функционала генерирования и обработки заказов.

[51]

[32] Модуль (108) позволяет генерировать автоматические заказы на приобретение продукции и передавать их по каналам передачи информации, например, сети Интернет. Отправка может осуществляться как напрямую поставщику продукции, так и на промежуточный ресурс, например, файловое хранилище или облачный сервер, для обмена документами. Модуль (108) также отслеживает входящие потоки данных, отображающие статус выполнения работ по закупке, поставке и отгрузке товара. При получении изменений в процессе выполнения данных работ соответствующие потоки данных передаются в систему (100) для их оперативного контроля, в частности, в модуль (104) отчетности и модуль (105) управления активами.

[52]

[33] После успешного формирования файла заказа модулем (108), как указывалось выше, может осуществляться его выгрузка на файловый ресурс для дальнейшего обмена с поставщиком данными. Поставщику также может дублироваться сообщение о направлении необходимой информации, например, с помощью e-mail, SMS или PUSH-уведомлений.

[53]

[34] С помощью модуля (108) формируется также план выполнения поставки оборудования, в частности, модели УС, количество УС, необходимой комплектации УС, элементов УС для замены. Для выполнения данной процедуры генерируется также сопутствующая информация, например, идентификаторы договора, заказчика, исполнителя, накладные. Также выполняется автоматизированный расчет стоимости для единиц заказа. С помощью логики модуля (108) может устанавливаться временной диапазон реализации плана, например, месяц, квартал, год и т.п. При формировании плана поставки система (100) может взаимодействовать с внешними ресурсами контрагентов - поставщиков продукции. Вся необходимая информация автоматически подгружается с соответствующих ресурсов (стоимость, идентификационные данные и т.п.). В сформированный план поставки можно в любой момент оперативно внести изменения до момента его одобрения и инициирования к исполнению.

[54]

[35] Как правило, план поставки включает в себя по меньшей мере следующий объем информации:

[55]

- наименование поставщика;

[56]

- № договора;

[57]

- тип заказа;

[58]

- модель УС;

[59]

- тип УС;

[60]

- стоимость УС.

[61]

[36] Модуль (108) также отслеживает активность договора на поставку УС с помощью мониторинга статуса его исполнения и/или его частей, касающихся внедрения УС, либо осуществления работ по его обслуживанию.

[62]

[37] Сгенерированные модулем (108) заказы могут содержать, но не ограничиваться, следующий набор параметров: номер заказа; номер плана; индекс банка; статус заказа; наименование поставщика; номер договора; адрес поставки заказа; сроки поставки и т.п.

[63]

[38] Модуль (102) геомоделирования обеспечивает привязку сети УС (300) к цифровой карте, который может быть, например, Яндекс карты, Google Maps, Атлас Москвы и т.п. Модуль (102) также обеспечивает функционал по анализу территорий, на которых размещение УС (300) является целесообразным на основании ряда метрик, например, наличие УС (300) определенного банка, плотность населения, обращение на информационный портал и т.п.

[64]

[39] Зонам, которые по итогам анализа не являются целесообразными для установки УС (300), присваивается идентификатор, который может принимать численное или символьное значение, и данная информация передается в модуль (105) для фиксации данной информации при дальнейшем анализе мест для расширения сети УС (300). Полученные идентификаторы используются для исключения данных мест при последующих расчетах метрик зон расположения УС (300).

[65]

[40] В некоторых вариантах осуществления модуль (102) геомоделирования обеспечивает привязку к цифровой карте УС (300) на основании данных модуля (101), который осуществляет контроль исполнения бизнес-плана развития сети УС и моделирует наиболее эффективное расположение УС (300).

[66]

[41] Модуль (102) геомоделирования обеспечивает также отображение в привязке к объектам на карте поступающей информации от УС (300), например, возникновение поломки или потери связи с выбранным устройством. При обращении к карте через модуль (102) можно получить данные о выбранном УС (300), например, его модель, техническое состояние и т.п. Модуль (102) обрабатывает информационные потоки в связке с модулем (105) управления активами, который содержит базу данных с реестром парка установленных УС (300).

[67]

[42] При отображении информации об УС (300) на карте, данная информация включает в себя, но не ограничивается, координаты установки УС, точный адрес, модель, статус. Также, с помощью взаимодействия с пиктограммами, отображающими УС (300) на карте, предоставляется доступ к логам (истории) технических работ и сбоев по каждому УС (300).

[68]

[43] Информация, отображающая варианты географического расположения УС (300), передается также в модуль (108) при формировании информации, необходимой для реализации данных (договора) на установку УС (300). На основании передаваемых данных, при формировании плана поставки УС (300) и получении данных о географической точке (координатах и/или адреса) расположения УС (300), модуль (108) получает из системы (100) данные, связанные с указанной областью действия поставщика продукции в геолокации упомянутого места расположения УС (300).

[69]

[44] Модуль (105) обрабатывает также информацию о текущем состоянии УС (300), получаемую напрямую по каналам связи от УС (300), или от пользователей (200). На основании полученной информации модуль (105) обеспечивает:

[70]

- формирование заявок на обслуживание УС (300), например, ремонт, обновление прошивки и т.п.;

[71]

- управление договорами по обслуживанию УС (300), в частности, мониторинг исполнения условий договора и генерирования уведомлений при отклонении от процедуры их исполнения (например, изменение сроков исполнения, неисполнение условий и т.п.);

[72]

- мониторинг статуса выполнения заявок, при котором анализируется отклонение от параметров, указанных в заявке на обслуживание и т.п.

[73]

[45] Модуль (105) также содержит реестр приобретенных УС (300), но еще не введенных в эксплуатацию. С помощью анализа метрик модулем (102) геомоделирования и определения мест расположения УС (300), формируются необходимые данные для осуществления работ по установке УС (300), например, документация (договор, заказ-наряд), информирование подрядчиков и т.п. При взаимодействии с модулем (102) также обеспечивается функционал по получению необходимой информации по УС (300) с привязкой к цифровой карте, в частности, тип устройства, функционал, место установки, эффективность и т.п.

[74]

[46] На Фиг. 3 представлен пример отображения УС (300) на цифровой карте. Отображение данных может осуществляться по информации, идентифицирующей УС (300), например, идентификатор, модель, адрес, район расположения, функционал и т.п. Отображение информации по УС 300) может также осуществляться при активации пиктограммы УС (300) на карте в графическом интерфейсе пользователя.

[75]

[47] При вводе информации в модуль (102) по отображению нескольких УС (300), например, по привязке к филиалу банка или модели в заданном регионе, картографическая информация строится таким образом, чтобы отобразить на карте местонахождение всех релевантных объектов.

[76]

[48] Модуль (102) также позволяет актуализировать координаты расположения УС (300) с помощью взаимодействия с модулем (105), например, по сравнению информации об адресе расположения УС (300).

[77]

[49] На основании обрабатываемых модулем (105) информационных потоков, а также совместно с данными, получаемыми и обрабатываемыми модулем (101), реализуется функция финансового планирования текущих и предстоящих расходов по управлению жизненным циклом парка УС (300). Расходы генерируются исходя из типа оборудования и необходимых работ, осуществляемых с ним. Данная информация в автоматизированном виде предоставляется посредством системы (100) необходимым АРМ пользователей (200).

[78]

[50] По информации, получаемой от УС (300), также анализируется эффективность его использования в текущем месте установки. Данная информация обрабатывается и генерируется модулем (105). В ходе генерирования модулем (105) информации для осуществления работ по установке или обслуживанию УС (300) возможно внесение изменений в данные для корректировки требуемых параметров.

[79]

[51] Модуль (103) аудита предназначен для автоматизированного ведения журнала по изменяющимся потокам данных, получаемым от других модулей. Реестр журнала хранится в памяти модуля (103) и динамически изменяется в ответ на обновление соответствующих данных в модулях (101), (102), (105) и (108).

[80]

[52] Модуль (106) администрирования контролирует доступ к информации пользователями (200) на основании их прав доступа. Логика работы модуля (106) позволяет блокировать предоставление данных, несоответствующих допуску пользователя и осуществлять фиксацию соответствующего события с передачей информации для записи в модуль аудита (103).

[81]

[53] Модуль (106) при доступе к системе (100) пользователей (200) может также генерировать соответствующее отображение графического интерфейса с функционалом, соответствующим уровню доступа пользователя или группы пользователей (200).

[82]

[54] Модуль (106) активирует работу сценария на основании информации, идентифицирующей пользователя системы (100), а также разграничивает доступ к набору модулей в соответствие с выбранным сценарием.

[83]

[55] Как пример, сценарии доступа могут быть следующего вида: системный администратор, технический персонал, аудитор, супервайзер, аналитик и т.д.

[84]

[56] Модуль (107) КПЭ отображает данные о достижении целевых показателей на основании данных жизненного цикла существующих и планируемых к вводу УС (300), а также анализ эффективности УС (300).

[85]

[57] Модуль (109) управления справочниками предназначен для обеспечения целостности данных системы (100). Модуль (109) осуществляет разграничение параметров для их редактирования, в частности, записей, обрабатываемых и формируемых модулями системы (100). В модуле (109) хранится набор справочников, каждый из которых содержит данные для выполнения различных задач, например, критерии зоны установки УС (300), перечень необходимых работ по диагностике УС и т.п.

[86]

[58] Информация, получаемая из модуля (109), используется при работе всех модулей системы (100). Например, при работе с модулем геомоделирования (102) по получению данных об установленных УС (300), по каждому из них дополнительно можно получить данные о возможности вариантов технического обслуживания в зависимости от зоны их расположения. Данная информация формируется на основании данных подрядчиков, осуществляющих функционирование в той или иной зоне обслуживания УС (300).

[87]

[59] Как представлено на Фиг. 2 информация, получаемая/передаваемая системой (100), поступает по каналам передачи данных (150), которые могут представлять проводной или беспроводной тип связи, например, Интернет или Интранет, ЛВС и т.п.

[88]

[60] Модули системы (100) могут располагаться в едином вычислительном устройстве, например, серверном ПК, или выполняться на отдельных вычислительных устройствах и обмениваться данными по различным каналам передачи данных, например, Интернет, Wi-Fi, ЛВС и т.п.

[89]

[61] Жизненный цикл УС формируется на основе множества данных, генерируемых и обрабатываемых с помощью модулей системы (100). Централизованное отслеживание статуса каждого УС (300), в частности, техническое состояние, расположение, эффективность, сопутствующая документация, позволяет осуществлять в кратчайшие сроки необходимые работы по оптимальному управлению парком УС (300). Также, обеспечивается сокращение контроля информационных потоков в части договорной работы, за счет применения модуля (109) управления справочниками, содержащим необходимые типовые шаблоны данных для автоматизированной генерации проектов договоров на основании информации, связанной с УС (300).

[90]

[62] Данной информацией может быть, например, техническая неполадка УС, по которой в системе (100) содержится связанная информация по подрядчику, который будет привлекаться к соответствующей услуге с привязкой к геоположению УС (300) в зоне его установки.

[91]

[63] Дополнительно система (100) может включать модуль генерирования отчетов (не показан), который содержит набор инструментов по автоматическому формированию различного вида отчетов по требуемым набором данных. Управление данным модулем может осуществляться с учетом взаимодействия с модулем (106), на основании выбранного сценария доступа. При этом осуществляется учет функционала таких организаций и фильтрация данных для формирования требуемых заявок соответствующим организациям.

[92]

[64] По каждой организации - поставщику услуг в системе (100) хранится перечень идентификаторов и данные характеристик сферы их деятельности, а также территории оказания услуг, функционала и т.п. Данная информация хранится в модуле (109) и используется при обработке информационных потоков системой (100).

[93]

[65] Информация о парке УС (300) привязана также к территориальным отделениям банка, во владении которых находятся УС (300). Привязка данной идентифицирующей информации учитывается при формировании необходимых данных и документов по управлению жизненным циклом УС (300) с обеспечением последующей автоматизированной обработки связанной информации для поддержки и ввода в эксплуатацию парка устройств, а также мониторинг соблюдения договорных отношений с поставщиками.

[94]

[66] Модуль (105) также может обеспечивать динамический мониторинг парка УС (300) и генерировать рекомендации по повышению эффективности использования УС (300). Расчет данной информации может выполняться по собираемым данным от установленных УС (300), в частности, тип операций, количество выполненных/отказов в осуществлении операций, количество поломок УС и т.п.

[95]

[67] Поддержание жизненного цикла УС (300) возможно также одновременно для нескольких устройств с помощью выбора зоны их установки, например, улицы, района или с помощью цифровой карты модуля (102). Система (100) позволяет автоматически генерировать соответствующую заявку на сервисную поддержку устройств с использованием хранимых в системе (100) идентификаторов поставщиков услуг, связанных с упомянутой областью.

[96]

[68] Информация, генерируемая в ходе работы модулей (101), (105) и (108), связана между собой и проверяется на каждом шаге на предмет ее соответствия для автоматизации процесса управления жизненным циклом УС (300). При формировании первичной заявки на внедрение нового УС (300) в модуле (101) формируется первичный набор данных, в частности, выполняется анализ соответствия процедуре введения УС (300) в бизнес-план, принятый в работу. Далее, при условии наличия предусмотренных работ в плане, проверяется данные модулем (108), который анализирует информацию на соответствие бизнес-плана плана по закупкам.

[97]

[69] В частности, проверяется тип устанавливаемого УС (300), территорию его установки, филиал банка, осуществляющий деятельность на выбранной территории и т.п. При успешной валидации цепочки информации модулем (108) формируется спецификация по закупке УС (300) с генерированием необходимой договорной и сопутствующей документации.

[98]

[70] Модуль (102) при расчете приоритетных мест для расположения УС (300) может использовать данные в привязке к области действия филиала банка. В частности, при выборе конкретного филиала банка или области его расположения, программная логика модуля (102) обрабатывает возможные расположения УС (300) в привязке к строениям и прилежащей к ним территории объектам (жилые дома, торговые площади, станции метрополитена и т.п.).

[99]

[71] Анализ территории расположения УС (300) определяется на основании географических границ населенных пунктов. При запросе информации по определению приоритетных мест установки УС (300) для конкретной географической области, данные при их расчете ранжируются по набору метрик, указанных выше. Каждая метрика содержит весовой коэффициент.

[100]

[72] На Фиг. 4 представлен пример исполнения вычислительного устройства (400) для реализации системы (100) или функционала ее модулей.

[101]

[73] В общем случае устройство (400) содержит такие компоненты, как: один или более процессоров (401), по меньшей мере одну память (402), средство хранения данных (403), интерфейсы ввода/вывода (404), средство В/В (405), средство сетевого взаимодействия (406).

[102]

[74] Процессор (401) устройства выполняет основные вычислительные операции, необходимые для функционирования системы (100) или функционала одного или более модулей. Процессор (401) исполняет необходимые машиночитаемые команды, содержащиеся в оперативной памяти (402).

[103]

[75] Память (402), как правило, выполнена в виде ОЗУ и содержит необходимую программную логику, обеспечивающую требуемый функционал.

[104]

[76] Средство хранения данных (403) может выполняться в виде HDD, SSD дисков, рейд массива, флэш-памяти, оптических накопителей информации (CD, DVD, MD, Blue-Ray дисков) и т.п. Средства (403) позволяют выполнять долгосрочное хранение различного вида информации, например, истории обработки транзакционных запросов (логов), идентификаторов пользователей и т.п.

[105]

[77] Интерфейсы (404) представляют собой стандартные средства для подключения и работы с сервером (400), например, USB, RS232, RJ45, LPT, СОМ, HDMI, PS/2, Lightning, FireWire и т.п.

[106]

[78] Выбор интерфейсов (404) зависит от конкретного исполнения устройства (400), которое может представлять собой персональный компьютер, мейнфрейм, серверный кластер, тонкий клиент, смартфон и т.п.

[107]

[79] В качестве средств В/В данных (405) может использоваться: клавиатура, джойстик, дисплей (сенсорный дисплей), проектор, тачпад, манипулятор мышь, трекбол, световое перо, динамики, микрофон и т.п.

[108]

[80] Средства сетевого взаимодействия (406) выбираются из устройств, обеспечивающий сетевой прием и передачу данных, например, Ethernet карту, WLAN/Wi-Fi модуль, Bluetooth модуль, BLE модуль, NFC модуль, IrDa, RFID модуль, GSM модем и т.п. С помощью средств (405) обеспечивается организация обмена данными между сервером (400) и УС (300) по проводному или беспроводному каналу передачи данных, например, WAN, PAN, ЛВС (LAN), Интранет, Интернет, WLAN, WMAN или GSM.

[109]

[81] Система (100) с помощью централизованного управления потоками информации для мониторинга и управления жизненным циклом УС обеспечивает такие положительные эффекты, как:

[110]

сокращение трудозатрат по обработке множества процессов, ранее осуществляемых в ручном режиме, в частности, документооборот и заявки на выполнения различного рода работ;

[111]

перераспределение ресурсов для выполнения задач обеспечения управления жизненным циклом УС, вводимых в эксплуатацию и управлению текущим парком УС;

[112]

геомаркетинговую информацию относительно территориального размещения УС;

[113]

сокращение времени ввода УС в эксплуатацию, за счет автоматизации процессов подготовки и инициирования необходимых работ;

[114]

повышение общей эффективности сети УС, за счет постоянного контроля эффективности их использования, технического состояния и своевременной замены УС.

[115]

[82] В настоящих материалах заявки было представлено предпочтительное раскрытие осуществление заявленного технического решения, которое не должно использоваться как ограничивающее иные, частные воплощения его реализации, которые не выходят за рамки испрашиваемого объема правовой охраны и являются очевидными для специалистов в соответствующей области техники.

Как компенсировать расходы
на инновационную разработку
Похожие патенты