Изобретение относится к нефтяной промышленности и может быть применено для разработки нефтяных месторождений. Способ включает бурение горизонтального ствола скважины в нефтенасыщенной части продуктивного пласта, спуск обсадной колонны в горизонтальный ствол скважины и цементирование кольцевого пространства между обсадной колонной и горной породой, проведение гидромеханической перфорации во всех интервалах продуктивного пласта, извлечение колонны труб с гидромеханическим перфоратором из скважины, спуск колонны труб с пакером и проведение поинтервального ГРП в направлении от забоя к устью в каждом проперфорированном интервале обсадной колонны с последовательным отсечением каждого интервала. После бурения горизонтального ствола скважины проводят геофизические исследования и определяют толщину и длину нефтенасыщенных интервалов продуктивного пласта, по горизонтальному стволу скважины строят карту нефтенасыщенных интервалов продуктивного пласта с указанием их толщин и длин, затем в нефтенасыщенных интервалах продуктивного пласта производят гидромеханическую перфорацию обсадной колонны, при этом по периметру обсадной колонны в направлении от забоя к устью выполняют пары перфорационных отверстий, расположенных под углом 180° по отношению друг к другу и со смещением на угол 30° при выполнении каждой пары перфорационных отверстий, причем при толщине нефтенасыщенного интервала продуктивного пласта до 10 м выполняют ГРП с применением кислотного геля без крепления трещины, а при толщине нефтенасыщенного интервала продуктивного пласта от 10 до 20 м выполняют ГРП с применением геля на углеводородной основе с
Способ гидравлического разрыва пласта - ГРП в горизонтальном стволе скважины, включающий бурение горизонтального ствола скважины в нефтенасыщенной части продуктивного пласта, спуск обсадной колонны в горизонтальный ствол скважины и цементирование кольцевого пространства между обсадной колонной и горной породой, проведение гидромеханической перфорации во всех интервалах продуктивного пласта, извлечение колонны труб с гидромеханическим перфоратором из скважины, спуск колонны труб с пакером и проведение поинтервального ГРП в направлении от забоя к устью в каждом проперфорированном интервале обсадной колонны с последовательным отсечением каждого интервала, отличающийся тем, что после бурения горизонтального ствола скважины проводят геофизические исследования и определяют толщину и длину нефтенасыщенных интервалов продуктивного пласта, по горизонтальному стволу скважины строят карту нефтенасыщенных интервалов продуктивного пласта с указанием их толщин и длин, затем в нефтенасыщенных интервалах продуктивного пласта производят гидромеханическую перфорацию обсадной колонны, при этом по периметру обсадной колонны в направлении от забоя к устью выполняют пары перфорационных отверстий, расположенных под углом 180° по отношению друг к другу и со смещением на угол 30° при выполнении каждой пары перфорационных отверстий, причем при толщине нефтенасыщенного интервала продуктивного пласта до 10 м выполняют ГРП с применением кислотного геля без крепления трещины, а при толщине нефтенасыщенного интервала продуктивного пласта от 10 до 20 м выполняют ГРП с применением геля на углеводородной основе с креплением трещины разрыва закачкой несущей жидкости с проппантом фракции 20/40 меш концентрацией 800 кг/м3, а при толщине нефтенасыщенного интервала продуктивного пласта свыше 20 м выполняют ГРП с применением водного геля с поперечной связью с креплением трещины разрыва закачкой несущей жидкости с проппантом фракции 12/18 меш концентрацией 1200 кг/м3.
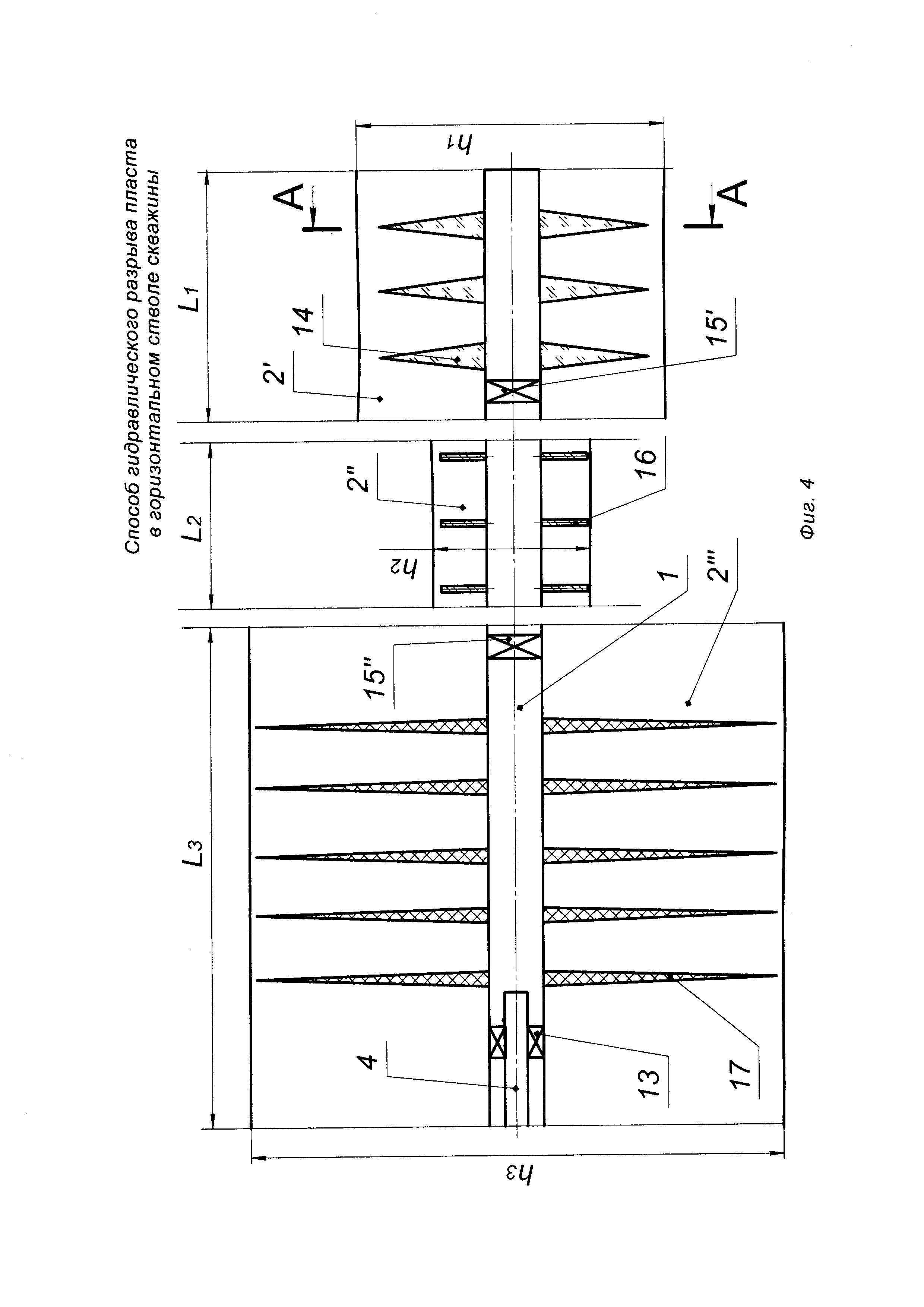
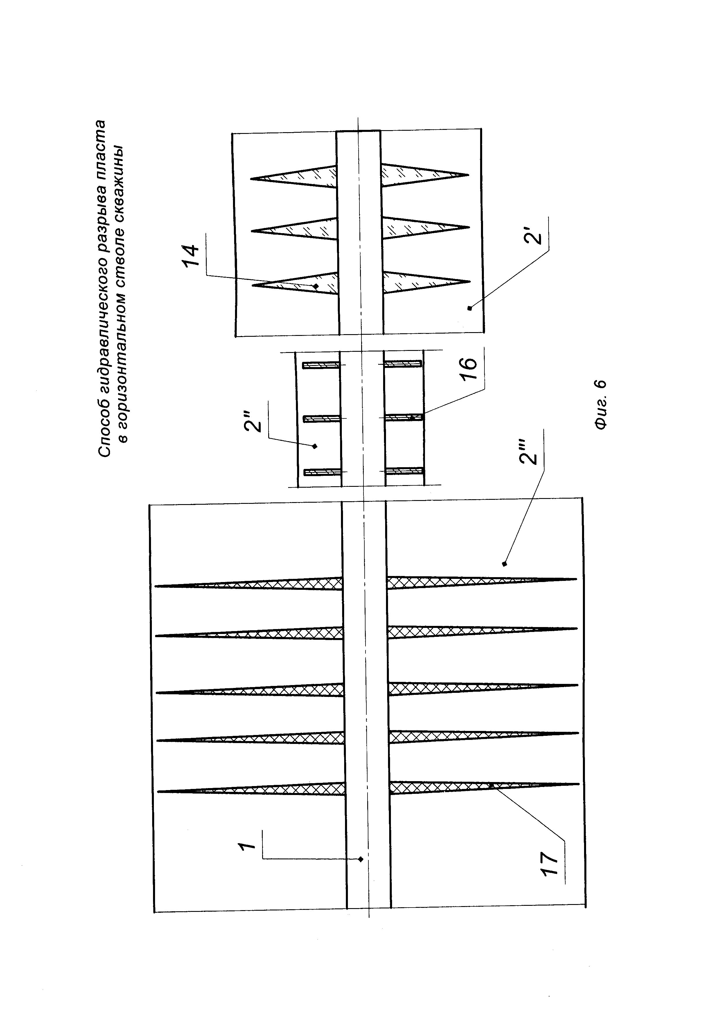
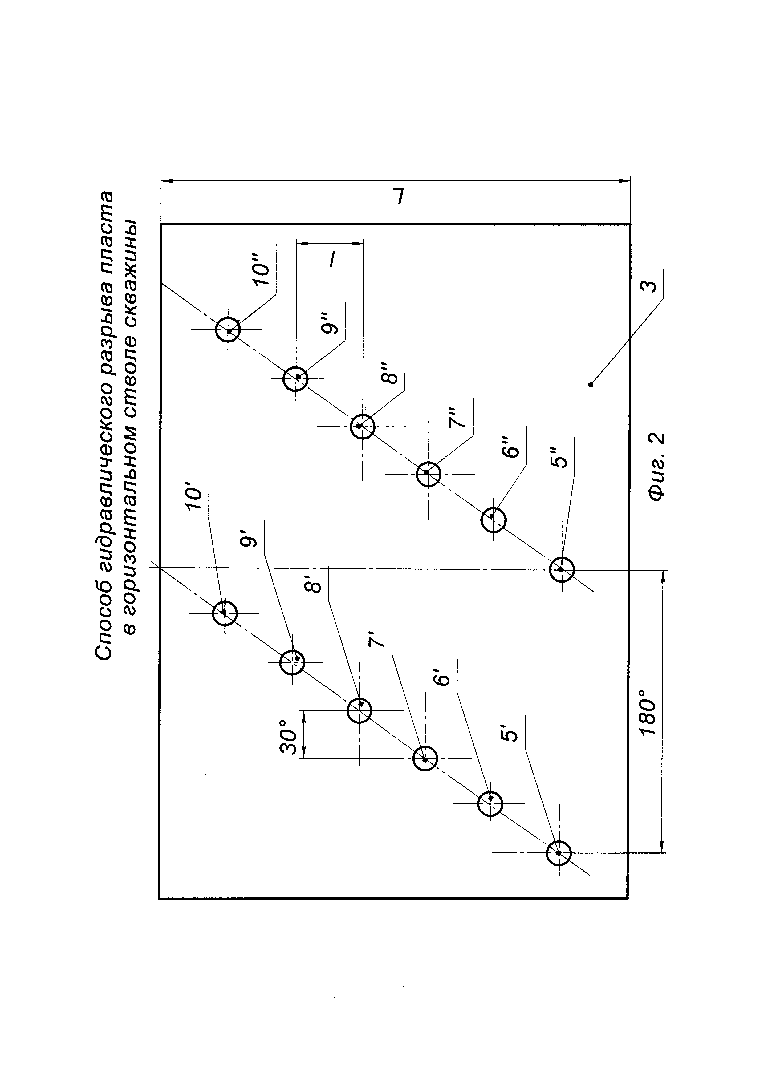
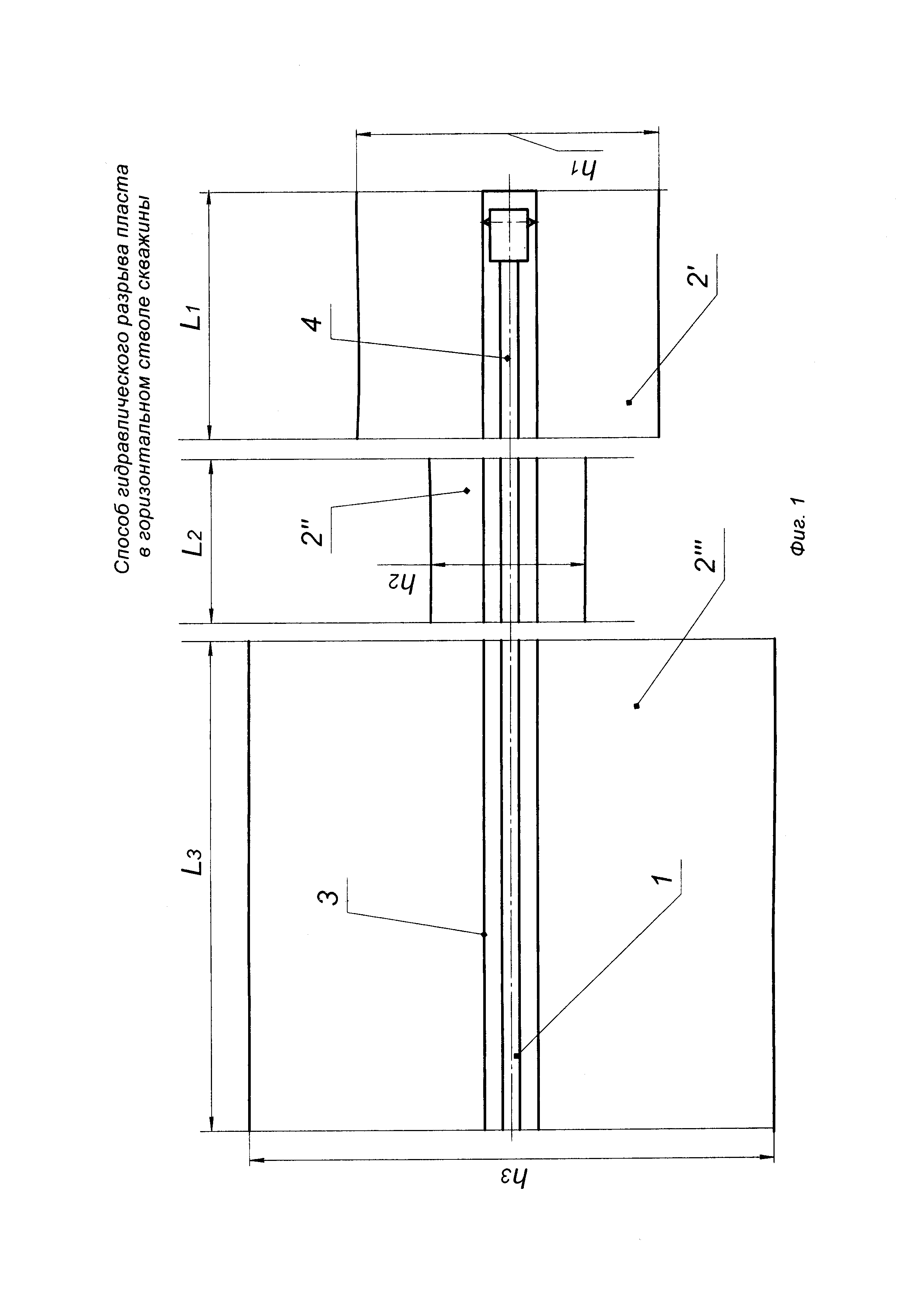
Изобретение относится к нефтяной промышленности и может быть использовано при разработке нефтяных месторождений, в частности месторождений, имеющих продуктивные пласты различной толщины с низкими коллекторскими фильтрационно-емкостными свойствами, путем гидравлического разрыва пласта. Известен способ многократного гидравлического разрыва пласта (ГРП) в горизонтальном стволе скважины (патент RU №2539469, МПК E21B 43/267, опубл. 20.01.2015 г., бюл. №2), включающий бурение горизонтального ствола скважины, спуск и крепление в горизонтальном стволе скважины хвостовика, оснащенного фильтрами, спуск пакера в скважину на колонне труб с последующей его посадкой в скважине, формирование трещин напротив фильтров последовательно в различных интервалах продуктивного пласта, вскрытого горизонтальным стволом, подачей жидкости гидроразрыва через фильтр, установленный в каждой из соответствующих каждому из этих интервалов частей горизонтального ствола с изоляцией остальных его частей. В процессе бурения горизонтального ствола скважины определяют нефтенасыщенные интервалы пласта, вскрытого горизонтальным стволом, спускают и крепят хвостовик в горизонтальном стволе скважины, спускают колонну труб с пакером в скважину в ближайший к забою нефтенасыщенный интервал пласта, сажают пакер в хвостовике, при этом нижний конец колонны труб располагают на 1 м ближе к устью от нефтенасыщенного интервала пласта, спускают в колонну труб колонну гибких труб (ГТ), оснащенную снизу гидропескоструйным перфоратором, снабженным сверху жестким центратором, а снизу - обратным клапаном, пропускающим от забоя к устью, так, чтобы гидропескоструйный перфоратор размещался в конце нефтенасыщенного интервала пласта, герметизируют на устье скважины пространство между колонной труб и колонной ГТ. На устье скважины готовят жидкостно-песчаную смесь, производят перемещение колонны ГТ от забоя к устью на длину нефтенасыщенного интервала пласта, при этом одновременно выполняют группы щелевых перфорационных отверстий длиной 20-30 см и шириной 15 мм с углом фазировки 60° через каждые 1,5 м нефтенасыщенного интервала пласта в хвостовике напротив нефтенасыщенного интервала путем периодического нагнетания жидкостно-песчаной смеси в колонну ГТ через гидропескоструйный перфоратор. По окончании выполнения группы щелевых перфорационных отверстий в хвостовике напротив нефтенасыщенного интервала пласта выполняют обратную промывку с одновременным перемещением колонны ГТ от устья к забою на длину нефтенасыщенного интервала пласта, извлекают колонну ГТ с гидромониторной насадкой из скважины и выполняют ГРП с образованием разветвленных трещин в нефтенасыщенном интервале пласта с последующим креплением трещины легковесным смолопокрытым проппантом фракции 20/40 меш в концентрации 1400 кг/м3 и заполнением им горизонтального ствола скважины напротив нефтенасыщенного интервала пласта, производят распакеровку, перемещают колонну труб в направлении от забоя к устью к следующему нефтенасыщенному интервалу пласта, после чего повторяют вышеописанные операции, начиная с посадки пакера и завершая распакеровкой в остальных нефтенасыщенных интервалах пласта, вскрытых горизонтальным стволом скважины, по окончании проведения ГРП во всех нефтенасыщенных интервалах удаляют проппант из горизонтального ствола скважины. Недостатки данного способа: - во-первых, низкая эффективность, связанная с тем, что способ реализуют без учета нефтенасыщенной толщины продуктивного пласта, вскрытой горизонтальным стволом скважины, при этом толщина продуктивного пласта может колебаться в широких пределах от 1 до 40 м, поэтому в одном случае трещина может выйти за пределы продуктивного пласта, что может вызвать водопроявление и, как следствие, последующее обводнение, а в другом случае трещина может оказаться короткой и не позволит полностью охватить продуктивный пласт; - во-вторых, сложный и трудоемкий технологический процесс, связанный с привлечением колонны ГТ, при этом возможны закупорка колонны ГТ при продавливании через них проппанта и преждевременный скачок давления при продавке проппанта; - в-третьих, низкая надежность, связанная с высокой вероятностью смятия хвостовика вследствие выполнения группы щелевых перфорационных отверстий длиной 20-30 см и шириной 15 мм с углом фазировки 60° через каждые 1,5 м, что вызывает ослабление конструкции скважины. Наиболее близким по технической сущности и достигаемому результату является способ ГРП в горизонтальном стволе скважины (патент RU №2547892 МПК E21B 43/267, опубл. 10.04.2015 г., бюл. №10), включающий бурение горизонтального ствола скважины в нефтенасыщенной части продуктивного пласта с цементированием кольцевого пространства между обсадной колонной и горной породой продуктивного пласта горизонтального ствола скважины, перфорацию обсадной колонны в горизонтальном стволе скважины, азимутально сориентированную интервалами с помощью гидромеханического щелевого перфоратора, спущенного в скважину на колонне труб за одну спуско-подъемную операцию, спуск колонны труб с пакером в скважину, посадку пакера, закачку по колонне труб жидкости разрыва и формирование трещин ГРП в горизонтальном стволе скважины, при этом горизонтальный ствол скважины в нефтенасыщенной части продуктивного пласта бурят в пласте параллельно направлению минимального главного напряжения, спускают обсадную колонну в скважину и цементируют, затем на колонне ГТ спускают гидромеханический щелевой перфоратор и выполняют поинтервальную перфорацию в горизонтальном стволе скважины, извлекают колонну ГТ с гидромеханическим щелевым перфоратором из скважины, демонтируют гидромеханический щелевой перфоратор, на нижний конец колонны ГТ устанавливают заглушку и монтируют на колонне ГТ два пакера, при этом между пакерами в колонне ГТ выполняют сквозные отверстия, затем спускают в горизонтальный ствол скважины колонну ГТ с пакерами и производят поинтервальный ГРП через перфорированные интервалы в горизонтальном стволе скважины путем отсечения каждого интервала перфорации с обеих сторон, причем поинтервальный ГРП начинают от ближайшего к забою интервала горизонтальной скважины и производят закачкой жидкости разрыва по колонне ГТ через сквозные отверстия с расходом 2 м3/мин с образованием поперечных трещин из интервала перфорации относительно горизонтального ствола скважины, причем в качестве жидкости разрыва используют сшитый гель на углеводородной основе, после образования поперечных трещин производят их крепление закачкой по колонне труб проппанта фракции 12/18 меш с жидкостью-носителем - сшитым гелем, распакеровывают пакеры и перемещают колонну ГТ для проведения ГРП в следующий интервал перфорации, далее вышеописанные технологические операции повторяют, начиная с посадки пакеров и заканчивая перемещением колонны ГТ в следующий интервал перфорации в зависимости от количества интервалов перфорации горизонтального ствола скважины, затем извлекают колонну ГТ с пакерами из скважины и спускают колонну труб с пакером в скважину, сажают пакер в вертикальной части скважины и производят ГРП закачкой жидкости разрыва по колонне труб через горизонтальный ствол скважины с образованием продольных трещин гидроразрыва с расходом 8 м3/мин, причем в качестве жидкости разрыва используют линейный гель, после чего производят крепление продольных трещин закачкой кварцевой муки с жидкостью-носителем - линейным гелем. Недостатки данного способа: - во-первых, низкая эффективность, связанная с тем, что способ реализуют без учета нефтенасыщенной толщины продуктивного пласта, вскрытой горизонтальным стволом скважины, при этом толщина продуктивного пласта может колебаться в широких пределах от 1 до 40 м, поэтому в одном случае трещина может выйти за пределы продуктивного пласта, что может вызвать водопроявление и, как следствие, последующее обводнение, а в другом случае трещина может оказаться короткой и не позволит полностью охватить нефтенасыщенный интервал продуктивного пласта; - во-вторых, сложный технологический процесс, связанный с привлечением колонны ГТ, двухпакерной компоновки с последовательной посадкой пакеров в горизонтальном стволе скважины; - в-третьих, низкая надежность, связанная с негерметичной посадкой одного или сразу двух пакеров, а также возможность закупорки колонны ГТ при продавливания через них проппанта и, как следствие, резкого скачка давления в процессе ГРП; - в-четвертых, небольшой охват продуктивного пласта горизонтальным стволом скважины до 200-250 м при его вскрытии, когда горизонтальный ствол бурят в продуктивном пласте параллельно направлению минимального главного напряжения. Техническими задачами изобретения являются повышение эффективности ГРП в горизонтальном стволе скважины за счет снижения обводненности, увеличения охвата пласта воздействием, упрощение технологического процесса проведения ГРП путем исключения применения двухпакерной компоновки и колонны ГТ, а также повышение надежности проведения ГРП за счет исключения негерметичной посадки пакеров или закупорки колонны ГТ, увеличение охвата продуктивного пласта за счет создания и образования трещины в направлении, перпендикулярном минимальному напряжению пород в пласте. Поставленные технические задачи решаются способом гидравлического разрыва пласта - ГРП в горизонтальном стволе скважины, включающим бурение горизонтального ствола скважины в нефтенасыщенной части продуктивного пласта, спуск обсадной колонны в горизонтальный ствол скважины и цементирование кольцевого пространства между обсадной колонной и горной породой, проведение гидромеханической перфорации во всех интервалах продуктивного пласта, извлечение колонны труб с гидромеханическим перфоратором из скважины, спуск колонны труб с пакером и проведение поинтервального ГРП в направлении от забоя к устью в каждом перфорированном интервале обсадной колонны с последовательным отсечением каждого интервала. Новым является то, что после бурения горизонтального ствола скважины проводят геофизические исследования и определяют толщину и длину нефтенасыщенных интервалов продуктивного пласта, по горизонтальному стволу скважины строят карту нефтенасыщенных интервалов продуктивного пласта с указанием их толщин и длин, затем в нефтенасыщенных интервалах продуктивного пласта производят гидромеханическую перфорацию обсадной колонны, при этом по периметру обсадной колонны в направлении от забоя к устью выполняют пары перфорационных отверстий, расположенных под углом 180° по отношению друг к другу и со смещением на угол 30° при выполнении каждой пары перфорационных отверстий, причем при толщине нефтенасыщенного интервала продуктивного пласта до 10 м выполняют ГРП с применением кислотного геля без крепления трещины, а при толщине нефтенасыщенного интервала продуктивного пласта от 10 до 20 м выполняют ГРП с применением геля на углеводородной основе с креплением трещины разрыва закачкой несущей жидкости с проппантом фракции 20/40 меш концентрацией 800 кг/м3, а при толщине нефтенасыщенного интервала продуктивного пласта свыше 20 м выполняют ГРП с применением водного геля с поперечной связью с креплением трещины разрыва закачкой несущей жидкости с проппантом фракции 12/18 меш концентрацией 1200 кг/м3. На фиг. 1 схематично изображен способ ГРП в горизонтальном стволе скважины с учетом толщины продуктивного пласта. На фиг. 2 схематично изображена развертка интервала перфорации скважины. На фиг. 3 схематично изображен устьевой фланец с метками и колонна труб с риской в процессе проведения ГРП. На фиг. 4 схематично изображен способ ГРП в горизонтальном стволе скважины в процессе проведения ГРП. На фиг. 5 схематично изображено направление развития трещины. На фиг. 6 схематично изображено окончание реализации способа. Способ ГРП в горизонтальном стволе скважины включает бурение горизонтального ствола 1 (см. фиг. 1) скважины в нефтенасыщенной части продуктивного пласта. После бурения горизонтального ствола 1 скважины, например, длиной 250 м, проводят геофизические исследования и определяют нефтенасыщенные интервалы 2', 2'', 2'''…2n продуктивного пласта, вскрытого горизонтальным стволом 1 скважины, и их соответствующие толщины h1, h2, h3…hn и длины L1, L2, L3…Ln. Например, определяют три нефтенасыщенных интервала 2', 2'', 2''' с указанием толщин h1, h2, h3 и их соответствующих длин L1, L2, L3. Определение нефтенасыщенных интервалов 2', 2'', 2''' продуктивного пласта вскрытого скважиной, и соответствующих толщин h1, h2, h3 выполняют по данным геофизических исследований (ГИС) согласно приказу Министерства природных ресурсов и экологии РФ (Минприроды РФ) от 15.05.2014 г. №218 «Об утверждении Порядка определения показателей проницаемости и эффективной толщины пласта по залежи углеводородного сырья», при этом нефтенасыщенную толщину пласта определяют в каждой скважине по прямым качественным признакам коллектора. Если определение по прямым признакам невозможно из-за ограниченного комплекса или низкого качества диаграмм ГИС, а также сложной структуры коллектора, определение производят с использованием граничных значений фильтрационно-емкостных характеристик. По результатам ГИС или с использованием граничных значений фильтрационно-емкостных характеристик (при невозможности определения толщины интервала продуктивного пласта по ГИС) по длине горизонтального ствола 1 скважины строят карту нефтенасыщенных интервалов 2', 2'', 2''' продуктивного пласта с указанием толщин h1, h2, h3 и их длин L1, L2, L3 (см. фиг. 1). Рассмотрим три интервала 2', 2'', 2'''. Интервал 2': h1=16 м и L1=35 м. Интервал 2'': h2=7 м и L2=28 м. Интервал 2''': h3=28 м и L3=42 м. Производят спуск обсадной колонны 3 в горизонтальный ствол 1 скважины и цементируют кольцевое пространство между обсадной колонной 3 и горной породой продуктивного пласта горизонтального ствола 1 скважины. С целью создания гидродинамической связи между скважиной и продуктивным пластом производят перфорацию обсадной колонны 3. В нефтенасыщенных интервалах 2' и 2''' продуктивного пласта с толщиной от 10 м производят гидромеханическую перфорацию. Гидромеханическую перфорацию производят последовательно, сначала в интервале 2', ближайшем к забою скважины с целью исключения прихвата перфоратора, а затем в интервале 2''' продуктивного пласта следующим образом. По периметру обсадной колонны 3 в направлении от забоя к устью горизонтального ствола 1 скважины выполняют пары перфорационных отверстий, расположенных под углом 180° по отношению друг к другу и со смещением на угол 30° при выполнении каждой пары перфорационных отверстий. Для этого в горизонтальный ствол 1 скважины (см. фиг. 1) на колонне труб 4 спускают гидромеханический перфоратор (на фиг. 1 показан условно) в интервал 2', ближайший к забою, толщиной h1=16 м и длиной L1=35 м. Например, используют гидромеханический перфоратор конструкции института «ТатНИПИнефть» в зависимости от диаметра обсадной колонны. Если горизонтальный ствол 1 обсажен обсадной колонной диаметром 168 мм, то в соответствии с таблицей используют гидромеханический перфоратор ПГМ-168, имеющий площадь сечения одного перфорированного отверстия, равную 480 мм2. Перфорируют интервал 2' (см. фиг. 1 и 2) продуктивного пласта выполнением, например, шести пар отверстий (прямоугольного сечения) 5' и 5'', 6' и 6'', 7' и 7'', 8' и 8'', 9' и 9'', 10' и 10'' снизу вверх с подъемом и поворотом колонны труб на 30° при каждом последующем проколе (выполнении одной пары отверстий). Высоту 1 подъема колонны труб 4 между парами отверстий 5' и 5'', 6' и 6'', 7' и 7'', 8' и 8'', 9' и 9'', 10' и 10'' определяют как длину L1=35 м интервала 2 продуктивного пласта, разделенную на семь равных частей. Например, при длине L1=35 м интервала 2' высота l между парами отверстий 5' и 5'', 6' и 6'', 7' и 7'', 8' и 8'', 9' и 9'', 10' и 10'', а также от начала интервала 2' до пары отверстий 5', 5'' и от пары отверстий 10', 10'' до конца интервала 2' будет равна: l=L1/7=35 м/7=5 м. В процессе реализации способа необходимо получить шесть пар отверстий 5' и 5'', 6' и 6'', 7' и 7'', 8' и 8'', 9' и 9'', 10' и 10'' с равным углом поворота 30° между ближайшими парами. Например, между парой отверстий 7' и 7'' (см. фиг. 2) угол поворота снизу относительно отверстий 6' и 6'' и выше относительно отверстий 8' и 8'' составляет 30°. С этой целью применяют устьевой фланец (на фиг. 3 показан условно), имеющий насечки 11', 11'', 11''', 11'''', 11''''', 11'''''' по периметру с углом 30° (см. фиг. 2 и 3) соответствующие каждой паре отверстий 5' и 5'', 6' и 6'', 7' и 7'', 8' и 8'', 9' и 9'', 10' и 10''. На колонне труб 4 наносят одну риску 12 (см. фиг. 3 показана условно), например, в виде квадратной выборки со сторонами 20 мм и глубиной 2 мм на поверхности колонны труб 4. Размещают риску 12 колонны труб 4 с гидромеханическим перфоратором напротив отметки 11' устьевого фланца скважины. Приподнимают колонну труб 4 (см. фиг. 1) с гидромеханическим перфоратором от начала интервала 2' (ближайшего к забою) продуктивного пласта на высоту l=5 м. Выполняют пару отверстий 5' и 5'' в интервале 2' горизонтального ствола 1 скважины с помощью гидромеханического перфоратора (за счет радиального выдвижения двух резцов, размещенных относительно друг друга под углом 180°) согласно инструкции по его эксплуатации. Затем вновь приподнимают колонну труб 4 с гидромеханическим перфоратором вверх на высоту l=5 м, при этом поворачивают колонну труб 4 до размещения ее риски 12 напротив метки 11'' на устьевом фланце, например, по часовой стрелке, и производят выполнение с помощью гидромеханического перфоратора пары отверстий 6' и 6'' в интервале 2' горизонтального ствола 1 скважины. Далее аналогичным образом, поворачивая колонну труб 4 по часовой стрелке на 30° и последовательно совмещая риску 12 колонны труб 3 с метками 11''', 11'''', 11''''', 11'''''' выполняют еще четыре соответствующих пары отверстий 7' и 7'', 8' и 8'', 9' и 9'', 10' и 10'' в интервале 2' горизонтального ствола 1 скважины. Направление перфорации от забоя к устью в горизонтальном стволе 1 скважины выбирают с целью исключения прихвата резцов (на фиг. 1 показаны условно) гидромеханического перфоратора при их выдвижении ранее выполненными парами отверстий 5' и 5'', 6' и 6'', 7' и 7'', 8' и 8'', 9' и 9'', 10' и 10''. Таким образом, в интервале 2' (см. фиг. 1) горизонтального ствола 1 скважины получают перфорационные отверстия 5' и 5'', 6' и 6'', 7' и 7'', 8' и 8'', 9' и 9'', 10' и 10''. Аналогичным образом, как в интервале 2', перемещением гидромеханического перфоратора в интервал 2'' выполняют гидромеханическую перфорацию в интервале 2'' (h2=7 м и L2=28 м). При длине L2=28 м интервала 2'' длина l между парами отверстий (см фиг. 2) будет равна: l=L2/7=28 м/7=4 м. После чего перемещают гидромеханический перфоратор в интервал 2''' и выполняют гидромеханическую перфорацию в интервале 2''' (h3=28 м и L3=42 м). При длине L3=42 м интервала 2''' длина l между парами отверстий (см. фиг. 2) будет равна: l=L3/7=42 м/7=6 м. Выполнение шести пар отверстий с поворотом 30° позволяет создать направления образования трещины (см. фиг. 4 и 5) в продуктивном пласте при последующем проведении ГРП в интервалах 2', 2'' и 2''' в направлении, перпендикулярном минимальному напряжению пород в пласте (см. фиг. 5). Это обусловлено тем, что направление одной из пар отверстий, например, 7' и 7'', в нефтенасыщенном интервале 2' совпадет с направлением, перпендикулярным минимальному напряжению пород в продуктивном пласте, что позволит увеличить охват нефтенасыщенного интервала продуктивного пласта трещиной. Аналогично направления пар отверстий совпадут с направлениями, перпендикулярными минимальному напряжению пород в продуктивном пласте и в двух других нефтенасыщенных интервалах 2'' и 2''' продуктивного пласта. После проведения гидромеханической перфорации во всех интервалах 2', 2'' и 2''' продуктивного пласта извлекают колонну труб 4 с гидромеханическим перфоратором из скважины. Спускают колонну труб 4 с пакером 13 (см. фиг. 4) для проведения поинтервального ГРП в нефтенасыщенный интервал 2' продуктивного пласта. Затем в направлении от забоя к устью в каждом перфорированном нефтенасыщенном интервале 2', 2'' и 2''' обсадной колонны 3 производят поинтервальный ГРП, начиная с интервала 2'. ГРП производят последовательно с отсечением каждого интервала после проведения ГРП. Нефтенасыщенный интервал 2' продуктивного пласта имеет толщину h1=16 м. При толщине нефтенасыщенного интервала продуктивного пласта от 10 до 20 м выполняют ГРП с применением геля на углеводородной основе с креплением трещины разрыва закачкой несущей жидкости с проппантом фракции 20/40 меш концентрацией 800 кг/м3. Закачкой геля на углеводородной основе по колонне труб 4 через интервалы перфорации нефтенасыщенного интервала 2' продуктивного пласта образуют широкие трещины разрыва 14 длиной до 16 м (см. фиг. 4). Трещины разрыва 14 крепят закачкой проппанта фракции 20/40 меш концентрацией 800 кг/м3 в несущей жидкости, в качестве которой используют гель на углеводородной основе, при помощи которого производили образование трещин разрыва 14. Гель на углеводородной основе (Рябоконь С.А. Технологические жидкости для заканчивания и ремонта скважин. - Краснодар, 2002. - с. 152), т.е. загущенная нефть, приготовленная растворением и суспензированием оксалата алюминия (алюминиевой соли фосфатного эфира) в углеводородах, имеет низкую вязкость, потери давления в трубах, высокую несущую способность проппанта в трещине, позволяет создать широкие трещины и имеет высокую концентрацию проппанта. По окончании выполнения ГРП в интервале 2' извлекают колонну труб 4 с пакером 13 из скважины, спускают в интервал между нефтенасыщенными интервалами 2' и 2'' продуктивного пласта на колонне труб 4 разбуриваемый пакер 15' и сажают его, после чего извлекают колонну труб 4 и приступают к проведению ГРП во втором нефтенасыщенном интервале 2'' продуктивного пласта. Спускают колонну труб 4 с пакером 13 (см. фиг. 4) для проведения поинтервального ГРП в нефтенасыщенный интервал 2'' продуктивного пласта. Нефтенасыщенный интервал 2'' продуктивного пласта имеет толщину h2=7 м. При толщине нефтенасыщенного интервала продуктивного пласта до 10 м выполняют ГРП с применением кислотного геля без крепления трещины. Для этого закачкой кислотного геля по колонне труб 4 через интервалы перфорации нефтенасыщенного интервала 2'' продуктивного пласта под давлением ГРП производят кислотную обработку каверн 16 нефтенасыщенного интервала 2'' продуктивного пласта (см. фиг. 4) без крепления проппантом. Кислотные гели - это водные сшитые гели полимеров, например, полиакриламид с содержанием 5%-ной соляной кислоты (HCl) и временного деструктора, например, персульфата аммония (Рябоконь С.А. Технологические жидкости для заканчивания и ремонта скважин. - Краснодар, 2002. - с. 151). Такое кислотное воздействие позволяет повысить производительность скважины, вследствие кислотной обработки каверн 16 нефтенасыщенного интервала 2'' продуктивного пласта и увеличения проницаемости пласта под действием кислоты. По окончании выполнения ГРП в интервале 2'' извлекают колонну труб 4 с пакером 13 из скважины, спускают в интервал между нефтенасыщенными интервалами 2'' и 2''' продуктивного пласта на колонне труб 4 разбуриваемый пакер 15'' и сажают его, после чего извлекают колонну труб 4 и приступают к проведению ГРП в третьем нефтенасыщенном интервале 2''' продуктивного пласта. Нефтенасыщенный интервал 2''' продуктивного пласта имеет толщину h3=28 м. При толщине нефтенасыщенного интервала продуктивного пласта свыше 20 м выполняют ГРП с применением водного геля с поперечной связью и креплением трещины разрыва закачкой несущей жидкости с проппантом фракции 12/18 меш концентрацией 1200 кг/м3. Закачкой водного геля с поперечной связью по колонне труб 4 через интервалы перфорации нефтенасыщенного интервала 2''' продуктивного пласта образуют трещины разрыва 17 шириной 1-2 мм и длиной до 28 м (см. фиг. 4). Трещины разрыва 17 крепят закачкой проппанта фракции 12/18 концентрацией до 1200 кг/м3 в несущей жидкости, в качестве которой используют тоже водный гель с поперечной связью, на котором производили образование трещин разрыва 17. Водные гели с поперечной связью - это гели на основе сшитых гуаровых и гидроксипропилгуаровых смол с добавками временного деструктора, например, персульфата аммония (Рябоконь С.А. Технологические жидкости для заканчивания и ремонта скважин. - Краснодар, 2002. - с. 150). Водные гели с поперечной связью применимы для массированного ГРП в пластах с большой толщиной для создания узких и длинных трещин высокой проводимости и имеют высокую и сверхвысокую концентрацию проппанта. По окончании выполнения ГРП в интервале 2''' извлекают колонну труб 4 с пакером 13 из скважины. Упрощается технологический процесс проведения ГРП, так как в предлагаемом способе исключено привлечение колонны ГТ и двухпакерной компоновки с последовательной посадкой пакеров в горизонтальном стволе скважины для реализации способа. Спускают в горизонтальный ствол 1 скважины колонну труб с долотом (на фиг. 1-6 не показано) и последовательно разбуривают сначала разбуриваемый пакер 14'', а затем 14'. Извлекают колонну труб 4 с долотом из скважины, при этом проход в горизонтальный ствол 1 (см. фиг. 6) скважины открыт, оснащают насосным оборудованием и запускают ее в эксплуатацию. В результате внедрения предлагаемого способа повышается эффективность проведения ГРП, так как способ реализуют с учетом нефтенасыщенной толщины продуктивного пласта, вскрытой горизонтальным стволом скважины в интервале проведения ГРП, при этом в зависимости от толщины нефтенасыщенного интервала продуктивного пласта подбирается жидкость разрыва (гель), определяющая развитие трещины по ширине и в длину, с креплением или без крепления. Это позволяет, с одной стороны, исключить обводнение скважины (водопроявление) за счет прорыва трещины в водоносную зону, а с другой - развить трещину таким образом, чтобы она полностью охватила нефтенасыщенный интервал продуктивного пласта. Повышается надежность реализации способа, так как снижается вероятность негерметичной посадки вследствие применения не двух, а одного пакера, а также исключается возможность закупорки колонны ГТ при продавливании через них проппанта и, как следствие, резкого скачка давления. Предлагаемый способ ГРП в горизонтальном стволе скважины позволяет: - повысить эффективность ГРП; - упростить технологический процесс реализации ГРП; - повысить надежность проведения ГРП; - увеличить охват продуктивного пласта трещинами разрыва.