патент
№ RU 2685432
МПК H01Q1/00

Телескопическая мачта

Авторы:
Катунский Константин Александрович
Номер заявки
2018106432
Дата подачи заявки
20.02.2018
Опубликовано
18.04.2019
Страна
RU
Как управлять
интеллектуальной собственностью
Чертежи 
2
Реферат

Изобретение относится к антенным устройствам, в частности к выдвижным телескопическим мачтам, используемым в мобильных радиолокационных установках. Технический результат заключается в исключении заклинивания секций мачты с нарушением порядка выдвижения секций, исключении дополнительных нагрузок в секциях от сосредоточенных моментов в точках зацепа замков, повышении надежности соединения и удержания вышерасположенных секций с нижерасположенной секцией в осевом направлении и отсутствии необходимости в наличии требований к точности взаимного расположения секций по углу вокруг оси мачты. Технический результат достигается за счет применения в конструкции телескопической мачты замка с увеличенным количеством взаимозамкнутых точек зацепа на периметре сечения вышерасположенной секции заявленной мачты благодаря созданию взаимозамыкания через боковую цилиндрическую поверхность подпружиненного штока, фиксируя выдвинутую секцию мачты и одновременно освобождая седло вышерасположенной секции при развертывании мачты. 2 ил.

Формула изобретения

Телескопическая мачта, содержащая закрепленную на основании неподвижную секцию и подвижные секции, замки для фиксации выдвинутых подвижных секций с имеющими ролик подпружиненными собачками и фиксирующими положение собачек устройствами, вкладыши с полостью для ролика собачки замка, хвостовики для фиксации секций в сложенном положении и открывания замков при складывании мачты, причем замки установлены в нижней части каждой секции, кроме самой верхней и неподвижной секций, вкладыши установлены в верхней части каждой секции, кроме самой верхней секции, хвостовики установлены в нижней части каждой секции, кроме неподвижной и последующей подвижной секций, отличающаяся тем, что секции мачты расположены концентрически, каждый вкладыш с полостью для ролика собачки замка имеет коническую поверхность и замок для фиксации выдвинутых подвижных секций представляет собой стакан, по наружному диаметру которого равномерно шарнирно закреплены собачки, каждая из которых имеет два ролика - внутренний и наружный, а внутри стакана перемещается содержащий верхнюю коническую проточку и боковую цилиндрическую поверхность подпружиненный шток, причем в нижней части стакана (кроме секции, следующей после неподвижной) имеется хвостовик с содержащим нижнюю и верхнюю конические поверхности седлом, у которого нижняя коническая поверхность контактирует с верхней конической проточкой подпружиненного штока нижерасположенной секции, а верхняя коническая поверхность контактирует с внутренними роликами собачек, при этом наружные ролики собачек под воздействием подпружиненного штока постоянно контактируют с внутренней поверхностью нижерасположенной секции и при попадании в полость вкладыша взаимозамыкаются через боковую цилиндрическую поверхность подпружиненного штока, фиксируя выдвинутую секцию и одновременно освобождая седло вышерасположенной секции.

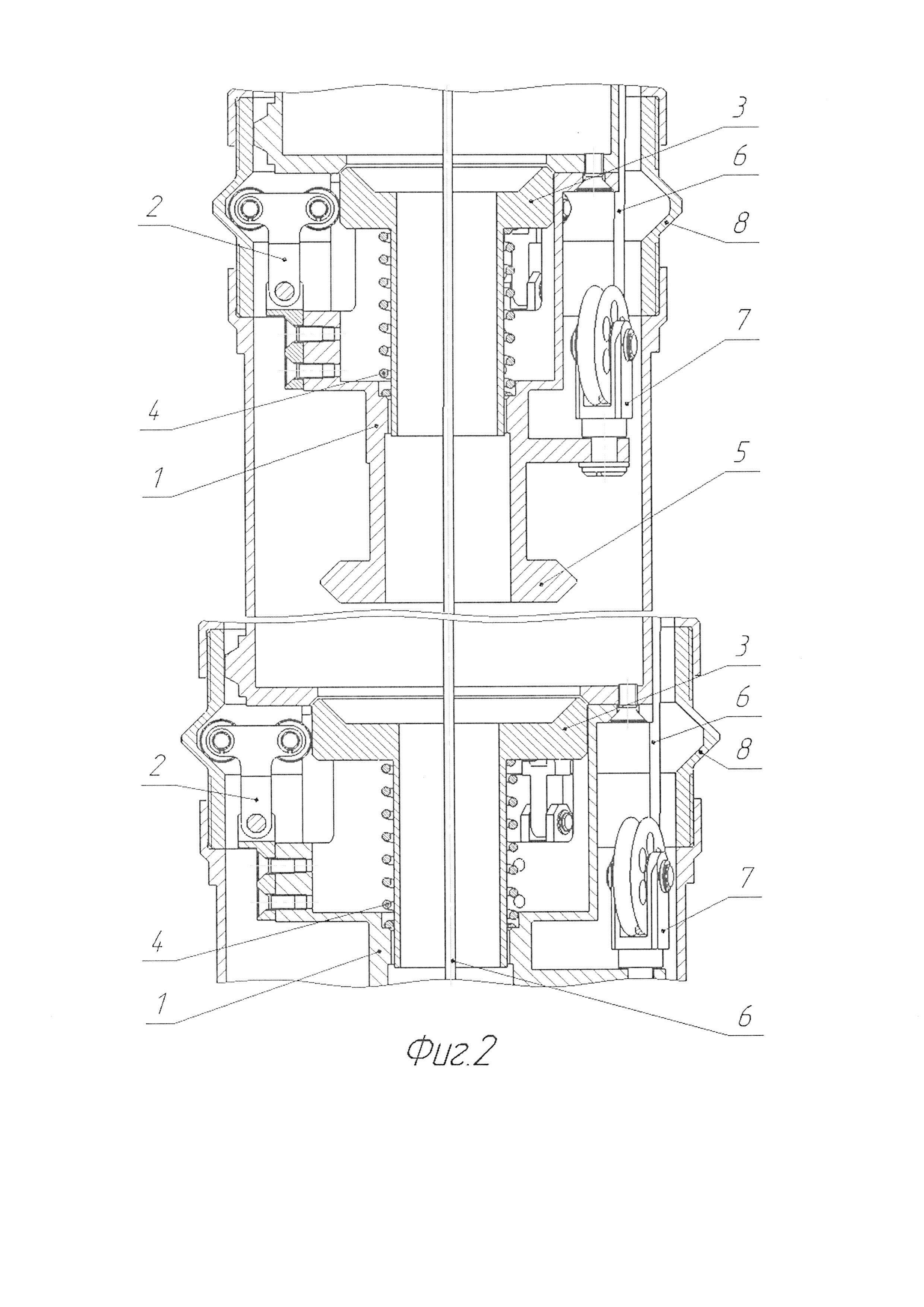
Описание

[1]

Изобретение относится к антенным устройствам, в частности к выдвижным телескопическим мачтам, используемым в мобильных радиолокационных установках.

[2]

Известна телескопическая мачта [1], которая содержит основание, промежуточные и внутреннюю выдвижные секции, а также замки фиксации секций. Данная конструкция требует высокой точности изготовления деталей мачты и сборки самой мачты, в частности деталей замков фиксации, так как замки фиксации в одной секции должны работать с повышенной синхронностью в условиях трения скольжения под нагрузкой.

[3]

Известна телескопическая мачта, выбранная за прототип и предназначенная для подъема и пускания антенного оборудования [2]. Телескопическая мачта состоит из телескопического ствола, узла крепления антенны, подъемного редуктора и подставки. В рабочем положении телескопическая мачта фиксируется оттяжками. Ствол мачты - трубчатый, телескопический, состоит из одной неподвижной и четырех подвижных секций, установленных эксцентрично (в одну сторону) относительно друг друга и неподвижной секции. Порядок выдвижения секций -последовательный. В радиальном направлении подвижные секции удерживаются силовыми поясами.

[4]

В осевом направлении подвижные секции соединяются и удерживаются замками, установленными вместе с хвостовиками в нижней части подвижных секций (за исключением самой верхней подвижной секции). Замок имеет собачку с роликом и запорный рычаг с пружиной. В верхней части неподвижной секции и подвижных секций (за исключением самой верхней подвижной секции) имеется окно для установки стального вкладыша.

[5]

При подъеме движется весь пакет подвижной секции, так как хвостовики вышерасположенных подвижных секций удерживаются запорными рычагами соответствующих замков. Подъем продолжается до тех пор, пока собачка с роликом вышерасположенной секции не подойдет к окну нижерасположенной секции. Попав в окно, рычаг с роликом войдет в полость стального вкладыша и соединит две секции. Одновременно освободится хвостовик следующей вышерасположенной секции, что позволит начать ее выдвижение. Надежность соединения выдвинутой секции обеспечивается перемещением запорного рычага вверх, который не дает отклониться собачке с роликом из окна. Запорный рычаг удерживается в верхнем положении пружиной.

[6]

При складывании ствола снижение начинает верхняя секция, так как она не имеет замка. Хвостовик вышерасположенной секции подходит к запорному рычагу нижерасположенной секции, перемещает его вниз и освобождает собачку с роликом.

[7]

К недостаткам данного прототипа относятся:

[8]

1) Подвижные секции установлены эксцентрично (в одну сторону) относительно друг друга и неподвижной секции и при малейшем отклонении от вертикальности мачты при ее выдвижении возможно заклинивание секций мачты с нарушением порядка выдвижения секций;

[9]

2) Невысокая надежность соединения и удержания подвижных секций в осевом направлении, так как вышерасположенная секция соединяется и удерживается с нижерасположенной секцией замком с одной точкой зацепа на периметре сечения вышерасположенной секции;

[10]

3) Дополнительные нагрузки в секциях от сосредоточенных моментов в точках зацепа замков за счет неравномерности распределения нагрузки от вышерасположенных секций на периметр сечения нижерасположенной секции;

[11]

4) Повышенные требования к точности взаимного расположения секций по углу вокруг оси мачты, так как, например, при выдвижении мачты собачка с роликом должна точно попасть в окно нижерасположенной секции для входа в полость стального вкладыша и соединить две секции, а при складывании мачты хвостовик вышерасположенной секции должен точно подойти к запорному рычагу нижерасположенной секции, чтобы переместить его вниз и освободить собачку с роликом для рассоединения двух секций.

[12]

Задача изобретения.

[13]

Техническим результатом заявленного изобретения является: 1) Создание конструкции телескопической мачты с концентричной установкой подвижных секций относительно друг друга и неподвижной секции для практически полного исключения заклинивания секций мачты с нарушением порядка выдвижения секций;

[14]

2) Исключение дополнительных нагрузок в секциях от сосредоточенных моментов в точках зацепа замков за счет равномерного распределения нагрузки от вышерасположенных секций на периметр сечения нижерасположенной секции;

[15]

3) Создание конструкции телескопической мачты с высокой надежностью соединения и удержания вышерасположенных секций с нижерасположенной секцией в осевом направлении за счет применения замка с увеличенным количеством взаимозамкнутых точек зацепа на периметре сечения вышерасположенной секции;

[16]

4) Снятие требований к точности взаимного расположения секций по углу вокруг оси мачты.

[17]

Поставленная задача достигается тем, что в конструкции предлагаемого изобретения секции мачты расположены концентрически, что позволяет практически полностью исключить заклинивание секций мачты с нарушением порядка выдвижения секций. Кроме того, замок для фиксации выдвинутых подвижных секций представляет собой стакан, по наружному диаметру которого равномерно шарнирно закреплены собачки, каждая из которых имеет два ролика - внутренний и наружный. Равномерное размещение собачек по наружному диаметру стакана позволяет исключить дополнительные нагрузки в секциях от сосредоточенных моментов в точках зацепа замков за счет равномерного распределения нагрузки от вышерасположенных секций на периметр сечения нижерасположенной секции.

[18]

Внутри стакана перемещается содержащий верхнюю коническую проточку и боковую цилиндрическую поверхность подпружиненный шток. В нижней части стакана (кроме секции, следующей после неподвижной) имеется хвостовик с содержащим нижнюю и верхнюю конические поверхности седлом, у которого нижняя коническая поверхность контактирует с верхней конической проточкой подпружиненного штока нижерасположенной секции, а верхняя коническая поверхность контактирует с внутренними роликами собачек. Использование в седле конических поверхностей позволяет снять требования к точности взаимного расположения секций по углу вокруг оси мачты.

[19]

Наружные ролики собачек под воздействием подпружиненного штока постоянно контактируют с внутренней поверхностью нижерасположенной секции и при попадании в полость вкладыша нижерасположенной секции удерживаются в этом положении боковой цилиндрической поверхностью подпружиненного штока, надежно фиксируя выдвинутую секцию за счет силового взаимозамыкания собачек на шток и, одновременно, освобождая седло вышерасположенной секции.

[20]

Сущность изобретения поясняется графическими материалами, на которых на фиг. 1 изображена конструкция телескопической мачты в сложенном положении, на фиг. 2 - конструкция телескопической мачты в выдвинутом положении.

[21]

Телескопическая мачта содержит закрепленную на основании неподвижную секцию и подвижные секции (все секции концентричны), замки для фиксации выдвинутых подвижных секций с имеющими ролики подпружиненными собачками и фиксирующими положение собачек устройствами, вкладыши с полостью для ролика собачки замка, хвостовики для фиксации секций в сложенном положении и открывания замков при складывании мачты, причем замки установлены в нижней части каждой секции кроме самой верхней и неподвижной секций, вкладыши имеют коническую поверхность и установлены в верхней части каждой секции кроме самой верхней секции, хвостовики установлены в нижней части каждой секции кроме неподвижной и последующей подвижной секций.

[22]

Замок, устанавливаемый в нижней части секции мачты, представляет собой стакан 1, по наружному диаметру которого равномерно шарнирно закреплены собачки 2, каждая из которых имеет два ролика - внутренний и наружный. Внутри стакана 1 перемещается содержащий верхнюю коническую проточку и боковую цилиндрическую поверхность шток 3. Пружина 4 постоянно толкает шток 3 вверх.

[23]

В нижней части стакана 1 (кроме секции, следующей после неподвижной) имеется хвостовик с содержащим нижнюю и верхнюю конические поверхности седлом 5, у которого нижняя коническая поверхность контактирует с верхней конической проточкой штока 3 нижерасположенной секции, а верхняя коническая поверхность контактирует с внутренними роликами собачек 2.

[24]

При подъеме мачты за счет перемещения каната 6 через шкивы 7 движется весь пакет подвижной секции, так как седла 5 хвостовиков вышерасположенных подвижных секций удерживаются внутренними роликами собачек 2.

[25]

Подъем продолжается до тех пор, пока наружные ролики собачек 2, перемещаясь по внутренней цилиндрической поверхности нижерасположенной секции, не подойдут к полости вкладыша 8 нижерасположенной секции.

[26]

Находясь под воздействием пружины 4 (через шток 3), наружные ролики собачек 2 войдут в полость стального вкладыша 8 и соединят две секции по конической поверхности полости вкладыша 8. Одновременно освободится седло 5 хвостовика следующей вышерасположенной секции, что позволит начать ее выдвижение. Надежность соединения выдвинутой секции обеспечивается перемещением штока 3 вверх, который своей цилиндрической поверхностью производит силовое взаимозамыкание собачек 2, не давая выйти наружным роликам собачек из полости вкладыша 8.

[27]

При складывании мачты нижняя коническая поверхность седла 5 вышерасположенной секции входит в верхнюю коническую проточку штока 3 нижерасположенной секции, и, сжимая через шток 3 пружину 4, выводит по конической поверхности полости вкладыша 8 наружные ролики собачек 2 из полости вкладыша 8, при этом внутренние ролики собачек 2 переходят с боковой цилиндрической поверхности штока 3 на верхнюю коническую поверхность седла 5.

[28]

Источники информации:

[29]

1. Патент RU 2604906 B66F 3/10, H01Q 1/10, Е04Н 12/00 опубл. 20.12.2016 г.

[30]

2. Мачта Б-13 ЖЫ4.115.078

Как компенсировать расходы
на инновационную разработку
Похожие патенты